
COURTESY LIGHT 
MODIFICATION
STANDARD OPERATORS
71-2954028
APPLICATION REQUIREMENTS:
This wiring modification is available to models T, GT, APT, J, H, GH, SD and GSD 
standard door operator with 115VAC line voltage.
FUNCTIONS:
Provides a light socket on the operator control enclosure. The light will turn on when 
the door starts to open and remains on for several minutes. Similar to the courtesy light 
in a standard residential garage door opener.
PREP
ARATION:
Unpack kit to verify the parts listed below are included. Refer to installation instructions 
on reverse side.
PACKING LIST
PART NUMBER
01-12014 
27-10199 
27-12015 
27-8002-K
28-1007 
76-18686
80-362-1 
82-PX08-10T 
84-LH-08
96-BK08-66 
96-WH09-66 
96-BK08-16 
96-BK14-66 
96-RD14-16
Courtesy Light Modification Instructions For Standard Operators 
Wire Tie, 5-1/2” 
Light Socket With Nut 
Auxiliary Contact Block 
1/2” Locknut 
Light Delay Assembly 
Blue Wire Nut 
Screw, #8-32 x 5/8” long Pan Head Phillips 
#8 Locknut 
Wire, Black 16GA. 8”, .250 Fork x .250 Fork 
Wire, White 16GA 9”, .250 Fork x .250 Fork 
Wire, Black 16GA 8”, Strip x .250 Fork 
Wire, Black 16GA 14”, 250 Fork x .250 Fork 
Wire, Red 16GA 14”, Strip x .250 Fork
DESCRIPTION
QUANTITY
1 
5 
1
2 
1 
1 
2 
2 
2 
3 
1 
1 
1 
1
 

INSTALLATION INSTRUCTIONS
WARNING
4. Connect the wires as follows (refer to figures 3-5
for clarity).
TO AVOID SERIOUS PERSONAL INJURY OR 
DEATH FROM ELECTROCUTION, DISCONNECT 
ELECTRIC POWER TO OPERATOR BEFORE 
INSTALLING LIGHT DELAY KIT.
1. Before Proceeding be sure the Auxiliary Contact
blocks supplied in this kit will fit your contactor.
2. Once you have determined that the contactor 
blocks are correct install one on each half of the 
reversing contactor. The blocks slide on from the odd 
numbered side to the even numbered side. Be sure 
that they snap into place and cannot be slid back 
without pressing the release lever. It may be 
necessary to bend some wires out of the way to 
install the blocks. Be sure to bend the wires back and 
to take care that wires on adjacent terminals do not 
touch each other.
3. Install the light delay module into the control box 
(see figures 1 and 2). Also install the light socket 
(see figure 6). If the light socket is to be installed on 
the control box, knock out one of the knockouts and 
secure the socket with a nut on each side of the sheet 
metal. 
a) Long black wire from 115V-HOT (terminal L1 on 
115V operators) to terminal #53 of the open-direction 
contactor block.
b) Black wire from #53 of one contact block to #53 of 
other contact block.
c) Black wire from #54 of one contact block to #54 of 
other contact block.
d) Black wire from #54 of the open-direction contact 
block to terminal (A) of light delay module.
e) Black wire from #53 of the close-direction contact 
block to the black wire of the lightbulb-socket 
(connect with wire nut).
f) Red wire from terminal (C) of light delay module 
to the white wire of the lightbulb-socket (connect with 
wire nut).
g) White wire from terminal (B) of the light delay 
module to 115V-NEUTRAL (terminal L2 on 115V 
operators).
5. Do not exceed 100 total watts with your Bulb(s).
FIGURE 1- Mounting location of light-delay
module for Models T, GT, APT, 
SD and GSD
FIGURE 2- Mounting location of light-delay
module for Models J, H and GH
2
 

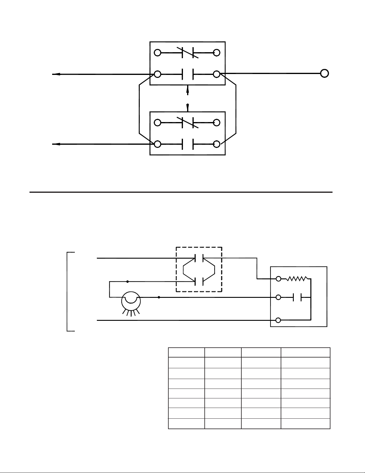
FIGURE 3- Detail on auxiliary contact block connections:
OPEN DIRECTION
61
BLACK
53
115V-HOT
AUXILIARY CONTACT BLOCKS
BLACK 
JUMPER
61
BLACK
53
BLACK WIRE OF LIGHT
(CONNECT BY WIRE-NUT)
CLOSED DIRECTION
FIGURE 4- Courtesy-light modification wiring diagram:
62
54
62
54
BLACK
LIGHT-DELAY 
TERMINAL (A)
BLACK 
JUMPER
115V
FOR
LIGHT
(HOT)
(NEUT)
BK
AUXILIARY
CONTACT BLOCKS
OP
53
L
54
O
LIGHT
DELAY
WH
M
P
CL
53
R
54
N
Q
A
C
B
KEY TO WIRES:
LETTER
L
M 
N
O
P 
Q 
R
COLOR
BLACK 
BLACK 
BLACK 
BLACK 
BLACK
RED
WHITE
LENGTH
14”
8” 
8” 
8” 
8”
14”
9”
TYPE
FORK-FORK 
FORK-FORK 
FORK-FORK
FORK-FORK 
FORK-STRIPPED 
FORK-STRIPPED
FORK-FORK
3
 

FIGURE 5- Light-delay module terminals:
C
B
A
LIGHT DELAY ASSEMBLY #76-18686
FIGURE 6- Detail on light-bulb assembly:
TO TERMINAL C OF LIGHT DELAY MODULE
WH
BK
EXTRA NUT
TO TERMINAL #53 OF THE CLOSED DIRECTION AUXILIARY CONTACT BLOCK
BULB 
100 WATTS 
MAXIMUM
27-12015 SOCKET WITH NUT
01-12014D All Rights Reserved
© 1998, The Chamberlain Group, Inc.