
INSTALLATION MANUAL CP R1 & CP R2
REMOTE CONTROLS FOR CP 62
See the CP 62 Manual for operating instructions.
CP R1 Zone Assign Remote
Control
When installing the R1 Remote, locate it next to the
paging source. This lets the user select the zones where the
page is to be heard. The R1 connects to the REMOTE ZONE
ASSIGN jack next to the paging inputs on the rear of the
CP 62.
CP R1 with One Paging Source:
Either Mic or Phone/Line
The front panel PAGING ZONE ASSIGN switch (see
Front Panel, balloon #6) lets you assign the paging signal to
ZONE 1, BOTH or ZONE 2. Similarly, the CP R1 remote lets
you assign one of the Paging Sources to either or both Zones.
Which signal is controlled from the front panel PAGING
ZONE ASSIGN switch and which is controlled via the rear
panel REMOTE ZONE ASSIGN connector (Rear Panel,
balloon #15) is determined by the rear panel PAGING
INPUTS ASSIGN switch (see Rear Panel, balloon #4). The
rear panel switch controls the front panel switch and the rear
panel connector.
To use only one paging signal and control it from the
front panel of the CP 62: set the rear panel PAGING INPUTS
ASSIGN switch to PHONE to control the PHONE/LINE
signal from the front panel of the CP 62, or to MIC to control
the MIC signal from the front panel.
Use the CP R1 remote to control one paging source from
another location. In this scenario, set the rear panel PAGING
INPUTS ASSIGN switch to MIC to control the XLR MIC
signal via the remote or set the switch to PHONE/LINE to
control the PHONE/LINE signal from the CP R1 remote.
Two Paging Sources
with No CP R1 Remote Control
When using both paging inputs but not the CP R1 remote
you do need to plug in and set the configuration adapter, (the
short piece of wire with the phone plug and stripped wires
included with the CP 62.) This adapter tells the CP 62 where
one of the paging sources needs to go. The front panel
PAGING ZONE ASSIGN switch (see Front Panel, balloon
#6) routes one paging source and the configuration adapter
routes the other.
Setting the CONFIGURATION ADAPTER:
To page only in ZONE 1 twist the black and green wires
together.
To page only in ZONE 2 twist the black and red wires
together.
To page in BOTH Zones twist all three (black, red, and
green) together.
Ignore the cowardly yellow wire, it serves no purpose.
CP R1 with Two Paging Sources:
Both Mic and Phone/Line)
When using both paging sources, the rear panel PAGING
INPUTS ASSIGN switch controls two functions (see Rear
Panel, balloon #4). Which signal is controlled from the front
panel PAGING ZONE ASSIGN switch (see Front Panel,
ballon #6) and which signal is controlled by the REMOTE
ZONE ASSIGN connector (Rear Panel, balloon #15, the place
you plug in the CP R1 remote.)
To use the CP R1 remote to control the XLR MIC signal
set the rear panel PAGING INPUTS ASSIGN switch to the
MIC position. To control the PHONE/LINE signal, set the
PAGING INPUTS ASSIGN switch to the PHONE/LINE
position.

CP R2 Source & Level Remote
Control
Table 1 shows the flexibility of configuring the R2. The
R2 controls operate the same as the PROGRAM SELECT and
ZONE LEVEL controls on the front of the CP 62, when
enabled by the front panel REMOTE CONTROL button.
ZONE 1 STEREO MODE
Locate and set the switch in the R2 to STEREO, as shown
in Figure 1a.
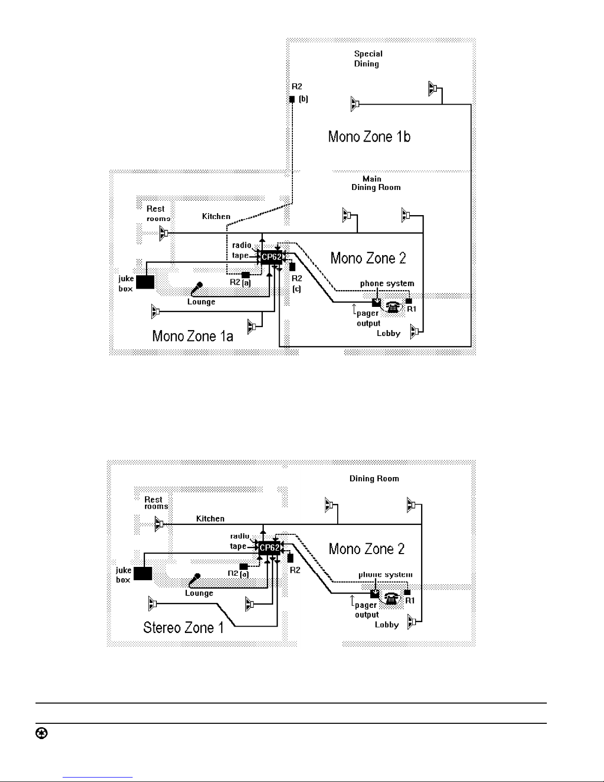
ZONE 1 MONO MODE
This delivers a total of three mono zones from the CP 62.
Zone 1a and 1b use the same source with independent
LEVEL controls. To separate Zone 1 into 1a and 1b, use two
R2 remotes connected to Zone 1. Plug a cable from the MAIN
jack of the first R2 into the ZONE 1 REMOTE jack on the
back of the CP 62 and set the first R2s slide switch to DUAL
MONO, as shown in Figure 1b. Plug a cable from the MAIN
jack of the second R2 into the AUX jack on the first R2. A
third R2 plugged into the CP 62 ZONE 2 REMOTE jack
gives control over the third mono zone, operated as Zone 2.
Figure 1a. Figure 1b.
Table 1. R2 Installation Options
Desired Configuration Remote Functions Zone 1 Mode R2 Connections
1 Stereo Zone (Zone 1) SELECT & stereo LEVEL STEREO CP 62 ZONE 1 SOURCE & LEVEL jack
1 Mono Zone (Zone 2) SELECT & mono LEVEL not applicable CP 62 ZONE 2 SOURCE & LEVEL jack
Both of the above both as above STEREO 2 R2 units both as above
3 Mono Zones (Zones 1a, 1b, & 2)
Zone 1a and 1b use the same
Source Selection
Independent mono LEVEL
for Zone 1a, 1b, and 2.
SELECT for Zone 1a & 1b.
SELECT for Zone 2.
MONO Use 3 R2s. Zone 1a - first R2's MAIN to the CP 62
ZONE 1 SOURCE & LEVEL jack. Zone 1b - second
R2's MAIN to the first R2's AUX jack. Zone 2 - third
R2 to CP 62 ZONE 2 SOURCE & LEVEL jack.
DECORA is a registered trademark of Leviton Manufacturing Co., Inc.

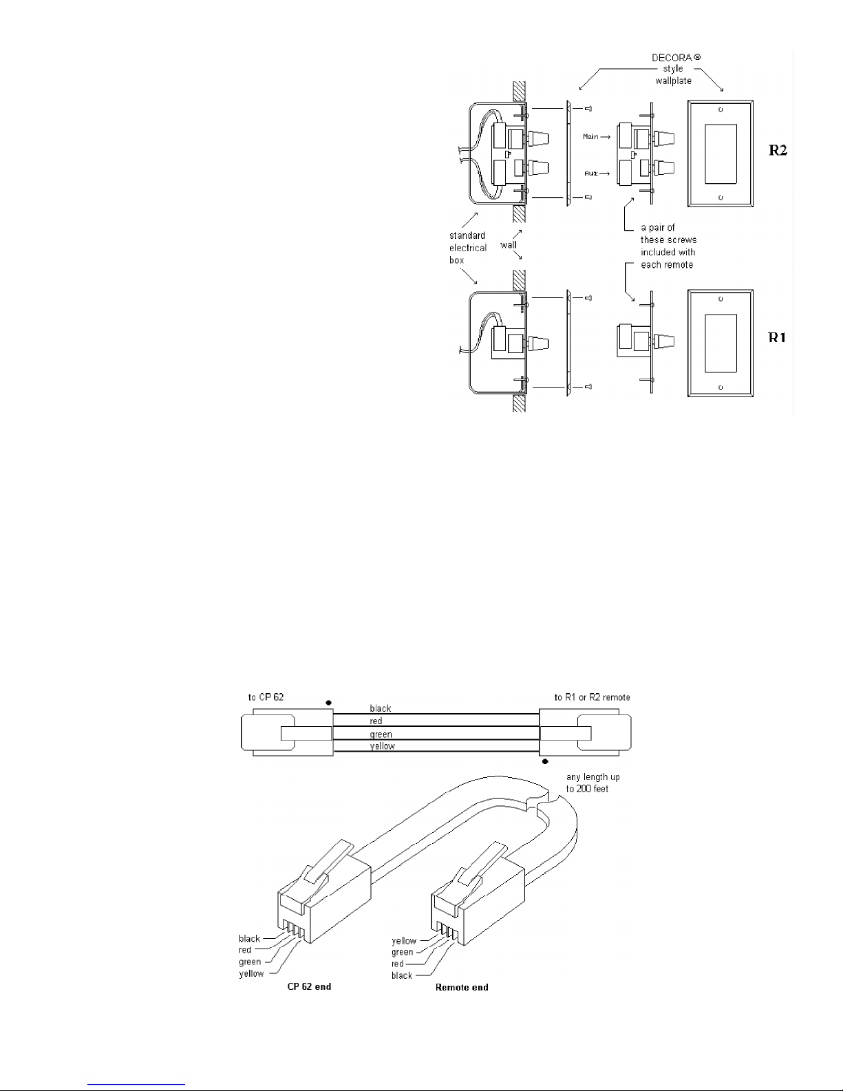
Preparing the cables
All modular connectors are not created equal. The typical
modular plug that connects to your telephone is a 6-position/
4-conductor connector, named by an RJ number to describe it
(i.e. RJ11, RJ14). This type of connector will not fit into the
CP 62 remote outlets. The appropriate connector for the CP
62 is a 4-position/4-conductor, and is referred to as a “telephone modular handset connector”. It does not have an RJ
number to describe it. Most companies have their own
different part numbers for this part.
1. Install standard copper stranded 28-26 guage 4 conductor
flat telephone cable to an empty electrical box where the
remote is to be located. Do not use high flexibility tinsel
cable. Strip an end to check if necessary. The ampere
rating for tinsel wire is too low, affecting system remote
reliability. Maximum cable distance from the CP 62 is 200
feet.
2. Install a modular handset connector on each end of the
telephone cable, taking note of wire colors as shown in
Figure 4. Special crimp hand tools and the connectors may
be purchased at commercial telephone supply outlets. This
tool is different than standard telephone modular line types.
3. Plug one end into the MAIN jack of the remote control
unit. Connect the other end to the desired jack on the back
of the CP 62.
Figure 2. Installation
Installation
The R1 and R2 remote control units will mount in
standard U.S. electrical boxes in the same way as wall
switches or outlets, as shown in Figure 2. Use a DECORA
wall plate or equivalent to allow the labeling on the front of
the remote to be visible. DECORA wall plates are available in
a wide range of colors at most hardware stores.
®
Figure 4. Remote connector wiring

Figure 3a. Three Mono Zones Control Example
©Rane Corporation 10802 47th Ave. W., Mukilteo WA 98275-5098 TEL (206)355-6000 FAX (206)347-7757 WEB http://www.rane.com
Figure 3b. Stereo and Mono Zone Control Example
All features & specifications subject to change without notice. 520-404 APR96Printed in the U.S.A. on Recycled Paper