Page 1

商务·家庭两用高性能传真机
KX-FT79CN-W
白色
ORDER NO. KMF0209626C3
警 告
本维修资料只是为有维修经验的技术人员设计的,不适用于一般人员使用。资料中未对非专业人员试图维修产品所潜在的危险加以
警告或提示。电气产品只应该由有经验的专业技术人员进行维修。任何其他人试图用此维修手册对本产品进行维护或修理都可能导
致产品的严重损坏或人员伤亡。
© 2002 九州松下电器株式会社版权所有。未经授权的
复制和传播是违法的。
Page 2

KX-FT79CN-W
目录
1简----------------------------------------------- 3
1.1. 安全预防措施 ------------------------------- 3
1.2. 绝缘电阻测试 ------------------------------- 3
1.3. 对维修技师的说明 --------------------------- 3
1.4. 电池注意事项 ------------------------------- 3
1.5. 交流电注意事项 ----------------------------- 4
1.6. 个人安全预防措施 --------------------------- 4
1.7. 特点 --------------------------------------- 5
1.8. 技术规格 ----------------------------------- 6
1.9. 任选附件 ----------------------------------- 6
1.10. 测试图 ------------------------------------- 7
1.11. 控制位置 ----------------------------------- 9
1.12. 连接 -------------------------------------- 11
1.13. 安装 -------------------------------------- 12
1.14. 维修项目和元件位置 ------------------------ 17
2 故障检修指南 ------------------------------------ 20
2.1. 故障检修提要 ------------------------------ 20
2.2. 用户可修复的故障 -------------------------- 21
2.3. 故障检修细节 ------------------------------ 24
2.4. 编程和图表 -------------------------------- 76
2.5. 测试功能 ---------------------------------- 83
3 拆卸说明 ---------------------------------------- 85
3.1. 如何卸下底壳 ------------------------------ 85
3.2. 如何卸下操作板块 -------------------------- 86
3.3. 如何卸下操作板和液晶显示器 ---------------- 87
3.4. 如何卸下数字板、模拟板、电源板和交流电源插
口 ---------------------------------------- 88
3.5. 如何卸下话筒叉簧盒和扬声器 ---------------- 89
3.6. 如何卸下马达块 ---------------------------- 90
3.7. 如何卸下分离滚筒 -------------------------- 92
3.8. 如何卸下图像传感器 ------------------------ 93
3.9. 如何拆卸热敏头和剪切装置 ------------------ 94
3.10. 如何拆卸送稿盘 ---------------------------- 95
3.11. 引线的安装位置 ---------------------------- 96
3.12. 安装热敏头和模拟板 ------------------------ 97
4 如何更换扁平插件 IC ----------------------------- 98
4.1. 准备 -------------------------------------- 98
4.2. 扁平插件 IC 拆卸工序 ----------------------- 98
4.3. 扁平插件 IC 安装工序 ----------------------- 99
4.4. 搭接修改工序 ------------------------------ 99
5 电路操作 --------------------------------------- 100
5.1. 接线图 ----------------------------------- 100
5.2. 总方框图 --------------------------------- 101
5.3. 控制部分 --------------------------------- 103
5.4. 传真部分 --------------------------------- 110
5.5. 传感器和开关 ----------------------------- 120
5.6. 调制解调器部分 --------------------------- 124
5.7. 模拟装置方框图 --------------------------- 131
5.8. NCU 部分---------------------------------- 132
5.9. ITS (综合电话系统)和监听器部分---------- 134
5.10. ATAS( 自动电话应答系统 ) 部分-------------- 134
5.11. 操作板部分 ------------------------------- 136
5.12. LCD 部分---------------------------------- 137
5.13. 电源板部分 ------------------------------- 138
6 IC 的晶体管和二极管的终端指南 ------------------ 141
7 夹具和工具 ------------------------------------- 142
8 机壳、机械零件和电气元件位置------------------- 143
8.1. 操作板部分 ------------------------------- 143
8.2. 上机壳部 / 热敏头部分 --------------------- 144
8.3. 下机壳部 --------------------------------- 145
8.4. 马达部分 --------------------------------- 146
页数 页数
8.5. 螺丝的实际尺寸 ----------------------------147
9 附件和包装材料----------------------------------148
10 更换零件表--------------------------------------149
10.1. 机壳和电气元件 ----------------------------149
10.2. 数字板部件 --------------------------------150
10.3. 模拟板部件 --------------------------------152
10.4. 操作板部件 --------------------------------153
10.5. 电源板部件 --------------------------------154
10.6. 夹具和工具 --------------------------------155
11 示意图说明--------------------------------------157
12 示意图------------------------------------------158
12.1. 数字板 (PCB1) -----------------------------158
12.2. 模拟板 (PCB2) -----------------------------160
12.3. 操作板 (PCB3)----------------------------161
12.4. 电源板 (PCB4)----------------------------162
13 印刷电路板--------------------------------------163
13.1. 数字板 (PCB1):元件视图 ------------------163
13.2. 数字板 (PCB1):底视图 --------------------164
13.3. 模拟板 (PCB2):元件视图 ------------------165
13.4. 模拟板 (PCB2):底视图 --------------------166
13.5. 操作板 (PCB3)----------------------------167
13.6. 电源板 (PCB4)----------------------------168
2
Page 3

1简介
1.1. 安全预防措施
1. 维修前,拔下交流电源线以防触电。
2. 要换零件时,仅使用厂家推荐的产品。
3. 检查电源线的状况,如有磨损或明显的损坏,就应更换。
4. 维修后,务必将导线护套、绝缘套、绝缘纸、护罩等重新装好。
5. 在把维修好的机器交还给用户之前,务必进行以下绝缘电阻测试,以防止用户受到电击的危险。
1.2. 绝缘电阻测试
1. 拔下电源线,用一根跨接线使插头的两个插脚短路。
2. 接通电源开关。
3. 用欧姆表测量跨接的 AC 插头和每个外露金属机壳部分 (例如螺丝头、控制轴、底架等)之间的电阻值。
注:某些外露的部件按设计可能与机壳绝缘。这些电阻值读数将无穷大。
4. 如果测量值超出规定的范围,则可能有电击的危险。
KX-FT79CN-W
1.3. 对维修技师的说明
IC 和 LSI 易受静电损坏。
在维修时,以下预防措施将有助于防止再发生故障。
1. 用铝箔将塑料部件的盒子盖好。
2. 使烙铁接地。
3. 在桌台上铺上导电的垫子。
4. 勿用裸手指抓握 IC 或 LSI。
1.4. 电池注意事项
注意:
1. 若电池更换不当 , 则有发生爆裂的危险,只能用厂家推荐的同样的或相等型号的电池更换。
请按厂家的指示处理用过的电池。
2. 锂电池是关键部件 ( 型号 :CR2032),更换和放入电池时 , 请注意其极性和正确位置。
3
Page 4

KX-FT79CN-W
1.5. 交流电注意事项
为了您的安全,在关上下机壳之前,请检查以下预防措施。
1. 用螺丝固定接地线。
2. 正确地连接 AC 连接器。
3. 将接地线在芯线上缠绕 4 次。
4. 将 AC 线在芯线上缠绕 4 次。
1.6. 个人安全预防措施
1.6.1. 机器的运动部分
小心别让您的头发、衣服、手指、装饰品等卷入本机的任何运动部分。
本机的运动部分有滚筒和一个齿轮。有一个由文件输送马达转动的分离滚筒和一个文件输送滚筒。一个齿轮转动这两个滚筒。小心勿
用手触摸它们,尤其在本机工作时。
4
Page 5

1.6.2. 通电部分
本机的全部电气部分都由通电的 AC 电源线提供 AC 电源。
切勿拆卸维修插入 AC 电源的机器。
注意事项:
给本机电源的主要一侧提供 AC 电压。因此,在拆卸维修前始终要拔去 AC 电源线。
KX-FT79CN-W
1.7. 特点
一般
• 帮助功能
请参阅 2.1.3. 当您不知道如何操作本机时,使用帮助功能 (P.20),以打印出以下特点。
-DIRECTORY
传真
• 清晰度 : 标准 , 精细 / 照片 , 超精细
• 复印机功能
• 帮助打印
• 文件自动输送器 (10 张纸 )
• 易观察的 LCD(15 个字符 )
• 同报通信 ( 最大 10 个终端站 )
集成电话系统
• 电话号码簿 (50 站 )
• 数字双工扬声器电话
数字应答系统
• 语音时间 / 昼间标记
• 播放快和慢的放音速度
5
Page 6

KX-FT79CN-W
1.8. 技术规格
适用线路: 公用交换电话网络
文件尺寸: 最大宽度 216 mm
最大长度 600 mm
有效扫描宽度: 208 mm
记录纸尺寸: 216 mm 最大 30 m 卷
有效打印宽度: 208 mm
传送时间 *: 约 15 秒 / 页 (辉度方式)**
扫描密度: 水平:8 pels / mm:
垂直:3.85 线 / mm - “STANDARD (标准)”方式
7.7 线 / mm - “FINE (精细)”/ “PHOTO (照片)”方式
15.4 线 / mm - “SUPER FINE (超精细)”方式
半色调层次: 64 级
扫描器型式: 密接图像传感器 (CIS)
打印型式: 感热式打印
数据压缩系统: 改良赫夫门 (MH),改良 READ (MR)
调制解调器速度: 9,600 / 7,200 / 4,800 / 2,400 bps ;自动降速
操作环境: 5 ℃ -35 ℃,45%-85% RH (相对湿度)
尺寸 (高×宽×深): 117 mm × 347 mm × 270 mm
重量: 约 2.6kg
耗电量: 待机:约 4.5W
发送:约 25W (发送 ITU-T 1 号测试稿时)
接收:约 30W (接收 ITU-T 1 号测试稿时)
复印:约 30W (复印 ITU-T 1 号测试稿时)
最大:约 125W (复印 100% 的黑色文件时)
电源: 交流 220-240 V, 50/60 Hz
存储器容量: 当存储器中没有任何文稿时,可以录音约 20 分钟 ***
* 传送速度取决于各页的内容、清晰度、电话线路状况和对方机器的能力。
** 此处提到的传送速度是以 ITU-T 1 号测试稿和辉度方式为根据的。( 参考 1.10. 测试图 (P.7))
如果对方机器的能力低于您的机器,传送时间也许更长。
*** 录音时间可能会因来电方的背景噪声而缩短。
注:
• 本说明书中的详细内容若有变更,恕不另行通知。
• 本说明书中的图片和插图可能与实际产品略有不同。
1.9. 任选附件
型号 说明 规格
KX-A106 标准热敏记录纸 216 mm × 30 m纸卷,芯25mm
6
Page 7

1.10. 测试图
1.10.1. ITU-T 1 号测试图
KX-FT79CN-W
7
Page 8

KX-FT79CN-W
1.10.2. ITU-T 2 号测试图
8
Page 9

1.11. 控制位置
1.11.1. 外观
KX-FT79CN-W
9
Page 10

KX-FT79CN-W
1.11.2. 控制板
(1) 音频
• 当您的线路具有转盘脉冲服务时,在拨号中可暂时将脉冲改为
音频。
(2) 慢速
• 缓慢重放。
(3) 快速
• 快速重放。
(4) 抹消
• 消除录音信息。
(5) 录音
• 制作录音信息。
(6) 显示屏
(7) 播放留言
• 播放录音信息。
(8) 多站点发送
• 向多站点传送。
(9) 接收方式
• 更改接收方式。
(10) 停止
• 停止操作或取消编程。
(12) 重拨 / 暂停
• 重拨上次最后拨过的号码。如果当使用“数字式免提通话”按
钮拨打电话时占线,本机最多可以自动重拨 3 次该号码。
• 在拨号中插入暂停。
(13) 闭音
• 在通话过程中使对方听不到您的声音。再次按此按钮可以继续
通话。
(14) 数字式免提通话
• 免提电话操作。若想切换到话筒方式,拿起话筒即可。若想切
换回免提方式,按 “数字式免提通话”。
(15) 目录
• 开始或结束编程。
(16)NAVIGATOR, 音量
• 调节音量。
• 查找存储的名称。
• 在编程时选择功能或功能设定。
• 转到下一个操作。
(17) 帮助
• 打印快速指南。
(18) 传真 / 开始 , 设定
• 开始发送或接收传真。
• 在编程时存储设定。
(11) 挂断
• 使用特殊的电话服务,例如呼叫等待或转移分机呼叫等。
(19) 复印
• 开始复印。
10
Page 11

1.12. 连接
(1) 连接话筒线。
(2) 连接电话线。
(3) 连接电源线。
KX-FT79CN-W
注意:
• 当您操作本机时,应使电源插座靠近本机并易于插接。
11
Page 12

KX-FT79CN-W
1.13. 安装
1.13.1. 安装记录纸
更换时,先打开盖,然后取出旧的内芯。
(1) 按开盖按钮打开盖,然后安装记录卷纸。
• 如果纸张是用胶水或胶带固定的,则从卷纸的开始处剪去约 15 cm。
(2) 将纸张的引导边缘插入热敏头上方的开口,并将纸张拉出本机。
• 确保卷纸上没有松弛的地方。
(3) 向下按两端,牢固地关好机盖。
(4)按“传真/开始”。
• 本机将稍微排出一部分纸张并将其切断。
• 如果在 30 秒钟内没有按“传真 / 开始”,本机将自动稍微排出一部分纸
张并将其切断。
注意:
• 仅可使用随机附有的纸卷或指定的记录纸 , 如果使用其他纸张 , 则会影响打印质量和/或导致热敏头过分磨损。
• 附件订购信息 , 参考 1.9. 任选附件 (P.6)。
• 在已经连接电源线时 , 每次关机盖时都印出一则信息。如果记录纸被安装在错误的一面 , 则不会印出信息。请正确安装记录纸。
1.13.2. 接收文件支架
安装接收文件支架。
12
Page 13

1.13.3. 设定您的抬头
抬头可以是公司,部门或姓名。
1.按“目录”键。
显示:
2.按“设定”键。
3. 按 或 键,直到显示出以下信息。
4.按“设定”键。
5. 用拨号键盘输入您的抬头,最多 30 个字母符号。关于详细情况,请参
阅下一页。
例如: Bill
a. 按 键两次。
KX-FT79CN-W
b. 按 键六次。
c. 按 键六次。
d. 按 键将光标移至下一空格,并按 键六次。
6.按“设定”键。
·将显示出下一个功能。
7.按“目录”键。
注意:
• 您可在步骤 4 按 或 键输入号码。在此情况下,按 键移动光标。
纠正错误
·按 键或 键,将光标移至错误的字母符号,然后改正。
插入字母符号
1. 按 或 键将光标移至您想插入字母符号的位置的右边。
2. 按 “闭音”键 (插入)插入空格并输入字母符号。
删除字母符号
·将光标移到您想删除的字母符号并按 “停止”键 (删除)。
13
Page 14

KX-FT79CN-W
1.13.4. 用拨号键盘选择字母符号
按拨号键可选择如下所示的字母符号。
1.13.5. 用 或 键选择字母符号
您可用 或 键选择字母符号,而不用拨号键盘。
1. 按 或 键,直到需要的字母符号显示出来。
2. 按 键将光标移至下一个空格。
·在步骤 1 中显示出的字母符号将被插入。
3. 回至步骤 1 以输入下一个字母符号。
字母符号的显示顺序
14
Page 15

1.13.6. 键盘上锁
键盘上锁功能可防止拨任何号码 , 但预先设定的紧急电话号码除外。
1. 按 “目录”键。
2. 按 “设定”键。
3.请使用0-9的数字输入2至4位数。作为您的PIN(个人辨认代码
) 代码。
若想解除 PIN 代码 , 请参照 2.4.4. 维修功能表 (P.78) 的 #531 的
说明。
4. 按 “设定”键。
5. 请输入 30 位数以内的紧急电话号码。
6. 按 “设定”键。
• 显示器上出现以下文字 :
注意:
更正紧急电话号码
KX-FT79CN-W
1.在步骤5、7和9中也可以使用电话簿输入紧急电话号码。一直按
或 ,直到需要的名称显示出来,然后按 “设定”。
2. 按 “设定”。
1. 按 或 将光标移至错误的数字,然后改正。
2. 若要删除数字,请将光标移至您想要删除的数字处,然后按 “停
止”。
7. 若需要 , 请使用键盘输入第二个紧急电话号码。
• 若不需要 , 请跳到第 8 个步骤。
8. 按 “设定”键。
9. 若需要 , 请输入第三个紧急电话号码。
• 若不需要 , 请跳到第 10 个步骤。
10. 按 “设定”键。
拨打紧急电话
1. 当本机显示下面的信息时,按 “数字式免提通话”或拿起话筒。
• 显示屏中将显示下面的信息。
示例 :
取消拨号锁
1. 反复按 “目录”,直到下面的信息显示出来。
2. 按 “设定”。
3. 输入您的 PIN 代码。
4. 按 “设定”。
2. 按 或 ,直到需要的紧急电话号码显示出来。
示例 :
3. 按 “设定”。
• 本机将自动开始拨号。
• 如果文稿入口处有任何文稿,本机将开始传送传真。
15
Page 16

KX-FT79CN-W
1.13.7. 本机能输送的文件
注意 :
• 取下回形针、订书针或其他类似的固定物。
• 检查墨水、浆糊或涂改液是否已干。
• 勿发送下列类型的文件。(请使用复印件发送传真。)
— 碳或无碳复写纸之类的化学处理纸
— 带有静电的纸张
— 回卷不良、皱褶或撕破的纸张
— 表面带有涂膜的纸张
— 图像清晰度微弱的纸张
— 从正面可看到反面打印的文字的纸张 (如报纸)
• 若要发送宽度小于 A4 尺寸(210 mm)的文件,我们建议您用复印机先将原稿复印在 A4 尺寸或 letter 尺寸的纸上,然后发送该复印的
文件。
16
Page 17

1.14. 维修项目和元件位置
1.14.1. 概要
维修和检修应按以下步骤进行。
1. 定期维修
定期检查设备,如有必要,应擦干净任何被弄脏的部件。
2. 检查故障
查找故障并考虑故障发生的原因。
如果设备还能使用,则应进行复印、自测或通信试验。
3. 检查设备
进行复印、自测和通信试验,以便确定故障是否发生在传送部分、接收部分或电话线上。
4. 确定原因
通过故障检修确定设备故障的原因。
5. 设备修理
修理或更换有毛病的部件,并在此阶段采取适当措施 ,以保证不再出现故障。
6. 确认设备是否工作正常
在完成修理后,应进行复印、自测和通信试验,以便确认设备是否工作正常。
7. 保留维修记录
记录排除故障所采取的措施。以备将来参考。
1.14.2. 维修检查项目 / 元件位置
KX-FT79CN-W
17
Page 18

KX-FT79CN-W
1.14.2.1. 维修表
编号 操 作 检 查 备 注
1 文件通道 清除任何杂物,如纸张。 —
2 滚筒 如果滚筒脏了,则用湿布干净,然后彻底晾干。 参考 1.14.3.1. 清洁文件输送器装置
3 热敏头 若热敏头脏了,则用沾了变性酒精 (无水酒精)的布擦净
4 玻璃 如果玻璃脏了,则用干软布擦净。 参考 1.14.3.1. 清洁文件输送器装置 (P.19)
5 传感器 文件传感器 (PS1),读出位置传感器 (SW32),记录纸 /
6 零件异常、磨损和破裂
或丢失
打印面。然后让它彻底晾干。
机盖开关传感器 (SW1),卡住传感器 (SW3)。
更换零件。检查全部部件上的螺丝是否上紧。 —
(P.19)。
参考 1.14.3.2. 清结热敏头和黑杆 (P.19) 和
3 拆卸说明 (P.85)。
和 3拆卸说明(P.85)。
参考 2.3.11. 传感器部分 (P.73) 和 5.5. 传
感器和开关 (P.120)。
1.14.2.2. 维修周期
编号 项 目 擦拭周期 更 换
周 期 工 序
1 分离滚筒 (参考号 .10) 3 个月 7 年 (100,000 份文件)* 参考 3.6. 如何卸下马达块 (P.90)。
2 分离橡胶 (参考号 .12) 3 个月 7 年 (100,000 份文件)* 参考 3.6. 如何卸下马达块 (P.90)。
3 输送滚筒 (参考号 .7) 3 个月 7 年 (100,000 份文件)* 参考 3.6. 如何卸下马达块 (P.90)。
4 热敏头 (参考号 .79) 3 个月 7 年 (100,000 份文件)* 参考 3.6. 如何卸下马达块 (P.90)。
* 这些值是标准值,根据使用条件可以有所不同。
18
Page 19

1.14.3. 维修
1.14.3.1. 清洁文件输送器装置
经常发生走纸不顺的情况或当传送或复印时在原稿上出现污迹或黑。
1. 断开电源线和电话线。
2. 按开盖钮以打开机盖。
3. 用布浸上异丙基磨光酒精,擦净送纸滚筒和橡胶片,然后使其彻底
干燥。
4. 用干软布擦净白板和玻璃。
5. 向下按两端,牢靠地关好机盖。
6. 连接电源线和电话线。
KX-FT79CN-W
注意:
• 请勿以纸制品 (如纸制毛巾或纸巾)等擦拭本机内部。
1.14.3.2. 清结热敏头和黑杆
在复印或接收文件上如果出现白黑斑或污点,请清洁热敏头。
1. 断开电源线和电话线。
2. 按开盖钮以打开机盖 , 然后取下记录卷纸。
3. 用布浸上异丙基磨光酒精 , 清洁热敏头并使其彻底干燥。
4. 连接电源线和电话线。
5. 安装记录纸,按下机盖两端牢固地关闭机盖,然后按 “传真/开
始”。
注意 :
• 为了防止因静电引起的故障 , 切勿使用干布及直接触摸热敏头。
19
Page 20

KX-FT79CN-W
2 故障检修指南
2.1. 故障检修提要
2.1.1. 故障检修
通过询问用户,在确认了情况后,按照说明进行检修并遵守以下预防措施。
2.1.2. 预防措施
1. 如果打印质量或者文件输送有问题,先检查安装空间和打印纸是否达到了技术要求,然后检查纸选择杆/纸厚度杆是否设定正
确,纸放置是否正确无松弛。
2. 在故障检修前,先检查连接器和电缆线是否连接正确和牢固 (无松弛)。
如果偶然发生异常故障情况,应仔细检查。
3. 在本机接通 AC 电源进行测试时,为了避免电击和短路,在处理电气部件时要特别小心。
4. 在故障检修后,应再次检查是否忘记了任何连接器,留下了任何松弛的螺丝等。
5. 经常测试检验本机工作是否正常。
2.1.3. 当您不知道如何操作本机时,使用帮助功能
• 如何使用 :
1. 反复按 “帮助” 键直到下列文字被显示出来。
2. 按 “设定”键。
20
Page 21

2.2. 用户可修复的故障
如果本机检测到故障,显示屏中将显示下列一条或多条信息。
注:
[ ] 中的解释仅适用于维修人员。
• 本机发生了故障。请与维修人员联系。
[ 当热敏头没有加热时,显示此信息。请检查在热敏头上的热
敏电阻和连接器引线。(供维修技术员参考)]
KX-FT79CN-W
• 对方的传真机占线或记录纸用完。再试一次。
• 没有录制您的答录 / 传真欢迎信息。录制信息。
• 语音提示功能被设定为 OFF。启动 2.3.5.2.2. 编程方式表
(P.52) 中的功能 #47。将采用预先录制的欢迎信息。
• 机盖被打开了。请关好盖。
• 本机中的记录纸用完了。安装记录卷纸
(参考1.13.1. 安装记录纸 (P.12))
• 文稿没有正确送入本机。重新插入文稿。如果频繁发生送纸错
误,请清洁送纸滚筒 ( 参考 1.14.3.1. 清洁文件输送器装置
(P.19)),然后再试一次。
• 试图传送长于 600 mm 的文稿。请按 “停止”取下文稿。将文
稿分成两页或多页,然后再试一次。
• 存储器内容 ( 电话号码、参数等 ) 被消除了。重新编程。
• 在电话簿中已经没有空间可以存储新项目。消除不需要的项
目。
• 本机的存储器中存有文稿。参阅其它显示信息说明以将文稿打
印出来。
• 没有录制您的转移欢迎信息。录制信息。
• 语音提示功能被设定为 OFF。启动 2.3.5.2.2. 编程方式表
(P.52) 中的功能 #47。将采用预先录制的欢迎信息。
• 记录纸被卡住。清除被卡住的纸。
(参考2.2.2. 记录纸卡住 (P.23))
• 对方的传真机不提供查询功能。检查对方的情况。
• 对方的传真机占线或记录纸用完。再试一次。
• 文稿被卡住。清除卡住的文稿。
(参考2.2.2. 记录纸卡住 (P.23))
• 发生了传送错误。再试一次。
• 存储器中没有剩余空间可以用于录制语音信息。消除不需要的
信息。
• 本机太热。让机器冷却下来。
21
Page 22

KX-FT79CN-W
2.2.1. 文件卡住 ( 发送 )
如果送纸期间本机没有排出文稿,应取出卡住的文稿。
(1) 按开盖按钮打开机盖,小心地取出卡住的文稿。
• 在打开机盖之前,切勿用力拉出卡住的文稿。
(2) 向下按两端,牢固地关好机盖。
22
Page 23

2.2.2. 记录纸卡住
如果在接收传真或复印期间本机不排出任何记录纸,则说明记录纸卡住了。取出卡住的纸张。
(1) 按开盖按钮打开机盖。抬起绿色控制杆以释放裁纸器,然后取出记录
卷纸。
• 绿色控制杆太紧推不动时
纸张发生卡塞,记录纸剪切器的安装位置不合适时 , 以下操作可使纸
张剪切器自动地回到初始的位置上。
操作 :
1. 请确认纸张是否完全被拆下清除。 ( 如果残留纸张在内而进行
下一步操作的话,有可能损伤纸张剪切器。 )
2. 同时按 “STOP”和 “4”键。
注意 :
1. 在开着盖的状态下也可进行该操作拔恢貌缓鲜适,但必须很注
意。
2. 要在完全清除掉卡纸后才能使用本机。
(2) 剪下褶皱部分,然后将记录卷纸按正确方向放入本机。
KX-FT79CN-W
(3) 将纸张的引导边缘插入热敏头上方的开口,并将纸张拉出本机。
• 确保卷纸上没有松弛的地方。
• 如果不能插入纸张,应再次抬起绿色控制杆。
(4) 向下按两端,牢固地关好机盖。
(5) 按 “传真/开始”。
• 本机将稍微排出一部分纸张并将其切断。
• 如果在 30 秒钟内没有按“传真/开始”,本机将自动稍微排出一部分纸
张并将其切断。
• 每次关闭机盖时都将打印一条信息。如果记录纸安装反了,将不会打印
信息。应正确安装纸张。
23
Page 24

KX-FT79CN-W
2.3. 故障检修细节
2.3.1. 概要
故障检修指南提供一个演绎的逻辑路径以帮助查找故障 , 并提出使本机恢复到满负荷工作状态的方法。用报告的故障症状来确定最佳
的检修方法。甚至能将疑难故障追查到一个具体的块或区 , 例如 “数字板”或者 “图像传感器”。
来自客户的各种故障描述经常指的是同一地区 , 为此 , 要求对报告的症状做认真的分析。在每次检修后 , 都要测试全部功能以保证无
明显问题。
2.3.2. 开始故障检修
确定症状和故障检修方法。
相互参考:
2.3.3.1. 简单检查表 (P.25)
2.3.6. 数字板部分 (P.54)
24
Page 25

2.3.3. 故障项目表
项 目 症 状 参 考
打印 扭曲了接收图像 见 2.3.4.7. 接收图像歪斜 (P.31)
扩大了打印 见 2.3.4.8. 扩展打印 ( 打印时 )(P.32)
图像失真 见 2.3.4.5. 图像变形 ( 打印时 )(P.30)
出现了黑白垂直线 见 2.3.4.6. 出现黑白垂直线 (P.31)
ADF
( 文件自动输送器 )
异常机械声音 来自本产品的异常声音 见 2.3.4.9. 在复印或者打印时 , 听到本机的一种异常声音 (P.32)
电源 电压输出异常 见 5.13. 电源板部分 (P.138)
操作板 键不被接收 见 2.3.10. 操作板部分 (P.72)
传感器 若是电路的原因 , 将显示
通信
FAX, TEL
(模拟板)
文件不输送 见 2.3.4.1. 不输送文件 (P.26)
文件卡塞 见 2.3.4.2. 文件卡纸 (P.27)
多张输送 见 2.3.4.3. 多张输 (P.28)
歪斜 见 2.3.4.4. 歪斜 (P.29)
见 2.3.11. 传感器部分 (P.73)
“REMOVE DOCUMENT”
不能用传真通信 见 2.3.7.2. 故障 ITS (综合电话系统)部分 (P.66)
显示故障代码 见 2.3.5.1.8. 如何输出日报表 (P.42)
不能谈话 见 2.3.7. 模拟板部分 (P.64)
DTMF 音频不工作
话筒 / 监听声音、音量。
KX-FT79CN-W
2.3.3.1. 简单检查表
传真操作 传送 OK / NG
接收 OK / NG
复印操作 精细方式 OK / NG
半色调方式 OK / NG
电话操作 话筒收发器 / 接收器 OK / NG
扬声器电话传送 / 接收 OK / NG
监听声音 OK / NG
振铃声音 OK / NG
拨号操作 OK / NG
音量操作 OK / NG
操作板 键检查 OK / NG 维修代码 #561 ( 参考 2.5. 测试功能 (P.83))
序列号 日期
功能 判断 参考
LCD 检查 OK / NG 维修代码 #558 ( 参考 2.5. 测试功能 (P.83))
LED 检查 OK / NG 维修代码 #557 ( 参考 2.5. 测试功能 (P.83))
传感器 传感器检查 OK / NG 维修代码 #815 ( 参考 2.5. 测试功能 (P.83))
时钟 显示变化 OK / NG 记时准确吗?
外接电话 话筒收发两用机/接收机 OK / NG
遥控 OK / NG 按 *9 转换到传真接收。
注意:
• 按照维修代码检查 , 参考 2.5. 测试功能 (P.83)。
与其他时钟。
( 参考用户方式 #41 至 2.3.5.2.2. 编程方式表 (P.52))
25
Page 26

KX-FT79CN-W
2.3.4. ADF (文件自动输送)部分
2.3.4.1. 不输送文件
相互参考:
2.3.6. 数字板部分 (P.54)
2.3.11. 传感器部分 (P.73)
2.5. 测试功能 (P.83)
3 拆卸说明 (P.85)
5.13. 电源板部分 (P.138)
26
Page 27

2.3.4.2. 文件卡纸
KX-FT79CN-W
相互参考:
2.3.11. 传感器部分 (P.73)
2.5. 测试功能 (P.83)
3 拆卸说明 (P.85)
27
Page 28

KX-FT79CN-W
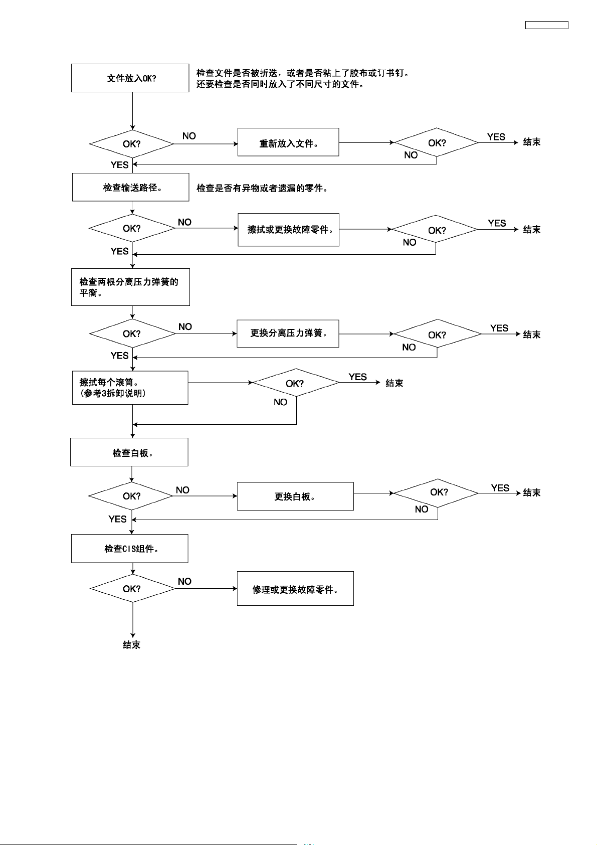
2.3.4.3. 多张输
如果在使用薄纸等时不输送文件。
相互参考:
3 拆卸说明 (P.85)
28
Page 29

2.3.4.4. 歪斜
KX-FT79CN-W
相互参考:
3 拆卸说明 (P.85)
29
Page 30

KX-FT79CN-W
2.3.4.5. 图像变形 ( 打印时 )
相互参考:
2.3.12. 读出部分 (P.74)
2.3.13. 热敏头部分 (P.75)
2.5. 测试功能 (P.83)
3 拆卸说明 (P.85)
30