Page 1

AXISQ8414–LVSNetworkCamera
InstallationGuide
Page 2
Page 3

English
EN
France:Français
Deutschland:Deutsch
Italia:Italiano
España:Español
日本:日本語
中文:简体中文
FR
DE
IT
ES
JA
ZH
Page 4

Readthisrst
ReadthroughthisInstallationGuidecarefullybefore
installingtheproduct.KeeptheInstallationGuidefor
futurereference.
Legalconsiderations
Videoandaudiosurveillancecanberegulatedbylaws
thatvaryfromcountrytocountry.Checkthelaws
inyourlocalregionbeforeusingthisproductfor
surveillancepurposes.
Thisproductincludesthefollowinglicences:
•one(1)AACdecoderlicense
•one(1)H.264decoderlicense
Topurchasefurtherlicenses,contactyourreseller.
Liability
Everycarehasbeentakeninthepreparationofthis
document.PleaseinformyourlocalAxisofceof
anyinaccuraciesoromissions.AxisCommunications
ABcannotbeheldresponsibleforanytechnicalor
typographicalerrorsandreservestherighttomake
changestotheproductandmanualswithoutprior
notice.AxisCommunicationsABmakesnowarranty
ofanykindwithregardtothematerialcontained
withinthisdocument,including,butnotlimitedto,
theimpliedwarrantiesofmerchantabilityandtness
foraparticularpurpose.AxisCommunicationsAB
shallnotbeliablenorresponsibleforincidental
orconsequentialdamagesinconnectionwiththe
furnishing,performanceoruseofthismaterial.This
productisonlytobeusedforitsintendedpurpose.
Intellectualpropertyrights
AxisABhasintellectualpropertyrightsrelatingto
technologyembodiedintheproductdescribedinthis
document.Inparticular,andwithoutlimitation,these
intellectualpropertyrightsmayincludeoneormore
ofthepatentslistedatwww.axis.com/patent.htmand
oneormoreadditionalpatentsorpendingpatent
applicationsintheUSandothercountries.
Thisproductcontainslicensedthird-partysoftware.
Seethemenuitem“About”intheproduct’suser
interfaceformoreinformation.
Thisproductcontainssourcecodecopyright
AppleComputer,Inc.,undertheterms
ofApplePublicSourceLicense2.0(see
www.opensource.apple.com/apsl).Thesourcecodeis
availablefromhttps://developer.apple.com/bonjour/
Equipmentmodications
Thisequipmentmustbeinstalledandusedin
strictaccordancewiththeinstructionsgivenin
theuserdocumentation.Thisequipmentcontains
nouser-serviceablecomponents.Unauthorized
equipmentchangesormodicationswillinvalidateall
applicableregulatorycerticationsandapprovals.
Trademarkacknowledgments
AXISCOMMUNICATIONS,AXISandVAPIXare
registeredtrademarksortrademarkapplicationsof
AxisABinvariousjurisdictions.Allothercompany
namesandproductsaretrademarksorregistered
trademarksoftheirrespectivecompanies.
Apple,Boa,Apache,Bonjour,Ethernet,Internet
Explorer,Linux,Microsoft,Mozilla,Real,SMPTE,
QuickTime,UNIX,Windows,WindowsVistaandWWW
areregisteredtrademarksoftherespectiveholders.
JavaandallJava-basedtrademarksandlogosare
trademarksorregisteredtrademarksofOracleand/or
itsafliates.UPnP
TM
UPnP
ImplementersCorporation.
SD,SDHCandSDXCaretrademarksorregistered
trademarksofSD-3C,LLCintheUnitedStates,
othercountriesorboth.Also,miniSD,microSD,
miniSDHC,microSDHC,microSDXCarealltrademarks
orregisteredtrademarksofSD-3C,LLCintheUnited
States,othercountriesorboth.
TM
isacerticationmarkofthe
Regulatoryinformation
Europe
Thisproductcomplieswiththeapplicable
CEmarkingdirectivesandharmonizedstandards:
•ElectromagneticCompatibility(EMC)Directive
2014/30/EU.SeeElectromagneticcompatibility
(EMC)onpage4.
•LowVoltage(LVD)Directive2014/35/EU.See
Safetyonpage5.
•RestrictionsofHazardousSubstances(RoHS)
Directive201 1/65/EU.SeeDisposalandrecycling
onpage5.
Acopyoftheoriginaldeclarationofconformity
maybeobtainedfromAxisCommunicationsAB.See
Contactinformationonpage5.
Electromagneticcompatibility(EMC)
Thisequipmenthasbeendesignedandtestedtofulll
applicablestandardsfor:
•Radiofrequencyemissionwheninstalled
accordingtotheinstructionsandusedinits
intendedenvironment.
•Immunitytoelectricalandelectromagnetic
phenomenawheninstalledaccordingtothe
instructionsandusedinitsintendedenvironment.
USA
Thisequipmenthasbeentestedusingashielded
networkcable(STP)andfoundtocomplywiththe
limitsforaClassBdigitaldevice,pursuanttopart15
oftheFCCRules.Theselimitsaredesignedtoprovide
reasonableprotectionagainstharmfulinterferencein
aresidentialinstallation.Thisequipmentgenerates,
usesandcanradiateradiofrequencyenergyand,
ifnotinstalledandusedinaccordancewiththe
instructions,maycauseharmfulinterferencetoradio
communications.However,thereisnoguaranteethat
interferencewillnotoccurinaparticularinstallation.
Ifthisequipmentdoescauseharmfulinterferenceto
radioortelevisionreception,whichcanbedetermined
byturningtheequipmentoffandon,theuseris
encouragedtotrytocorrecttheinterferencebyone
ormoreofthefollowingmeasures:
•Reorientorrelocatethereceivingantenna.
•Increasetheseparationbetweentheequipment
andreceiver.
•Connecttheequipmentintoanoutletona
circuitdifferentfromthattowhichthereceiver
isconnected.
•Consultthedealeroranexperiencedradio/TV
technicianforhelp.
Theproductshallbeconnectedusingashielded
networkcable(STP)thatisproperlygrounded.
Canada
Thisdigitalapparatuscomplieswith
CANICES-3(ClassB).Theproductshallbe
Page 5

connectedusingashieldednetworkcable(STP)that
isproperlygrounded.Cetappareilnumériqueest
conformeàlanormeCANNMB-3(classeB).Leproduit
doitêtreconnectéàl'aided'uncâbleréseaublindé
(STP)quiestcorrectementmisàlaterre.
Europe
Thisproductfulllstherequirementsforimmunity
accordingtoEN61000-6-1residential,commercial
andlight-industrialenvironments.
Thisproductfulllstherequirementsforimmunity
accordingtoEN61000-6-2industrialenvironments.
Thisproductfulllstherequirementsforimmunity
accordingtoEN55024ofceandcommercial
environments.
Australia/NewZealand
Thisdigitalequipmentfulllstherequirements
forRFemissionaccordingtotheClassBlimitof
AS/NZSCISPR22.Theproductshallbeconnected
usingashieldednetworkcable(STP)thatisproperly
grounded.
Japan
この装置は、クラスB情報技術装置です。この
装置は、家庭環境で使⽤することを⽬的とし
ていますが、この装置がラジオやテレビジョ
ン受信機に近接して使⽤されると、受信障害
を引き起こすことがあります。取扱説明書に
従って正しい取り扱いをして下さい。本製品
は、シールドネットワークケーブル(STP)を
使⽤して接続してください。また適切に接地
してください。
Korea
이기기는가정용(B급)전자파적합기기로서주
로가정에서사용하는것을목적으로하며,모
든지역에서사용할수있습니다.적절히접지
된STP(shieldedtwistedpair)케이블을사용하
여제품을연결하십시오.
Safety
ThisproductcomplieswithIEC/EN/UL60950-1,Safety
ofInformationTechnologyEquipment.
Ifitsconnectingcablesareroutedoutdoors,the
productshallbegroundedeitherthroughashielded
networkcable(STP)orotherappropriatemethod.
Disposalandrecycling
Whenthisproducthasreachedtheendofits
usefullife,disposeofitaccordingtolocallawsand
regulations.Forinformationaboutyournearest
designatedcollectionpoint,contactyourlocal
authorityresponsibleforwastedisposal.Inaccordance
withlocallegislation,penaltiesmaybeapplicablefor
incorrectdisposalofthiswaste.
Europe
Thissymbolmeansthattheproductshallnotbe
disposedoftogetherwithhouseholdorcommercial
waste.Directive2012/19/EUonwasteelectrical
andelectronicequipment(WEEE)isapplicablein
theEuropeanUnionmemberstates.Toprevent
potentialharmtohumanhealthandtheenvironment,
theproductmustbedisposedofinanapproved
andenvironmentallysaferecyclingprocess.For
informationaboutyournearestdesignatedcollection
point,contactyourlocalauthorityresponsiblefor
wastedisposal.Businessesshouldcontacttheproduct
supplierforinformationabouthowtodisposeofthis
productcorrectly.
Thisproductcomplieswiththerequirementsof
Directive201 1/65/EUand2015/863ontherestriction
oftheuseofcertainhazardoussubstancesinelectrical
andelectronicequipment(RoHS).
China
Thisproductcomplieswiththerequirements
ofSJ/T1 1364-2014,Markingfortherestrictionof
hazardoussubstancesinelectricalandelectronic
products.
有毒有害物质或元素
部
件
名
称
电
气
实
装
部
分
0:表示该有毒有害物质在该部件均质材料
中的含量均在GB/T26572标准规定的限量要
求以下。
X:表示该有毒有害物质至少在该部件的某一
均质材料中的含量超出GB/T26572标准规定的
限量要求。
Contactinformation
AxisCommunicationsAB
Emdalavägen14
22369Lund
Sweden
Tel:+46462721800
Fax:+4646136130
www.axis.com
汞
铅
(Hg)
(Pb)
00000
X
六
镉
(Cd)
多
价
铬
(Cr(VI))
溴
溴
二
联
苯
苯
醚
(PB-
(PB-
B)
DE)
Warrantyinformation
ForinformationaboutAxis’productwarranty
andtheretorelatedinformation,goto
www.axis.com/warranty/
Support
Shouldyourequireanytechnicalassistance,please
contactyourAxisreseller.Ifyourquestionscannotbe
answeredimmediately,yourresellerwillforwardyour
queriesthroughtheappropriatechannelstoensurea
rapidresponse.IfyouareconnectedtotheInternet,
youcan:
•downloaduserdocumentationandsoftware
updates
多
Page 6

•ndanswerstoresolvedproblemsintheFAQ
database.Searchbyproduct,category,orphrase
•reportproblemstoAxissupportstaffbylogging
intoyourprivatesupportarea
•chatwithAxissupportstaff
•visitAxisSupportatwww.axis.com/support
Learnmore!
VisitAxislearningcenterwww.axis.com/academy/for
usefultrainings,webinars,tutorialsandguides.
Page 7

Packagecontents
•AXISQ8414–LVSNetworkCamera
•Washers(formountingscrews)
•AXISConnectorGuardA
•Torx®bitTR20
•4–pinterminalconnector
•Printedmaterials
-InstallationGuide(thisdocument)
-AVHSAuthenticationkey
AXISQ8414–LVSNetworkCamera
EN
7
Page 8

AXISQ8414–LVSNetworkCamera
Productoverview
1
Cablegasket(networkcable)
2
Cablegasket(I/Ooraudiocable)
3
PoEClassselector*
4
Networkconnector
5
Audiooutconnector
6
LEDindicators
7
Audioinconnector
8
I/Oconnector
9
Controlbutton
10
IRwindow
11
Microphone
12
Notused
13
SDcardslot
*UsedforswitchingbetweenPoEClass2(limitedIR)andPoEClass3(fullIR).Seepage26.
8
Page 9

AXISQ8414–L VSNetworkCamera
Howtoinstalltheproduct
Installthehardware
NO
TICE
NO NO
TICE TICE
•Theproductshallbeconnectedusingashieldednetworkcable(STP).Allcablesconnecting
theproducttothemidspanshallbeshielded(STP)andintendedfortheirspecicuse.
Makesurethatthemidspanisproperlygrounded.Forinformationaboutregulatory
requirements,seeRegulatoryinformationonpage4.
•Becarefulnottoscratch,damageorleavengerprintsonthedomecoverbecausethis
coulddecreaseimagequality.Ifpossible,keeptheprotectiveplasticonthefrontofthe
cameraassemblyuntiltheinstallationiscomplete.
TheAxisproductcanbeinstalledwiththecablesroutedthroughthewallorceiling.
Readalltheinstructionsbeforeinstallingtheproduct.Someinstallationstepswouldbenetfrom
beingcompletedtogetherbecausetheyrequireremovalofthecameraassembly.
•AstandardorhighcapacitySDcard(notincluded)canbeusedtostorerecordingslocally
intheproduct.ToinstallanSDcard,seepage14.
•Toroutethecablesbeforeinstallingtheproduct,seepage9.
•Toinstalltheproduct,seepage10.
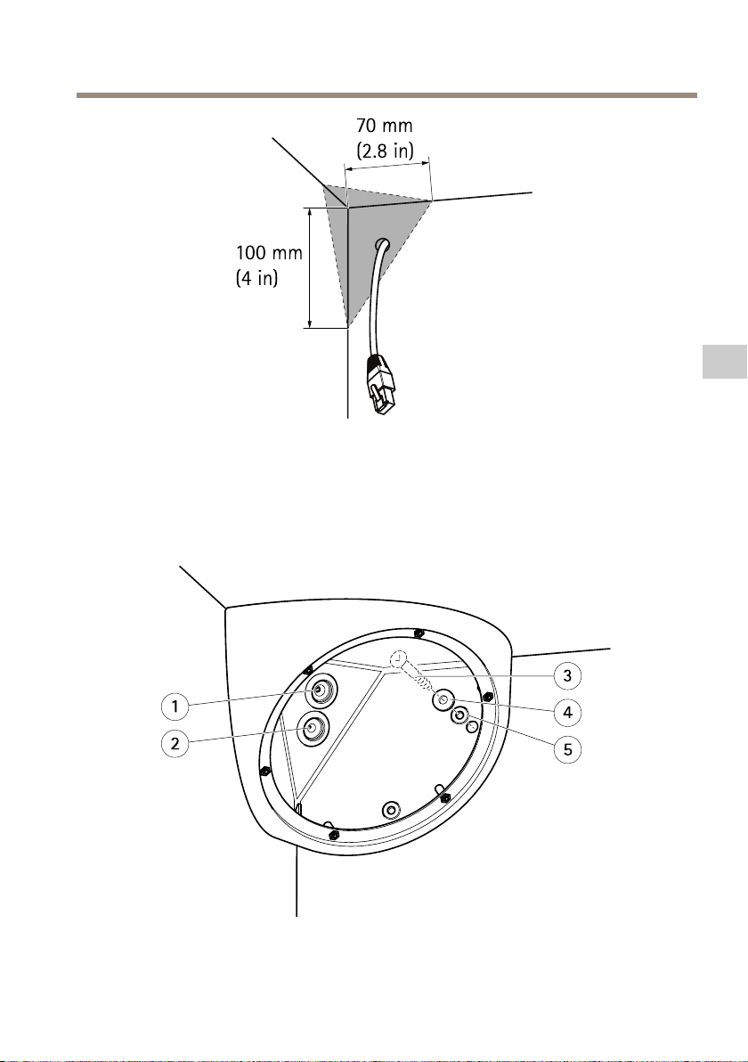
Routethecables
1.Measureatriangularareainthecornerbetweentheceilingandthewalls.
2.Routethenetworkcable(andtheI/O,audiocableifneccessary)throughthetriangular
areaofthewall.
EN
9
Page 10

AXISQ8414–LVSNetworkCamera
Installthecameraunit
1.Removethegasketsfromthetop-andsideholesinthebackchassis.
2.Positionthebackchassisinthecornerbetweentheceilingandthewalls.Useapencilto
makemarksforthescrewsthroughthetop-andsideholes.
1
Cablegasket,network
2
Cablegasket,I/O
3
Screw(notincluded)
4
Washer
5
Gasket
3.Drillholesforthescrewsintheceilingandinthewalls.
4.Plugthegasketsbackitintotheirholes.Thegasketsshouldtsnuglywithnofolds
orbends.
5.Removethenetworkcablegasketfromthebackholeandroutethenetworkcable
throughthisbackhole.
6.Ifapplicable:RemovetheI/OcablegasketfromthebackholeandroutetheI/Ocable
throughthisbackhole.
7.Pullthetabonthecablegaskettoopenit.
8.AttachtheAXISConnectorGuardAontopoftheRJ45networkconnector.Dragthe
networkcablegasketalongthecableandplugthenetworkcablegasketintoitshole.
Thegasketshouldtsnuglywithnofoldsorbends.
9.RemovetheAXISConnectorGuardAfromthetopoftheRJ45networkconnector.
10
Page 11

AXISQ8414–L VSNetworkCamera
10.Ifapplicable:PulltheI/OcablethroughtheI/OcablegasketbeforeattachingtheI/O
connectortothecable.PlugtheI/Ocablegasketintoitshole.Thegasketshouldt
snuglywithnofoldsorbends.
11.Attachthebackchassistothecornerinthewallusingscrewsappropriateforthewall
andceilingmaterial.Thescrewsshouldgothroughthewashersandthegasketsto
securetheIP66sealing.
EN
1
Cablegasket,network
2
Cablegasket,I/O
3
Screw(notincluded)
4
Washer
5
Gasket
12.Foroptimizedsealing:Applyastripofexiblegapller/masticsealantalongthesides
ofthebackchassis.Ensurethatanygapsbetweenthebackchassisandtheceiling/
wallsarelled.
13.Ifapplicable:InsertanSDcard(notincluded)intotheSDcardslotonthecamera
assembly.
14.Ifapplicable:SeeInstallAXIST8642MountingKitA(soldseparately)onpage15.
15.Ifapplicable:SeeInstallAXISDoorSwitchAforintrusiondetection(soldseparately)
onpage16
16.Ifapplicable:SeeInstallAXISQ8414-LVSSmokedDome(soldseparately)onpage17.
17.Ifapplicable:SeeInstallAXISQ8414-LVSIRWindowB(soldseparately)onpage17.
11
Page 12

AXISQ8414–LVSNetworkCamera
18.Ifnecessary:Manuallyadjusttheangleofthelenstoadapttothesizeandshapeofthe
monitoredarea.Fortiltpositions,seeSetuptheeldofviewonpage13
19.Guidethenetworkcablethroughthecabletunneltothebackofthecameraassembly
andplugthenetworkcableintothenetworkconnector.
20.Ifapplicable:GuidetheI/Ocablethroughthecabletunneltothebackofthecamera
assemblyandplugtheI/OcableintotheI/Oconnector.
21.HoldthecameraassemblysothattheIRwindowonthefrontisinasixo’clockposition,
andplacethebottomofthecameraassemblyagainstthebottomofthebackchassis
opening.
12
Page 13

AXISQ8414–L VSNetworkCamera
22.Foldthetopofthecameraassemblyupwardsuntilthecameraassemblyispressed
againsttheentireriminthebackchassisopening.
Important
Adjustthecableslacksothatthecablesarenotsqueezedbetweenthesidesofthecamera
assemblyandthebackchassis.
23.Attachthecameraassemblytothebackchassisusingthescrews(torque2.5Nm).
24.Removetheprotectivelmonthefrontofthecameraassembly.
Setuptheeldofview
EN
Tiltthelenstoobtaintheoptimaleldofviewthatcoversasmuchaspossibleofthemonitored
area.
MaximumTiltPositionsfortheLens
Yourtiltpositionforoptimaleldofviewisfoundinbetweenthemaximumtiltpositions.
13
Page 14

AXISQ8414–LVSNetworkCamera
MaximumTiltPositionsfortheLens(Continued)
Tilt
up
Tilt
down
InstallanSDcard
ItisoptionaltoinstallastandardorhighcapacitySDcard(notincluded),whichcanbeusedfor
localrecordingwithremovablestorage.
1.Loosenthescrewsinthefrontandremovethecameraassembly.
2.InsertanSDcard(notincluded)intotheSDcardslot.
3.HoldthecameraassemblysothattheIRwindowonthefrontisinasixo’clockposition,
andplacethebottomofthecameraassemblyagainstthebottomofthebackchassis
opening.
14
Page 15

AXISQ8414–L VSNetworkCamera
4.Foldthetopofthecameraassemblyupwardsuntilthecameraassemblyispressed
againsttheentireriminthebackchassisopening.
Important
Adjustthecableslacksothatthecablesarenotsqueezedbetweenthesidesofthecamera
assemblyandthebackchassis.
5.Attachthecameraassemblytothebackchassisusingthescrews(torque2.5Nm).
NO
TICE
NO NO
TICE TICE
Topreventcorruptionofrecordings,theSDcardshouldbeunmountedbeforeitisejected.
Tounmount,gotoSetup>SystemOptions>Storage>SDCardandclickUnmount.
EN
InstallAXIST8642MountingKitA(soldseparately)
ThecontentsofthisaccessorykitmakesitpossibletomountanEthernetOverCoaxAdaptor(not
included)thatenablescamerainstallerstokeepthelegacycoaxcablingwhenconvertingananalog
systemtodigital.ItdeliversstandardPoEandcentrally-sourcedpowerwithnonewcablesrequired.
1.AttachtheangledBNCconnectortotheAXIST8642device.
2.PlugthenetworkcableintothenetworkconnectorontheAXIST8642device.
3.Guidetheotherendofthenetworkcablethroughthecabletunneltothebackofthe
cameraassemblyandplugthenetworkcableintothenetworkconnector.
4.GuidethecabletiesthroughthecabletunnelsandattachtheAXIST8642deviceto
thecameraassembly.
15
Page 16

AXISQ8414–LVSNetworkCamera
InstallAXISDoorSwitchAforintrusiondetection(soldseparately)
1.Onthebackofthecameraassembly:placetheswitchintheemptycompartmentnext
tothecabletunnel.
16
Page 17

AXISQ8414–L VSNetworkCamera
2.Attachtheswitchtothecompartmentusingthescrews.
3.GuidetheI/Ocablethroughthecabletunneltothebackofthecameraassembly.
4.SnipoffanyexcessivelengthfromtheI/OcableandttheI/Oconnectorblocktothe
I/Ocable.
5.PlugtheI/OconnectorblockintotheI/Oconnector.
InstallAXISQ8414-LVSSmokedDome(soldseparately)
1.Placethecameraassemblywithitsfrontdownonaraisedsurface,andensurethatthe
domeglassdoesnottouchanyobjectsfromthisposition.
2.Loosentheblackscrews(T20)thatattachthecameraholdertothebackofthecamera
assembly.
3.Unplugthemicrophonecablefromthecamera,pulltheotherendofthemicrophone
cablethroughthecameraholderandremovethemicrophonecablefromthecamera
assembly.
4.Removethecameraholderfromthebackofthecameraassembly.
5.Replacetheclearglassdomeinthefrontopeningwithasmokedglassdome.
6.PlugthemicrophonecableintotheIRlightwindowanddragtheotherendofthe
microphonecablethroughthecameraholder.
7.Placethecameraholderinitsoriginalpositiononthebackofthecameraassembly.
Important
EnsurethattheIRlightwindowispositionedinitscompartmentandthatthemicrophonecable
remainspluggedintotheIRlightwindow.
EN
8.Dragthemicrophonecablethroughthecabletunnelandconnectthemicrophonecable
tothecamera.
9.Tightentheblackscrews(T20,torque2.5Nm)toattachthecameraholdertothecamera
assembly.
InstallAXISQ8414-LVSIRWindowB(soldseparately)
Thisaccessorykitissuitableforinstallationsthatdonotrequireaudio.TheIRlightwindowsare
notequippedwithmicrophoneholes.
1.Placethecameraassemblywithitsfrontdownonaraisedsurface,andensurethatthe
domeglassdoesnottouchanyobjectsfromthisposition.
2.Loosentheblackscrews(T20)thatattachthecameraholdertothebackofthecamera
assembly.
3.Unplugthemicrophonecablefromthecamera,pulltheotherendofthemicrophone
cablethroughthecameraholderandremovethemicrophonecablefromthecamera
assembly.
4.Removethecameraholderfromthebackofthecameraassembly.
5.ReplacetheIRlightwindowinthefrontopeningwithanIRlightwindowfromthekit.
17
Page 18

AXISQ8414–LVSNetworkCamera
6.Placethecameraholderinitsoriginalpositiononthebackofthecameraassembly.
Important
EnsurethattheIRlightwindowispositionedinitscompartment.
7.Tightentheblackscrews(T20,torque2.5Nm)toattachthecameraholdertothecamera
assembly.
Howtoaccesstheproduct
AXISIPUtilityandAXISCameraManagementarerecommendedmethodsforndingAxisproducts
onthenetworkandassigningthemIPaddressesinWindows®.Bothapplicationsarefreeandcan
bedownloadedfromwww.axis.com/support
Theproductcanbeusedwithmostoperatingsystemsandbrowsers.Werecommendthefollowing
browsers:
•InternetExplorer
•Safari
•Chrome
®
withOSX
TM
®
withWindows
®
orFirefox
®
withotheroperatingsystems.
Formoreinformationaboutusingtheproduct,seetheUserManualavailableatwww .axis.com
®
18
Page 19

AXISQ8414–L VSNetworkCamera
Setfocusandzoom
Focusandzoomshouldonlybeconguredwheninstallingorreinstallingtheproduct.
1.GotoSetup>Video&Audio.
2.OnthefocuspagegototheBasictab.
3.Setthezoomlevelusingtheslider.
Note
Movementsinfrontofthecamerashouldbeavoidedwhenperformingautofocus.
4.ClickPerformautofocus.
5.Iftheresultisnotsatisfactory,gototheAdvancedtab.
Note
Changingthezoomlevelmovesthefocusposition.Focusshouldalwaysbeadjustedafter
changingthezoom.
OntheAdvancedtab,focuscanbeadjustedmanually:
1.ClickOpeniristoopentheiristoitsmaximumposition.Thisgivesthesmallestdepthof
eldandprovidesthebestconditionsforfocusing.
2.FocusissetintheFocuswindow.Usethemousetomoveandresizethefocuswindow.
3.ClickintheFocuspositionbartofocusonadesiredlocation.
4.Whensatised,clickEnableiristoenabletheiris.
EN
19
Page 20

AXISQ8414–LVSNetworkCamera
Howtoresettofactorydefaultsettings
Important
Resettofactorydefaultshouldbeusedwithcaution.Aresettofactorydefaultresetsall
settings,includingtheIPaddress,tothefactorydefaultvalues.
Toresettheproducttothefactorydefaultsettings:
1.Disconnectpowerfromtheproduct.
2.Pressandholdthecontrolbuttonandreconnectpower.
3.Keepthecontrolbuttonpressedfor15–30secondsuntilthestatusLEDindicatorashes
amber.
4.Releasethecontrolbutton.TheprocessiscompletewhenthestatusLEDindicatorturns
green.Theproducthasbeenresettothefactorydefaultsettings.IfnoDHCPserveris
availableonthenetwork,thedefaultIPaddressis192.168.0.90
5.Usingtheinstallationandmanagementsoftwaretools,assignanIPaddress,setthe
password,andaccessthevideostream.
Theinstallationandmanagementsoftwaretoolsareavailablefromthesupportpages
atwww.axis.com/support
Itisalsopossibletoresetparameterstofactorydefaultviathewebinterface.GotoSetup>
SystemOptions>MaintenanceandclickDefault.
20
Page 21

AXISQ8414–L VSNetworkCamera
Maintenance
NO
TICE
NO NO
TICE TICE
•TocleantheAxisproduct,usesoapywaterorothermulti-purposecleaningagents(acidic,
alkaline,neutral)*andfollowtheinstructionsprovidedbythemanufacturer.
•Ifrequired,theAxisproductcanbecleanedwithawaterhose.Movethesprayina
side-to-sidemotion.
*Donotuseabrasivecleaningproducts.
EN
21
Page 22

AXISQ8414–LVSNetworkCamera
Furtherinformation
•Forthelatestversionofthisdocument,seewww.axis.com
•Theusermanualisavailableatwww.axis.com
•Tocheckifthereisupdatedrmwareavailableforyourproduct,see
www.axis.com/support
•Forusefulonlinetrainingsandwebinars,seewww.axis.com/academy
OptionalAccessories
•AXIST8642MountingKitA(forinstallingaPoEEthernetoverCoaxAdaptorinside
thecamera).Seepage15.
•AXISDoorSwitchA(forintrusiondetection).Seepage16.
•AXISQ8414-LVSSmokedDome(5pcs).Seepage17.
•AXISQ8414-LVSIRWindowB(solidwindowwithoutmicrophonehole;5pcs).See
page17.
•I/OAudioCable5m(16ft.)
Forinformationaboutavailableaccessories,seewww .axis.com
22
Page 23

AXISQ8414–L VSNetworkCamera
Specifications
LEDIndicators
Note
•TheStatusLEDcanbeconguredtobeunlitduringnormaloperation.Tocongure,go
toSetup>SystemOptions>Ports&Devices>LED.Seetheonlinehelpformore
information.
•TheStatusLEDcanbeconguredtoashwhileaneventisactive.
•TheStatusLEDcanbeconguredtoashforidentifyingtheunit.GotoSetup>System
Options>Maintenance.
EN
StatusLED
GreenSteadygreenfornormaloperation.
Amber
RedFirmwareupgradefailure.
NetworkLEDIndication
Green
Amber
UnlitNonetworkconnection.
PowerLEDIndication
Green
Amber
Indication
Steadyduringstartup.Flasheswhenrestoringsettings.
Steadyforconnectiontoa100Mbit/snetwork.Flashesfor
networkactivity.
Steadyforconnectiontoa10Mbit/snetwork.Flashesfor
networkactivity.
Normaloperation.
Flashesgreen/amberduringrmwareupgrade.
SDcardslot
NO
TICE
NO NO
TICE TICE
•RiskofdamagetoSDcard.Donotusesharptools,metalobjects,orexcessiveforcewhen
insertingorremovingtheSDcard.Useyourngerstoinsertandremovethecard.
•Riskofdatalossandcorruptedrecordings.DonotremovetheSDcardwhiletheproduct
isrunning.DisconnectpowerorunmounttheSDcardfromtheproduct’swebpagebefore
removal.
ThisproductsupportsSD/SDHC/SDXCcards(notincluded).
23
Page 24

AXISQ8414–LVSNetworkCamera
ForSDcardrecommendations,seewww .axis.com
Connectors
Networkconnector
RJ45EthernetconnectorwithPoweroverEthernet(PoE).
NO
TICE
NO NO
TICE TICE
Theproductshallbeconnectedusingashieldednetworkcable(STP).Allcablesconnecting
theproducttothenetworkshallbeintendedfortheirspecicuse.Makesurethatthe
networkdevicesareinstalledinaccordancewiththemanufacturer’sinstructions.For
informationaboutregulatoryrequirements,seeElectromagneticcompatibility(EMC)on
page4.
Audioconnector
TheAxisproducthasthefollowingaudioconnectors:
•Audioin(pink)–3.5mminputforamonomicrophone,oraline-inmonosignal.
•Audioout(green)–3.5mmoutputforaudio(linelevel)thatcanbeconnectedto
apublicaddress(PA)systemoranactivespeakerwithabuilt-inamplier.Astereo
connectormustbeusedforaudioout.
Foraudioin,theleftchannelisusedfromastereosignal.
3.5mmaudio
connectors(stereo)
1Tip2Ring
AudioInput
AudioOutput
Microphone/Linein
Lineout,mono(stereo
connectorcompatible)
Lineout,mono(stereo
connectorcompatible)
3Sleeve
Ground
Ground
AboutI/Oconnectors
UsetheI/Oconnectorwithexternaldevicesincombinationwith,forexample,tamperingalarms,
motiondetection,eventtriggering,andalarmnotications.Inadditiontothe0VDCreference
pointandpower(DCoutput),theI/Oconnectorprovidestheinterfaceto:
Digitaloutput-ForconnectingexternaldevicessuchasrelaysandLEDs.Connecteddevicescan
beactivatedbytheVAPIX®ApplicationProgrammingInterfaceorintheproduct’swebpage.
24
Page 25

AXISQ8414–L VSNetworkCamera
Digitalinput-Forconnectingdevicesthatcantogglebetweenanopenandclosedcircuit,for
examplePIRsensors,door/windowcontacts,andglassbreakdetectors.
4-pinterminalblock
FunctionPinNotes
0VDC(-)
DCoutput
Digitalinput
Digital
output
1
2
Canbeusedtopowerauxiliaryequipment.
Note:Thispincanonlybeusedaspowerout.
3
Connecttopin1toactivate,orleaveoating
(unconnected)todeactivate
4
Connectedtopin1whenactivated,oating
(unconnected)whendeactivated.Ifused
withaninductiveload,e.g.arelay,adiode
mustbeconnectedinparallelwiththeload,
forprotectionagainstvoltagetransients.
EN
Specications
0VDC
3.3VDC
Maxload=50mA
0tomax40VDC
0tomax40VDC,open
drain,100mA
1
0VDC(-)
25
Page 26

AXISQ8414–LVSNetworkCamera
2
DCoutput3.3V,max50mA
3
Digitalinput0tomax40VDC
4
Digitaloutput0tomax40VDC,opendrain,100mA
OperatingConditions
TheAxisproductisintendedforindooruse.
Product
AXISQ8414–LVS
Classication
NEMA250Type4X,
IEC/EN60529IP66,
Class4M4
IEC60721-3-4
TemperatureHumidity
0°Cto50°C
(32°Fto122°F)
PowerConsumption
NO
TICE
NO NO
TICE TICE
Usealimitedpowersource(LPS)witheitheraratedoutputpowerlimitedto≤100W
oraratedoutputcurrentlimitedto≤5A.
ProductPoE
AXISQ8414–LVS
PoweroverEthernetIEEE802.3af/802.3atType
1Class2,max.6.2W
(limitedIR)
PoweroverEthernetIEEE802.3af/802.3atType
1Class3,max.8.7W
(fullIR)
10-100%RH
(condensing)
26
Page 27

AXISQ8414–L VSNetworkCamera
Safetyinformation
Hazardlevels
DANGER
Indicatesahazardoussituationwhich,ifnotavoided,willresultindeathorseriousinjury.
WARNING
Indicatesahazardoussituationwhich,ifnotavoided,couldresultindeathorseriousinjury.
CAUTION
Indicatesahazardoussituationwhich,ifnotavoided,couldresultinminorormoderate
injury.
NO
TICE
NO NO
TICE TICE
Indicatesasituationwhich,ifnotavoided,couldresultindamagetoproperty.
Othermessagelevels
Important
Indicatessignicantinformationwhichisessentialfortheproducttofunctioncorrectly.
Note
Indicatesusefulinformationwhichhelpsingettingthemostoutoftheproduct.
EN
27
Page 28

AXISQ8414–LVSNetworkCamera
Safetyinstructions
NO
TICE
NO NO
TICE TICE
•TheAxisproductshallbeusedincompliancewithlocallawsandregulations.
•Axisrecommendsusingashieldednetworkcable(STP)CAT5orhigher.
•StoretheAxisproductinadryandventilatedenvironment.
•Donotinstalltheproductonunstablepoles,brackets,surfacesorwalls.
•UseonlyapplicabletoolswheninstallingtheAxisproduct.Usingexcessiveforcewith
powertoolscouldcausedamagetotheproduct.
•Useonlyaccessoriesthatcomplywiththetechnicalspecicationofyourproduct.These
canbeprovidedbyAxisorathirdparty.AxisrecommendsusingAxispowersource
equipmentcompatiblewithyourproduct.
•UseonlysparepartsprovidedbyorrecommendedbyAxis.
•Donotattempttorepairtheproductyourself.ContactAxissupportoryourAxisreseller
forservicematters.
Transportation
NO
TICE
NO NO
TICE TICE
•WhentransportingtheAxisproduct,usetheoriginalpackagingorequivalenttoprevent
damagetotheproduct.
Battery
TheAxisproductusesa3.0VBR2032lithiumbatteryasthepowersupplyforitsinternalreal-time
clock(RTC).Undernormalconditionsthisbatterywilllastforaminimumofveyears.
LowbatterypoweraffectstheoperationoftheRTC,causingittoresetateverypower-up.When
thebatteryneedsreplacing,alogmessagewillappearintheproduct’sserverreport.Formore
informationabouttheserverreport,seetheproduct´ssetuppagesorcontactAxissupport.
Thebatteryshouldnotbereplacedunlessrequired,butifthebatterydoesneedreplacing,contact
Axissupportatwww .axis.com/supportforassistance.
Lithiumcoincell3.0Vbatteriescontain1,2-dimethoxyethane;ethyleneglycoldimethylether
(EGDME),CASno.110-71-4.
WARNING
•Riskofexplosionifthebatteryisincorrectlyreplaced.
•ReplaceonlywithanidenticalbatteryorabatterywhichisrecommendedbyAxis.
•Disposeofusedbatteriesaccordingtolocalregulationsorthebatterymanufacturer's
instructions.
28
Page 29

Contenudel’emballage
•CaméraréseauAXISQ8414–LVS
•Rondelles(pourvisdemontage)
•ProtectionduconnecteurAXISA
•Torx®emboutTR20
•Blocdeconnexionà4broches
•Documentsimprimés
-Guided’installation(cedocument)
-Cléd'authenticationAVHS
AXISQ8414–L VSNetworkCamera
FR
29
Page 30

AXISQ8414–LVSNetworkCamera
Vued'ensembleduproduit
1
Jointdecâble(câbleréseau)
2
Jointdecâble(câbleE/Souaudio)
3
SélecteurdeclassePoE*
4
Connecteurréseau
5
Connecteurdesortieaudio
6
VoyantsLED
7
Connecteurd'entréeaudio
8
Connecteurd'E/S
9
Boutondecommande
10
Fenêtreinfrarouge
11
Microphone
12
Nonutilisé
13
EmplacementpourcarteSD
*UtilisépourbasculerentrePoEClasse2(IRrestreint)etPoEClasse3(IRmaximal).Cf.page50.
30
Page 31

AXISQ8414–L VSNetworkCamera
Commentinstallerleproduit
Installationdumatériel
VIS
A AAVIS VIS
•Leproduitdoitêtreconnectéàl'aided'uncâbleréseaublindé(STP).Touslescâblesreliant
leproduitàl'injecteurdoiventêtreblindés(STP)etdestinésàleurusagespécique.
Assurez-vousquel'injecteurestconvenablementmisàlaterre.Pourplusd'informations
surlesexigencesréglementaires,consultezRegulatoryinformationonpage4.
•Veillezànepasrayer,endommageroulaisserd'empreintessurlecouvercledudômecar
celapourraitaltérerlaqualitéd'image.Laissez,sipossible,laprotectionenplastiquesur
lafaceavantdel'assemblagecamérajusqu'àlandel'installation.
LeproduitAxispeutêtreinstalléavecdescâblesacheminésàtraverslemurouleplafond.
Liseztouteslesinstructionsavantl'installationdel'appareil.Ilestpréférablederéalisercertaines
étapesenmêmetempsparcequ'ellesexigentleretraitdel'assemblagecaméra.
•UnecarteSDstandardouàhautecapacité(nonfournie)peutêtreutiliséepour
sauvegarderdesenregistrementsdansl'appareil.PourinstallerunecarteSD,consultez
page37.
•Pouracheminerlescâblesavantl'installationduproduit,consultezpage31.
•Pourinstallerleproduit,consultezpage32.
Acheminementdescâbles
FR
1.Mesurezunezonetriangulaireàl'angledesparoismuralesetduplafond.
2.Faitespasserlecâbleréseau(ainsiquelecâbled'E/Saudio,sinécessaire)àtravers
cettezonetriangulaire.
31
Page 32

AXISQ8414–LVSNetworkCamera
Installationdelacaméra
1.Retirezlesjointsdestroussupérieursetlatérauxduchâssisarrière.
2.Positionnezlechâssisarrièreàl'angledesparoismuralesetduplafond.Àl'aided'un
crayon,repérezl'emplacementdesvisàtraverslestrous.
1
Jointdecâble,réseau
32
Page 33

AXISQ8414–L VSNetworkCamera
2
Jointdecâble,E/S
3
Vis(nonfournie)
4
Rondelle
5
Joint
3.Percezlestrouspourlesvisdansleplafondetdanslesmurs.
4.Remettezlesjointsdanslestrous.Lesjointsdoiventêtreparfaitementajustés,sansplis
nicourbures.
5.Retirezlejointducâbleréseauetfaitespasserlecâbleréseauàtraverscetorice.
6.Lecaséchéant:retirezlejointducâbled'E/Setfaitespasserlecâbled'E/Sàtravers
cetorice.
7.Tirezsurlapattedujointdecâblepourl'ouvrir.
8.FixezlaprotectionduconnecteurAXISAsurlapartiesupérieuredu
connecteurréseauRJ45.Faitesglisserlejointducâbleréseaulelongducâbleet
branchezlecâbleréseaudanssontrou.Lejointdoitêtreparfaitementajusté,sansplis
nicourbures.
9.DéposezlaprotectionduconnecteurAXISAsurlapartiesupérieuredu
connecteurréseauRJ45.
10.Lecaséchéant:faitespasserlecâbled'E/Sàtraverslejointavantd'yxerleconnecteur
d'E/S.Remettezlejointducâbled'E/Sdanssontrou.Lejointdoitêtreparfaitement
ajusté,sansplisnicourbures.
11.Fixezlechâssisarrièreàl'angledumuràl'aidedevisappropriéesaumatériaudumur
etduplafond.Lesvisdoiventtraverserlesrondellesetlesjointspourgarantirune
étanchéitéconformeàlanormeIP66.
FR
33
Page 34

AXISQ8414–LVSNetworkCamera
1
Jointdecâble,réseau
2
Jointdecâble,E/S
3
Vis(nonfournie)
4
Rondelle
5
Joint
12.Pouruneétanchéitéparfaite:appliquezunenduitderebouchageouunjointmasticle
longduchâssisarrière.Veillezàrebouchertouslesintersticesentrelechâssisarrièreet
lesparoismuralesouleplafond.
13.Lecaséchéant:insérezunecarteSD(nonfournie)dansl'emplacementpourcarteSD
delacaméra.
14.Lecaséchéant:cf.InstallationdukitdemontageAAXIST8642(venduséparément)
page38.
15.Lecaséchéant:cf.Installationdel'interrupteurdeporteAXISA(venduséparément)
pourladétectiondesintrusionspage39.
16.Lecaséchéant:cf.InstallationdudômefuméAXISQ8414-LVS(venduséparément)
page40.
17.Lecaséchéant:cf.InstallationdelafenêtreinfrarougeBAXISQ8414-LVS(vendue
séparément)page40.
18.Sinécessaire:réglezmanuellementl'angledel'objectifenfonctiondelazonesurveillée.
Encasdepositioninclinée,cf.Réglageduchampdevisionpage36.
34
Page 35

AXISQ8414–L VSNetworkCamera
19.Faitespasserlecâbleréseaudansleconduitpouraccéderàl'arrièredel'assemblage
caméraetbranchezlecâbleréseauauconnecteurréseau.
FR
20.Lecaséchéant:faitespasserlecâbled'E/Sdansleconduitpouraccéderàl'arrièrede
l'assemblagecaméraetbranchezlecâbled'E/Sauconnecteurd'E/S.
21.Maintenezl'assemblagecaméradesortequelafenêtreinfrarougesurlafaceavantsoit
positionnéeàsixheures,puisinsérezlebasdel'assemblagesurlapartieinférieure
del'ouvertureduchâssisarrière.
35
Page 36

AXISQ8414–LVSNetworkCamera
22.Remontezlapartiesupérieuredel'assemblagecamérajusqu'àcequ'elles'emboîtedans
l'ouvertureduchâssisarrière.
Important
Ajustezlalongueurducâbleand'éviterdelecoincerentrel'assemblageetlechâssisarrière.
23.Fixezl'assemblagecamérasurlechâssisarrièreàl'aidedesvis(couple2,5Nm).
24.Retirezlelmprotecteursurlafaceavantdel'assemblagecaméra.
Réglageduchampdevision
Inclinezlesobjectifsand'agrandiraumaximallechampdevisionetcouvriraumieuxlazone
surveillée.
Inclinaisonmaximaledel'objectif
Lechampdevisionoptimalsesitueentrelespositionsd'inclinaisonmaximales.
36
Page 37

Inclinaisonmaximaledel'objectif(Suite)
Inclinaison
vers
le
haut
Inclinaison
vers
lebas
AXISQ8414–L VSNetworkCamera
FR
Installationd'unecarteSD
Ilestpossible,enoption,d'installerunecarteSDstandardouàhautecapacité(nonfournie)qui
peutêtreutiliséepourl'enregistrementlocaletlestockageamovible.
1.Desserrezlesvissurlafaceavantetdéposezl'assemblagecaméra.
2.InsérezunecarteSD(nonfournie)dansl'emplacementpourcarteSD.
3.Maintenezl'assemblagecaméradesortequelafenêtreinfrarougesurlafaceavantsoit
positionnéeàsixheures,puisinsérezlebasdel'assemblagesurlapartieinférieure
del'ouvertureduchâssisarrière.
37
Page 38

AXISQ8414–LVSNetworkCamera
4.Remontezlapartiesupérieuredel'assemblagecamérajusqu'àcequ'elles'emboîtedans
l'ouvertureduchâssisarrière.
Important
Ajustezlalongueurducâbleand'éviterdelecoincerentrel'assemblageetlechâssisarrière.
5.Fixezl'assemblagecamérasurlechâssisarrièreàl'aidedesvis(couple2,5Nm).
VIS
A AAVIS VIS
Pouréviterlacorruptiondesenregistrements,lacarteSDdoitêtredémontéeavantson
éjection.Pourcefaire,rendez-vousdansSetup>SystemOptions>Storage>SDCard
(Conguration>Optionsdusystème>Stockage>CarteSD)etcliquezsurUnmount
(Démonter).
InstallationdukitdemontageAAXIST8642(venduséparément)
Lecontenudecekitd'accessoiresrendpossiblelemontaged'unadaptateurEthernetsurcâble
coaxial(noninclus)quipermetauxinstallateursdeconserverlecâblecoaxialexistanttouten
passantd'unsystèmeanalogiqueàunsystèmenumérique..
1.FixezleconnecteurBNCd'angleaudispositifAXIST8642.
2.ReliezlecâbleréseauauconnecteurréseaududispositifAXIST8642.
3.Faitespasserl'autreextrémitéducâbledansleconduitpouraccéderàl'arrièrede
l'assemblagecaméraetbranchezlecâbleréseauauconnecteurréseau.
4.GuidezlesattachesdecâbleàtraversleconduitetxezledispositifAXIST8642à
l'assemblagecaméra.
38
Page 39

AXISQ8414–L VSNetworkCamera
Installationdel'interrupteurdeporteAXISA(venduséparément)pourla
détectiondesintrusions
1.Surlafacearrièredel'assemblagecaméra:placezl'interrupteurdanslecompartiment
videàcôtéduconduitpourcâbles.
FR
39
Page 40

AXISQ8414–LVSNetworkCamera
2.Fixezl'interrupteuraucompartimentàl'aidedesvis.
3.Faitespasserlecâbled'E/Sdansleconduitpouraccéderàl'arrièredelacaméra.
4.Coupeztoutexcédentdecâbleetxezleblocdeconnexionaucâbled'E/S.
5.Branchezleblocdeconnexionauconnecteurd'E/S.
InstallationdudômefuméAXISQ8414-LVS(venduséparément)
1.Posezlafaceavantdel'assemblagecamérasurunesurfacesurélevéeenveillantàceque
lavitredudômenetoucheaucunobjet.
2.Desserrezlesvisnoires(T20)quimaintiennentlesupportdelacamérasurl'arrièrede
l'assemblage.
3.Débranchezlecâbledumicrophonedelacaméra,tirezsurl'autreextrémitéducâble
pourlefaireglisserdanslesupportetleretirerdel'assemblagecaméra.
4.Déposezlesupportsituéàl'arrièredel'assemblagecaméra.
5.Remplacezledômeenverretransparentsituéenfaceavantavecundômeenverrefumé.
6.Branchezlecâbledumicrophonedanslafenêtreinfrarougeetfaites-lepasserdans
lesupportdelacaméra.
7.Replacezlesupportdanssapositiond'origine,àl'arrièredel'assemblagecaméra.
Important
Veillezàcequelafenêtreinfrarougesoitbienpositionnéedanssoncompartimentetàcequele
câbledumicrophonenesedébranchepasdanslafenêtreinfrarouge.
8.Faitespasserlecâbledumicrophonedanssonconduitetraccordez-leàlacaméra.
9.Serrezlesvisnoires(T20,couplede2,5Nm)pourxerlesupportàl'assemblagecaméra.
InstallationdelafenêtreinfrarougeBAXISQ8414-LVS(vendueséparément)
Cekitd'accessoiresconvientauxinstallationsnenécessitantpaslapriseenchargeaudio.Les
fenêtresinfrarougenesontpaséquipéesd'oricespourmicrophones.
1.Posezlafaceavantdel'assemblagecamérasurunesurfacesurélevéeenveillantàceque
lavitredudômenetoucheaucunobjet.
2.Desserrezlesvisnoires(T20)quimaintiennentlesupportdelacamérasurl'arrièrede
l'assemblage.
3.Débranchezlecâbledumicrophonedelacaméra,tirezsurl'autreextrémitéducâble
pourlefaireglisserdanslesupportetleretirerdel'assemblagecaméra.
4.Déposezlesupportsituéàl'arrièredel'assemblagecaméra.
5.Remplacezlafenêtreinfrarougeenfaceavantaveccellefourniedanslekit.
6.Replacezlesupportdanssapositiond'origine,àl'arrièredel'assemblagecaméra.
Important
Veillezàcequelafenêtreinfrarougesoitbienpositionnéedanssoncompartiment.
40
Page 41

AXISQ8414–L VSNetworkCamera
7.Serrezlesvisnoires(T20,couplede2,5Nm)pourxerlesupportàl'assemblagecaméra.
Commentaccéderauproduit
SivoussouhaitezrechercherdesproduitsAxissurleréseauouleuraffecterdesadresses
IPsousWindows®,nousrecommandonsl’utilisationdesapplicationsAXISIPUtilityet
AXISCameraManagement.Cesdeuxapplicationssontgratuitesetpeuventêtretéléchargées
depuiswww.axis.com/support
Leproduitpeutêtreutiliséaveclaplupartdessystèmesd’exploitationetdesnavigateurs.Nous
recommandonslesnavigateurssuivants:
•InternetExplorer
•Safari
•Chrome
®
avecOSX
TM
®
avecWindows
®
ouFirefox
®
aveclesautressystèmesd’exploitation.
Pourplusd’informationsconcernantl’utilisationduproduit,consultezlemanueldel’utilisateur
disponiblesurlesitewww.axis.com
®
,
FR
41
Page 42

42
Page 43

AXISQ8414–L VSNetworkCamera
Réglerlamiseaupointetlezoom:
Lamiseaupointetlezoomdoiventêtrecongurésuniquementlorsdel'installationoudela
réinstallationduproduit.
1.AccédezàSetup>Video&Audio(Conguration>Vidéo>Conguration>Vidéo
etaudio).
2.Sualapagemiseaupoint,accédezàl'ongletBase.
3.Réglezlaniveauduzoomàl'aideducurseur.
Note
Lesmouvementsdevantlacaméradoiventêtreévitéslorsdelamiseaupoint.
4.CliquezsurFaireunemiseaupointautomatique.
5.Silerésultatn'estpassatisfaisant,accédezàl'ongletAvancé.
Note
Lechangementduniveaudezoommodielapositiondemiseaupoint.Lamiseaupoint
doitdonctoujoursêtrerégléeaprèslechangementduzoom.
Dansl'ongletAdvanced(Avancé),lamiseaupointpeutêtrerégléemanuellement:
1.CliquezsurOpeniris(Ouvrirl'iris)pourouvrirl'irisenpositionmaximale.Lapluspetite
profondeurdechampestainsiobtenueetoffrelesmeilleuresconditionspourunemise
aupointcorrecte.
2.Lamiseaupointserègledanslafenêtredemiseaupoint.Utilisezlasourispour
déplaceretredimensionnerlafenêtredemiseaupoint.
3.CliquezdanslabarrePositiondemiseaupointpoureffectuerlamiseaupointsurun
élémentspécique.
4.Unefoisqueleréglagevousconvient,cliquezsurActiverl'irispouractiverl'iris.
FR
43
Page 44

AXISQ8414–LVSNetworkCamera
Commentréinitialiserlesparamètrespardéfaut
Important
Laréinitialisationauxparamètrespardéfautdoitêtreutiliséeavecprudence.Cette
opérationreconguretouslesparamètres,ycomprisl’adresseIP,auxvaleursd’usinepar
défaut.
Pourréinitialiserl’appareilauxparamètresd’usinepardéfaut:
1.Déconnectezl’alimentationdel’appareil.
2.Maintenezleboutondecommandeenfoncéetremettezl’appareilsoustension.
3.Maintenezleboutondecommandeenfoncépendant15à30secondes,jusqu’àcequele
voyantd'étatpasseàl’orangeetclignote.
4.Relâchezleboutondecommande.Leprocessusestterminélorsquelevoyantd’étatpasse
auvert.Lesparamètresd’usinepardéfautdel’appareilontétérétablis.Enl’absenced’un
serveurDHCPsurleréseau,l’adresseIPpardéfautest192.168.0.90.
5.Utilisezlesoutilsd’installationetdegestionpourattribueruneadresseIP,congurezle
motdepasseetaccédezauuxdedonnéesvidéo.
Leslogicielsd’installationetdegestionsontdisponiblessurlespagesd’assistancedu
sitewww.axis.com/support
Ilestégalementpossiblederétablirlesparamètresd’usineàpartirdel’interfaceWeb.Accédezà
Setup>SystemOptions>Maintenance(Conguration>Optionsdusystème>Maintenance)
etcliquezsurDefault(Défaut).
44
Page 45

AXISQ8414–L VSNetworkCamera
Maintenance
VIS
A AAVIS VIS
•PournettoyerleproduitAxis,utilisezdel'eausavonneuseoutoutautreproduitde
nettoyageàusagesmultiples(surbaseacide,alcalineouneutre)*etsuivezlesinstructions
fourniesparlefabricant.
•Sinécessaire,ceproduitAxispeutêtrenettoyéàl'aided'unjetd'eau.Déplacezlejet
demanièrelatérale.
*N'utilisezpasdeproduitsdenettoyageabrasifs.
FR
45
Page 46

AXISQ8414–LVSNetworkCamera
Informationscomplémentaires
•Pourladernièreversiondecedocument,consultezlesitewww.axis.com
•LeManueldel’utilisateurestdisponibleàl’adressesuivante:www.axis.com
•Pourvériersidesmisesàjourdeslogicielssontdisponiblespourvotreappareilréseau,
consultezlesitewww.axis.com/techsup.
•Pourensavoirplussurlesformations,leswebinaires,lestutorielsetlesguides,visitez
lesitewww.axis.com/academy.
Accessoiresenoption
•KitdemontageAAXIST8642(pourl'installationd'unadaptateurEthernetsurcâble
coaxialavecPoEàl'intérieurdelacaméra).Cf.page38.
•InterrupteurdeporteAXISA(pourladétectiondesintrusions).Cf.page39.
•DômefuméAXISQ8414-LVS(5pièces).Cf.page40.
•FenêtreinfrarougeBAXISQ8414-LVS(fenêtresolidesansoricepourmicrophone;
5pièces).Cf.page40.
•Câbled'E/Saudiode5m(16pieds)
Pourplusd'informationssurlesaccessoiresdisponibles,consultezlesitewww.axis.com
46
Page 47

AXISQ8414–L VSNetworkCamera
Caractéristiquestechniques
Voyants
Note
•Levoyantd'étatpeutêtreéteintpendantlefonctionnementnormal.Pourcefaire,
rendez-vousdansSetup>SystemOptions>Ports&Devices>LED(Conguration
>Optionssystème>Portsetdispositifs>DEL).Consultezl'aideenlignepourplus
d'informations.
•Levoyantd'étatpeutclignoterlorsqu'unévénementestactif.
•Levoyantd'étatpeutclignoterpendantl'identicationdel'appareil.Rendez-vousdans
Setup>SystemOptions>Maintenance(Conguration>Optionsdusystème>
Maintenance).
FR
Voyantd’état
VertVertetxeencasdefonctionnementnormal.
OrangeFixependantledémarrage.Clignotelorsdelarestaurationdes
Rouge
VoyantDELréseau
Vert
Orange
Éteint
Voyantd'alimentationIndication
VertFonctionnementnormal.
Orange
Indication
paramètres.
Échecdelamiseàniveaudumicroprogramme.
Indication
Fixeencasdeconnexionàunréseaude100Mbits/s.Clignote
encasd’activitéréseau.
Fixeencasdeconnexionàunréseaude10Mbits/s.Clignote
encasd’activitéréseau.
Pasdeconnexionréseau.
Levoyantvert/orangeclignotependantlamiseàniveaudu
microprogramme.
EmplacementpourcarteSD
VIS
A AAVIS VIS
•LacarteSDrisqued'êtreendommagée.Nepasutiliserd'outilstranchantsoud'objets
métalliquesetnepasforcerlorsdel'insertionouduretraitdelacarteSD.Utilisezvos
doigtspourinséreretretirerlacarte.
47
Page 48

AXISQ8414–LVSNetworkCamera
•Risquedepertededonnéesetd'enregistrementscorrompus.NeretirezpaslacarteSD
tantqueleproduitestenfonctionnement.Débranchezl'alimentationoudémontezla
carteSDdespagesWebduproduitavantdelaretirer.
CetappareilestcompatibleavecunecarteSD/SDHC/SDXC(nonincluse).
PourobtenirdesconseilssurlacarteSD,rendez-voussurwww.axis.com
Connecteurs
Connecteurréseau
ConnecteurEthernetRJ45avecl'alimentationparEthernet(PoE).
VIS
A AAVIS VIS
Leproduitdoitêtreconnectéàl'aided'uncâbleréseaublindé(STP).Touslescâbles
reliantleproduitaucommutateurréseaudoiventêtredestinésàleurusagespécique.
Assurez-vousquelespériphériquesréseausontinstallésconformémentauxinstructions
dufabricant.Pourplusd’informationssurlesexigencesréglementaires,consultez
Electromagneticcompatibility(EMC)onpage4.
Connecteuraudio
LeproduitAxisdisposedesconnecteursaudiosuivants:
•Entréeaudio(rose)–entréede3,5mmpourmicrophonemonoousignald'entréemono.
•Sortieaudio(verte):sortiede3,5mm(sortiedeligne)quipeutêtreconnectéeàun
systèmedesonorisation(PA)ouàunhaut-parleuractifavecamplicateurintégré.Ilest
recommandéd'utiliserunconnecteurstéréopourlasortieaudio.
Pourl'entréeaudio,lecanalgauched'unsignalstéréoestutilisé.
Connecteurs
audio3,5mm(stéréo)
1Pointe2Anneau3Manchon
Entréeaudio
SortieaudioSortieligne,monoSortieligne,mono
Entréemicro/ligne
Tensiondepolarisationde
microphone
48
Masse
Masse
Page 49

AXISQ8414–L VSNetworkCamera
Àproposdesconnecteursd’E/S
Utilisezleconnecteurd’E/Savecdespériphériquesexternes,associésauxapplicationstellesque
lesalarmesdedétérioration,ladétectiondemouvement,ledéclenchementd'événementsetles
noticationsd'alarme.Enplusdupointderéférence0VCCetdel'alimentation(sortieCC),le
connecteurd'E/Sfournituneinterfaceauxélémentssuivants:
Sortienumérique-Permetdeconnecterdesdispositifsexternes,commedesrelaisoudesvoyants.
Lesappareilsconnectéspeuventêtreactivésparl'interfacedeprogrammationVAPIX®oudans
lespagesWebdesproduits.
Entréenumérique-Pourconnecterdesdispositifspouvantpasserd'uncircuitouvertàuncircuit
fermé,parexemplecapteursinfrarougepassifs,contactsdeporte/fenêtreetdétecteursdebrisde
verre.
Blocterminalà4broches
FonctionB-
0VCC(-)
SortieCC
Entrée
numérique
Sortie
numérique
Notes
roche
1
2
Peutserviràalimenterlematérielauxiliaire.
Remarque:cettebrochenepeutêtreutilisée
quecommesortied’alimentation.
3
Connectez-laàlabroche1pourl’activer
oulaissez-laotter(déconnectée)pourla
désactiver.
4
Connectéeàlabroche1lorsqu'elleest
activée,otte(déconnectée)lorsqu'elle
estdésactivée.Sivousl’utilisezavecune
chargeinductive,parexempleunrelais,une
diodedoitêtreconnectéeenparallèleavec
lacharge,enguisedeprotectioncontreles
tensionstransitoires.
Caractéristiques
0VCC
3,3VCC
Chargemax.=50mA
0à40VCC
0à40VCCmax.,drain
ouvert,100mA
FR
49
Page 50

AXISQ8414–LVSNetworkCamera
1
0VCC(-)
2
SortieCC3,3V,maxi.50mA
3
Entréenumérique0àmax.40VCC
4
Entréenumérique0àmax.40VCC,drainouvert,max.100mA
Conditionsd'utilisation
L'appareilAxisestuniquementdestinéàuneutilisationenintérieur.
Produit
AXISQ8414–LVS
Classication
NEMA250Type4X,
IEC/EN60529IP66,
Classe4M4
IEC60721-3-4
TempératureHumidité
0°Cà50°C
(32°Fà122°F)
Consommationélectrique
VIS
A AAVIS VIS
Utilisezunesourced'alimentationlimitée(LPS)dontlapuissancedesortienominaleest
limitéeà≤100Woudontlecourantdesortienominalestlimitéà≤5A.
50
10à100%humidité
relative
(sanscondensation)
Page 51

AXISQ8414–L VSNetworkCamera
ProduitPoE
AXISQ8414–LVS
AlimentationparEthernetIEEE
802.3af/802.3atType1Classe2,6,2W
max.(IRrestreint)
AlimentationparEthernetIEEE
802.3af/802.3atType1Classe3,8,7W
max.(IRmaximal)
51FR52
Page 52
Page 53

AXISQ8414–L VSNetworkCamera
Informationssurlasécurité
Niveauxderisques
DANGER
Indiqueunesituationdangereusequi,siellen'estpasévitée,entraîneraledécèsoudes
blessuresgraves.
AVERTISSEMENT
Indiqueunesituationdangereusequi,siellen'estpasévitée,pourraitentraînerledécès
oudesblessuresgraves.
ATTENTION
Indiqueunesituationdangereusequi,siellen'estpasévitée,pourraitentraînerdes
blessureslégèresoumodérées.
VIS
A AAVIS VIS
Indiqueunesituationqui,siellen'estpasévitée,pourraitendommagerl'appareil.
Autresniveauxdemessage
Important
Indiquelesinformationsimportantes,nécessairespourassurerlebonfonctionnementde
l’appareil.
Note
Indiquelesinformationsutilesquipermettrontd’obtenirlefonctionnementoptimalde
l’appareil.
FR
53
Page 54

AXISQ8414–LVSNetworkCamera
Consignesdesécurité
VIS
A AAVIS VIS
•LeproduitAxisdoitêtreutiliséconformémentauxloisetrèglementationslocalesen
vigueur.
•Axisrecommanded'utiliseruncâbleréseaublindé(STP)CAT5ousupérieur.
•ConserverceproduitAxisdansunenvironnementsecetventilé.
•Nepasinstallerceproduitsurdespoteaux,supports,surfacesoumursinstables.
•Utiliseruniquementdesoutilsrecommandéspourl'installationdel'appareilAxis.
L'applicationd'uneforceexcessivesurl'appareilavecdesoutilspuissantspourrait
l'endommager.
•Utiliseruniquementdesaccessoiresconformesauxcaractéristiquestechniquesdevotre
produit.IlspeuventêtrefournisparAxisouuntiers.Axisrecommanded'utiliserun
équipementd'alimentationAxiscompatibleavecvotreproduit.
•UtiliseruniquementlespiècesderechangefourniesourecommandéesparAxis.
•Nepasessayerderéparervous-mêmeceproduit.Contacterl'assistancetechniqued'Axis
ouvotrerevendeurAxispourdesproblèmesliésàl'entretien.
Transport
VIS
A AAVIS VIS
•LorsdutransportduproduitAxis,utilisezl'emballaged'origineouunéquivalentpour
éviterd'endommagerleproduit.
Batterie
LeproduitAxisutiliseunebatterieaulithiumBR20323,0Vcommealimentationdesonhorloge
entempsréelinterne(RTC).Dansdesconditionsnormales,cettebatterieauneduréedevie
minimaledecinqans.
Silabatterieestfaible,lefonctionnementdel'horlogeentempsréelpeutêtreaffectéetentraîner
saréinitialisationàchaquemisesoustension.Unmessageenregistréapparaîtdanslerapportde
serveurduproduitlorsquelabatteriedoitêtreremplacée.Pourtoutcomplémentd'information
concernantlerapportdeserveur,reportez-vousauxpagesdeCongurationduproduitoucontactez
l'assistancetechniqued'Axis.
Labatteriedoitêtreremplacéeuniquementencasdebesoin,etpourcefaire,contactezl'assistance
techniqued'Axisàl'adressewww .axis.com/supportetobtenirdel'aide.
Lespilesboutons3,0Vaulithiumcontiennentdu1,2-diméthoxyéthane,éthylèneglycoldiméthyl
éther(EGDME),CASN°110-71-4.
AVERTISSEMENT
54
Page 55

AXISQ8414–L VSNetworkCamera
•Risqued'explosionsilabatterieestremplacéedefaçonincorrecte.
•Remplacez-launiquementparunebatterieidentiqueouunebatterierecommandéepar
Axis.
•Mettezaurebutlesbatteriesusagéesconformémentauxréglementationslocalesou
auxinstructionsdufabricantdelabatterie.
FR
55
Page 56

56
Page 57

Lieferumfang
•Netzwerk-KameraAXISQ8414-LVS
•Unterlegscheiben(fürMontageschrauben)
•AXISSteckerschutzA
•Torx®BitTR20
•VierpoligerTerminalanschluss
•GedrucktesMaterial
-Installationsanleitung(diesesDokument)
-AVHS-Authentizierungsschlüssel
AXISQ8414–L VSNetworkCamera
DE
57
Page 58

AXISQ8414–LVSNetworkCamera
Produktübersicht
1
Kabeldichtung(Netzwerkkabel)
2
Kabeldichtung(E/A-oderAudio-Kabel)
3
AuswahlderPoE-Klasse*
4
Netzwerkanschluss
5
AnschlussfürAudioausgang
6
LED-Anzeigen
7
AnschlussfürAudioeingang
8
E/A-Anschluss
9
Steuertaste
10
IR-Fenster
11
Mikrofon
12
Nichtverwendet
13
SD-Karteneinschub
58
Page 59

AXISQ8414–L VSNetworkCamera
*FürdenWechselzwischenPoE-Klasse2(IRbegrenzt)undPoE-Klasse3(IRunbegrenzt).Siehe
Seite78.
DE
59
Page 60

AXISQ8414–LVSNetworkCamera
InstallierendesProdukts
DieHardwareinstallieren
HINWEIS
HINWEIS HINWEIS
•DasProduktmussmiteinemabgeschirmtenNetzwerkkabel(STP)angeschlossenwerden.
AlleKabel,diedasProduktmitdemMidspanverbinden,müssenabgeschirmt(STP)und
nurfürdiebestimmteAnwendungeingesetztwerden.StellenSiesicher,dassderMidspan
vorschriftsmäßiggeerdetist.InformationenzugesetzlichenBestimmungenndenSie
unterRegulatoryinformationonpage4.
•AchtenSiedaraufdieKuppelabdeckungwederzuzerkratzen,zubeschädigenoderdarauf
Fingerabdrückezuhinterlassen,dadiesdieBildqualitätbeeinträchtigenkann.Entfernen
SiedieSchutzfolieaufderVorderseitederKameraeinheit,wennmöglich,erstnachdem
dieInstallationabgeschlossenist.
DasAxisProduktkannmitdurchoderentlangderWandbzw.DeckeverlegtenKabelninstalliert
werden.
LesenSiedieAnleitung,bevorSiedasProduktinstallieren.MancheInstallationsschrittesollten
besserzusammenausgeführtwerden,dennsieerforderndieEntfernungderKameraeinheit.
•EineStandard-oderSD-KartemithoherKapazität(nichtenthalten)kannverwendet
werden,umAufnahmendirektaufdemProduktzuspeichern.WeitereInformationenzur
InstallationeinerSD-SpeicherkartendenSieunterSeite66.
•WeitereInformationenzurKabelführungvorderInstallationdesProduktsndenSie
unterSeite60.
•WeitereInformationenzurInstallationdesProduktsndenSieunterSeite61.
FührenderKabel
1.MessenSieeinendreieckigenBereichinderEckezwischenderDeckeunddenWändenab.
2.FührenSiedasNetzwerkkabel(sowieggf.dasE/A-bzw.Audiokabel)durchden
dreieckigenBereichderWand.
60
Page 61

AXISQ8414–L VSNetworkCamera
DieKameraeinheitinstallieren
1.DieDichtstopfenausdenBohrungenobenundandenSeitenderGehäuserückseite
entfernen.
2.PositionierenSiedieGehäuserückseiteindieEckezwischenDeckeundWänden.
MarkierenSiemiteinemBleistiftanhandderLöcherobenundandenSeitendiePosition
derSchrauben(Bohrlöcher).
DE
61
Page 62

AXISQ8414–LVSNetworkCamera
1
Kabeldichtung,Netzwerk
2
Kabeldichtung,E/A
3
Schraube(nichtenthalten)
4
Unterlegscheibe
5
Dichtung
3.BohrenSieinDeckeundWändeLöcherfürdieSchrauben.
4.SetzenSiedieDichtungenwiederein.DieDichtungenmüssenohneFaltenoder
Krümmungenfestsitzen.
5.EntfernenSiedieDichtungdesNetzwerkkabelsvomLochinderRückseite,undführen
SiedasNetzwerkkabeldurchdieses.
6.Fallszutreffend:EntfernenSiedieDichtungdesE/A-KabelsvomLochinderRückseite,
undführenSiedasE/A-Kabeldurchdieses.
7.ZiehenSiedieLascheanderKabeldichtung,umdiesezuöffnen.
8.SetzenSiedenAXISSteckerschutzAaufdenRJ45-Netzwerkstecker.ZiehenSiedie
DichtungdesNetzwerkkabelsamKabelentlang,unddrückenSiesieindasentsprechende
Loch.DieDichtungmussohneFaltenoderKrümmungenfestsitzen.
9.EntfernenSiedenAXISSteckerschutzAvomRJ45-Netzwerkstecker.
10.Fallszutreffend:ZiehenSiedasE/A-KabeldurchdieE/A-Kabeldichtung,bevorSieden
E/A-SteckeramKabelanbringen.DrückenSiedieE/A-Kabeldichtungwiederindas
entsprechendeLoch.DieDichtungmussohneFaltenoderKrümmungenfestsitzen.
11.BefestigenSiedenhinterenGehäuseteilmitdengeeignetenSchraubenundDübelnin
dergewünschtenEcke.DieSchraubenmüssenmitUnterlegscheibenundDichtungen
versehenwerden,umdieDichtigkeitgemäßIP66zugewährleisten.
62
Page 63

1
Kabeldichtung,Netzwerk
2
Kabeldichtung,E/A
3
Schraube(nichtenthalten)
4
Unterlegscheibe
5
Dichtung
AXISQ8414–L VSNetworkCamera
DE
12.OptimaleDichtigkeit:DichtenSiedieSeitendeshinterenGehäuseteilsmitexiblem
Füllstoff/dauerelastischerDichtungsmasseab.StellenSiesicher,dassalleLücken
zwischenGehäuserückseiteundDecke/Wändengefülltsind.
13.Fallszutreffend:SchiebenSiedieSD-Karte(nichtenthalten)indenSD-Karteneinschub
derKameraeinheit.
14.Fallszutreffend:SieheInstallierendesAXIST8642MontagesetsA(separaterhältlich)auf
Seite67.
15.Fallszutreffend:SieheInstallierenvonAXISTürschalterAzurEinbruchserkennung
(separaterhältlich)aufSeite68.
16.Fallszutreffend:SieheInstallierendergetöntenAXISQ8414-LVSKuppelabdeckung
(separaterhältlich)aufSeite69.
17.Fallszutreffend:SieheInstallierenvonAXISQ8414-LVSIR-FensterB(separaterhältlich)
aufSeite69.
18.Fallserforderlich:StellenSiedieWinkeldesObjektivsmanuellaufdenzuüberwachenden
Bereichein.InformationenzuNeigepositionenndenSieunterDasSichtfeldeinrichten
aufSeite65.
63
Page 64

AXISQ8414–LVSNetworkCamera
19.FührenSiedasNetzwerkkabeldurchdieKabelführungbiszurRückseiteder
Kameraeinheit,undsteckenSiedasNetzwerkkabelindenNetzwerkanschluss.
20.Fallszutreffend:FührenSiedasE/A-KabeldurchdieKabelführungbiszurRückseiteder
Kameraeinheit,undsteckenSiedasE/A-KabelindenE/A-Anschluss.
21.HaltenSiedieKameraeinheitso,dassdasInfrarot-FensteraufderVorderseitedirektnach
untenzeigt.SetzenSiedieUnterseitederKameraeinheitindieÖffnungdeshinteren
Gehäuseteilsein.
64
Page 65

AXISQ8414–L VSNetworkCamera
22.KlappenSiedieKameraeinheitnachoben,bisdiesevollständigaufdemRingander
ÖffnungdeshinterenGehäuseteilsauiegt.
Wichtig
PassenSiedieKabellängesoan,dassdieKabelnichtzwischenKameraeinheitundGehäuserückseite
eingeklemmtwerden.
23.BefestigenSiedieKameraeinheitmithilfederSchraubenamhinterenGehäuseteil
(Drehmoment2,5Nm).
24.EntfernenSiedieSchutzfolievonderVorderseitederKameraeinheit.
DE
DasSichtfeldeinrichten
DasObjektivneigenunddabeidasSichtfeldsooptimieren,dassmöglichstvieldeszu
überwachendenBereichserfasstwird.
65
Page 66

AXISQ8414–LVSNetworkCamera
MaximaleNeigepositionendesObjektivs
DieNeigepositionfürdasoptimaleSichtfeldliegtzwischendenmaximalenNeigepositionen.
Nach
oben
neigen
Nach
unten
neigen
InstalliereneinerSD-Speicherkarte
OptionalkanneineSD-SpeicherkarteinStandardausführungodergroßerKapazität(nichtenthalten)
installiertwerden,umlokalaufWechselspeichermedienaufzeichnenzukönnen.
1.LösenSiedieSchraubenanderVorderseitederKamera,undentfernenSiedie
Kameraeinheit.
2.SchiebenSiedieSD-Karte(nichtenthalten)indenSD-Karteneinschub.
66
Page 67

AXISQ8414–L VSNetworkCamera
3.HaltenSiedieKameraeinheitso,dassdasInfrarot-FensteraufderVorderseitedirektnach
untenzeigt.SetzenSiedieUnterseitederKameraeinheitindieÖffnungdeshinteren
Gehäuseteilsein.
4.KlappenSiedieKameraeinheitnachoben,bisdiesevollständigaufdemRingander
ÖffnungdeshinterenGehäuseteilsauiegt.
Wichtig
PassenSiedieKabellängesoan,dassdieKabelnichtzwischenKameraeinheitundGehäuserückseite
eingeklemmtwerden.
DE
5.BefestigenSiedieKameraeinheitmithilfederSchraubenamhinterenGehäuseteil
(Drehmoment2,5Nm).
HINWEIS
HINWEIS HINWEIS
UmdieBeschädigungderAufzeichnungenzuverhindern,mussdieSD-Kartevordem
mechanischenAuswerfengetrennt(deaktiviert)werden.RufenSiezumDeaktivieren
Setup>SystemOptions>Storage>SDCard(Einrichten>Systemoptionen>Speicher
>SD-Karte)aufundklickenSieaufUnmount(Trennen).
InstallierendesAXIST8642MontagesetsA(separaterhältlich)
DasZubehörsetermöglichtdieMontageeinesEthernet-Over-Coax-Adapters(nichtimLieferumfang
enthalten),sodassdieKoaxialverkabelungbeiderUmstellungvoneinemAnalog-aufein
Digitalsystembeibehaltenwerdenkann.
1.BringenSiedenBNC-WinkelsteckeramAXIST8642-Gerätan.
2.SchließenSiedasNetzwerkkabelamNetzwerkanschlussdesAXIST8642-Gerätsan.
3.FührenSiedasandereEndedesNetzwerkkabelsdurchdieKabelführungbiszurRückseite
derKameraeinheit,undsteckenSiedasNetzwerkkabelindenNetzwerkanschluss.
4.FührenSiedieKabelbinderdurchdieKabelführung,undbringenSiedas
AXIST8642-GerätanderKameraeinheitan.
67
Page 68

AXISQ8414–LVSNetworkCamera
InstallierenvonAXISTürschalterAzurEinbruchserkennung(separat
erhältlich)
1.AufderRückseitederKameraeinheit:SetzenSiedenSchalterindieAussparungneben
derKabelführungein.
68
Page 69

AXISQ8414–L VSNetworkCamera
2.BefestigenSiedenSchaltermitdenSchraubeninderAussparung.
3.FührenSiedasE/A-KabeldurchdieKabelführungbiszurRückseitederKameraeinheit.
4.SchneidenSieüberschüssigesE/A-Kabelab,undbringenSiedenE/A-Anschlussblockam
E/A-Kabelan.
5.SteckenSiedenE/A-AnschlussblockindenE/A-Anschluss.
InstallierendergetöntenAXISQ8414-LVSKuppelabdeckung(separat
erhältlich)
1.LegenSiedieKameraeinheitmitderVorderseitenachuntenaufeineerhöhteFläche.
AchtenSiedarauf,dassdasGlasderKuppelnichtanstößt.
2.LösenSiedieschwarzenSchrauben(T20),mitdenendieKamerahalterungander
RückseitederKameraeinheitbefestigtist.
3.TrennenSiedasMikrofonkabelvonderKamera,ziehenSiedasandereEndedes
MikrofonkabelsdurchdieKamerahalterungundentfernenSiedasMikrofonkabelvon
derKameraeinheit.
4.EntfernenSiedieKamerahalterungvonderRückseitederKameraeinheit.
5.ErsetzenSiediedurchsichtigeKuppeldurchdiegetönteKuppel.
6.SteckenSiedasMikrofonkabelimIR-Fensterein,undziehenSiedasandereEndedes
MikrofonkabelsdurchdieKamerahalterung.
7.SetzenSiedieKamerahalterunginderursprünglichenPositionaufdieRückseiteder
Kameraeinheit.
Wichtig
StellenSiesicher,dassdasIR-FensterrichtigeingesetztunddasMikrofonkabelimIT-Fenster
eingestecktist.
DE
8.ZiehenSiedasMikrofonkabeldurchdieKabelführung,undschließenSiedas
MikrofonkabelanderKameraan.
9.BefestigenSiedieKamerahalterungmitdenschwarzenSchrauben(T20,Drehmoment
2,5Nm)anderKameraeinheit.
InstallierenvonAXISQ8414-LVSIR-FensterB(separaterhältlich)
DiesesZubehörsetistfürInstallationenohneAudiogeeignet.DieIR-Fensterverfügennichtüber
Mikrofonlöchern.
1.LegenSiedieKameraeinheitmitderVorderseitenachuntenaufeineerhöhteFläche.
AchtenSiedarauf,dassdasGlasderKuppelnichtanstößt.
2.LösenSiedieschwarzenSchrauben(T20),mitdenendieKamerahalterungander
RückseitederKameraeinheitbefestigtist.
3.TrennenSiedasMikrofonkabelvonderKamera,ziehenSiedasandereEndedes
MikrofonkabelsdurchdieKamerahalterungundentfernenSiedasMikrofonkabelvon
derKameraeinheit.
69
Page 70

AXISQ8414–LVSNetworkCamera
4.EntfernenSiedieKamerahalterungvonderRückseitederKameraeinheit.
5.ErsetzenSiedasIR-FensterindervorderenÖffnungdurcheinIR-Fensterausdem
Zubehörset.
6.SetzenSiedieKamerahalterunginderursprünglichenPositionaufdieRückseiteder
Kameraeinheit.
Wichtig
StellenSiesicher,dassdasIR-Fensterrichtigeingesetztist.
7.BefestigenSiedieKamerahalterungmitdenschwarzenSchrauben(T20,Drehmoment
2,5Nm)anderKameraeinheit.
ZugriffaufdasProdukt
FürdieSuchenachAxisProduktenimNetzwerkundzurZuweisungeinerIP-Adresseunter
Windows®werdenAXISIPUtilityundAXISCameraManagementempfohlen.BeideAnwendungen
sindkostenlosundkönnenvonwww.axis.com/supportheruntergeladenwerden.
DasProduktistmitdenmeistenBetriebssystemenundBrowsernkompatibel.Empfohlenwerden
folgendeBrowser:
•InternetExplorer
•Safari
•Chrome
®
unterOSX
TM
®
unterWindows
®
oderFirefox
®
unteranderenBetriebssystemen
WeitereInformationenzurNutzungdiesesProduktsndenSieimBenutzerhandbuchunter
www.axis.com.
®
70
Page 71

AXISQ8414–L VSNetworkCamera
EinstellenvonFokusundZoom
FokusundZoomsolltennurbeimInstallierenoderNeuinstallierendesProduktseingestelltwerden.
1.Setup>Video&Audioaufrufen.
2.AufderSeiteFocusdieRegisterkarteBasic(Grundeinstellungen)öffnen.
3.MithilfedesSchiebereglersdieZoomstufeeinstellen.
Beachten
WährendderautomatischenFokussierungdarfdieKamerakeineBewegungenerfassen.
4.Performautofocus(Automatischfokussieren)anklicken.
5.FallsdasErgebnisnichtzufriedenstellendist,dieRegisterkarteAdvanced(Erweitert)
aufrufen.
Beachten
DasÄndernderZoomstufeändertauchdieFokusposition.NachderÄnderungdesZooms
mussderFokusstetsangepasstwerden.
AufderRegisterkarteAdvanced(Erweitert)kannderFokusmanuelleingestelltwerden:
1.KlickenSieaufOpeniris(Blendeöffnen),umdieBlendeinderMaximalstellungzu
öffnen.DadurchwirddiegeringsteSchärfentiefeerreicht,wodurchfürdieFokussierung
dieoptimalenBedingungengegebensind.
2.DerFokuswirdimFensterFocus(Fokus)eingestellt.MithilfederMauskönnenSiedas
FokusfensterverschiebenunddessenGrößeverändern.
3.InderLeisteFocusposition(Fokusposition)dengewünschtenFokusauswählen.
4.BeizufriedenstellendemErgebnisEnableiris(Blendeaktivieren)anklicken.
DE
71
Page 72

AXISQ8414–LVSNetworkCamera
ZurücksetzenaufdiewerksseitigenStandardeinstellungen
Wichtig
DieFunktionzumZurücksetzenaufdiewerksseitigenStandardeinstellungensolltemit
Vorsichtverwendetwerden.MitdieserFunktionwerdenalleEinstellungeneinschließlich
derIP-AdresseaufdiewerksseitigenStandardeinstellungenzurückgesetzt.
SowirddasProduktaufdiewerksseitigenStandardeinstellungenzurückgesetzt:
1.TrennenSiedasProduktvonderStromversorgung.
2.HaltenSiedieSteuertastegedrücktundsteckenSiedenNetzsteckerwiederein.
3.DieSteuertasteetwa15bis30Sekundengedrückthalten,bisdieLED-Statusanzeige
gelbblinkt.
4.LassenSiedieSteuertastelos.DerVorgangistabgeschlossen,wenndie
LED-Statusanzeigegrünleuchtet.DasProduktwurdeaufdieWerkseinstellungen
zurückgesetzt.WennkeinDHCP-ServerimNetzwerkverfügbarist,lautetdie
Standard-IP-Adresse192.168.0.90.
5.VerwendenSiedieSoftware-ToolsfürInstallationundVerwaltung,umeineIP-Adresse
zuzuweisen,einKennworteinzurichtenundaufdenVideostreamzuzugreifen.
DieSoftware-ToolsfürInstallationundVerwaltungsindüberdieSupportseitenunter
www.axis.com/supportverfügbar.
DieParameterkönnenauchüberdieWeboberächeaufdieWerkseinstellungenzurückgesetzt
werden.RufenSieSetup>SystemOptions>Maintenance(Setup>Systemoptionen>Wartung)
aufundklickenSieaufDefault(Standard).
72
Page 73

AXISQ8414–L VSNetworkCamera
Wartung
HINWEIS
HINWEIS HINWEIS
•VerwendenSiezurReinigungdiesesAxisProduktsSeifenwasseroderandere
Universalreiniger(sauer,alkalisch,neutral)*undbefolgenSiedieAnweisungendes
Herstellers.
•DasAxisProduktkannggf.mithilfeeinesWasserschlauchsgereinigtwerden.FührenSie
denSchlauchmitseitlichenBewegungen
*VerwendenSiekeineScheuermittel.
DE
73
Page 74

AXISQ8414–LVSNetworkCamera
WeitereInformationen
•Unterwww .axis.comndenSiedieaktuelleVersiondiesesDokuments.
•DasBenutzerhandbuchstehtunterwww.axis.comzurVerfügung.
•Unterwww.axis.com/supportndenSieFirmware-AktualisierungenfürIhreProdukte.
•NützlicheOnlineschulungenundWebinarendenSieunterwww.axis.com/academy.
OptionalesZubehör
•AXIST8642MontagesetA(zurInstallationeinesPoE-Ethernet-over-Coax-Adapters
inderKamera).SieheSeite67.
•AXISTürschalterA(zurEinbruchserkennung).SieheSeite68.
•AXISQ8414-LVSGetönteKuppelabdeckung(5Stück).SieheSeite69.
•AXISQ8414-LVSIR-FensterB(RobustesFensterohneMikrofonloch,5Stück).Siehe
Seite69.
•E/A-Audiokabel5m
Unterwww .axis.comndenSieInformationenüberverfügbaresZubehör.
74
Page 75

AXISQ8414–L VSNetworkCamera
TechnischeDaten
LEDs
Beachten
•DieStatus-LEDkannsoeingestelltwerden,dasssiewährenddesNormalbetriebsnicht
leuchtet.DieseKongurationkönnenSieunterSetup>SystemOptions>Ports&
Devices>LED(Setup>Systemoptionen>Ports&Geräte>LED)einstellen.Weitere
InformationenndenSieinderOnline-Hilfe.
•DieStatus-LEDkannsoeingestelltwerden,dasssieblinkt,wenneinEreignisaktivist.
•DieStatus-LEDkannsoeingestelltwerden,dasssieblinkt,wenndieEinheiterkannt
wird.RufenSieSetup>SystemOptions>Maintenance(Setup>Systemoptionen>
Wartung)auf.
DE
Status-LED
Grün
GelbLeuchtetbeimStart.BlinktbeimWiederherstellender
RotFehlerwährendderFirmware-Aktualisierung.
Netzwerk-LEDBedeutung
Grün
Gelb
LeuchtetnichtKeineNetzwerkverbindungvorhanden.
Netz-LEDBedeutung
Grün
Gelb
Bedeutung
LeuchtetbeiNormalbetriebgrün.
Einstellungen.
LeuchtetbeiVerbindungmiteinem100MBit/s-Netzwerk.Blinkt
beiNetzwerkaktivität.
LeuchtetbeiVerbindungmiteinem10MBit/s-Netzwerk.Blinkt
beiNetzwerkaktivität.
NormalerBetrieb.
Blinktgrün/gelbbeiderFirmware-Aktualisierung.
SD-Karteneinschub
HINWEIS
HINWEIS HINWEIS
•GefahrvonSchädenanderSD-Karte.VerwendenSiebeimEinlegenoderEntfernender
SD-Kartekeinescharfen/spitzenWerkzeugeoderGegenständeausMetallundwendenSie
nichtzuvielKraftan.SetzenSiedieKarteperHandein.DasGleichegiltfürdasEntfernen.
75
Page 76

AXISQ8414–LVSNetworkCamera
•GefahrvonDatenverlustundBeschädigungderAufnahmen.DieSD-Kartedarfnicht
entferntwerden,währenddasProduktinBetriebist.TrennenSiedieStromversorgung
oderdeaktivierenSiedieSD-KartevordemEntfernenüberdieWebseitedesProdukts.
DiesesProduktunterstütztKartendesTypsSD/SDHC/SDXC(nichtimLieferumfangenthalten).
EmpfehlungenzuSD-KartenndenSieunterwww.axis.com.
Anschlüsse
Netzwerkanschluss
RJ45-EthernetanschlussmitPoweroverEthernet(PoE).
HINWEIS
HINWEIS HINWEIS
DasProduktmussmiteinemabgeschirmtenNetzwerkkabel(STP)angeschlossenwerden.
AlleKabel,diedasProduktmitdemNetzwerkswitchverbinden,müssenhierfürausgelegt
sein.StellenSiesicher,dassdieNetzwerkgerätegemäßdenAnweisungendesHerstellers
installiertwurden.InformationenzugesetzlichenBestimmungenndenSieunter
Electromagneticcompatibility(EMC)onpage4.
Audioanschlüsse
DasAxisProduktistmitdenfolgendenAudioanschlüssenausgestattet:
•Audioeingang(rosa)–3,5-mm-AnschlussfüreinMonomikrofonodereinMonosignal.
•Audioausgang(grün)–3,5-mm-Audioausgang(Leitungspegel)zumAnschließeneiner
Rundrufanlage(PA)odereinesAktivlautsprechersmitintegriertemVerstärker.Fürden
AudioausgangempehltsichdieVerwendungeinesStereosteckers.
BeimAudioeingangwirdderlinkeKanalvoneinemStereosignalbenutzt.
3,5-mmAudioanschlüsse
(Stereo)
1Spitze
Audioeingang
AudioausgangLeitungsausgang,MonoLeitungsausgang,MonoMasse
Mikrofon-/Leitungseingang
2Ring
Mikrofon-VorspannungMasse
ÜberE/A-Anschlüsse
DieE/A-AnschlüssedienenfürexterneGeräteinVerbindungmitManipulationsalarmen,
Bewegungserkennung,Ereignisauslösung,Alarmbenachrichtigungenusw.Abgesehenvon
76
3Schaft
Page 77

AXISQ8414–L VSNetworkCamera
0VDC-BezugspunktundStrom(Gleichstromausgang)verfügtderE/A-Anschlussübereine
Schnittstellezu:
Digitalausgang-ZumAnschlussexternerGerätewieRelaisundLEDs.AngeschlosseneGeräte
könnenüberdieVAPIX®-API(ApplicationProgrammingInterface)oderüberdieProduktwebsite
aktiviertwerden.
Digitaleingang-ZumAnschlussvonGeräten,diezwischengeöffnetemundgeschlossenem
Schaltkreiswechselnkönnen,z.B.PIR-Sensoren,Tür-/FensterkontakteundGlasbruchmelder.
4-poligerAnschlussblock
FunktionK-
0VDC(-)
Gleichstro-
mausgang
Digitaleingang
Digitalausgang
HinweiseTechnischeDaten
ontakt
1
2
KannfürdieStromversorgungvon
Zusatzgerätenverwendetwerden.
Hinweis:DieserKontaktkannnurfürden
Stromausgangverwendetwerden.
3
ZumAktivierenmitKontakt1verbinden;
zumDeaktivierennichtanschließen.
4
BeiAktivierungmitKontakt1verbunden;
wenndeaktiviert:frei(nichtverbunden).
BeiNutzungmiteinerinduktivenLast,
z.B.einemRelais,musszumSchutzvor
SpannungsspitzenparallelzurLasteine
Diodezwischengeschaltetwerden.
DE
0VDC
3,3VDC
Max.Stromstärke=
50mA
0bismax.40VDC
0bismax.40VGleichstrom,
OpenDrain,100mA
77
Page 78

AXISQ8414–LVSNetworkCamera
1
0VDC(-)
2
DC-Ausgang3,3V,max.50mA
3
Digitaleingang0bismax.40VDC
4
Digitalausgang0bismax.40VDC,OpenDrain,100mA
Betriebsbedingungen
DasAxisProduktistfürdieVerwendunginInnenräumenausgelegt.
Produkt
AXISQ8414–LVS
Klassikation
NEMA250Typ4X,
IEC/EN60529IP66,
Klasse4M4
IEC60721-3-4
Temperatur
0°Cbis50°C
Stromverbrauch
HINWEIS
HINWEIS HINWEIS
VerwendenSieeineStromquellemitbegrenzterLeistung(LPS),entwedermiteiner
Nennausgangsleistungvon≤100Wodereinemdauerhaftauf≤5Abegrenzten
Nennausgangsstrom.
78
Luftfeuchtigkeit
10-100%relative
Luftfeuchtigkeit
(kondensierend)
Page 79

AXISQ8414–L VSNetworkCamera
ProduktPoE
AXISQ8414–LVS
PoweroverEthernetIEEE802.3af/802.3atTyp
1Klasse2,max.6,2W
(IRbegrenzt)
PoweroverEthernetIEEE802.3af/802.3atTyp
1Klasse3,max.8,7W
(Infrarot,nichtbegrenzt)
79DE80
Page 80
Page 81

AXISQ8414–L VSNetworkCamera
Sicherheitsinformationen
Gefährdungsstufen
GEFAHR
WeistaufeinegefährlicheSituationhin,welchezumTododerzuschwerenVerletzungen
führt.
WARNUNG
WeistaufeinegefährlicheSituationhin,welche,fallsnichtverhindert,zuTododer
schwerenVerletzungenführenkann.
VORSICHT
WeistaufeinegefährlicheSituationhin,welche,fallsnichtverhindert,zugeringfügiger
odermäßigerVerletzungführenkann.
HINWEIS
HINWEIS HINWEIS
WeistaufeinegefährlicheSituationhin,welche,fallsnichtverhindert,zuSachschäden
führenkann.
WeitereNachrichtenstufen
Wichtig
WeistaufwichtigeInformationenhin,diedenrichtigenBetriebdesProduktsgewährleisten.
Beachten
WeistaufnützlicheInformationenhin,diedieoptimaleVerwendungdesProdukts
unterstützen.
DE
81
Page 82

AXISQ8414–LVSNetworkCamera
Sicherheitsanweisungen
HINWEIS
HINWEIS HINWEIS
•DasAxisProduktmussunterBeachtungderörtlichgeltendenGesetzteundBestimmungen
benutztwerden.
•AxisempehltdieVerwendungeinesabgeschirmtenNetzwerkkabels(STP)derKategorie
5oderhöher.
•LagernSiedasAxisProduktineinertrockenenundbelüftetenUmgebung.
•InstallierenSiedasProduktnichtaninstabilenMasten,Halterungen,Oberächenoder
Wänden.
•VerwendenSiebeiderInstallationdesAxisProduktsausschließlichpassendeWerkzeuge.
EinzugroßerKraftaufwandmitelektrischenWerkzeugenkanndasProduktbeschädigen.
•VerwendenSienurZubehör,dasdentechnischenVorgabenIhresProduktsentspricht.
DiesesistvonAxisoderDrittanbieternerhältlich.AxisempehltdiemitIhremProdukt
kompatibleStromversorgungvonAxis.
•VerwendenSieausschließlichErsatzteiledievonAxisangebotenoderempfohlenwerden.
•VersuchenSienicht,diesesProduktselbsttätigzureparieren.WendenSiesichbezüglich
ReparaturundWartungandenAxisSupportoderIhrenAxisHändler.
Transport
HINWEIS
HINWEIS HINWEIS
•BeiBedarftransportierenSiedasAxisProduktinderOriginalverpackungodereiner
entsprechendenVerpackung,sodassSchädenvermiedenwerden.
Batterie
DasAxisProduktistmiteiner3,0-V-BR2032-Lithium-Batterieausgestattet,mitderdieinterne
Echtzeituhr(RTC)versorgtwird.UnternormalenBedingungenhatdieBatterieeineLebensdauer
vonmindestensfünfJahren.
BeientladenerBatterieistderBetriebderEchtzeituhrnichtmehrgewährleistet,sodassdieUhrbei
jedemSystemstartzurückgesetztwird.SieerhalteneineProtokollnachrichtimServerberichtdes
Produkts,wenneinBatteriewechselerforderlichist.WeitereInformationenüberdenServerbericht
ndenSieaufdenSetup-SeitendesProdukts,oderwendenSiesichandenAxisSupport.
DieBatteriesolltenurbeiBedarfersetztwerden.WendenSiesichindiesemFallunter
www.axis.com/supportandenAxis-Support.
Lithium-Knopfzellen(3,0V)enthalten1,2-Dimethoxyethan;Ethylenglycoldimethylether(EGDME),
CAS-Nr.110-71-4.
WARNUNG
82
Page 83

AXISQ8414–L VSNetworkCamera
•ExplosionsgefahrbeifehlerhaftemBatteriewechsel.
•DieBatteriedarfnurdurcheineidentischeBatterieodereinevonAxisempfohlene
Batterieersetztwerden.
•VerbrauchteBatteriensindgemäßdenörtlichenVorschriftenoderdenAnweisungendes
Herstellerszuentsorgen.
DE
83
Page 84

84
Page 85

Contenutodellaconfezione
•TelecameradireteAXISQ8414–LVS
•Rondelle(perilmontaggiodelleviti)
•ProtezionedelconnettoreAXISA
•PuntaTorx®TR20
•Connettorepermorsettia4pin
•Documentazione
-Guidaall'installazione(questodocumento)
-ChiavediautenticazioneAVHS
AXISQ8414–L VSNetworkCamera
IT
85
Page 86

AXISQ8414–LVSNetworkCamera
Panoramicadeldispositivo
1
Guarnizionecavo(cavodirete)
2
Guarnizionecavo(CavoI/Ooaudio)
3
SelettorePoEClasse*
4
Connettoredirete
5
Connettoreuscitaaudio
6
IndicatoriLED
7
Connettoreingressoaudio
8
ConnettoreI/O
9
Pulsantedicomando
10
FinestraIR
11
Microfono
12
Nonutilizzato
13
SlotperschedaSD
86
Page 87

AXISQ8414–L VSNetworkCamera
*UtilizzatoperpassaredaPoEClasse2(IRlimitato)aPoEClasse3(IRcompleto).Consultare
pagina106.
IT
87
Page 88

AXISQ8414–LVSNetworkCamera
Comeinstallareildispositivo
Installazionedell'hardware
VVISO
A AAVVISO VVISO
•Ildispositivodeveesserecollegatoconuncavodireteschermato(STP).Tuttiicaviche
colleganoilprodottoalmidspandevonoessereschermati(STP)edestinatiallorouso
specico.Assicurarsicheilmidspansiapropriamenteaterra.Permaggioriinformazioni
suirequisitinormativi,consultareRegulatoryinformationonpage4.
•Fareattenzioneanongrafare,danneggiareolasciareimprontesullacustodia,perché
potrebbediminuirelaqualitàdell'immagine.Sepossibile,lasciarelaprotezionediplastica
sullaparteanterioredellatelecameranoalcompletamentodell'installazione.
ÈpossibileinstallareildispositivoAxisinstradandoicaviattraversolapareteoilsoftto.
Leggereattentamentetutteleistruzioniprimadiinstallareildispositivo.Alcunefasid'installazione
dovrebberoesserecompletateinsiemeperchérichiedonolarimozionedelcoperchiodella
telecamera.
•UnaschedaSDstandardoadaltacapacità(noninclusa)puòessereutilizzataper
memorizzareleregistrazionilocalmenteneldispositivo.PerinstallareunaschedaSD,
consultarepagina94.
•Perinstradareicaviprimadiinstallareildispositivo,vederepagina88.
•Perinstallareildispositivo,vederepagina89.
Installazionedeicavi
1.Misurareun'areatriangolarenell'angolotrailsofttoelaparete.
2.Inserirenellapareteilcavodirete(e,senecessario,ilcavoI/Oeaudio),facendolo
passareattraversol'areatriangolaredellaparete.
88
Page 89

AXISQ8414–L VSNetworkCamera
Installazionedell'unitàtelecamera
1.Rimuovereleguarnizionidaiforilateraliesuperiorideltelaioposteriore.
2.Posizionareiltelaioposteriorenell'angolotrailsofttoelaparete.Utilizzareunamatita
perfaredeisegniperlevitineiforilateralisuperiorielaterali.
IT
1
Guarnizionecavo,rete
89
Page 90

AXISQ8414–LVSNetworkCamera
2
Guarnizionecavo,I/O
3
Vite(noninclusa)
4
Rondella
5
Guarnizione
3.Faredeiforiperlevitinelsofttoenellepareti.
4.Inserireleguarnizionineirelativifori.Controllarecheleguarnizionisiinseriscanoa
fondoneifori,senzapiegheocurvature.
5.Rimuoverelaguarnizionedelcavodiretedalforoposterioreefarpassareilcavodi
reteattraversoilforoposteriore.
6.Seapplicabile:rimuoverelaguarnizionedelcavoI/Odalforoposterioreefarpassare
ilcavoI/Oattraversoilforoposteriore.
7.Tirarelalinguettasullaguarnizionedelcavoperaprirla.
8.FissarelaprotezionedelconnettoreAXISAnellapartesuperioredel
connettoredireteRJ45.Farscorrerelaguarnizionedelcavodiretelungoilcavoe
inserirlaneirelativifori.Controllarechelaguarnizionesiinseriscaafondoneifori,
senzapiegheocurvature.
9.RimuoverelaprotezionedelconnettoreAXISAdallapartesuperioredel
connettoredireteRJ45.
10.Seapplicabile:tirareilcavoI/OattraversolaguarnizionedelcavoI/Oprimadicollegare
ilconnettoreI/Oalcavo.InserirelaguarnizionedelcavoI/Onelrelativoforo.Controllare
chelaguarnizionesiinseriscaafondoneifori,senzapiegheocurvature.
11.Fissareiltelaioposteriorenell'angolodelmuroutilizzandovitietasselliidoneial
materialedellapareteedelsoftto.Levitidovrebberoattraversarelerondelleele
guarnizioniperssarelatenutaIP66.
90
Page 91

1
Guarnizionecavo,rete
2
Guarnizionecavo,I/O
3
Vite(noninclusa)
4
Rondella
5
Guarnizione
AXISQ8414–L VSNetworkCamera
IT
12.Perunatenutaottimizzata:applicareunastrisciadisigillanteessibileinmasticeper
giuntisuilatideltelaioposteriore.Vericaredicolmaretuttiglispazitrailtelaio
posterioreeilsofttoolaparete.
13.Seapplicabile:inserireunaschedaSD(noninclusa)nelloslotperschedeSDnella
telecamera.
14.Seapplicabile:consultareInstallareilkitdimontaggioAAXIST8642(fornitoaparte)
allapagina95.
15.Seapplicabile:consultareInstallarel'interruttoreperportaAXISAperilrilevamentodi
intrusioni(vendutoseparatamente)allapagina96
16.Seapplicabile:consultareInstallarelacupolaoscurataAXISQ8414-LVS(fornitaaparte)
allapagina97.
17.Seapplicabile:consultareInstallarelanestraIRBAXISQ8414-LVS(fornitaaparte)
allapagina97.
18.Senecessario:regolaremanualmentel'angolodellelentiperadattarlealladimensionee
allaformadell'areamonitorata.Perleposizionidiinclinazione,consultareImpostareil
campovisivoallapagina93.
91
Page 92

AXISQ8414–LVSNetworkCamera
19.Inserireilcavodiretenell'alloggiamentodeicavinellaparteposterioredellatelecamera
ecollegareilcavodiretenelconnettoredirete.
20.Seapplicabile:inserireilcavoI/Onell'alloggiamentodeicavinellaparteposterioredella
telecameraecollegareilcavoI/OnelconnettoreI/O.
21.MantenerelatelecamerainmodochelanestraIRnellaparteanterioresiainuna
posizioneverticaleeappoggiarelaparteinferioredellatelecamerasullaparteinferiore
dell'aperturadeltelaioposteriore.
92
Page 93

AXISQ8414–L VSNetworkCamera
22.Piegarelapartesuperioredellatelecameraversol'altonoachenonvienespintaverso
ilbordonell'aperturadeltelaioposteriore.
Importante
Posizionareicaviinmodochenonvenganoschiacciatitrailatidellatelecameraeiltelaio
posteriore.
23.Fissarelatelecameraaltelaioposterioreutilizzandoleviti(chiusura2,5Nm).
24.Rimuoverelapellicolaprotettivadallaparteanterioredellatelecamera.
Impostareilcampovisivo
IT
Inclinarel'obiettivoperottenereilcampovisivoottimalechecoprailpiùpossibilel'areamonitorata.
Posizionidimassimainclinazioneperlelenti
Laposizionediinclinazioneperilcampovisivoottimalesitrovatraleposizionimassimedi
inclinazione.
93
Page 94

AXISQ8414–LVSNetworkCamera
Posizionidimassimainclinazioneperlelenti(Continuo)
Inclinazione
in
alto
Inclinazione
in
basso
Installazionediunaschedadimemoria
Èfacoltativoinstallareunaschedadimemoriastandardoadaltacapacità(noninclusa),chepuò
essereusataperlaregistrazioneinmodalitàlocaleconunitàdiarchiviazionerimovibile.
1.Allentarelevitinellaparteanterioreerimuoverelatelecamera.
2.InserireunaschedaSD(noninclusa)nelloslotperschedeSD.
3.MantenerelatelecamerainmodochelanestraIRnellaparteanterioresiainuna
posizioneverticaleeappoggiarelaparteinferioredellatelecamerasullaparteinferiore
dell'aperturadeltelaioposteriore.
94
Page 95

AXISQ8414–L VSNetworkCamera
4.Piegarelapartesuperioredellatelecameraversol'altonoachenonvienespintaverso
ilbordonell'aperturadeltelaioposteriore.
Importante
Posizionareicaviinmodochenonvenganoschiacciatitrailatidellatelecameraeiltelaio
posteriore.
5.Fissarelatelecameraaltelaioposterioreutilizzandoleviti(serraggio2,5Nm).
VVISO
A AAVVISO VVISO
Perprevenireildanneggiamentodelleregistrazioni,laschedaSDdeveesseresmontata
primadell'espulsione.Perscollegare,andaresuSetup>SystemOptions>Storage>SD
Card(Congurazione>Opzionidisistema>Archiviazione>SchedaSD)efareclic
suUnmount(Smonta).
IT
InstallareilkitdimontaggioAAXIST8642(fornitoaparte)
NelleinformazionicontenuteinquestokitdiaccessorivienespiegatocomemontareunEthernet
overCoaxAdaptor(nonincluso)checonsenteagliinstallatoridiutilizzareilcavocoassiale
presistenteperlamigrazionediunsistemaanalogicoindigitale.
1.FissareilconnettoreBNCangolarealdispositivoAXIST8642.
2.CollegareilcavodiretealconnettorediretesuldispositivoAXIST8642.
3.Inserirel'altraestremitàdelcavodiretenell'alloggiamentodeicavinellaparteposteriore
dellatelecameraecollegareilcavodiretenelconnettoredirete.
4.Inserirelefascettestringicavoneglialloggiamentideicaviecollegareil
dispositivoAXIST8642allatelecamera.
95
Page 96

AXISQ8414–LVSNetworkCamera
Installarel'interruttoreperportaAXISAperilrilevamentodiintrusioni
(vendutoseparatamente)
1.Nellaparteposterioredellatelecamera:posizionarel'interruttorenelloscompartovuoto
accantoall'alloggiamentodeicavi.
96
Page 97

AXISQ8414–L VSNetworkCamera
2.Fissarel'interruttorealcompartoutilizzandoleviti.
3.InserireilcavoI/Onell'alloggiamentodeicavinellaparteposterioredellatelecamera.
4.TagliareicaviI/OconlunghezzaeccessivaeadattareilbloccodelconnettoreI/Oal
cavoI/O.
5.InserireilbloccodelconnettoreI/OnelconnettoreI/O.
InstallarelacupolaoscurataAXISQ8414-LVS(fornitaaparte)
1.Posizionarelatelecameraconlaparteanterioreversoilbassosuunasupercierialzatae
assicurarsicheilvetrodellacupolanontocchialcunoggettodaquestaposizione.
2.Allentarelevitiposteriori(T20)checolleganoilsupportodellatelecameraallaparte
posterioredellatelecamera.
3.Scollegareilcavodelmicrofonodallatelecamera,tirarel'altraestremitàdelcavodel
microfonoattraversoilsupportodellatelecameraerimuovereilcavodelmicrofono
dallatelecamera.
4.Rimuovereilsupportodellatelecameradallaparteposterioredellatelecamera.
5.Sostituirelacupolaconvetrotrasparentenell'aperturafrontaleconunacupoladivetro
oscurata.
6.CollegareilcavodelmicrofononellanestradellaluceIRetrascinarel'altraestremità
delcavodelmicrofonoattraversoilsupportodellatelecamera.
7.Posizionareilsupportodellatelecameranellasuaposizioneoriginalenellaparte
posterioredellatelecamera.
Importante
VericarechelanestradellaluceIRsiaposizionatanelsuocompartoecheilcavodelmicrofono
resticollegatonellanestradellaluceIR.
IT
8.Trascinareilcavodelmicrofonoattraversol'alloggiamentodeicaviecollegareilcavo
delmicrofonoallatelecamera.
9.Stringerelevitiposteriori(T20,torque2,5Nm)percollegareilsupportodellatelecamera
allatelecamera.
InstallarelanestraIRBAXISQ8414-LVS(fornitaaparte)
Questokitdiaccessorièadattoalleinstallazionichenonrichiedonoaudio.LenestredellaluceIR
nonsonodotatediforiperimicrofoni.
1.Posizionarelatelecameraconlaparteanterioreversoilbassosuunasupercierialzatae
assicurarsicheilvetrodellacupolanontocchialcunoggettodaquestaposizione.
2.Allentarelevitiposteriori(T20)checolleganoilsupportodellatelecameraallaparte
posterioredellatelecamera.
3.Scollegareilcavodelmicrofonodallatelecamera,tirarel'altraestremitàdelcavodel
microfonoattraversoilsupportodellatelecameraerimuovereilcavodelmicrofono
dallatelecamera.
97
Page 98

AXISQ8414–LVSNetworkCamera
4.Rimuovereilsupportodellatelecameradallaparteposterioredellatelecamera.
5.SostituirelanestradellaluceIRnell'aperturaanterioreconunanestradellaluce
IRdalkit.
6.Posizionareilsupportodellatelecameranellasuaposizioneoriginalenellaparte
posterioredellatelecamera.
Importante
VericarechelanestradellaluceIRsiaposizionatanelsuocomparto.
7.Stringerelevitiposteriori(T20,torque2,5Nm)percollegareilsupportodellatelecamera
allatelecamera.
Comeaccederealdispositivo
AXISIPUtilityeAXISCameraManagementsonoimetodiconsigliatipertrovareidispositiviAxisin
reteeassegnarelorounindirizzoIPinWindows®.Questeapplicazionisonoentrambegratuitee
possonoesserescaricatedawww.axis.com/support
Ildispositivopuòessereutilizzatoconlamaggiorpartedeisistemioperativiedeibrowser.I
browserconsigliatisonoiseguenti:
•InternetExplorer
•Safari
•Chrome
®
conOSX
TM
®
conWindows
®
oFirefox
®
conaltrisistemioperativi.
Perulterioriinformazionisull'utilizzodeldispositivo,consultarelaguidaperl'utentedisponibile
sulsitoWebwww.axis.com
®
98
Page 99

AXISQ8414–L VSNetworkCamera
Impostarezoomemessaafuoco
Lamessaafuocoelozoomdevonoessereconguratisolodurantel'installazioneelareinstallazione
delprodotto.
1.AndareaSetup>Video&Audio(Congurazione>Videoeaudio).
2.Nellapaginadellamessaafuoco,andareallaschedaBasic(Base).
3.Impostareillivellodizoomutilizzandoilcursore.
Nota
Evitareimovimentidavantiallatelecameradurantel'esecuzionedellamessaafuoco
automatica.
4.FareclicsuPerformautofocus(Eseguimessaafuocoautomatica).
5.Seilrisultatononèsoddisfacente,andareallaschedaAdvanced(Avanzate).
Nota
Lamodicadellivellodizoomspostalaposizionedimessaafuoco.Lamessaafuocodeve
essereregolatasempredopolamodicadellozoom.
NellaschedaAdvanced(Avanzate)lamessaafuocopuòessereregolatamanualmente:
1.FareclicsuOpeniris(Apridiaframma)peraprireildiaframmanoallasuaposizione
massima.Inquestomodo,vieneutilizzatalaminimaprofonditàdicampo,offrendole
condizionimiglioriperunacorrettamessaafuoco.
2.LamessaafuocovieneimpostatanellanestraFocus(Messaafuoco).Utilizzareil
mouseperspostareeridimensionarelanestradimessaafuoco.
3.Permettereafuocosuun'ubicazionedesiderata,fareclicnellabarraFocusposition
(Posizionedimessaafuoco).
4.Altermine,fareclicsuEnableiris(Abilitadiaframma)perabilitareildiaframma.
IT
99
Page 100

AXISQ8414–LVSNetworkCamera
Modalitàdiripristinodeivaloripredefinitidifabbrica
Importante
Ilripristinodeivaloripredenitidifabbricadeveessereutilizzatoconcautela.Tale
operazioneconsentiràdiripristinareleimpostazionipredenitedifabbricapertuttii
parametri,inclusol'indirizzoIP.
Perripristinareildispositivoalleimpostazionipredenitedifabbrica:
1.Scollegarel'alimentazionedaldispositivo.
2.Tenerepremutoilpulsantedicomandoericollegarel'alimentazione.
3.Tenerepremutoilpulsantedicomandoper15-30secondinoaquandol'indicatore
LEDdistatolampeggeràingiallo.
4.Rilasciareilpulsantedicomando.Ilprocessoècompletoquandol'indicatoredelLED
distatodiventeràverde.Ildispositivoèstatoreimpostatoalleimpostazionidifabbrica
predenite.SenessunserverDHCPèdisponibileinrete,l'indirizzoIPpredenitoè
192.168.0.90.
5.Medianteglistrumentiperl'installazioneelagestionedelsoftware,assegnareun
indirizzoIP,impostarelapasswordeaccederealussovideo.
Glistrumentiperl'installazioneelagestionedelsoftwaresonodisponibilinellepagine
dedicateall'assistenzasulsitoWebwww.axis.com/support.
Èanchepossibilereimpostareiparametrialleimpostazionipredenitedifabbricamediante
l'interfacciaWeb.AndareaSetup>SystemOptions>Maintenance(Congurazione>Opzionidi
sistema>Manutenzione)efareclicsuDefault(Predenito).
100