
GENERAL PURPOSE AMPLIFI ER APPLICAT IONS
.EMITT ER BALLASTED
. VSWR CAPABILITY
CONDITIONS
∞
.HERMETIC STRIPAC
. P
OUT
@1GHz
10 W MIN. WITH 10 dB GAIN
=
:1 @ RATED
PACKAGE
MSC81010
RF & MICROWAVE TRAN SIST ORS
.230 2L STUD (S016)
hermetically sealed
ORDER CODE
MSC81010
PIN CONNECTION
BRANDING
81010
DESC RIPTIO N
The MSC81010 is a common base hermetically
sealed silicon NPN microwave transistor utilizing
a fishbone, emitter ballasted geometry with a refractory/gold metallization system. This device is
capable of withstanding infinite load VSWR at any
phase angle under rated conditions.
The MSC81010 is designed for Class C amplifier
applications in the 0.4 - 1.2 GHz frequency range.
ABSOLUTE MAXIMUM RATINGS (T
Symbol Parameter Value Uni t
P
DISS
I
C
V
CC
T
J
T
STG
THERMA L DA TA
R
TH(j-c)
*Appliesonly to rated RF amplifier operation
Power Dissipation* 29 W
Device Current* 1.0 A
Collector-Supply Voltage* 35 V
Junction Temperature 200
Storage Temperature − 65 to +200
Junction-Case Thermal Resistance* 6.0
case
= 25°C)
1. Collector 3. Emitter
2. Base
°
°
°
C/W
C
C
October 1992
1/5

MS C81 010
ELECTRICAL SPECIFICATIONS (T
case
= 25°C)
STATIC
Symbol Test Conditions
BV
BV
BV
I
CBO
EBO
CER
CBO
h
FE
IC= 1mA IE= 0mA 45 — — V
IE= 1mA IC= 0mA 3.5 — — V
IC = 10mA RBE=10Ω 45 — — V
VCB= 28V — — 2.5 mA
VCE= 5V IC= 500mA 15 — 120 —
DYNAMIC
Symbol Test Cond itions
P
OUT
η
cf=1.0 GHz P
G
P
C
OB
f = 1.0 GHz P
f = 1.0 GHz P
f = 1 MHz V
1.0 W V
IN =
1.0 W V
=
IN
1.0 W V
=
IN
28 V — — 10 pF
=
CB
Value
Min. Typ. Max.
Value
Min. Typ. Max.
28 V 10 11 — W
CC =
28 V 60 64 — %
=
CC
28 V 10 10.4 — dB
=
CC
Unit
Unit
TYPICA L PERFO R MA NCE
POWER OUTPUT vs FREQUENCY
FREQUENCY vs COLLECTOR
EFFICIENCY
RELATIVE POWER OUTPUT vs
COLLECTOR VOLTAGE
2/5

IMPEDA NCE DATA
TYPICAL INPUT
IMPEDANCE
Z
IN
P
1.0 W
=
IN
V
28 V
=
CC
Normalized to 50 ohms
MS C810 10
TYPICAL COLLECTOR
LOAD I MPEDANCE
Z
CL
P
V
OUT =
=
CC
Saturated
28 V
Normalized to 50 ohms
FREQ. ZIN(Ω)Z
CL
(Ω)
0.4 GHz 2.3 + j 2.7 26.0 + j 16.0
0.6 GHz 2.5 + j 4.0 17.2 + j 13.0
0.8 GHz 2.8 + j 5.0 11.0 + j 9.5
1.0 GHz 3.0 + j 6.0 7.7 + j 6.3
1.2 GHz 3.3 + j 7.2 5.8 + j 3.5
3/5

MS C81 010
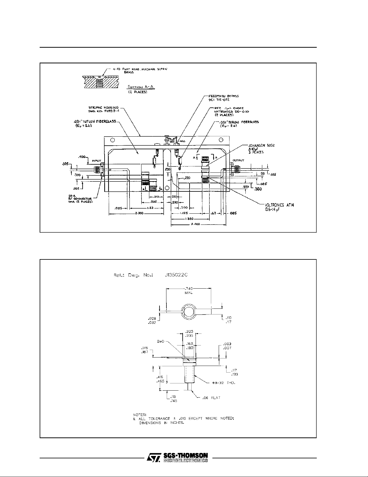
TEST CIRCUIT
Ref.: Dwg. No. C127320
All dimensions are in inches.
Frequency 1.0 GHz
PACKAGE MECHANICAL DATA
4/5

MS C810 10
Information furnished is believed to be accurate and reliable.However, SGS-THOMSON Microelectronics assumes no responsability for the
consequences of use of such information nor for any infringement of patents orother rights of third parties which may results from its use. No
license isgranted by implication or otherwiseunder any patent or patent rights ofSGS-THOMSON Microelectronics. Specificationsmentioned
in this publication are subject to changewithout notice. This publication supersedes and replaces all information previously supplied.
SGS-THOMSON Microelectronicsproductsare notauthorized foruse ascriticalcomponentsin life support devices orsystems withoutexpress
written approval of SGS-THOMSON Microelectonics.
1994 SGS-THOMSON Microelectronics - All RightsReserved
Australia - Brazil - France - Germany - Hong Kong - Italy - Japan - Korea - Malaysia - Malta - Morocco - The Netherlands -
Singapore - Spain - Sweden - Switzerland - Taiwan - Thailand - United Kingdom - U.S.A
SGS-THOMSON Microelectronics GROUP OF COMPANIES
5/5