
30"5BURNERGASCOOKTOP
MODELS:
WCG97US0HS00(Stainless)
12/19/2017©2017WhirlpoolCorporation
PartNo.W11208937Rev.A

COOKTOP ,BURNERANDGRATEPARTS
12/19/2017
2PartNo.W1 1208937Rev.A

COOKTOP ,BURNERANDGRATEPARTS
Illus.
No.PartNo.Description
1LiteratureParts
W11 1 16971Instructions,
W10672375Instructions,
W11 120470
W11 168236Instructions,LP
2
W11 131860
3
W10613386Black
4
W11047085Black
5
8286863
6
W11084624
7
W10613381
W10594399
W11 168367
Installation
UndercounterInstall
Guide,Use&Care
Conversion
Cooktop
Stainless
Kit,BurnerCap
Kit,Grate
Spring,Electrode
Knobs,Cooktop
Stainless
Holder,Orice(10K)
(LeftFront,LeftRear,
RightFront)
Holder,Orice(5K)
(RightRear)
Holder,OriceStack
(17K)
(Center)
Illus.
No.PartNo.Description
88286814Head,Burner
8286813Head,Burner
W10611434Head,Burner
9
W10625915Black
10W10826075
11W10151347
W10652711
W1067211 1
W10151362
12W10541842Wiring,Electrode
W10541843Wiring,Electrode
13W10758282
14W10763330
(LeftFront,LeftRear,
&RightFront)
(RightRear)
(Center)
Grommet
Rear,Hinge-Grate
(StainlessModelOnly)
Orice
(LeftFront,LeftRear,
RightFront)
Orice
(RightRear)
Orice(1.65MM)
(Center,Main)
Orice
(Center,Simmer)
(LeftFront,Right
Front)
(LeftRear,RightRear)
Screw
Electrode,Stack
(Center)
Illus.
No.PartNo.Description
15W10685483
W10868533Harness,Main
W10392003
W10132200
W11 173306
3801F935-51Bracket,TieDown
7101P062-60
9760045
8270P188-60T ape,Foam
Griddle
FOLLOWINGPARTS
NOTILLUSTRATED
Cord,Power
Relief,Strain
313438
Clip,Harness
Kit,LPConversion
Screw
(UsedforTieDown
Bracket)
Seal,Foam
12/19/2017
3PartNo.W1 1208937Rev.A

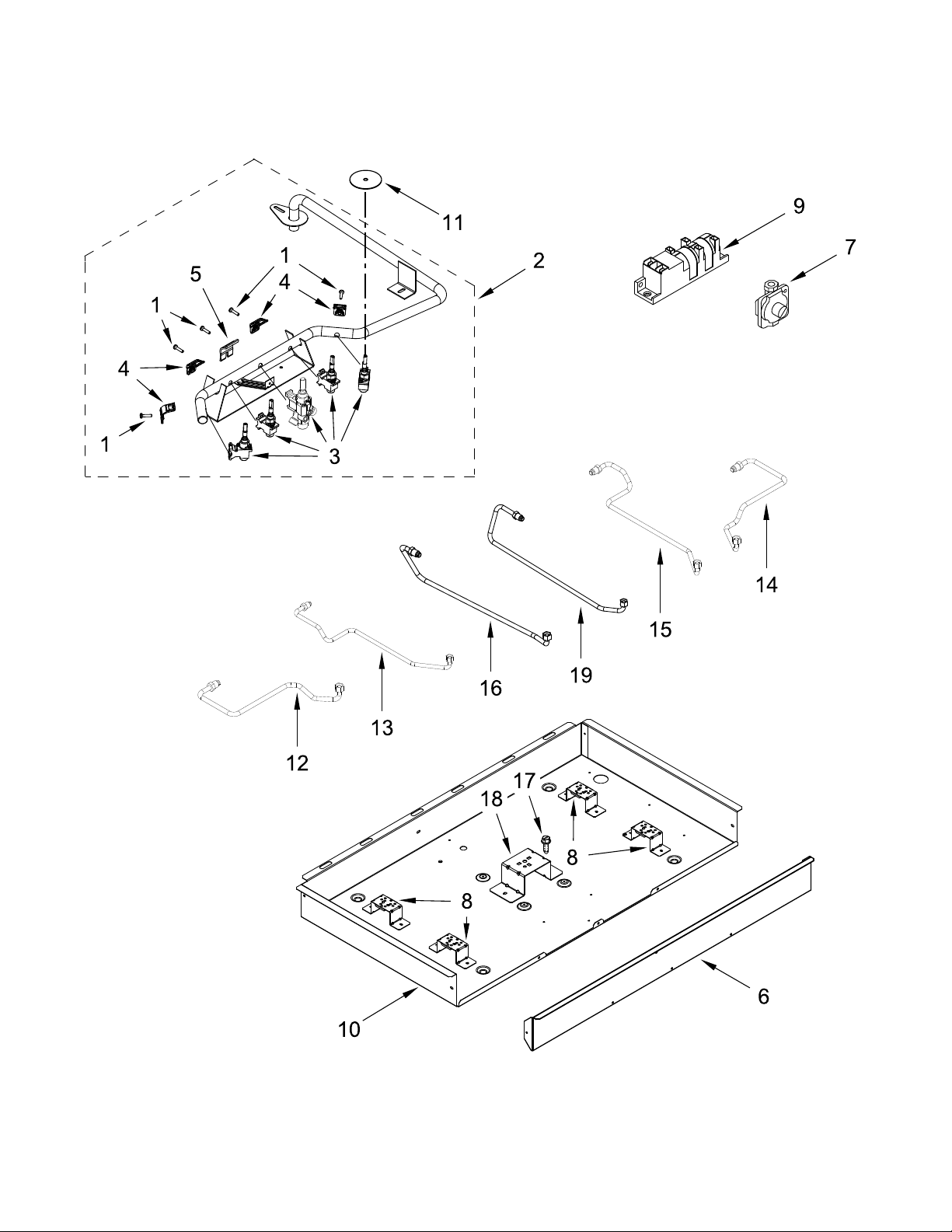
BURNERBOX,GASVALVESANDSWITCHPARTS
12/19/2017
4PartNo.W1 1208937Rev.A

BURNERBOX,GASVALVESANDSWITCHPARTS
Illus.
No.PartNo.Description
18286921
2W10594395Assembly ,Pipe
3W10594392
W10594391
W10594393
W10597156
W10594389Valve,Dual
48287055
Screw,BurnerRail
(M4)
Manifold
Valve,Single
(LeftFront)
Valve,Single
(LeftRear)
Valve,Single
(RightFront)
Valve,Single
(RightRear)
(Center)
Bracket,SingleValve
Illus.
No.PartNo.Description
5
8287056Bracket,DualValve
6W10614950Panel,Front
7
W10449143Regulator,Pressure
8W10594429
9W10475149
10W10728415Box,Burner
11W10140571
12W10566294
13W10566295
Bracket,OriceHolder
Module,Spark(5+0)
Seal,SwitchShaft
Tubing,GasBurner
(LeftFront)
Tubing,GasBurner
(LeftRear)
Illus.
No.PartNo.Description
14W10566299
15W10566298
16W10566296
17W10443110
18W10594430
19W10566297
Tubing,GasBurner
(RightFront)
Tubing,GasBurner
(RightRear)
Tubing,GasBurner
(Center,Main)
Screw
Bracket,OriceHolder
(Center)
Tubing,GasBurner
(Center,Simmer)
12/19/2017
5
PartNo.W1 1208937Rev.A