Page 1

a.lUKI®
1-Needle, Unison-feed, Lockstitch Machine with
Thread Trimmer (Automatic Lubrication)
-*i+*~~ft~"J
EimJJ*tJJ"J
~
~/
CEI~~5m)
LU-1510N-7
1-Needle, Unison-feed, Lockstitch Machine with
Thread Trimmer
-*i+*m~ift3!
for
Light-weight Materials (Automatic Lubrication)
"J
§j)J*tJJ
"J
~
~/~~~i±~
(§j}J~5m)
LU-1510NA-7
PARTS LIST
an
Automatic
an
Automatic
29359106
No.1338-04
J
Page 2

L
P.BA.118 • Mll:KZl..l.AN'KUUB
OOVER
•• · MUaa
2.
UPPERSHAPTJ.OWBB
BBAF'J'
DB1VD1G 6 BALANCE
..t:a·rWi·~mm
S.
NIZDLE
BAB
B0CKl!«J
OOKPONBNTS
lt.Sl'JU
4.
~ADJUSTING
fP
AID61 • J:J!
G,
PRESSURB ADJtJBTINO It UPPER
~AliiHa
O.FSED-00"1:PONErfTB
tJ
•
J:J!l)tl1(«
ma
A
UPPEanKD?dBCHAN18MOOMPONRN1'8
u >
(2)
.
u•1mm
'1.HOOJtSIIAPT
!ifa
• "f.aSHI
S..Tlm!Al)curTINGCOlfPONBNTS
~IJ}•Jm.
9.AtJ'l'OMATtC
~l.'JJ~-9~1!~
10.
TlmBAD
.,..,,
Q ll)ft,1{1
I:
WWRRSl!An'C:O~
BACl{
B.£1.B.ASE
OOl!PONENTS
OOMPON'BNm
CONTBNTS
Q -
COMPO~
.........................
OOMPON"StffS
•••••••••••••••••.•••••
I I • • • • • • • • • • • • • l
...................................................
(I)
.•••.....••••.•.••
P'EKD
MKCRANIRH
........................•••••••..•.
COMPONENTS
•..••.....••••••••••.••..•.••.•.••••••••.•.
(2)
•••
, , , , ,
,
•••••.....•......
•• , ••
, • ,
•.••..••..••...•....•••.••••••.•.•.••••••.....•.•••...•
.......................................................
••••••
, ,
•••••••• , .•••••.••••.••••••• , ••••••••••••••••••
•••
..
!
o
. 1
9
11
U
lG
17
18
11.
THIUW>
-~71tUI
12.
flmBAD
•a-1GRG
13.
LOWBR
TENSION
OOW'ONl:NTS
(LU-UION-'1ffl)
~OK
OOU'PONENTS
cw-u10NA-1ttt>
'flWU.l)
WINDBU
~MaMBH
1,.AUTOMA110
Oefftitffll!IZ(I
115.ATR
18.Am
17,
1£ECBANJEM
.:
7-RIUIHI
1£ECIJANtSM
X T-iillfllHt CLU-1510NA-'1Jli)
LUBBICATJON
HH
18.LUBBICATION
bH
19.
llr.l.'I
OC>VER & (?IL
~
•
1u,-
2'J.
l.>L
~
PRB&m
(LU-
OOMPONBNTS
Ct.U-unON-1,U)
f.rrmcG
OOla!PONF.NTS
15\0N-
00'11-oNDn'S
COMPONBNTS
CLU-1rilaNA-7AI)
R&!ERVOTR
·
•~,,e
(OPftON)
aoa
CPOR
M£CHAHlSl.1
MRCff
(P'OR W-lSl<JN-1)
7.lit}
(PORW-
(POR
W-1~10N'-T)
(FOR
LU-1510NA-7)
OO~Mn-"r8
OOMPCl~~
~-lGlON-'D
LU-l&lGNA-1)
<XJ!dr<>Nl!.N'l'S
...................................
.••....•.•.••.••.•...•..•••.••••.
•••••.•.••••••••••••••••••••••••••
.
AMISM
COMt'ONDM'&
...............
l510NA-7)
..••..........••.•.•..••.•••
.......................................
.............................
..
....................
....•••...•............•.•....•••..••.
••••• , ••••••••••••..
............................. , ••••.•.••••••••••••
.•••....•.•...•••..•..
:
.•••.•.
19
.
20
%1
U
23
24
26
2'1
29
:JC>
Page 3

21.'1HBUDSTANDOOMPONBN'lS
...••••••••••.••••••••••••..••..•...••.•......•.••••••.•••
1w:-camma
21.
OPl'IONAL
PAM'8
CADDfflOKAL
BPJUNG
FOR
PRESSRR
llARl
001fPON6NT8
....
.........
81
32
~:t~~:.,asac=m~~~@>ma
21.
SUBPENSION
@IJtt
kAOCR890BIE8
Has•
25.
OfflONAJ.
:t7'~
!f
2s.
omONAJ,
;t-
7"~
a
21.tJBT fflB.
•~ara1J:,.
NtBtEBJCAL
,::~
SQUARE
(:t:f!,,-:.,)
P.ARTB
PARTS
::,A
PAns
:...:,a
INPC>RtdATrON
q<)MPC>N'FMTS
C I )
oouroN:m18
( 2 )
t-
INDEX
OP
(OPl'ION)
IIIJ"
eoi!PONBNTB
OFCliANGI
PARTS
·
COMPONEN'J'S
..............................
(I)
..•..••••••..•...•..•••••..•••••••.••...•••...•••.••.
<2>
••••••••• ,
...................................................
.••.•••.••...•..••••..•..••..••..••.•••.•...•.......•••••••
•••.••.••.•.•....• ,
....................................
.••.••....•..•.••••••.
.....
.................
a.,
M
U
, ••••••• n
n
41
Page 4

6
I
I
I
I
!~
)Jdl
I
I
~~--
I
I . '
25~'-..:)
I
2•-4
r
L_
-1-
17
2·e
,
1
',
°"'
·ND
271
28t
--~
..
• '
-l ·
•
1,7~
~
I
·:--::
-~
23
~6
•
?
4D
34
Page 5

~--~ -.I.PJZ
I 400•JS7H
1
J
..
C
'
7
a
10
'
Ii
1Z
II
14
16
lo Wf-bWcol-ll
t7
lB
II
zo
tl
u
za
14
••••
~~"-
SS•41 I IZl&,..SP
@CMlllf
llJ·SISOl
$1-4)
i1J-Q:Ub4
SS-76110.CO.SP
TA·0TGOT04·ln
CIMOOtCOl-)l
Gil ll•H&•IGD
b1
1115-SH-*
m-~uu
II.·
SSOOIOl
U·OUl1CO-IP
TA·
IZ!iO&D4•
Ul··DCUOI
i1s-sasn1
11•7J54DUM'P
21S·5W0~
D·HRll
IUU·061·0UO
SS-1'n07lO-'l'P
aJ<6·0SIH
ICll~M'
·CO
lD lDIBZI
U>·
U
--• ---- -
_I,!
'-'Cl
PL.\'llt
SQCD,
U/14•40
LtlllUCATrOIII :IUl"PUCIRT'
TCPCOYDJ
l5DAI 11/1-1.4') Lafl
Xlfi
fiii6611116&
SCRDI
i/11-11
ICUII\EIPLUS
8jl'ln'UB!I.JJ
0lU
BtlL1l31.
n!mlt
Putt
GmDIJmASI.
CW.E
&AD
smm
1l/G4-40
PLDG
twffifli
JD.SCIZW8M
llJJU
15/N·U.,_I
so:m
tmUGOJH
idWi
D}k-Uta
nAIC!
tullW
SCIO!l
1/154-40
'ZIIKZADGIJIRill,
.F.Jt~
A.4m.
Ul&7.
WWW
arm
501Dt.
,.'.?
L-12
L:
,.,g.
L-T,S
n Zl4 ·0UC5 'nll!ADGOIDIPU.TI
ifd,
li
Z1
ZI
%8
JD
n--·
u
JS
S4
SIi
iC
JT
sa
!9
CD
u
42
u
44
Cl
a
CT
(I
r.o
"
ti
&1
r,3
M
u
A
G1
M
1\9
bO
61
11 t0Z
u
'4
"
n
"
01
oi
01 SS-4110I1&--D'
"its!
ta:Z
.01
.01
ib)
•ni
Jll6i
•IIU•Ul•OOO
D·OUOHl-U.
ll•zotD'UO·ff'
m
s1201
D-ifflf
UIU·~ll-000
SS•Tnol:O•ff'
IIU1·5a·O:>O
11-,110615-SP
lo-ff
11161-tts-b:SU
P·SI
lOHO•ff'
211-~HOO
TA•
IO&OGGl•RO
TA·
1050504-m
Bl-661:lloi-bl
.U-.aJOlll•SP
&S•GUUCO•&!'
CJ·JOG2:000·
UO-CllOS
Dl
iii-SUdd
T4•DU06114·lt0
SS...CllOlll-SP
lli41'01
Zll•3Z101
!S-4tiblit-!p
ZZ6•t8100
10:l•OJSOO
:nJ-taaoa
zu
...
uo,
zti-Hooi
Zll
..
UOT
~•-GDGIZ01•T1'
15-.,1Htll-~I"
z\:l•UillV
21:S·:11001
SS--tl
llltfi•~
JH•l'PlN
214·:l?JCM
s~4ttilli·S1'
400-41:lS
Jen:
Ot~>
&mu:
fW1i
nmAD PREaD
a.Ia
JCR!I
SCIDli
1/Gf_.0
.t.ltffl.lAll
!WI
17lU-40
TJIE.O,
SCIIS
1/64-40
ID!Ll1>!fflntiil
SCl1'II
ll/G4~0
IXTIEI
RIG
HW!I
i,.
a.sc. ~ s.s
L-7
C:f.i
....
fiikdlii'Wi
.saml
11/lit-.f.0
stDUiQ
l1DDl
GIJDPlD&
emt
scmr
SCIII
!tmn'lOI
&110111DJURI
611
lUJID
SCIII
nGOJPLA.TE
•11tm
ftlll'
PLl.tt
l't'C'G
a1,
i11M-Co
ll/14-40
SEAL
Wtiili
PL1li
11/81-40 L
Pl.AT?
117M4G
{lln)
(tin')
C
l"AC&llil C
a,
5:IIIUI
111UL\CJ
•••
fhticiif
saq
•.at
ICID'
$Cll:EII'
lfltall'll.tt
"IIICII
ICIID' J
IPIIICII
WIIP
!eilif
l.lnD
tttr.m.E
01. •• ,
02 ••
,.ftll
PLW
CUTTUD
run:
D
PUu
rli.:i11tti
11/64-40
l5lU1T
IS
L-11
I
!i/04-za
b
M.ATr.
J"ACIIICC
l/64•40
M.IU
t
run!
ii}Gi-Utt-i
PWi(m
OPT
lDJW.
lJJ'•l51Dll1•T
Pt.di
wwnim
i,..:g
L•I.
i.-a
PA.Clllli
_T_Lfl.
V.6
L-IJ
S
OPJl'II
!'Wt
IPIJllr
.J
4.
Ii
&
L-11
...
[.;
aLl1JIJrG
a
w
WII
L-9
I
W
IJO
l"atS
(
fOR
PU.ff
J'Llff
W- H I
1
• -
•• -••
Cl?l
• T )
- -
•••
t
••
?.
____
,~t,,
J-.·
»·
.\2.9.itft,s
•n-v-·-
1,·
1-lfftffl
ltt,U•
l,tt)
7W>,,\·
:1-1-·
..
1-~t·
1't)a·)··
tnY
•)Ct)
l'lj\f'
... , •.
J:,t· ,.,,_. -
Ut,U-
{1',7)1,f
F,:U,-
fl•7'1t-i"
,AttW
•1-1>1-t<,u
i~-ffij1f
,.,r
,.,-n
~
·u,,,,r
w•·-,~S,'"l
vifffr/
(l-lJA· t 7Wf
vJUtr
.,_,,..
~ -
I\,?~
,...,,.,.
~-H~C~,>
t•Tiilir
74•
.it"U"f~,()-1(11)
1,,.-~,.
11/14
5
_,,,-
11/04-40
S/11-U
112
~mr,.
m
(II)
I l/14--CC i.--11
j'
• 1:;c.'
,,.1,
II/G4•U
1/iR:::Cb
t/~-.co
%;
t,~i~
)t,-
1-,.1
11M-us
1/64...01.-4.S
Hf
,.. S
,,..
11/14-40
11/U-'D
t-Jlt)
~"~
.U"
11/CM
t,~)"
II/IM•40
rt,•·,.,
1
;zi'f11
S(EJ",J
~ll~
11/14·41
••·~
C
••·,r7,i,.•
f,•
sn·
,~
j,-
i JJU-46 W
tr,,,,ur
,-J..·-rnt
-t••o•/Ht
,
••
,rJ
I
·•·d,,i,.·,~
1-..·
w
111u-c.o
tr
rt•
Yfl,',.
v,1,nu.·n
t1o·
.t.r
n ·
,1-·
t1o·
o·
,,...
Jc.·.ff'
IIJ,f',(.U
tr
W-161
l!S/14-U L-'a I
Ub
,rt,,i,· ~) I
W 11/14-40
<ff
(J't/&"
,o
JilA-Qi t-1
,.,
)'f11t:JA(I.CI•
ltM.·71!1
,_
- - - -~ - -
-ca
t-lZ
IA
L-9.&
L-t
t:C
, .
...,
.2.
,..
'
U•l.5
1.-1
.2
4o
t-1
.1
/J•tr,,.·)
J.a-5
L-1.5
..
ll
J.14 2
L•II
9'.1.
HJ
(I)
(I)
··-,-
.
I.-&
C 1
Hu,,,.>
~,T
i
w
f
11
i.-1:
L,t1
lfiUll•t
IU)
I
J
I
I
•
I
2
2
I
l
I
I
I
2
I
3
I
1
1
j
1
l
I
1
,
1
1
1
I
z
2
I
I
I
J
I
I
l
a
l
l
1
I
I
I
I
j
s
l
I
I
I
&
I
I
J
'
-
-2-
Page 6

2.
OPPERSJW'T.LOWER
.till•rM·~H
SHAFT
DRMNG&BALANCE
COMPONENTS
7
30
13
11
12
~
.,,,,.. !
u I
14
70
.--1
1G ,
.--1
'
t
I
k1
,~T
u
9
10
68
/
/
/
/
~
/
/
/
f5
/
)
./
(
48
25
/j
~-
33
·:_j/;
L-~'1-
32
.. 1 28
~
X
38
-3-
Page 7

...
_~.
-~
___
r~
!).,
_____
•••..
~~.a.
~,.tr.,. l
.P.~
___ •
__ • _.
_
.t
••
2:.
_,_. J
•••
_____
9t7.
_
I
~
I 213•:UW
..
II
I
f
I
It
'
jj
JI
1'
J4
lS
,..--
n
11
11
m
1J
n
23
it
1S
t.5
i,
u
%1
30 2IS•SUO't
Ji
3i
33
~
~
SC
31
sa
SI
,1
'°
4.1
,u
""
'Iii
-:m
4.T
-'8
G ns-iu,a
60
Si
$%
6J
w
:S!
S8
s,
!i8
51
GO
t:i
IS2
5S
&t
&S
ii&
57
H .01
u
70
113.mnl
313-=ooG
400-SUG:.
IUIOl·Olil • 000
tlii:u:c&Oi
IS•IUOAZ•lr
Zl3-DlDI
c»-:nwm-ao
CQ-ZO%COCO-OD
BiilO-bGl·bOU
CO-liOliOOOO•
:m-mo1
ll-'1tiuaZZ•ff
1!:1-IOIOllZ•TI'
1!1•001%@-U
u-c,
10811·~
21s-~tct
oa-woooo-oo
11S·S&HT
%1S-Si&d!
K·ISGSOllllM"I'
4W-~hZ
•
S5-all1C·li'I'
m-ouao
lllm•Gli=t&
2H-OUOO
.S.lff0801-TP
21S
·
&:11~
iD-itSUJ
JW4-0l5·UUO
1U·1'1e9
21)-lflGO
11.\C.1-0~MO
IJSS-U&G-OQQ
llSlHU-OOG
1n-a,aoa
JUH·H~OOO
.SS•
•
•
•
401
.01
.01
111111
.\f=GAQJD-ir
D-Ol&aW-11'
B-llllDl0-11'
lt)-315112
u-asoaom.m
I tii;l]j!IISl-liil
JJ3J3-0ll•MCI
SS-IGIOUO.tr
-.sa,oo
U:Jitb
IS·ISl103Cl·IP' S:a:11
¥1-l!OOOOZ-OO
IS-"I
J10'1G0
ZlJ•ISOOS
IX-71
lbiLU-KP
214-21011
214-2'000
ss-au.cau-n-
1'CO?•JIO•Oil
Ai5t!J
U•OUCIOI-~
i.s-•u
uza-v
a-a,,c,u..-r-P
U-OYbG'YCN·lO
.W•lBJU
.COCh,1'34
ZU·fS-CH
11a-c.s1-oco
11,-.w-.1,
1m'I
Ctt2)
OD
·
&:I•
1l'
·'1"
SO:UD
UPHIWlt
1/PPD
Slaff
n::0.'rf
PIX
CiDi
U.)
Ubl.
Pili
(mil
IW.ll'CI
mstl.II
T.All·lll'
IUEI
zaa
UULlNIWllml
011
Oil.
KLE»i.i!
Oll.1'1Cl
O)IJffll
'1:Kl::lfl~ZIW
IIUl.lfmt
c.uaw,
R:U:.
tmiaman111XDm.11.
Olt
STICnO ASI.
1.lff.l
IWh·lSL:ul
..
11~
TIC%
ID
arm
I 1/14•40 i.-9
IJCI
n:::ctrl'llCWl.&.51,
m:Dllittml
4'CmtJ/4•4AIL-1
U11'1&
CffllCU'I'
IX:UI 1/~HO
TlJJ&
-,QI!!$,
ttnG
.5CIJ:IIISU
llmsnkliPUI
ll/aUJIZ
LUIDCIP.i.Wf 't!bJ.
&i'JaMfllJG
.ll1nT
.umr
umrcwmi
mrlrtD-Wi
&arntamatWU.l,JII
,S.b.ff:r\'Mai
UFEn'
&om.
aum
BIJG:
aa
Stml
S&mTamatrma~
l:•Rllll
SPHlJ
,;-,m-T amm
scm
s.&J"ErTCllfflZIIJSC
?l!DIT'
WWWI
11.DIJaUIU
KID
DIZO'JTAI.
filZi
n.nma.
PLl1l'dIEL
sam
CU4"ffl'
LWMLi
nmEI
~
IQtEI
iv,mn~
lam&i WIW. i
noo:&IITW·tiP.Ll"tl:I
DD·U!'
llml.lldaal&.01
axmm
DI
••.
,,m
&.,.U
l!ilLT
RGlf
mn
1r..u111G
(1,1)
&LID!
SUFJ
a.m.JI
R'&IK
c:mai
ma
c:mma.ixm
Xrilit
a.inDf
SIUU.
l/f-41.
..
™
»=
'·"
1)a 1.ss
ll/04-40 a.-1.1
um
1/4"'8
1.-4.I
CXII.UI
Alls
1/4""'°
J.alO
,11
..
za
La
J.O
DID
Ll7A·U
ts/14·!1
Plr.tlG
ftiiliGlWZIWI
4.SllCIO.I
U/14-40
11/M·U
um
a1mr
W
..
,
w
Ult
J.-12
L-f
iill1i
1Dlm
c•>
La·JHtll•,
~•
LlJC~
a:
1.1
a-
s.1
E.avr:
am:I
&
ill.
PII
<sm,
!'ll
.
m-, I
rlrtn$n
n,r)
ur
l)?")
RS\G.!J!UU'
1-M
"'*"tfflotM"
.i»
»)
"1$"·
m
>'J7Qf(llCS&D)
UW
,._,,-
f·TMrlt
,..
,,,.,~
i»
i4~tm~.rtu,,~,
j(.f
uu·
t'UTDb}
t.tU-
,ru,r
m"f$'t,,f
91"',-."mrH
~Jl#' .
*""
;1;~·,-,
%7'5-t»
Trt
JWYMn
fHW-f
W'h-1
TNYl-f
TN'11'1/'J'I
r~Y'l-l
't-~U4•40JA
~
~
).,cw
7W
iznn$
n,·,,,:
TW">Y·1
.. ~ 1/4·40
n,t·
,t)"ti~t:Hn)
,..,.
}M
,.
'f-"'tW
Jf~'11J,,t
umr
~
ArU"k
._,.,.
tt"
fr'
tff'I'
tJU'
t,:.Qt' 11/G4.·ZI W I
~-1:,
,J·fX,XFfiEf'fi
,~t·)
f>r~m·,·, I
,.,.. • HW:17
1'7-flf(llCSlal) I
Ul·
t,)tU(,tJ
!m'
,
llVM·J.aLat
hjjt'j
JIIM•ZIW
ISL-I
W 11/'4'"'1
LlJnt»"nll
vc""'°
L
l/4
-4tl
a.-11
......
lmLS
~{r)
n,,-
)'lfflt." 1
\•tt
tfffitl'S
)!·J~
'3-'hl
M.st.B.J.i
~
D-l.~,
11/lf-C,D
)71)fU&"
t)
:a
..
f"I
'IIH~·
L-4.1
\o
,mH,
J/~L•lO
71»- tOIU
VII-a
u1A40
tr
n('f»flltt)
!5/1-'-U
i7.
U1rf"
))f
ltlOM-lll
/ A
FDWf' I h
J 4,511010.11
ll/64-CO
••
IA
..
(1 •
.1)
fj
r~
l•J.1
r.-t.•
11
i,.,
t-1
W
ti
·
...
,a
I
I
l
'
i
2
1
0.41
0.ID
l
o.m
l
2
z
J
I
I
O.ll
l
m
1
1
1
t
I
2
I
I
J
I
•
I
I
I
t
1
1
a
1
1
I
I
2
H~
Cl)
2
2
(I)
(Z)
(I)
(I)
(2)
(2)
I
I
I
I
I
1
1
I
I
I
I
_,_
Page 8

3.NBBDLE
tHClfflDIH
BAR
ROCKING
COMPONENTS
~~.
17 ')J
e--11
32
(
/
/ 21
1
Cl
/
/
/
-5-
Page 9

....
liQ
• ~m
...
tAJt!,
~~-
••••••••
1
•
~
1-.
1
r
.,.
t
•
P.•. _ ••
__
••
_.
__
,_. ~ •• • •• 1
••••••••
911
••
•
ii
,.
l
2
3
"
'
'
I
'
II
10
ii
12
lS
14
15
16
1'1
Ja
J9
:w
:d
zz
u
M
25
26
r,
2A
H
30
!I
32
S3
D141O•56'•DOO
:U-t•05ZOC
213-3851)1
CQ-2020000.00
SS
•.1151150-TP SCRD U/GC-28
81'37-051-000
213-87402
Ulolll-063•000
:s.~-1oaoete>·lir
Hl'12-051•00G t'tl.T
Zlts·HIOI
SS-70110610-Tt
IW-3720016-00
B1461·56S·OCO
SS-'1110910.TP Sr.lmr 11/64•4G
HJ-Woo
8!·'11106!0-RP
Zl3·3a&03
SS•G091022•11'
Zl3•38801 ROalKU
U•ijUISOISO:.!·'l'J'
Zl3·38SOO
8141'-W -000
81410·111·000
ZJ3-SD304
400-177"6
ZIS-!OOH
213-!90GT
SS•6161440·5P
:Zl3•4?406
rl-s&t10101-oo
213-!MGS
IC-
:ST200
tOl
JO•
REDLE
lllKGE
fi!DIZ
OU,
oft ttct
ffl,T
Nt:ui.t
Satll'
t'l'.I.T
SCR1I'
KEDL!
UPPm
ROCiueo
satll'
ROCIIIG
SCQW
sc:xn
ROClL
SQQAiE
mJD
ltOCI(KG
IULthtkG
ROClIICG
ROCUICmBARil
SCDI'
ROClIKG
rlitt
NEEDLE
00
IIEEDLE
BlR
FR1lll
S'tlJP
BAR
~
'lfJCE
mllNh
IIAK
COOIOT
A/H-•P t-8,
1/1-4"
St:S36G
Fl!D
BAI
mt
11/M·4G
MS!
11«>11
IICS
SUA.Yr
BL0Cl
SHAFT
RJ:it
WR
15/M·:ll\
~All
Blrdl
Bil
THRWI
SUS!&
RA.cl
L-CO,G
L-4.
C,
160
GUIDE
L-
R,fi
COibi
L•
T
GOJD!
AR11
non
ARII
ASJI.
Le23.5
~RII
n:J,T
RACl
JOO
I
OM
5
.!i
(D)
UETAL
,.,.-m•·wl
11u· ,a,J.· w
11,t• 9-IUt
.rt)
~~,-
1-~·
-
ii"iOJb1~· ,.1,::11'1'
11j..--J'.
tltiU
,.,
...
_,.\
"'",
0.05
IG/U·ZS L-10.S. l
t·"
97·
~ooi
"
9/M
•4n
7%1~
t.-a,S
,,r,~1'11,n
,1tnr
"'
,mu·tt·-
,.at7W 11/M-4D
11Jf1ui'ffb~ti
,.at;,ir I
11Jt:'93t}'
tn,. 1
11ft"
•JI»-
11,r-
H:t,
11,r11,t·
1111-44
613!55 160
o·
1/M-40
W~·({ll)
i):!9l"
H'
1>1,•·
tr,
11-~·-
m·
,i~t-·
tr
Lr-4.5
~.s
L-7.
Y1'
~7·
t-rt
n~::tff
!5
,.,,·,if>·w,,~m
IIJ$'9~t,•t,t1'9f'
,.,.-
,~t-·
,
:Jtr
~,,.
ts/M-:1
"'*"
m1-·
t
:,~·
2tr
YJt).f\"
11u·,
,.,
SJSS5&
100
(~)
~
~n.s
w ,:i1-
(1)
en
(
Ci)
I
I
I
I
I
l
l
I
1
'
I
1
2
I
2
I
1
:l
J
1
J
J
1
l
I)
J
1
arm:
(llll>
01 •••• FOl Ltl'-!5101!.-'I
I.1f-
l510ll-7RI
- 6 -
Page 10

4.PBESSUREAD.JUSTINO& UPPBRFSBD MKCHANUWOOMPONKNTS(l)
ff
'-JIU·
.J:i!tJit,CI C
1)
39·56
_,,_
-
24
32
46
Page 11

~--~
..
~-_ ..
~~
~
..........
__ , J.I. ~ .l.l.
f
_T_
{ 9 ) . .
__
..
_. _ ..
.l
.•
?
•• • ••
.1
••••••••
99
••
1
%
3 sr-8ti60&12·TP SCR!I' I/.C-40
4 + J.G0-30!16
5
& ili-oii&s iXlnilll't'ftik&i cdillk
1
8
e ss-s15uno-tr samr 15164-21 a.-1
10 U•015070t·MO
11
12
13
••
15
is
J7 11414-555-000
18 tlP•0501046•1C 11SlllR 6 l 13 l I
l'Y
20
2l
ll
13
24
25
H
%7
za
~
30 SS~J618:W•SI' SCRD
!!I JU~l-lil•KOO
32 IJ.r.J0-155·000
2JJ...aM01
213-40600
21S-TA302
m-0.10&
SS•81i60810--TP
,co-=3aoi1
400-33020
21S-4Tt09
E1·e500M0·00
ca-:saooooo-ro
4bo-1a5Se
.,t00-3:f02V
SS-71105lO•SP
il4H•565•000
l05·C0701
,40C,-JRUI
400-33030
JlU7-0S3-0AO 'l.\t.llKG UR
iI-cEi-m-ooo
SS-eJ517&0·8r SQlEI
2i.-06S01
Z62•2f.1%0I
uma
Fm
UPPD
F1ED
JROJff
IIEl'AL
PEED
ROCI
SIW"I'
NAll
lilfAn
SCllll
RUllW
uPPd
1JPP!l
PELT
CUP
Ott
1/4-40
t'WG
Pm
Fm
CV·TOS
m,T
sCRii
Stint
BLOQ:
'mUAlll..Ul
SCRE'I
SLIDf.
fEl.T
'iALllKG
'IAI.11116
ll/G-l-40 Jr.S ,n,w 11/6'""'0
fiLotl 1'fj" 9'" t 7)'tfJ11 l
UR
l&R
™ w
15/U-28
wrn
mn
!fflLLt:H
l6ru·28
FitESSER
PRESSER
UR
SHAFT
PIOHI'
4D
CM
Im.AL
TKRU6T
Liu.
LIil
L!VDC
oou.aR
L:6
w:-~
AS».
DRJVJICG
A.
Ami.
sPifika
'JJirl'J
GUIDI
run
!rl9,0
Lmm
!US!UIICi
uni
.O
lli.
mnr,
ffltJt•
"n,·
m•
M~t,W
~,S-@JU~<h> 1
9n·mxu-,.
t-~,·
1-n,·
~lit)
m,,,~
99i,JJ)f7.d~ (1)
m,,n,1,·
an.·
i
ri,t· 9:9'.
ttt•
f~J;l
,,a-,
,,u,1,1-·
ti:t,PY,
99t,J~· t
nnw -
tnr
t.z.t,n·,tt-·-f,
, •
tnr
Jtil• · l
.it:s:t"
u 400-.18340 scan J-
34 400-33032
35
w-
)?
38 m-0"1604
39
40
41
42
43
«
45 SS•8090910•TP SCllll
U
,1
ca
49 lDT· 13808
so
st
5Z
53
s,
55
56
,oo-3303!
ss-1110010-ff
213•(0~06 PWSZR WUSTJIG SCRn
Bl50Z·J46·000
D-080048l·SP
2:3-41151
B1462·06S·OOO
2l4·0610S
21-4•01i608
5S-flso1c6-sF
101-1378&
SS-&680810-TI'
11:1-touor;
2To-..a101
l?E-0800000•10 I-SHI.Pill
Ul•.C0:S02 t!PP!ll
n-∨2002-TP
CQ-2520000·00
•Ol
11s16--
U1-ko6
~
PRESS!R
lcm
PRESSlR
PRESS1Jt
BIKGE
nlR!ib
THRW l!LJWiE SPRl!G
PRESSER
GUIDI
si:Zikir
r.ccr.muc
saUlt
COKNl.tTION
urra
iuRw:
sattV
OILIICl
Pktss!R
WC
!I01.m:ll A
UR
JID1Jl!lt
A
n1t,=icrc:·a:r·
SPRJKG
SPltlllC
IQlD'
i!L!iH
LIJ'TIR UVER iJ%7r1,11• - I
Pt.AT!
9/64·40
1!C}lc·H
1/-t_.0
l'u:J>
R!GULlTOR
J>-
8
BOLDING
SPAc:rJt
L-9
L-t
RO'D
Cm)
J.•8
LUil
PIii D
1.1n
Cul
Ba
sciiiii
SW'
Rlll&
(HK)
Fm
WR
4RII
us
1.-10
EPRikG
A.SI.
--~--
-·
tf?t"
tf
dBir
.tJ:i~~,·
1ml u,,nt,u·nt- I
tti
4.9
Piltl
,·~r tt-8 JM.8 I
lM*f?JOir
-flr-Uj
t· ., •.
t,W
dt1fr
· ~,u,.un,1-·
l-4,-
l,)t,J)ft."
->vtf1f)f(lS)
t·
U"
(B)
'),tt)nr
u,inw
lt~
it~f!-t1J\' t l
~r
'1° 1
1/4-.CO
~
l/-l-(0
16/&.c-2' 1.-7 1
nn
'Lai&
~
J.a5
___
o~,
- r
6G
(o.oma)
>Sr
7)1.t,Jll
'#"
J.6114Xl
(,t)
Loo
5 l
,t-•
90,J.1:1~ l
,J~f
A . l
,,-
i'
-en) l
IF...11·
5 1
L•l'l
L=III
A
(I~)
~
A
111A--1o
w.,
.1\-Ur
•
)1Y
9t".
xt"
,,.
lfi/64-U
n:ra
16/64•%1
,,ll!rS
1.Jtt1 ,.. * I
9) 1
ttO
,.,
:t
-l~XAi-•
_..,
9/64-40
J;,o9
15/64-ii
i.-1
cm>
1/4-40
~rib·
.JUJ
L-8 2
)D I
t
,-:,ff
8 1
'Ii'
(B)
,1-
mo.a
1,.20 1
0.
1
2
1
1
c n
(Z)
l
(
I)
(2)
1
1
l
l
1
l
1
l
l
1
1
I .
(I).
to
I
I
I
I
I
1
1
1
l
02
ll01E
Cll.ii!)
-8-
LU-lGJOliA-7/D
Page 12

6.PRBSSURE
tr;.:llESU.ii
1
·
ADJU9TIMO 6 UPPEElFEBD
-~'JliHI
C
2)
MBCHANl&\t
OOMPONB.NTS
y--1-a
11
J
r
---
I
.-"T""--..
I I
I I
I
-------
J
~-r:1',,..-
I
--L-""""
--·~·-·
----·-·-·7
-12
t:a)
I
I
I
I
39
33
34
1-30
27~
~28
i
9-,s
ts
.
23
!
40
1
r--
I
I I
I t I
I
I I
I I
L
--7
~41
42
_____
r--\}..L
I
l 9
I
I • I
I I
I I
L
_J
________
-9-
$
Ii
10
-7
:
.J
43
r--v_l_
~
44
I I
I I
L
________
I I
45
-7
l
..J
Page 13

~:~
••
-~-
•••
fl-'!'.~,
.••••••••
,._I.~ f
.C.I!
J.P.!
).q
!
...........
I
••
'I
••
!'
•. { ______
••
Q!.t.
l
2
s
4
5 03
&
1
8 HS-50162
p
10
11
12
13
14
I!»
[g
17
18
19
%0
2,J
u
:4
"
26
il
:n
21S
ZI
30
31
31
33
34
3G
36
37
31
39
"°
41
42
4l
'4
45
.C00-24852
GS
D3
SJ.-.0408&1-SC
S8•&J50110•SP
01
D1410-J.U•W
ll·t500IO l
ill-do-bSl-blu
SR-8060602-Tr SCR!I'
213-50103
10S·31905
IM-14154
o!
O! 101-1,~os
03
J01·1.W04
107-16&00
101-16001
J07·lf>104
Bl&24•6%7-00G
Sl-6110630-TP
2U•'1607
101-1~~na
sfio51lo2-TP
2U-415M
107•18203
101-14202
2.U-39601
sii-1056161-:dt
2.U-3lr7DU UPPJa rm
SS•'lll
107•l3501
107-Hi004
biti-sM-ooo=· ==uioo:ctrw,
U•OGOOOOO•lD
JlJ-¥88CV
SS-7
ll0a30-3P
lOf-14600
lof-("808
Sl·8C5060l·TP
2U·S7i.DS
101-T43nf)
oz
400-41248
02
400.4i147
g_c;.a
110710-SP
02
400•4124:S
400-41244
400
..
412(5
KOTE
(t!.2)
VERTICAL
SCRnU4W
sam
VWIIU
·00
CAJSUIWUI
\llLIIIQ
PRESSZR
PRBSSZR
PINCER
OPPlll
\lt'JC1'1C&L
ilRTIC&LW
Yt:IC?IC!L
\lmlCAL
'Ir.tel'
Si'RIIIO
SCR!I
V!RTJCAI.
1'111
scim
"'RTJC:AI,
YW
'Vi.RT1
ttl'l'ln
stkii15W
llZO•Tr SCRO
Sl'RUIG
VER'Z'IC!L
E·RUIG
UPi'IR
BCREII
CQfflCTI
CONKtr.Tlbli
SCHEI
Fm
VERTIC&L
OPPER
um.Jf\1D'E1oa'r(tok
SCRII
PRISSII<
PR&SSIR
FUiGER
01 •••
01
•• , .FOR
03
•• , •
DEIICTOR
15/84·28
root
Foot
126
1.-G
'FOOT
FOOT
...
m ..
AD.
rm>.n
Affb
wftA
bill
DI.ti.
IIW.
:wAt'T
Al)JllSTl«G
lt:41.
J)W,
l'
111
11/64-40 W
A'DfflfffKO
ii!sxo
.A
c:u
r.JIUr.l JWI: SllAYI
SLW"I'
»tOJIT
UTA!.
CAL
CH.UGI
rm
ROOl
SRAn
RED
11
/54
DJ
15
L-S
ADZU.ffl" 11.Sl
DW
nD
J1/M·40
POO't(J'Olt
FOOT(l'Olt
MDl(FOR
•
TIP•DJVtl>ED
FOR
JKJ.T
s-.roa•rm
STOPJ'DI
SPRHG
ROb
ar&Gt
tlOG
SPRlfiG
•
'9
1,11
LIii
I
tfii
B
FOOT(>"Oll
L-7
.t.ll) 0J7')(d~?)(:Vt)
.U)
LIJ·ISl0!li.-7
Llr-1610!1•7
SVITal ASI.
,
DU.
JlUSlll~~
C&I
A'RII
1•u.1-z
(4.)
PLATE
(l\)
scan
l!DDl
7.
5
SUl'PORT
AK)
TTn(OPTlOK]
PIN
SUPi'ORT
U)ASII.
li)
*-'9
,-
s9,-.
f,9t),.11,U,1(
rrm
.j.,.
n.tnnc,m-w-
t,·:iw
lti/G4·28
14
L-7
>
L•a
,,~.)~·
,,,,,,,
•iw
~tS'D(N)
,m,
.1~:r-1-·
ffio/39J'¥
:r,:r,.
~,-.n·:t.1
~
m-
:it.r
ttm
t'tW
~,.
'\).t}f-f,f"
r,ffiti·i~
:r9:r
1-l'--ftn,-
:i,.:1•
tn,,x~,I\·
un·
9't,J,i~71\" -tJ(B)
T'~
m
~,.
tt· 1Jf
ti"
t.1tn,.·ut
tlt,.tr
~)t1J>-Jll
1,$,:)1,1,r
}jlr
t'9ha9't1Jitt:r.
.:Jtr
.omunt)Cn> l
j,J7J(li
t1tr
tJ%)')(AI)
lt'
fcltnt-fr
l.U-
LU•l6l01·7ffl
,t
•Ho.a
.utt·
~
,-
a9t' ,-i'tJY
,.
•9t'
f9!)\7'jl
,.
,ijf
,..,
I
1/M•4Q
.,,.
t:
,.
~,,..
m>IU
,.
3!1t"
-tJCA)
mo.aw
,-
lf9t-,.
•tt",.
3:2f•
t}.i,
~
lJ/84-40
IW>.B
t•
DW
3')
t"
-··
(All
J6JOU.
-7
1.w&
iticH) I
fl'j
n'
1'~
j-
?tJt"
)
L-6
h~tT·
)
..
,,~"·
..
..,~,
-
t' 7
,,
(.iT
}H
,,...
tttr
,,.. *
J'
:,ff
W
ft)
Jt)
n~)
.L-1
1
.~
(l)
(I)
Cl)
(I)
(lf
(l)
(l)
(I)
I
2
I
I
I
I
2
l
1
I
2
2
l
2
2
J
1
2
2
2
l
1
l
-10
-
Page 14

8.
Jlm:D
,.
MRCHAN
IBM
OOMPONENTS
)11)9
31
11
-11-
Page 15

~'~--
I
l
J
4
'
'
•
•
10
"lr-
ll
n
14
IS
lT
''
1'
It
20 ICJ-UIIOI
ii
u
u 111·
14
u
H . -
n
H
n
JI
ii
ii
n
'4
,.
s:
tr
SI
Cl
"
41
41
41
...
4'
47
"
41
41
'°
R
.,
''
14
..
H
"
GI
..
10
I
ca
.,
14
••
cc
.,
Cl
..
to
11
n
,~
14
"
n
,.
"
n
u
-~-
___
PfJJ_f9._ •••• _ ••••
Jlal·IIU.-eGO•.l
11-0Ulnll•ff
CIQ-ffl,nf
111-"IN
. -
IS•tiuUHl"
zu . ...,.
IJJ·TUa
11-Cltlllt•fl'
~Hl•'lll:0-l
iS!idiiJl-ff
lit-Ml"
IU-OClOI
~···ff
L,-Mtii61
lli•HIGUII
:f~
111-m!K
U•TJ
--i,,_,,ffl
11,-,,..,
u
..
11Cm-rr
llll•SUN
&t·7t1C5te-O'
tb!ft"2
SS•TOIOJ!G•TI'
HI•
t'l'JIII
1..-olm•TI'
n1-nu,
US-WWW
U
llU&tt·D'
SIJ-nsa
am•-
saM*i~M'I'
JfJ.JGdi
tel2
ilO•Ufll
U_.1%11111
11:l•ltACM
&<Mfn1'n·Ol1
fZl•tmi>
~ -:.
z1q
lU•Slita
UI-Ull7
f.».Hilt
CliJW.!W
S:S~l-'11'
:i:aisnm
IU•111Ci&
a:1-IIXlal-SII
n:lll.UC).
ias-,am
n
..
-,t-a
IIS""lWI0-1'
JJ)•Jf.*
llill-tu-CW
CMIOH1G-G
c:s-1201ou-a
ff•UIOll!MI'
U•UIIOCl:O•m
iiJ.IAOt IS'uMt
Jl4·H6CO
G•fllOl'H-IP
641a
ZlMkob
U•~lt•ff
.a
.;a:
,u-uas
IH4TD
•CJ
.,oz
~-NTU
iu..,a
-oa
.oz
IS•flJlnll-1'
.01
ili4hM
..
ii,~
11*-'ltt,)4
JUU•lll•IIX:O
.c.oo-.&IW
IO!t (Ui
0,
•it
...
lcttl•ff
••s..i
:II'
./
a
}.~
f
.c.~
.J.P.!
cmwaan
D&l'lllal
Ga.llCI
RUtccm
aw»
mu-u .l.iiR
no~a.Tt
nu1:cc&Q61'TGU1.
nar
IWM•U
Cl.'llfftt
DLV
»•1-mr11
UllllUfftmltCIX.UIMS
UJI
awT
mar 1/-t-«i 1.a1
l1IIU
ltmklii'l•
SIT
t/U
ffD
.1.1.lllfflllll
Pm
.i.,Al&TISD
ma
™
'1:11
.u.aim.
staJI
m.,arnmr
CCIII 11'4 a W
uum1cr11
an
t/W-411
rm
.&IIISTI~
lllCtlCUl~I
'11tA
&u:ttel
&ma
tlDaMTlt.1~
nD
nm•
ICIJIMl,,t13
ttiU
IIX.. I
m.tm.llCI
aEI
1/ll
rm
am;.u.a
lUl&Elt11•0
IWUWI.Utlrll
11D
AWI.Anlll
lmldllUI,
rm&.111
D»llltTl!i
itltlU
ICIDISU
ff:DICIA
IDLllltll
IIP,IQ:QI
um
m1
an
1Am111.mm.1
DI
1'11-\•U
MtSli.D
titi
'l:ll'.Q't~&a
TDTliff
anlJ
,
..
,
...
nu
WU'll:I
~
nu
G1't/k-4tt-•,•
lid
itn(t:7)
nllwmtmM:
nP/JIZQ'lla~•
rnm:.lfl.lff
_.,,.
AWIIAZICI
Fm
ICIIJ
rm
DQQ
....
,m
DOC:Cl.0.-LD
11,.
,,0l''l:lcaiL
~i. •••
u .
...
1-10.,
IIC
dll
um?
CDU.U
1&11
nm
ma
i
11
MR
Mi&
'lfrx'°
r.-
u
lt./k
1111'
PLtD
11/14-~\.a
roa
on1au.
Ila
·U
"9t
..., a.1
II»
·~"""
11.rs
·r.l
t;.ll
a&S
f'II
rc:cm
Ult
..
Q
il/A
C'Dl'.ult
V4•
11114""
...
·U
:;,;.c
l1W1' m•mmr
no
mm""'
'lb
Ult
...
.-11.
6CI
L.el
tm:
W
AW'
IIIP1'Cat
i.-r
DI.
I . I
(Z.ll'T,)}
(UD.S)
tjlftff<R
tv-mou.-,
HfflCFOft 1.1H,1
Bit
01\lel
ftffllrr
..
4
-..aca
~r,ci
.s
12l•lD
.,.,so
1'Qi1
_1_q
.
l'fl
~,
UMlilOl•t)
,_
e,:,.,)
••.• ___
• _ -~.
_t
__ , •• ( •••••••
&ftf'f(l)n
.
Off"f
m,c,n,
IIISW
ll
ISIM·:U
e 111111
t
t
tnrn-1
O'Hff
S
m
,,,
..
JP!i
UtrDA::a
Jf~,
,,--m,r,-~
U»·
1"'4-tl
ttt'WM
OU"
3/ll•il
tn'
ftt»M(fU
ffl"bt~tt
uw
v.-.oi...
"'fw
1~
i'
m,,,n
tt,t~
.,,,~m
t1i,W
lh,_,B'D)-
~Ht•~
•:m-
IIIM
7dltJ&
'1'1~44W
..
tlttW
tn,.
,,t,9f
r~w
C,.~lJ
t-iW
11/M-W
ffftwt:11
,.
....
ZWWll
•nMUtOd)ttt
tfW
1/lli•SI
,,,,
..
IW"ntOM
trtmln'
,,
..
nnnf'(,t
H-n,tM
LaNI.S
L·n
-cu·
I I
t1n-aa
ll/~C
II
J,,,t
jf')
1114-40
.,._,
••
...
.,.
t,,.·
tr
L·II
*"
t,:r"'t
l.•ta
uw
)'11" J
n;mrmtr}'
•llP'
EJU.aJ"4
)f441ffm·•
Jf-.dnntr)
;;JP=
.......
iOA
Jt-.WtJtTt1·,
tWr••.unu,,
.,.,,.
iiJ''m,-·-r,
,,%>ff DalJ
nnttlt-lJW•IO
~m·
tt·•1,1r.
c"I\Fffl'-
t,,,-,tH(,1:i:
Ut,tr'
lf"f.tt,_,.•
YHfl)'
t,,r"(ll(M')(H)
,matt,
,.,,,,,,l:Hf
,~n,mn
tK,t,-
ilmi&it
t,JA-(s.iu,11.2)
tni-·
ffl(C,-,t)
an.,.•
ft,
t7'
m-1;1
W-lllll:U.•tJII
l7'
m•
WW
ll{M-11
>
..
,o , ..
.,,.,01.-4
II/M-411
WV~
t11•4
w
I 1
II~""°
u.
S.,,Joi.l)
a o- .
UD.I)
lr.(Ll-16.1
ntt••'61w.-,1:u
L-H
C:ii
W.1
t
.I I
»r
&.-'J
1
1
1,.11i
Ol-t Iii)
-~.
I
I
,.14
l
a
I
2
I
I
I
J
Cl)
u,
I
I
1
I
•
I
J
I.
1
:I,
I
1
I
I
I
I
I
I
I
l
l
l
I
l
l
l
l
•
(l)
tv.MI
(IJ
I
I
I
I
I
I
I
I
I
Cl)
Cl)
I
I
I
I
•
l
J
I
I
4
z
I
I
I
I
- 12 -
Page 16

24-@
12
-18-
Page 17

M't
J
2
!
..
s
a
1
8
9
10
11
12
13
1,
ts
16
IT
Iii
18
zo
ZI
23
23
14
25
26
27
28
29
30
51
3l
3S
34
35
36
31
38
39
40
41
-42
43
..
4ft
:a
47
4U
·"
50
fll
52
.
SJ
54
5&
I!)_
••
11]1!:
•••
•
PPIJ.'19, •..........
Z13•BOOOO
213-34909
11811-061-000
CQ-20:aocao-oo
IS-6 l
104%0-SP
113-36600
213·:S67Ga
SS-'1111810-TP
c»-zoioooo-oo
213-3~01
IP-Hn~l6-SD
SS-6090110-1-r
IOl•lll02
%13-7MOJ
::&l.3·34701
soI-oiHa
l01·1M01
IS-61G~SP
ffl'-OBS0002-SP
D-SDAHG!-Tf>
liB3'-liU-ooo--A
llS•~1
l04ZO-SP
213-87055
2l3-~00
2l3·!3SOC
it.i-27307
226-Jl'fOl
SS-616U60-l'l'
BJ80l•6l5-CUO
SS-8
ll
GGZ-'IP
IIB-CO•OSI-QCJO
01
SS-8Hill~O-TP
113·7~104
SS·8Ui05JO-'IP
01
!1811-051-0CO
SS-BGGoifo-sr
.SS-1660530-TP
1181&•051•000
U-l!SW
S8-ll51160·iP
&Q·1Iff4ol-iz
ll&-11900
IS-Ml!OUD·'I?
Pl
JOl·ll104
101-08700
01
fil
101
-illiiilw
Dl
1O1-lQiOS
lOl•llOU3
01
01
101-UZUl
l0l•J25011
01
61
IDl·lZ&O&
4DO•C1Gll
01
130-2-WOa
+03
lS-&150710-TP
..as
:r.13·34552
.03
10-"1?
,!J.
~
~
.c. !
HOOi
mPT
WE
T!HiY.R
BOOI
GUIDI
C£WrX&CRIIJSTUll
OIL
WJCl
KUT
ll/64•40
tiulhf
Ax. (t'Ol
I
NlfER
800(
SCREI'
I 1/114-40
OIL
l'ICl
I
Nm
ROOJ;
trol111A
XCHK'll
nmuSt
lOOJ.
aoox
Ww.t:
SA1lWJ:
scan
WA.m!R
scmcr
OIL
ml'
1WtK.\JJ
Al.WUIWI
I.Olll?SDMT
.i.oim
1'.WNGIR
Senn
BUUJ
scam
,w
SCR!ff
V!RTJCAL
5CREB
HOOl
scabf
SCUii
HCOX
gem:,
scm
!.
9/H·-«1
1w11K
~IW'T lll"l'II
,11A1T
U~TALJ,llfG
l.'ISTALLJIG
16/64-2&
A.&X1R11.S
as , .•
ADJtihiic
11/IW-40
nu
SlW"J
IIUS.IIUO,
l6/64•2i
KG
.i\SII. , Irn:ntnlAn:
. 1~G-'·<l0 L-4
11u
16/U-i&
15/64-za
lRIVlll'O
tA4o
1/4-40
'DRJVIIO
l/4·40
Ui/64-ZI
ccu,'llicitRc
OIL
PUIP
&CRY.I
TtlRUn'
TClWSTWHD.
1/4-40 L-4.5
J.u:m:R
1'llKf.AD
GIJIDE
t.-18
CUTDE
fx&I
La
1.
L01ER
u
Bil
un
noo1
IOlklll
UW.
L-lO.G
rcncom1t
L-10.S
BU
C4I
i.-
DAn
c.
t.-~.5
Dm
i.-a
L-1D.5
sr.m
SllAn
l.
A
TliRilsflillliR.J
uasm
m
'n!RUST
THRUST
TEUWST
?fl.RUST
'flilWST
ffOOl
VIRTIC.-\L
SCRr.l
TRiiUII
'bSKD
~ER.
1WHD
iilkEi i . 1
»tJVJl(G
15/64·
CtrrTTICG
Fm
1. 1
! . l
1
l,
SB1n
ClU
1a
HOOI
.'.,.!.I.~ , ...... ; ....
(IIC111')
LIil
{1-\ltf)"
tw'f1~fl"IJ
1w,
Jt:r
11,im~
AlUS
ttmtiCJ
SiAFT
tii"riR9Y
ttt"
,1t,tr l l/64·40
.i,~
ttt·"f'l~U
t,r:f
T, 6
3
ltTAL
XETAL
BLoci.
Bl.OCI,
1.aso
m.
'IITU
U:UlU.
,
WR
S
.c.1
CUR, mr-.u.
a.
J
GUR,
8
6
GW
(1.6)
L-'1
ASK.
UPPD
LOnll
uaot
tJU"
tn-n~~
tTY'9yjJ•CM9nJ
nrn~~•
j#Ji,tF,lb
,n-1r.f~j
tnr
tff•t•
it~JJtj·
.1h•
"'*'"'•
.ft-Unet~l
nu·
,..,.,
SWhk~H
,w
'I-it»"
""",
t-ilJY
,.
!-A,·
,.~,,,~
1-~,·
,!-
~iilr
·
).Jll)•
J"-1
~;A)Y
1-iir
fJ.•t
·~.¢"JTr,
..
n,•
n,•
fd'
tt,•~JA,
n,•
*'''
n,·
h,·
kt)'
r
•i1tr
-IJ.\9:h(U)
l .
_.,_
. ~ ..
,,.
i(\t·
rnl
tj~~t"
ll/6'-40
T1"M9?
.I,
3,7&&U
9/64·(0
::t:JJHJ
H I
115/M-ie
t
8.6.XJUJ,S
II,
f!l•t,b·
11/64-40
t·)c1r-1,,1-,o
rr
,'IT
'r-,n 1
15/'4·2&
ti:AJi
11
/'4-.CO
!I•;"
l,Jil
1s/~-u
15/M.:za
tr,.,-
IT
IJ,l.,4u
1/4-40 L-4.&
U"
11r
IV
J/4·,0
16/04-za J..,10.5
&,$ff$)•
~>"'
l/4·40
t9Jl'I-'
'9~f"
ri#tl
~J''
t9~·
n~•
riffli
~,..
11~·
X1lH~
:,c;:;O,-(J
x,;1BJ
ljJHJ
X,X).{.J
:ff~,(~
x1~J
J'1
t,r' ''"
t,JU(
1&/H-211,,,1
1.
••••••••
)
~
Af.¥bf>
r,
i.-11
L-7
.5
1.1
Li-30
t-lD.6
,~
I,4
t.-l0.6
i,.4.,
1.~.
i
Lal
1;-4.G
1.8
A 1
I I
I.I
1,
2
l.'
1.a
j I. 1 l
11.»~911fl • 5)
OJt
0.01
D,01
·r
1
t
l
1
I
1
1
1 .
i -
I
I
I
l
I
l
l
l
l
1
..
I
I
I
2
1
1
s
1
1
I
I
1
1
l
1
l
•
IIOT.E
(H!IB)
02,
OS
••••
S!l.tx,TJYE
.•.
OPTJOJ.U.
i'Ql
,ARTS
PARTS(fCR
L~·J6101C!-1
I.tJ-16lOI-?)
01.
•••
-H-
DllR.9~
tT
'9~5i:V.(LlJ.ISION•1,U)
t.0-151DIA·7JU
Page 18

8.
TmmADCUTrlN .
l,\9]1J11Ji1
OCOMPONKNTS
~-
)
• 1 5
- 1 2
I
-15-
Page 19

~.Jq
• •
J!:211
••••
r~
to.-
•••••••••• ~ ~-'-
~
J.1.
r
.t.
l 9
.1
••••.••.•.•
.t
•.
r.
_-_.
J
•••
•••
__
9t.T.
_
l
2
..
'
5
6
'I
a
9
10
II
12
13
14
15
HS
l7
18
19
20
2l
22
23
24
25
ff
27
Z8
%9
30
31
32
33
,..
35
.!6
37
!S
39
<10
41
41
4S
44
46
etC
,a
"'
,s
60
6)
&2
GS
54
ZlS-89200
~1Mmsmio2-TP
11'·0310501-SC mn.Dt
all-69555
ZJ3•19S01
213-89309
213-8!1.«>8
~S-7040810-ff
ss-,oao,10-SP
SM-60412O2-TP
ff
.0430100-M:
213•54907
cs
..
on073t-so
XS•BUU-Ul·n*
213-~601
iS·TllllZO-~P
2U-6!150
Zl3-S3701
8~·8110510-~P
21S·64006 't'traUD CU'n'JJ~
101-tAsR
213-53859
213-53909 W
U2430·656•UOlJ
2%3·5:IHOU
D:t4V·565•BOU•B
C:S·07008U-~II
C::S•01U081
SS-8110610-SP
&S-6151812-'?r SCRil'
l•SK
IU-t.tiot
213-~4Z04
Bll·064032fHiP
SS-81111.&0•.SP
21!·.!£911
SS·M60612·tr
2U-3D7C5 iOCllliO
SS-6121110-ff
SD-~40325-SP UirGI
&D-045404R1-AI'
21.1-5S102
213-54600
S.S-6161°'40•.SI*
Sl•6040a02•TP
U3-ti4?09
S.s-tllo1ld-1P
Hl•O34G4O0•0A
HI-03"6101-20
L\-D~OO!0l·00
228-20301
JOY(IG
scan
F1Xlffll
111.lNG
YJAUiO
CWP
&CRIii
satn
Scrmt
tisltfli
ltOYUIG
tlRUZ>'T
Sam!
'?li1U'.l'O
~gijj
VERTICAL
'IERT'tCAL
8CRl:W
DIFt
nxo.
s
ll3
Ulrl
Ull"E
iRu:s
SPRllfG
S/S1-56
11s2.-S&
14l0.'J
Ut
UJFE
COlJ.4R
11/64-,0
CUffJJC;
11/64-40
!'ITTING
FITTIMG
1 L/64-.tO
Hin
TICREAD
.SW
nl~
CAJI
TKRUST
TUR\l~"r
SCREW
coor.ctlR
STOPPlHG
BIIGE
&CU,
TKIUD TRJDER
&eiiilr
SCRElf
amn;
ROUER
IUl'l(i
CUTTJJG
kOl.Lbi
COLL!R
COl.W
ll/64-40
15/ff-ZI
PLATE
SCREll
11
/G,C-.ffl
1/4"'40
ARil
3/16-28
sw.F1
Hln
(RIGHT)
samr
UIIGIC
IC'Rf.11 0-6.35
fflilED
SOLEKOID
statt:I 15/S4•11f L-10
sen,
iOLt:f«>ID
sci!I
TERIIW.,
Hr#JSlfG
Cla!LI
P'IJtE
cuffiiiC
i'lfflKG ru.n:
IUO.
7
COlUIECTIIIG
11/64-40
n:IALI
12P
!AND
HOLE!ER
sl-1li1Alo-1f 8Cltl 11I6'-.io
2lS·90208
'IP·OHlOIIHiD
lt&-0610002.·IP
IZAIIITIIIASCI
ffASHD
SPRJll'G
SPRlllG
S.2Xl!l1
WHIR
1.-s
WI
(BIGBT)
IUE
(llvfl'J')
T.-
5.5
t.-
&.fi
L-12
ltun'
lr-4
STOPP.ER
L-io.s
WIS
WIS
t.-5
DRIVUIG
ROU.U
ROIJ.D
ASI.
D•?
ff•8
L-S
L-18
L-11
C'.AI
L-6
L-U,&
SOWOIP
1,
...
s
C.
e.s
t.-1e
(RJGBT)
A.SI.
PUTI
ARI
.uut
D•7
1•6
n-
4,B
PLAT&
ASI •
•·t,c, l
o,mtt·
t,r
:3i-Ul~·,.
.l~,.-,.
:iR:b
,,;~
UtnY
•Attn·
a,tnW,U
t1f·
n 1310. s
i° t 3.2XTIO,G 2
{(tir
f(~~)
i.-s
)(tt)
(I)
to
~·
f'
J :zj·
t
3/lZ-56
3/U-sa
jil
W.
7,•S.5
ii
(I)
5 Cl)
(1)
··,m·,
;i;:i:t-tt 1
.:jl'"
ll/G4-40
.,.~,:tb-"'
di:,:w
r
r
Utt" I l/6'-40
,,.\,,
Ju·
{.\f1''7'(f~)
tlll!Y
tln-,
{~~f~D~t• (
I
2,~·
~1-,n,-,cc,tJ
~,•
·
~..,,t,.-<
...
~IJ
.i-P
·W,
t (
YI
m-,
x;x~~t ll-T
x,i~l)t
~Jl»'
u,tnu·
:nur
t.:-t,-tJ
~).1,,.
t.7*1°
.fl.UH I
kiir
39\. •
t,tr
~)»'
r)
~~\,;t,1~F·
n,,
tnr
rr1tmt"'1- 2
Y~Ji~'~),1'7' I
t?:W
jXt·.UI ,.. 7 2
~w
1tt"I,..
~2t.1i:,jfJ:
lliE;-U· 1 lJM-.(o
~-,~,-.
tjf"j"l
,..
)-T
11/64·'8
,._
MS-rliJ
~,..,,
l
1/6-4,-,CQ
174-40
""''
( ,
3/!G•U
...
T D-G,35 Oa4.8 l
•.•
,,t<t 1
H/M--211
I i/U-40 t-1. S 2
>t·
ttit
)l"
""
8.ll13XI Z
*'.
)·)
L-4 1
-(!:.~
) 1
uu-.1o
c,
y,•
1-a
t-ia.s
L-5
,.t
,-a
LirS
1s1M-11
L-IJ
t-i
..
) 1
L•lG.5
1.-10 2
t-Is
~·UJ.O)
c n
(a)
(1)
co
(1}
(I)
cu
(J)
O}
(2)
2
l
l
i
1
,
,
I}
I}
1
2
J
1
2
z
1
1
l
1
l
l
1
I
2
-18-
Page 20

9.AUro~nc
ei11,~,..
31
t1
1
BACK
m~
COMPONEl'(m
~:.
10
11
ti
1S
14
15
iii
n
IS
UI
zo
Ji
21
Zl
:u
ltl
n
21
ia
%.9
lO
Ji
r
t
l
4
Ii
Ii
1
8
,
)!>
__
-~
___ •
l'A-:1%01502.-DQ
D-aGIIGOl•n,
IP-OG41GO
21S"'4DOJ
!ll
·IOaoOOI
1H4Uoi
11-n11210-sr
211"'8TOI
!IMJIG040t•TP
IS
·IISNJO-S!'
$ii-U.UUtS-SF
1!5-GGI02
~ -
1Zl•
&s•41Zblli-!IP
lOl-idiOI
101-10004
lll•U&Ol
1$
·7111110-SP
PJ·301Hlll·IM
Pi-ollmta-ou
lU-41110$
41SO•Ml72
D1'U
W•IUSeTOO
!I
ZU-'AMIG
ll•CMMOO-CA
ss-,a10Ma-SP
'ff
Hi-ofZ'5od-
~N!T
. '!l!
__
J-SD
SC
TlZOT«CI-SP
SCSOOJ
•l41-P.AD
0
UUbAl-bo
·OSOJOlll•b
bD
. _ .
__ . __
11&
si..1tDMJ.aU
timElll
ctLIIDD
IIUTU
tln'IWWI
latf!II
MCDtD
Blait£ClaD-I
IUT
Hllct
RJ:VDSI
ICICl.1t
IPRIIIG
DIii
Mi&
&PallG~IOI
l&CI
aac~
MIU
IOflLiil
CTLIHD
'IWt3
TO?ICI
2
.,m.r
e:mtmu
S'ltl'CJ
TUJSMJ.,
acmt
fllct!R
flH
!,
T-
_
s.
rntDD
mtnCTtG
15/M·H
Fm
llim,jll
1l!D
UJS-211
~ISEIH'
3/lG•ZI 1.-'
UUR
STDPPII
IJ/Cl4-40
VIHJII'
PlC"Jer:
ID
srtTC8
IIXI. ffl'TC8
· PWli
IETTIS&
~l.r.
ll/64.~
suc.sx,
iiklu)
LR.
1.-IZ
LIil
&,.
"T - ·
r.t
a:.
L•
C.•I
COVIii
PUTI
1.-'I.I
1. r _
S:Cllil
..
a;-
(l)
7,0
I
ASI
.
ASI
T_
!
_o_ ~ .....
,
s
:s
__ . _ • _ L
rr"w
ntn'Wtf,
_,.
tWriu-tv,
)t»°-tmiT
~,;n,,,
Ttt,W
•·wm,,,,
,.nr
mtM 15/&C·:zl
":1.Jr
4•
'"'~"')'(
ut,.W
~11·
.,..
Ut
t,
•
tr
dUW
.-
wans.ii.· -,..
,..
,,.,,.. -;t).111·
Yitfir
ilU,-·
tr,J·,.·,\~
'"
.,,,..mf1'(7tf()
t,f,1'ffl'7f(H)
U
T'WtJt.'•
YHSJi'St'
:.i,,,.,,t(f
,r.u-ua
•nu,·
'tit't't
,n-,-RtJ
__
L.
Jli/64•11
DzSH-4
M
n.s.s
J)
i/16-U
3/l&· U
iJMt'
U/Ck•40
~·,
11/M
5XIO.Sll
4..
11
L-'f
J.-t
>"'
itt
•
·
'°
_.
...
L-12
i
Lula
L.on
______ ~ _
I
1
1
l
I
I
1
l
I
l
1
I
·
o>
(U
O)
(l)
2
. •
I
2
)
-
1'7
-
Page 21

2
WL~-
l
2
3
4
!i
1
'
a
11
ICI
ll
ll
13
-
_;q"rJ_
- - .PW.~
Zl4·414'07
SS-7 U091D·TP
ll3-UI06
SS-71
1rP-037l01
ni-O34Ci401)-QIJ
2t,-..li°'1
U(-41308
IGl-604000J·H
161-604000!-Slf
..
- - - - - - - . - .
IO&TD-SP
I-SD
mr-m:too:GAA
IP·Ol'ii01045·tiC
BX•0012300.0A
0
.~
~
_r._
! ].P_ ! .•.'! ~--
~OJ.POI~ Jffl,\U.IICC
liatn
Ttll'!!Clll
SCRff I
IJ/'4·40
RELUSE
J/H-40
La
1,5
&:OLEIOID
t,.
4.8
WW:R 3 .118Xl
PlH
di1AS:1
t!IIS10tl lW.U$K
COUPJ.UCG
JUTMIQ.1
al/T
1uo.,
lllt
ittn,
l'MK!R 5 X U l I
Cll\l.'K
Cl.IP
rt.All
..... -...
-·
.. ---iiffi7tpf;f
~.
_.,_.
L . {
7l,/l\."l-:11t.f,
,Jt,.t,r
,fi-Ull11o)(
utnr
tff·
r i
11/N·CO
••
11/64-40
3.
usu
i' ):riJ~j.
{~W9
nTnr
GHt1t-
6ttt,~
~-
t-T
14
14
b"
t.511411
.fff1T
(ff·-----
.. -...
1.-8.5
~.a
-
.C:~.
1
z
1
2
1
I
1
1
1
1
,-
1
'
-is-
Page 22

lL
TB.READ
AJl-=fliUI
'l'ENSION COMPONBNTS{FOR
(LU-1510N-7.IU)
r--------------..,~
I
I I
I ,
I , 7 I
I
l •
I H '
W-J&JUN-1)
22
',
',
2,
f'·...._
~13
,~
',
6 I
.........
1
,J
14
',
...................
I
16
"-,
',1
I
I
I
I
11
~
. I
L_.
_____________
IIF.
ID
mrl
Pm
m.
I I
.S
C I J t T J O I t
--------·-·-··················------------·········-··-------·---·----
J 21'-410CI
2
J IOJ-10101
..
I
I
II
'
•
ID
ii
11
ll
..
1i
111
n
ti
II
ZI
i,
zz
ll
,.
u
u
214-41050
~•ia-,zo-ooo
Ullt-HT-~
"UID!oii-&So
121-IIZOl
il-3
t~
-ou-ooo
12G•1780S
R3lil•UG·C~C
Di2d-I S-555
IU~HI02
I0l•M:04
107-tlJDli
110-«&101
lid-¥UbS
IJlM-,Zl-430
S&•30licrl'
S1Ml470211•SP
H•l5l11>310-Sf'
li.ilt:-&B-1\oo
~-'?lU,910-TP
P8-0IC05l'li•IP SrliltG
01
su-.uso,
IOJ-11107
01
Do-o14b'
IIO'tB
(It~)
10-TP
THRW,
TIIIIIOli AD.
tUSIOI ton
sar:1 rm
TDSICI
T.\D·'llt
fidDi
T!ISCOI
mu&DfflSIOl
nm.II
TDSICI' IPllllG
mtlflNmnsFd
?IID&D
nmD
PUST
=
mSIOll REWSI
scmr
!l»a
m
U/'4·40
ffiWOoai
scmr
coin..
ll'UllG
IPII.S
fliiiii
THIIOI Jl.sl
TDS
TtQ
ffllW
TDSIOJI
ftlSloS
D/M-40 L-1
SCEr
1110-t-,o
PUI
GalJZ
awn
IOI
IOI
ffllSIO! Put&
P-4. T
iiif .
PU,
,1u
0.Z)
UGI,
l'Off, A
'11l!IC
rut
I.ml
i-
mszoam.u.sEw
TDSIOJ l:EI.US!:
'ft\UIU
01
ldillst
••
,
.m.r.crm.
Ill
iii
,.um
mt.
,.
PIWD
IWt
a-z.e
a,15
--------..,~------
~
OM)OU
(•r.t,o,-.r t J
dt-111i·u·,
<t~,,,-
*
,,,,•.a
,fl,Uk)(A}
(t-fJ.,,,
,n.,,.,,,,~
(t-tJ-,
i>,1-m
(t-hnnt
,.
r
.-
,·r~
TIH
ti-,
nF
,...
i
,t
fl-n,1:s-n· -
u,.,.,.,,,.,
(11-
(1')
.,i,m"·
, .
.,
<•)l~j
IQY
l/04-4D
,-
)'*Y
l)a(,
O,H'fn
,.
,,u)r
1TJ)rt•)
.(f,J.U,t~·~
.(I.U-0&"·
11/14~
n, ittJ-W -
11/14...co
(j.U~-,
ii.RN
f. 4
n
~'
·
z2
s~-j
,.
i
,,.
1.-1
J
0-2
. I
m1
L-R.s
I
..
i
,1
.....
-
_1
G11
-·-·
1
(I)
(I)
(l)
(U
tn
(Z)
(4)
n,
(1)
[l)
(Z)
(I)
(Z)
10
ij
0)
(I)
Cl)
(
I)
(I)
i
I
l
I
I
-10--
Page 23

1a
THREADTBNBlON
tt&l-r9
CW-1510N'A-'1Ji)
COMPONENTS
OORLU-1510NA-'l)
8 1B
!IJ:.:'!J
..
-~-
...
P!¥.'fflJ•
400
1
J
3
..
5
I loS-mbi
'
a w-nao1
'
10
ii
lZ
u
14
15
n
11
u
11
%0
z1
H
Z3
Z4
t5
}I
01
D1
3!1!131
U4·•UOISO
10,-2110•
Hlit-051·000
ISlS1•Ul•W
US-ll!Ol
HIZG·OlZ-000
JSl:18·5.H·OOO
HJ:o-li~oob
118-55!01
lOJ-::UZOC
10'1·41lot
110-45101
UQ·1zid1
Ul-41100
Sl•-MJSDGl0•S1'
51M)'7CIU1
U·lllOSIO·IP
bsiH-IH·lib
Sl·7l1031D·TP
l"S-0600502·11' 4"'-lltG PIii
2.IJ-41ZOI
IDS-%1107
J~..C~
l'OTI
•••••••••••
•ll'
(~I!)
D.~f.C_l!J.P. ! J.4 f
'tlllW
n:l&[l)t
1DSIOJ
QDfmJl>
fflilE&J
TJIE•t!P
HD
ttlSIOJ
'ffl1W
mw
fflSIOI
16rlfl1C
1HlW
'fflU&ll
nan
"ffl1lW
'riiitw itBtoX
'lEXSIOll
ACll.1'
lUIK
JUT
niiwoliibi:
iCil1P 1
· · Tr.L~IDJ
'n:15101 IIIJ:LSl
tr.isloi
OJ
POST
T.\IE·lll lPR(II;,
mll'i
ff'li3to11m m
RILtU1
TEQIOX
ma,oa 11n
Ulli;
TmlOil
TDHID
ninAJ11DS101
TDl$101
JD:LE.U11'1.llE
1/1·'4~G-4
sam'
U/64·'°
t/k·CQ
•••.
Sl%.mt9E
3
COUI.,
ffli'hl
M.7
IELUJt
iiD>lU
illl.
GtnDI
Pll,
)ISi
PRmP
(l.Z)
UOII,
POST,
£11(111.
aur
B•l.a
l.•
a
.s
BAI
lil
m
PJRf.S
.I
4511.
.6.
tUll
.A.
,un
11
.,
·,.,
8
8 8
1
,k
~-~~
•••••••••••
i"
t
••
'I
••
!
.. ( ........
(i,snc,t>
{l,f.t>(tr.rt)
.,,.,.,,..
,,.
,
{),.,,.. J
{)..,,..
, r,u n
fi.f.fi'
JJ'ffl
~)CA)
F
.,~,,-m
("'atfflt91
I'·"
,..
)
,-nfl·fii•
ft,hmtl(J:0
J'
,{1,(1,fl-.tr
,.
4'
.,,.
J'
~
.ff
I I
~lUf
t-·
~r
J')JY
~,,,.
41
y,at,.i,•
'ZT
"""t"'I
(1-:tlmt'
41-JU
·™'
Jaffasa
(l
...
,.,
'"
-(}II ttJI' l
..JFtiff
1/l•,M
M.T
ll/M-40
4t-fll·H'
ll/M-40
'
m·-
- '
fh
N.I
l1i1
1:
"''
'!t.
l
(I)
(I)
(I)
HI
(Z)
(4)
(1)
,Zt
1
•· • ·--
W.4
..
ts:U
L•l.5
-
-m-
(1)
(Z)
(1)
(%)
lB
(
1)
(J)
(Z)
(1)
(J)
z
]
J
J
-20-
Page 24

13.-LOWKR
"'F
~ft
t IHlllHI
THBF.AD
WINDERl!BCHANlSM
OOMPONBNTS
n,,
m
mm
i-m
.,_
, E S C I I P T I O
If
t , , 4 Qty
························4······-------------·------------------··-~---·-··
JG
II
·U
u
14
JS
II
IT
18
11
20
21
22
2S
14
:Ii
u
21
SI
Jt
lO
l
I
s
•
I
I
6
'
9
ZJ3-HN7
W·J'UJM
213-GHSII
lli•l&ll1
ue-aazoz
iiS-HWI
IIHt•UO·OOC-A
IC$•1830C
ZU.•11:IOI
IUOS•SI0-000
Iii
41-tQ;-titlo
1t1:•
CHO'J
I I
R.E·D6000D3-l0
•II'
ao-cr.s,os-oo
IS•'Yllll'IO·Sl'
D-ii-ic51b-1P
141•lUCS
"·lllCllO•fl'
I
01'
•
Mlol1T
'11·IOl0601•TP
n.111o11a.s,
J)3lll•IU-IIDll
WJ4·041·000
1'3•Tfflll
l10•Tl4DZ
SU-1040lbO·Sr
U5-HfCG
JODII
DIV(CI:
JUUII
IOllDI
WITCXIMPL,
J10Ura
?XIDII
U.ilff
$ n.m
1KWII
lmlCALIIDUDti.mn
JODII
An.
FITTIG
e&1
LIYD
mcr101
IIAStS
sun
,oar SPIHG
am
com.
QUHJOI
d!lliC
llrAJIIICi
IMU,CU
mJDllSG
nm
m
Jmll
satll
IDlltl
Satal5L-O
l1tf ii7A-U
'Tlllt01
EO!B[I
l!D&D11:Ul01t'OU
TaW
IIXG
11/He.40
L-n.&
1,u-iu.::
DlUffU,&
11/'410
71tCTIOJ
flRII
TDSIOI M
IPIJJG
~-
10.I
TD~ZOI
,.o
ru:n
III1:Ell.
tmPL.
IIIUC
Em'
IIJiR4bt-1
(}•rtf9'~ft
tnr
11/H...o ._.,
it-"~"ri,
._,q.,-
mo.I
14
I
(I)
(U
(U
(0
(IJ
(I)
(2)
(I)
(I)
··---m-
U)
(I)
(I)
'l)
en
(I)
s
I
z
l
z
l
{1)
(t)
(J)
[1)
(1)
(J)
(1)
2
I
-21-
Page 25

14.At1l'OMATIC
OM
UltltJffllf•
12
PRl8SBBLIFTINQMBCHANJSMCOJ'dPONBN?S
1S
18
~
ID
11
Jz.~
7
8
~
-~
!'!~
1
2
3
•
s
6
'I
a
D
lD
ii
IZ
lJ
14
16
IU
'!J
•.
-~ _ ...
,~_Jl!l
PA-4001501-DO
.nl·GO&JOO.Z·ff
113-6&606
IM-6080001-SI
aD-Ofios3t-st
21S-B!5H
213·56!03
Sll,6051002-TP
2IS•H704
I'J·30.CD851-01
213-6830&
213•"'40T
Cl•300ZOOO·Dl
SS-6151~-SP
Ol•001S&OO·QA
m-oo1Hbo-bl
...••••••••
1.IR
BCDt'U6
tn.lXDU
XUTIJI
RIIGE
l'litsstk
PBWER
samu,s10,a
SB1FT
ELBOW
citl11vr.1C
CtLIIIDD
AlTElfrl ml
SCIR
l'IRE
IIRE
P.~
f .c.,}
CTLJJDER
L,a%0
a>lUfECTIXv
staU
D- 7 .:u
Cinm
LlnlR
~TA}
STAJ{RIAR)
SEAL
lG/&-&·18
lt&Rl(Z)
IWWS)
.P.. T _a_q
i.iNkk .t.
UYER
1.-10
cn«>trt)
L-10
SCUI'
Q•
i .
B
!'
•••.••••
.J
_ •• l
•• , •• , •• { •••••••
:t7"J)J"
D1*nff:
.tt, H
,t)J"l'mJr
onm•
~
:,-
Y
P1*nW
>·
:n,'"
to"
,ffij,'
).•
tttZJr
1-·
mx1r
u
D-T.
1•
a,.1
J4
,_..
l--'"
IGX0.8
1,.,.,
ur
,i'»'1R(u)
,f»•lH(,,o)
.lt"
n"
1.194'-&(H)
t7*'°
15/64-28
J1't-1'~(2)
Ln20
19-3
•A
-I
_,.. ,.
L-10
.3
1--LO
9
-~t.
1
4
l
l
1
I
a
I
4
I
-22-
Page 26

11
u
u .
JO
JSl•IWZHOIMC
llrTE
Ct&E)
.
'"It
ldl(")
01
••.. cnrOl4
tma
-2s-
u
(4)
(l)
1
(I)
Page 27

lffl
(b)
01
.•.•
ll"Ttow.
r.am
-24-
-"1-
,,f,-,-1(•)
,lff
..
,.
l)-4.
tT~lli
111.-U>
(3J
1
Page 28

-I
7.
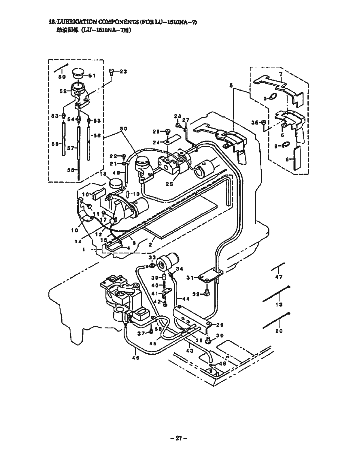
WBIUCATlON
Ul!KI
C0llPONENTS(FORL'U-161CN-7)
CW-1610N-'1JD)
6
/
,
.,
/
,-(
68
_A
13
/f
20
-25-
Page 29

~.~. _ -~-
l
2
:I
..
6
&
1
a
9
10
ii
lZ
13
14
15
II
IT
us
11
20
ll)'"
21
ZS
24
2G
26
21
ll
2St
lD
31
u
33
34
_. -~-19. _
21S-"57SS
2U-457n?
21J·.ff8OB
.2.l.J-'69O6
213•·H358
____
iU4Qbti
:13~6501
21J-4MM
EA·&soo!OD·CD
l1S·4'O1M
ss~tt
1oslD-sP
CQ-ZO:ZD000-00
El-9500JOl
213-47000
o;a-2010000-00
·OO
215-47208
S$•30806lO•St'
213•46002
BHU-OSl-000
.M018
•Ii
60-0QA
mu-tl!-ooo
.U·41105J5·SP
21!-U1657
13510-536·000
213-'5608
s6=IIIR01-wt
SQ--115045?·11Z
~-6t110l0-SP
1J3•A6101
1J3-4UOO
S&-1tiof60•SI'
213-4664>6
U-7110&30-Sr
iaJ-46103
u s.1•416091 S•SP
:U
!1
u
39
40
4
41
"3
44
''
4&
41
4$
49 136•30001
GO
5)
61
5!
64
65
A ili-.io001
ST
6a
59
60
2ll•4&lOZ
SS-4tsatJ
SQ-115CM5Hilt
.111040Hit
~-0
SS-4110GlS-Sf
U'T•IG&OT
IU6.34•
B12l4·0l8·000
s-sr
0048~-St'
l
S5•0CJD
as&ti-1&2-ooo
&,:-411°'16-SP
Sl·20U001-SJ
IS&-!0001
m-sooM
238-30001
138-3000'1
236-3000'1
236·30007
U6·30007
IA•iSOOtwl•OD C&ll.l
10l-2H03
JT•0600402•!A
......
ARI
ARII
rtl.T I
fACE
111.T
D.lf_C_l!
OICE
'llliOOCB
OKCli
1'HROOCff
Ol5CI
surfOHT
J.l'_
TJWlUQll
.&SI.
J'iL'i'
F!EDCB4i&ERLT
FELT
CLl? Ci•70S
UPPER
nm
OtL
PU.Tl
ton
m
JrllOI
scm
SCRF.I
nLT
lJRAm?
sn,
28 J.-1
SCHL'I
~
7 1,a 10
DAlt
1.-!
J.:G
Botm:I
~
Ah.
La
t-
Le
l.•9
J.--4:
L-G
pti.rJ
1.-6
&cRtil
OIL
C.ULEWD
Til£·Vl'
OIL lfJCl
tm-ttf
SCka 9/ISt•,tO
P!LT
F!LT
CLtP
bl£
sau:I
AD
on.
A1llCOitTANI
ll/64-40
l'llr.l
OIL
Diaklwloi
MD
RE'ltlil
11/k·.CO
ntt
TANI
s
t<m
cokifflfRli
COJXECTllf~
~CREII
11/14·.CO
r.mia
lf.A'.tJQN
lill11'WJ,
scktif
PIP£
SCREI
LUUICA?ICIN
SCREII
uiL
SC&ll.1'
COXIIX;t'Jlr;
COXJltx:rUQ
soon l
SCRDI
OIL
l'LUIUD
PLDXGER
YD.llf..U. ll.l.llGE
:1111e-zs
SUPPCRT
11/14-40
1$/H•28
1•1r1
!5/6-l·
l/lj-1--co
11/64•40
CO.,UC. DY
SfRll'iG
PD1iG!l'1fERU$f
SCREH
11/64·40
sau:n
1ao.
TUBE
TUIE
iifiE
TUBE
ME
'nrBE
TUIE
iOlt
TUBE
WI
OU.
TUIE
DCtJ)i'.R
on.
m1
t_l_c!,!1
OIL
Flt.TA.SU.
n'l.T
/.
1•11.1
run
tul
9.
5
l'ICIS!D
1.0
7,
6
3
n:J.7
•••
__
••••••
t
~."
••
1
••
Y-il)-J~97U~(,t)UJ•l510
7-.\"t)b~7d~1
Y-.lt'1b')7d~I
'hTt:,of.:a'7,d~
,Ul,ft.,;(t,t)
1
..
nn~
t,J,)t)Wu~
j-".Jti7d.
JnlJ\")}-"
OJ.OP# t.f
80
!I
1t'dW I i}H46 t- &
~»
'ftt.)11,•
)',"
fn·
)~·
t1o·
9/64•40
,
n.n
,..
iT
iJ%
11/M·"O
~$¼,ff·
ll/64-40
ll9Y
4'»"J,(1.d~
3Jlt•18
1/64
lS/G-1-:18.
XU
1ri1M-~
l,)t,.t,•
u
G4-4o
,..
I
l/G4--40
t,i11· .i
f-
ddJr
ll/6'-40
14XD.
...
-J.
>
•4O
~
21)
;n·
tt.a,:i1u~
''*'"
7-l~.z.,.27:J}
J\9$"
-~
1,t>11.")),·
-
t'1J:2f
t"•
~
7·.lH0>1(,il
"'
rrtt~·
1-JJ,(a.,)t
,~-,·
f '1.• r
l-)~l,.
t:;,.tr
~>H\~t~7%Jt-it1
:rt:r y
dt,iT
A•-fTttZ
Tit.;t,.- l
•2t29"FT "'7~
t-.·
U"
i-<.11r{T
t4'·
ir
fl-Tttt1i>•
f:i-7•
tn,-
)
,I
t"•
~
•Jt.J 1,)-t,9;."
Tj))"t•
.,.
,wt-
rJ}:,j•
,
....
u·
,.1,tt:,ty
fl-,.
1~-r
1=-T
h·T
'l::•T
h-T
h-T
12-r
h-T
1m11·)•·
,.. -IT
f2•T
<.
_ .. _ •.
0.25
L-5
W
L•fl,5 1
L-T
J,,a7
, 6
~9
___
L-11
L-4. i
L-G
i,.a
7 LalO
o.u
0,111
o.n
n.s5
0.-46
0,13
0,01
o.oe
0.12
-~.
J
(I)
(I)
(I)
I
(I)
(
I)
CO
U>
I
I
0.2
I
J
l
l
J
1
I
i
1
J
Cl)
(0
{J)
(2)
1
1
I
I
I
I
1
-.
1
I
1
I
1
2,
J
I
i
I
2
o.a
1'
L
-28-
Page 30

ts.
·L'UB!tlCATION
UN
(LU-1510NA-7Jd)
r---------7
CO>dPONEN'IS
<FOB
W-151CJNA-1)
/(
g_ I
so & 1 I u
62'.....,..,;~ .• I
~&sl
-58
l
GB
I
l I
I I
I
I
--~--.:,.,,,-
57
65
....
.,,..,,
-......._,,,,
~a
~23
J,)
I
I
I
I
I
l
I
5
-27-
~
47
/f
13
/f
20
Page 31

~-~-
-~
•••
r¥!!D
......
__
•••• , ,.,.~
_1_1_
r
.'.\!I.•
... _ .......
.t
••
t.
-"-.
1
•••
•••••
911
••
1
113-45756
z 213-45701
s
,4
5
6
1
8
8
JO
H
1%
)3
1-4
15
ii
n
II
19
20
ZJ
n SS-41
%3
u
%Ii
2' l.~-f
17
1&
29
so
3)
33
"
S4
JS
35
37
38
S9
40
41
4%
"3
44
(5
46
47
(8
(9,
&O
51
~2
'3
M
&fi
2l!-t5806
213-46906
Zl3·4G368
213-46308
213•4G507
Zl3·4640i
£A-B600BG0-0G
213..(07ll8
&!-11
ia!iio-U
CQ·Z02CMO-OD
F..A·9500MI-OQ
213-,7000
CQ-202000O-CO
213-4710!
SS-30110610-Sr
213·-'GOOJ
ll412-C51-000
M018•G60·001
D3638·11'~·000
LOSIS-&P
SS·6J l 1010-SP
:1,~101
11:!11-44200
iio16o-lF
113-46606
S.'t• '1110830-SI'
213-,5103
~-4150915-SI'
111-•Wl
S&-4150915-S:P
SQ•l 15045J.IIZ
SQ-111040
SS·llJOISO-SP
135:SH-112-DDD
SS--t110815·Sl'
13'1-G560"'1
)3534-15!;-000
JIJJ4-038-000 rWllil,K Sl'RJIG
Wii-6524100
Sl-4110815-SP
%J8•3000'1
~-30001
138-3000'1'
UG·3000T
EA•IIG0GI01·00
101-:6603
IT-0600402-iA.
400-GJSOS
bUo-W-i',a
113-45608 ARICrt
SQ·
11J0401 • 1Z
&Q-l
lS04!il
CQ-2s20000-no
-
!17
~
59
23&-30oaT
z,s-30001
F.A·9500B01-O0
ill
1£1.T
n:I.T
ill,T
n:ED
nLT
0.IP
UPPD
Um
O11.11c,
CillU
Ull•UI' 0 IL
011 wsa
iiit-ur
sutr.1li
IWTI!ll VDTICIL CIWtGi
.Ll/BRICAI
CODECI'IKG
HK
COUJ:CTlt\"G
OIL
$utal
on.
SatElf l
TUBE
TUBE
fillt
•17.
001 T
AU
OP
'IHROOGH
OICI
1ltROCGl1
I
fACt
OlfCI
tWlOUGK
.SUPPOK?
CEWGB
CV-70S
'F'IED
1176-i-io
WIJ
ui.iiliQJ1011
1,/64•40 W
FIL?
F!L1
CLIP
BUD
olt
RfflYRff
an
11/64·.0
~
l 1/5(-.&0 L-9
J.WR:ICA.TIO!I'
scaii
rlrE
1CRD
sc.:uw
olL
SCUii
scm l
PWSGIR
S}16-D
mrrQRT
11/64-iG
IOl'I
16/64-21!
FJL,.t:
£ffi
li/64-2e
l/G44C
Rl1VRI
l l/04--40 IP6
COKta.c.
A.SIi.
F!LT
OJL
BIJt
l'Llll
tum:
FELT
IIW:m
SCSEI
~cm,
mat
AIIII
OIL
RI.T A
FEI.1
I'Li.TE
L•!i
H<ltbklt
1,ae
.15
Pnt&&•;ic
L•
t.o
L=
7
.6
I.ti
.,..
i.-.c.
3
ROI.DIR
PWimffiOsttti.fl
l/G4-40
ME
CABUllAND
on.
m1
on.
TUJK
ARI
nrL
TAD
ofCst~
TMl
CO!QCICTIXGSCRPI
CO~NICTIJCG
OIL
WICI
TUll!
TUB!
CillolWD
L-8
liOU>!R
AD.
sa<i,
}'11.T
&SI. 7•.lt)J~m.l~(Jt)LO-lGlO l
1-u~,~'7dJ.A
7•J.t~J~'7d}B
'b1'
tW.i.'7.dl-
mJ.ftlC~!lJ
7il~ffJ:
t,
.,,)t)J-l7%1l-
~~
m,11·)~·
o,:t,s.2•·
dtHY
..
10
,1,
1 l/li4--'0
.1r.,
)'ti:~ll·
)··
j)t·
ttl.7
~.it· 9"'
,,...,
t)t'
)\.z~.J7d~
TU)"
7-Ab9.17d.
r.u•
-J'~
'llt.'I,.. )I,"
h,.2,
t'-•
:r~
t,i,·
~
9/64-40
Ls6
n1"t
1-·?r:h.1:
l
l/H-4a
ll/64·40L-9.6
,.,~)J(~:,9~,,,.Jt1
m·
r
o,,·
...
f!l.T
,.1E-H,-
,
..
fr
,,.t,ir
bfl~'fT7~,
t>-"
_.,..
~7d'-
37fC-iii
tf1
U/64~
..
IG/64-18
1iW?t1R
t,•
lY
15/M-l&
f.z·Tl,)tf))"
,:J-7"lt~
tiW
11~64-40 La4.3
bp.19
,..
rth:
t"-'
=-*Y
l t/G4-4D W
•~~.1
l,)'f19j'
r,wt-
T
,~,-
~-
~-
-i
--,~wt-
, .....
b.-T
f:,-T
f
:%·7·
,.
ffiiH·
ll
/14-CO
h-T
1tt)r.·
!it··
11•
,rr
••
i
f2-T
i-l~f(ft)
1r,
n-•,~·
1-U(~t
fl•T
lrtt,$,_.
,l-T
1,»1*Y
:1,~
,~-7·
h•T
h-T
1tt~o\-)J.·
6
·1-
0.1
0.15
a.-
L:ar6
t=,
L-1. 5 I
C.-9
lr-9
W
0.36
o.oa
0.%1
0.36
v.12
0.6)
(0.2)
(0.6)
(l)
{I)
(1)
I
{l)
(1)
(l)
(2)
1
1
1
1
I
I
1
1
1
l
2
J
l
i
s
I
2
ltl
1
)
(1)
(I)
(2)
(I)
,4
(31
-28-
Page 32

19.BELTCOVBR
,<)I.,
t-'l11"- •
&;
OIL
BEBRVOmCOMPONBNTS
tsbstttBOa
r---t"'
,~e'....,,
I u t
I . l
I I
L
____
..J
8
11
12
~!
~-_ -~-
1 ,11
2
J
4 a
, <.00-1.NN
. • --;z~tSC-UjM)il'mr---,om,t~UmlW'i.mlDIJffl~WWWCIIIB""--------'tin·,AJ-·~1°",.-------~.-
' JIIH•ut-OCJO
I 400
• ai-*ac11-u 1cm:1
ta
__
-~-'!>:
....
,,
U•tl5144D•st
ll•Yll*ll•D'
&tlCT4D•1P
ZSJGI
•-1a~01-10
.......
__
••
t
1,_a_
rm.
mzawm
ICQII
H/M·ll
IClmr lll'M-41
Kn:11'
11/14-411•
ou.
Nr
som
on.Kw.
OC.
M
mm.s
:sur
a
~_a_~
r
_1_
L~.
~.
__ . ____ . __
.a.a.
&.-14
JA
.a
G.!. >1ZW
S.•14
~.
_.,_.
L.
t.
____
. _
_1it1.
Trtnc,o 1
ttW
1$114•1&
UUW
v-m 1
7Tmft.l),-I
rr,11.•:,
1,,,14
11/14-411
ll/14-40 ~I.I I
lA
.I
u:rp- m.11,11,111, •
.,~
au.•
1'1 "
I
I
l
l
-29-
Page 33

20.DLMBCBANJSM
D L
iHl
(,t
7'::t
:s
COPTION)
:,)
IIMH
COMPONENTS
...,,.,,"'
,,,,
.,,.
/
(32--,_..,,.~
l
29
~-_L-7
31
Pl
.. ~ ••
14
Jil11J
•••
17
-~.119
............
/
~
5
~,,~
.
D.I{
/
3B
~
.C.J! J.r. !
12-1
.l.C!.
,.
35
!I
38
•.•.•.••..•
I'
I
30'-J
I
I
I
l
I
I
I
I
I
I
I
I
I
I
'
•
I
L .)
iFF,tJ
~.,,-c
H,rl
4·
1-Y1'1
'JA"
..
••
.
L
.(
........
~,;.
l
I
1
I
t
1
I
l
I
:a
I
1
I
I
l
i
(I)
(0
cu
m
m
(1,
m
m
~I
r'
J
J
0)
(I)
(2)
m
l
J
l
I
-so-
Page 34

3
13~11
4
~~
~- •.
"!l'!-....
1 W ·
;,t
3
4
5
i
1
I
SJ
10
1i
lZ
JS
1-4
15
lG
lT lll·II05Cl®l·SI
)8 D'•tUS0511•SI
)9
2.0
11
ll
2.3
tJ.!I'.
~~
.
SOSSB
Utl•SII09
nll·SIOGO
Z2.8·SOtoS
ZU•lOIO-t
sii.t16t11iTIS"-~
W·lOfOG.
l&U•2HOS
211-S0501'
m-so.cca
m:1ba1
3-'°51405-SI
N1MiOGOO
US-30309
Dl • SI
m-3tzaa
ft-Mloooz-u
IW-170:&00-SO
:tll
..
10059
i!J4JH65
1~2-taooo
131-G!ICw
u ISl•U:011
lG
Ml
17
2.8
u
9-'°410Dl-&C
NK-IOCOODZ•SI
SIi-~
120
I -SC
D·40UOD1·SC lt'Tl4XO.'f
IIOMiOC0002-SI
__
••• _ ..
-~
ntllW>
SPOOL
Sl"OOL
El"OOl.
Sl'OOt
bFi
'ffllEAD
SFODL
Sl'OOL
srooI.WJ.:OD,tJPPER
RTAIID
RE?AINF.a
I'll
REST
REST
i4
CUlll't
REST
RESTill
ffixil. ifsT
&r:Kn
15
sur
15
Sf'OOL
Rt.tt
fflllf:AI>
nus
lRliGliiMI
st'T
n
llut 11611
WIER
TlllEAl>
'MiiUD
tERllD
TBW
l112W
IDT
,cm
saam
JtT
JT130l2.5
GDJD£
liU°iU
GUI
GUIDE
GDIDI
•un:,
'"
M
IUO.'J
-~12
~
.s.
~_I. t !
ttlSHIOI
Atfll.
.T.
!_O.I!
•••••••••••
t-.i&
AR1
fflllff
ROI)
lu:Nllt
CAP
foj
iCIIIT
•
L-14
~ti.
LOlraR
a
,5
AU
AD.
W
DI
WI,
L0l1J( ff.tfff.Trl.fC,,l,-
W {t-ffi
.&a
JAn
r;.12
120
t
•.
·"· • ~ _ •
(_ _ •.. _ .•.
-Off19f:,~>
O'f\-7"'1,.•
{~"•n-t
.,.~,-~
.,_
n,\t,,.,
e,,ff'il
n~.-11ti~r
ntn·
fl-tfti'
f~Wt(tx)
?1-tfl·ffl'J
,,.
ir,.ttt,t-
UJ;t·
4
..
~,
,-•ff·i·i o,1D.u1.J
.,,m,1-xs
D1ttt,. 11611.6
u,-t· t twou.1
·tt·ff-nrn.w
?1-UUrlR
11-•Ht-rnm·
a,ttt,)
,... ~•,.
t,.•::2i,•
D1ttt11
IJ7.t:ff7)
li,4
'O'U"
15 L-14
115
f'C~l
..
rrlM
IUD,
ii
lao.T
IHI.D,
IClO,
c.1t
:r,
c:n
1'2
<,t>
-I
~-,
T
2'2
La20
T
zn
T
zn.
.
~L
1
(3)
(2)
(2)
(Z)
(if
(2)
(1)
(l)
(J)
< n
(Z)
(Z)
Cl)
(Z)
Ci>
(2)
(1)
(2)
10
(l)
(l)
U>
(2)
(25
(I)
(
(~
I
I)
-31-
Page 35

22.0Pl'IONAL
*7'Va
:.,r,&
PARTSW>DlTlONAL
C=m::i-1'
J~)
llfll
SPRING
FOR
PRES'mR.BAR)
/
COMPONENTS
~-10
I
a
3
"
6
• •
'1f!!I
•••
2IO•UG&oT
1Ui-61101i30•SP
2l0-0G408
213-.CJCOf
210•0l00l
-'~.11}
...........
_.
Al>JV~T
lroT
11/64-40
ADJUST
GVl~E
mFT
wtfST
)
~'
~
J!
SCREW
J
SOU:.
.A
SPIIIGI
J.P.!
.1.4 P ...•..•.•.
:
~.
·"·
it%1:i9t,)r
U1tH,.
it~1.11,t1W
,.
• .ttt1"',
tfJfatt,.-•
l 1/G4-4tl
ii
.
$ B
.f
•....•••
1t
.6.
-~:t.
I
I
l
1
3
-32-
Page 36

~:.~
••
-~-
_ • •
~).?:.
••. _ ..• _ ••
~
f.s.:
,.t
! .T.
LO.~
.. _ .......
-~_.>._ L _
_._
.•••.
•••
~l-
l
1
3
4
WH62DlOAO
\1>•0621016-SD
n-u1no002-:u
SS-7161510-SP
RUUR
1U..SHl:ll
&PRIG
a.UllXI
VASHER
fl.
1Xt2.ZX1.5
acur 15/54-281.-18
,,,.
"".
ttt·
1f
,..
tr:t• *
T.&tnr
c,~>
* '.
U.llll
IG
l&/64·18
L-16
l
2
2
J
-33-
Page 37

1
I
2
8
0
9··10
•
6-11
'=
3
~
'
r~-7
I I
I u
liR
I I
I I
L
_______
5
_J
L15
7
I
y
~:
l!J_ •. ~ •••
l
2
3
•
5
d
T iw-:n
8
9
10
11
12
lS
14
l
15
1
lT
18
u,
zo
114-11166
119
19113:-012•001
e,-n21ooco
JlCUIY-000-001)
,oo-aa,uu
02
2H-1G3&6
ZJ!a-33303
•
88ZOG-011•COD
isio&-Ol2-COD
219-UOOO
02
01
!18110·011-COO
2U-k300
02
2u~1ns,
01
EA•95008f>1-00
2U•9D307
CM-6001002-01
t03
IC-31:10010-0S
ion
_rl,l:J.~--
•!!006
1<101G-O2
c~e>
__ • •• _
•••
.ACCWORT
SCREft
OIKat
DI
OIi.ti
Dtx'fcoimtlii.
n&DLE
fUJGECOIPL.
YlNtJ.COVKR
FILT
RW5Dii
RU!UJt
CUS!!ICII
Al.VIOKUI
RUDER
CAin.£
PtXIftG
IEU
Sl3l&S
01
....
02
••
0~ • • , ,l'lJtl
.I.~
l.C.LI_
IIAG
DfUY!R,WG£
(9ll0)
Dll'Bll
OIL
sr:t1H
CUSUJOH
i.'uiilOfl
C'JmJOII
SET
WL
ttmBIR
HID
Am.
WD
11nn
CiAOOI
I!lFOIZIIATf0.1
Sl00
· 2
IW
O!il.J,
DUJ
AJCJ
, .
COll'U:rl
Ul•
P_ T _1_q ~-••••
4511,
JD.Z(700a:)
:1&1)-2 STS:,56
__
••••
t _ .'1
7'/'
lt)'II'
1-'
'U,..
11-r
7•11,,r.tt(HO.J(TOOCC)
t.aff?:z-S'
""'
t)Yt,rt
1-9T
1--r
~-T
~·
.&~,·,.
~·
lffll
SEttlT
10t0i
S.t'l
lll.l"ttt!
16Ulli·1
DuaL
Du.,
mer
OllLl
Olll-1
71U"
1
7A
-I:»°
..
1Jt)11")I-'
lJ-(:C;xt- _,..
nu
SD:SS5
lltl'1Jh,
dl'i&I
l~T
LU-
l 6
••
!
..
'Ir
(~)
-(~
·O
,
p•
t<n->
ic,~j
t160-2
t•
:•.0"
' •
nm
tfu•l
(ZOU)
t')(D4,J.1\)
"
h'•"
.()nJC-M
llUU·2
t
l-Jl!S;:Jc,,--,.
,-1-dl
tf
tD,;,.
IONA-1
SIi
t
.......
,..
,-
a-
-~.
l
l
t
I
I
I
I
2
I
4
4
2
a
1
l
2
3
l
l
I
-34
-
Page 38

25.0P'l'lONALPAKTBCOMPONHNTS(U
,t7'$'s
~UB,
(
I}
It
QCI
..
'
Walklno
i.fu-,•lpof
R,f.140.
1
~
hot
+ I
CCis:s:m
Ir
..at
prwaar
flDI)
Cltll111)
D
·-
Part
ao.
1147&•24!l•DDD
-
lt•Q
It
IIH(._o)
,.,
..
c,,:n,
,
...
a(I/U)
•. , ..
(1/4)
l.9
..
(5/11)
l.5•11(2/8)
l•f.Ne.
12
u
14
11
18
Pr••••r
foot
' i
ln~
Part
No,
01O0•241•0AC
11
&iO
•Ul•OAO
au:,o-ua-oAF
BJUO-ZU•OAN
81U0·t'5·0AIC
D
f'o r
.tH~:1!111
Ip
Ing
SI%•(••)
---·
4,4H(I/U)
, . a
..
0111>
t,ha(1/0
7.0.a(&/11)
t.1~•0/1)
-
Sir•(••)
4,ha(S/U)
---
4,ho(S/JO)
l.4••(1/-4)
7.
Boa(6/IO)
t.h•U/8)
l•f.Ao,
--
.
lof.
---
- -
(0
t··
ltof.No.
l
2
ISHH-2411•000
-
-····--
Bl'79·2U•OOCI
3
!JU79·2411•00,
4
111.ue-zu-ooH
'
i
lo.
--
OUH
G
,
11'U•Ul•OOO
IIIHH·lU•OOf
a
~104•U&•OOH
9
11
fl~)
~-
..
~-
11
D
Part
Ao,
-
18
Part
ID,
...
·141-00C
~u-zn-00111.
.....
1
B
....
P•rt
N,,
101-18301
4
4,la111(3/IIJ
l.4H(1/4)
7.-..
o
,.,
,.aan(Z/11)
t.4H(1/4)
'1.IHO/U)
•-•••0/1)
Sh•CnaJ
,qo(D/3fJ
i,.(S/11)
.5•oU/&)
Sl~•C••I
..
(5/31)
r:
Ref.119.
17
1B
. . .
u
20
..,
.....
11
u
u
u
11
"
hf.Ile,.
21
-~
\~
Pa.rt
aaa1
;2415.o~c
81S31
•2'S•DAD
111
Ill
·Ul5·0AP
11U1
·Ul•OAII
Part
11521•2.S•OIIC
1un-us-oo
..
11521
•2411•0Ar
11
U'J
·2415·0~H
aun-:u-ou
(11th
(H&)
f
Put
8U211·
llo.
- -
-·-
llo.
teuh)
llo.
501·
·-
IA.O
-SG-
Page 39

JR.Jiq
•• ~-••
_
r~
!l
.....
______
-~
J
.~
~
_a_
1_
r .T. t 9 .•. _. _________
.._
__
? __ i _ _ 1
______
••
911.
_
l
1
3
s
'
4
7
I
9
10
Ii
11
13
14
15
l6
l7
l8
19
10
11
u
23
24
15
2&
11478-245-DOO
114'18-245-000
!U479·K5•00D
Dl479·2U-001
ISl479•2C&•DDll
JSl414·2~5-GOC
BJ474·1,5·1HJD
BJ474·2'5-00P
BJ<ti?+-246-00a
K1474-1'G-001
io!-Jl!05
lU530-H5·1Wi
Dl530•245-IW>
JI
1530-j4S·l>AF
11
IS~-245·•DAH
li1Uo-li5-oAt
iJ531•145-~AC
Jllli3l•M5-W
IU53t-HS-llA1
B1631•246•W
°""'il6Z7•Z4S-OAC
JHUT-2-45-W
!l611-246•Q6'
11617-24£,-QAB
8l517-245•CW.
ilHS-sCs-sAo
IHERPR!S.m
I llltR
PJtESStl
Cl!ITEI
JI.Cl
J.lCl
tffia'A
INKIR
1.\1.UKO
UIII
ctrn1
lll'PIH f.lWI
oc,rrm
ourr.R
OUIJR
ourm
PRUm
COT
CUT
Pltslb:
l'RES&Elt
nm. P
Ill
rsu::s&r.V.
nrssa
~
PRESSER
PRESSER
PWSEI
lrKD
lll'Ell
)'0(J'f
oOfRR"'HU'F.i
OO'l'D
PRF.SSElt
001T.R
rRT..UER
oona
nrm-.a
nto[IG
.
ootm
l'D:PING
oura
Wtt:X
UUTD
Htsmr,oot
rRW:
Pff.m.i
J1l.llt
tiRCS!Wl
l'Kl:8SIR
ft<l:sSr.K
m.
FOOT
3/16
Plr.&m
PJtl.SS!II
&lH
(BWE)
5/
16
root 3/1
ASfl.
6/32
:roar
Ail.
100T
1/4
100T
~It.
'fflo1'
:Uil.
A.SV.
5/32
100T Alil.
An.
, 1
,,
5/l&
ASK.
Viirr
Jli.
3/16
A&tl,
w.
,
11.c
J'(JIJf
ASK.
100T
.ASM.l/8
1/.C
6/16
:,fla
,3/1&.
ASJ!.
(
5/16)
<
UA
3/Ui
U.S2
5/IG
>
ttffl
ttt,1
~·,,t,.tt1123/l6
,..
,tnUffl1l/-'
~·,,t,.ttifJ&/16
tfflxc,.A>&h!
tt.tU(l\1\)3/1&
ff.tfl(1',.)1/'
tt.tfl(ft1\)5/16
ttff.t(l',.)3/8
9'1,J:r,
1t,.tt1(6/Ji)
Yl,tfI(3/16)
1~t,J:(1/4)
1\-NJ:(6/16)
Y~th(S/8)
,.. ftt1t-1l-ffx(S/32) (14.)
,.. ,.mt-,t-tf1 U/U)Cn>
1.tfI(l/.f)(tt)
~Uf%C
11-,m,a>~
YUti(,t)3/16
YUf%(1t)
YUf%(,t)6/l6
YHti(,t)3/8
,,~}
(,U
C,t)
lt~)
(hj
5/15)1,t)
1
1/4
J
1
I
I
t
I
1
1
1
1
I
l
1
l
l
l
l
L
l
I
-86-
Page 40

28.0Pl'IONAL
,t:;f;!l,r~fil!i,
h••
I &
I/
,.,
....
...
,,,
•..
PA!ll'SCOMPONBN'J'S
(2)
••lkl•• ,
..
, ,
• •
\'.""
.
•
ue-HIOIOAG
lm·
HQ•OH070H
CZ)
...... t •••
••
...
•. 1 ...
JIil
I
'
,
......
11-0IH
l
1••
••
/
lof.11
,.,.,
..
,
...
.
11r.1
•u70•2H•GH
,,.
,
lllU·IU•IIAO
......
~-
... , ••
t I I I
t
••
~-.~--~
..
f••
t
"
•••
ri-.J!fDJ
••.
.... ,.
••
! ~.
s.~_R_J_
!".T.l
9.
':. •..
.llil.,
. • ••. . . . t • .
Rllillf
'i1LUKO
ILIQ-0131>71Ml0
1.11·10(5?000
BL47'·246-00J.
l0.l·%6Jll6
I0.1·26:!05
T
'
8
•
IQ
IL
12
13
iLliH11361blb
IIG2,-U&·Oll
10,-mn
10l-?fil04
JHTO•U&-000
Jl5l.4·U5·CW>
11840-0Gl·0OO
21~-mo,
l'IICIT
IIPl'IKl'W
f()OJ
ISlfflll'lm.!IR
'lW:IIUlfllOT
llPPDn!lFOOT
RWl!aliio'tl!:i.
Otmll
1'111.!SIII
FOOT
POOT
i1IOT
DlllVl~O
OUV11C
IWT
.ISi,
ri:ctmtlC
l:Cr.l'.ITRIC
PlllSSl:11
MUISS!ll
VAJ.llKG
PWSIIFooTASII.
PZR
nm>
'l
..
I
••
•t
;,,u
J.
fflf17'
r-im,
mt•
Ofifl7'
o.tt,1n<110.m
t,i7j
r,-r
r.trtnu
••••
..
- ~
-.
/
..
, .
•..
...
, ,
1111,
.
/
......
.
Part
1,.
/
-~·
.•..
,..,
....
1/
..
, .
..
.
,,n
••.
t
~-
I
•U•IOUIOCIO
c·
·-
D1471·141•GQA
I/
J
,.
·--·
·
•
~
.
101-fUOI
~
I
101-UHI
~
......
,
J
.
'
111Ul•t41-oaa
~
I
ICll•I.IUf
~
•
1
0l-2U041
-37-
,._
••
/
.
......
Part le
f~•~
~rlwlnl
uc.,11,I•
..tTIL9H
~~
,
1 1
140•001•000
~.
"
,.
n1-11n•
O ' C
(j
0
-88-
Page 41

28.
OPTIONAL
"Jt':/!/B
h••
a,
..
,
....
...
rl
V
..
,
....
P•tl
PARTSCOMPONBN'l'S
:,.,g.g.
(2)
Waiki••
+ I
faet
tm-
--
1
•••
HQ•0taOfOOQ
,~
I
at.
•"••10UUU
(2)
,,
•••• , •••t
I I
...
Q
t""
llAQ•GtlOIDAO
.
,
-
t·1H•
,.
....
I
...
,
..
..,,
..
1,
••
''
V
101.1,.
...
,,
...
11-
" '
ll•lklfl.
,
t l
t
10
8U70•24•·•0II
,
...
drlwln1
-·
-
•••
.tllUH
,,
....
\:·
11
IU•IU•IIAO
1ac111trl1
. -
, ,
••
n
--
..
,
V
1,t
. 111.
r,ri
••·
V
let,111,
,..,1
••.
V
..
,
.•..
l'lrt
"'·
t
--
D14H·US-HA
J
...
~
I
-
,.,
1114U•t41•0U
~
•
1U•tHoe
~
- - - --
I
1
Ol•tllOI
tl
~-····"
.
-
1
7
..,
Part
~
•
u,1-a,111
~
t
10,-2004
~~
.•..
a
••.
12
,uo-oa,
~~
-
u
-ooo
ZU•1'104
-37-
Page 42

~-.!Zl.
-~
•••
~}tfD.,
••.
_._
.•••
I!
,:_1_4_:
.IIU.
!'
.T. l
9.1_
••••••••
••
•
r.
• •
~.
_-,_.
1
••••••••
91.J
••
1 IAQ-0t301ooa VlLllKG
2 W-1045%000
S
4 l03-Z6306
Ii
C
'r 11G2i-
fl
I l03-:Z6304
10
ll
12
13
1H47&-245·MA
103•%6%05
1Aii-c11:iblolb
M5·0il
10S-2lil6f
ll-CT0•M&-00O
116M•M6•040
11840-0!il·
21~·78HM
0OO
UPl'IK
IDm
VALtlKG
UPPD
Rm&
Ot1TD
PRESSER
rusm
VAJ.llKG
it2ssd
P'DD
nm>
,ocr
na>
fOOJ
f'RaSIR
POOT
rPZI
FOOT
POOT
l'P.ISSD
FOOT
POOT
~
FOOT
tmmJCG
DlmKG
m,,
9:tfJ7,
t,ft%
09tfJ7,
t.tiflT)(lll.lt)
lli.
f'OOT
.ASI
••
RIGtff
AD.
il:M,
ECC?fflIC r
l:Cr.El'TRTC
Hi'h (IU 1
Y•tt£(tt"
tfl7"(t~)
tt.it)(Bl'ilt)
fft,,7,
fiij)
y~,-t~,H
n 1
HJ)')(,:t)
. l
•t
J•t'
ifJH
l
l
l
I·
l
l
1
I
I
I
-
88-
Page 43

21.LISTFORINFOKMATION
df#Cll
As
lhon
not
In
ob1olo1od
plaoo
t!l!IIG,
t!:1Ja111~c~,Jtl!f>t16lt.
!1
:,.
~
to
th•
plaoa
previous
lnterohaneo1bto
this
caao,oven
~art
your
llAR•v.
ordota.
No,
ohangad,rofer
p1rt1(0b1oleted
nuabor,10
tlt;:fl(1.='!~
~i~llt:1:1r~.
OF~OE
•Ith
ob•olotod
1
oaoh
part1(D.)01n
001001
,
~atr~:r.
to
tbo
part)and
othor:
tho
oorreapondlne
n••
p&rt~(Addtd
bo
ord•rod
part,
with
293!19106
II
o •
13 3 IS
ohanaod
-~
• • •
Rev.Ao,
par11)1ro
•Ith
datoa
Rev
.
No
th•
and
•
•A:Aoood
ilov.
llt
tlCL
D
03
D
03
D
03
03
D
D
0 :I 8 4
D
03
0
01
D
OS
--
D
oa
-
D
.il_
-
..
D
03
.
--
D
03
D
03
D
OS
D
03
D
03
03
D
D
03
D
03
0
03
D
03
D
03
D
03
partsl~l~/D:Obaolotod
Pa9e
ll•f.
I(
II
&
I
-
---
-
---
4
4
4
4
8
8
8
8
8
8
,-
8
8
8
8
8
8
8
8
8
·a
8
8
- ·
2.26-04904
23
40
SS•8660610•TP
4'00•16148
50
51
'00•1614&
213-41904
4.00-24852
81
Sl.-,o•oaa,.sc
12
33
S1·8U0'710•SP
-·
01470-2'1-EOA
34
35
EA•9600D01-00
91470-053•0AO
51
53
S1·8D~08O2·TP
:u
213-SOllU
55
ZlS•l50103
10S•379015
58
57
107-74354
\07•74305
58
59
'07-74404
107•15100
60
81
,OT·15001
62
107-15704
83
B15Z8-1527•00G
84
&S·0110830•TP
Part&
,.
-.
..
...
-. -· .
Ko.
•
·----
partalUtila/E:ErratuaUf
lt~v.
Pu1i.ite1-:-~iuta-Do.
NiD
A
A
A
A
A
A
A
,.
A
A
"
A
A
A
A
A
A
_ B
04
04
04
04
04
04
04
04
04
04
04
o,
o,
04
0~
04
04
.
i.
-
--
~-
I
.
I
Oil
A
2
2
2
2
2
2
~
4
4
..
•
4
...
4
'
6
8
B
Nia
213-48909
81
213-32002
8.2
sa
SS-.&t
214•37{08
8-4
66
IU-a7a0G
SS•
se
67
23
,o
50
61
87
ea
G9
70
33
4
.. l 10a15•5P
400•412l8
400--38692
SS•866C612•lP
400-38700
,oo-3&102
400-41734
ue-o&.c.oa
11409•061-000
2l3-aZ&D6
IC•3120010•00
4O0•J9328
I
.
..
. ..
..
56
BU10•U1·HOO
r.
I
S0815•SP
···---
. ·
--
-
-·
i
'
-89-
Page 44

-
•
D
D
D
D
----
0
D
D
D
0
-
D
0
D
D
0
0
D
0
D
D
D
- -
D
lev.
•
C,
03
08
oa
03
-·
oa
03
03
03
-···
03
03
08
03
oa
03
03
03
03
08
03
oa
03
Pae•
I
· 8
28
I•
f.
lie
Cl
15
a
68
8
a
67
68
8
8 &8
70
8
71
8
12
8
73
74
8
76
8
76
8
8
77
78
8
a
79
80
8
a,
8
as
a
8
86
--
B
92
I
.
-·
· .
-
Pal''t&
4_
!13-41607
107•\6308
-
--
Sl•605UOZ•TP
2'3•41501
107-1B201
107-14202
213-39801
··-
S1•1050801-SR
213-39700
SS·7111120-TP
107-13601
107•16504
83416-
·-
RE-0500000-KO
213-39809
8S-71t0830-SP
tOl-1'609
107-1'608
552-000
su-aoaoG02-Tf'
213-37803
-
·-
·-
-
t
105·298011
no.
I
-
. -
II
-
No,
I
-
-
3ov.
l'lo
.
-·-
~&80
Ii
-·
aof.
l:fo
.
Parts
-
I
..
-
·-
..
..
..
--·-
-
-·
04
A
A
04
04
A
- ·
04
A
,.
o,
A
04
A
04
A
o•
o,
A.
,.
04
,.
04
A
04
o,
A
A
04
A
0-4
,.
o•
A
A
A
A
IA
04
04
04
04
04
-
10
12
12
1 2
t2
1 2
12
12
12
12
12
12
12
14
14
u
20
24
%8
34
a
ALL
PARTS•t
4
2.
400•38712
SS-71107\0-SP
68
.
SS•7090910·TP
70
uo-4tGea
71
214-07200
72
73
400•38711
7,1
21'-01,408
.-
Sl•71101UO•TP
715
ZU•07309
78
400-41248
80
81
&00-51618
82
•00-&1&1&
2ao-2,,o,
Ii
a
14
S8•8150710-TP
213-34552
15
6
ALL
PARTS•t
ALL
PAUS•t
ALL
PAITS•t
229•33801
9
4-
20
IC•8720010•02
~--.
·---
I
I
I
-
..
---
•.
.. .
-40-
.
-- .
,.,
Page 45

NUMKRICAL
,w.m
,&(O
78+650.0ll&
.U078-55D-OO\
at-OGmGOl·D
at-OSO(M(I
lt-~01-D
l'l•~Dl•Q
lt-0600ollll·U
IT-0600401-D
...
a
PJll-
iG
28
%S
23
z.,
24
24
34
lf-OGOOCOJ-F.A
IT·0800CDJ·D
1110,M;az-noo
81109-553-01»
11ll
Jl-653-000
Bll19-0S1-00f)
11IS2·
SZl·OC'O
111'8-555-000
1110~-.inz-000
!J!JD-051-0c»
JIUl-010-0QO
111!14-0ll•OI»
11114-oJa·CDO
SUU!I-OSfi-OUO
&U09-06fi·DDO
IU S IIH>55-0DD
&l
:SI
3-0~-000
aJSJ4-0!!
blffl-<lfi
Bli00-171-000
IU11J-<JU•000
~1412-0U-OOO
11412
IU412-0il-CUO
8141-f·W-000 6
IU
B141-f-5U•OOO
Bl'2D·5H
Bl437•DU•GOCI
J
-coo
051-COO
414-SSS·DDO
Bl4H-0$.S.OOO
HI
4CI
7-D."il-o.\O
Bl"67·5D·000
Dl4Cl8·053·000
nt4'10·0~-oAO
Bl410·Z4$·000
014'14·2~~
Blf 74-2'6-ooll
Ba.7'-
2'6-DCP
Bl414-2.CS-wtl
BU,'H•2.cG-OCll
111478•2-cs.oo.l
a1,TS-2.cG.ooo
11471-2'5-00G
Dl419-24&-00»
Jl-lfl>-2-45·001
11,479-2','-0CIZI
Jl&OJ-141-800
11502-241-000
lllil0-141.fiOO
11510·165·000
B16M•Ui~AU
Blli2G·SU·E40
lll&26-511-00G
11,21-us-cw:
lllAff
-145-tW>
Blli1'1-2-4&·0A1
1161'1-MG·OAB
l
152:1-2,,&5-o.\l
BlW--UG-W
a1si,.MQ-Ut1C•A
IJG30-245-G.IC
II
$30·Z45·0AJl
IJS30-MIHW
!1530·:MS-cwl
8!&30-M&-CW.
l\lSSl ·
245-CAC
1\1531-2-CS~Ab
000
000
%&
"'
i
t
I
2
1
11
"
i
4
:za
za
4
4
4
..
..
...
0
6 a
6
t6
II
8
8
6 l
6
•
$
"
8
10
sa
31
li
SI
3S
lS
.t!I
!G
!5
3G
95
:111
8
8
e
I
:18
S&
10
~
S,8
~
3G
l6
SB
21
3G
3G
:.,g
3G
S6
36
~6
r
io
20
II
%1
19
D
49
'°
II
3G
31
2.Z
n
l1
za
11
s:
4fj
40
35
S8
31
47
19
G1
2.4
10
JD
19
ZS
17
Zl
u
Z5
14
28
10
10
SI
!S
5Ci
31
11
16
11
11
u
13
14
u
12
13
J.,t
16
16
11
UI
,~10
Bl&Jl-MG•OAJ
1.15.U
IIHot-011•000-A
9
Bl610·61S·OOO
118ll-OU•OOD
11G13-5GS·IOO
11
ll
83"'-05 I •000
B180S·H5-0J.O
11816·051
BlSIT-otil
IU!IU-051-000
a1a:M-~1i-000-,
IUS.0-0Sl-000
l\lfol.o-o6l·OO:J
11!!06-0Sl
P.3015-14
Bll10-11G·000
l.1l2n-1%5-0tlD
1Ull5-0l2-000
a312G ·OlZ·000
IU!Z&-OlZ-OOEl
1312&·05l-OOC
B!l~-520-000
B3JU-fi2f•000
83129•5241-CXIQ
113134
1.3)31-5%7
IS.3137-ffl-tili
&3134-SlZ·OOO
1'320$-310-000
ll32l4•0t1-000
'3411 ·
aJ~
BS~·S&&-000
BJW
B!&M•~l.000
B!Sk
6
83~-llr.-GOO
Brul·
lm.11-11
BS6SS-IIZ-OOO
83$38-11
G
1181ZZ•2l0-000
DUOI-OlZ-000
II
MZM-01
'T
BUl0-012·000
a
BU2&-IU·OOO
Btl,(.O,t• JS1•000
8
B911S·012·000
3
)
Q-3002i0Cl0-0l
Ql-S002D00~01
2
3
Cll·3CD200l•Bl
-4
a-soo1002
!I
CQ-m2000Cl•DO
Q--ZOJOOOO•OO
CQ-ZOlOOOC·DO
CQ·ZOZOOOD-DO
CQ
·
ZOZOOOD-00
CQ-20'mooG·DO
CQ-2020000-00
CQ-z:noooo
CQ-20:0000•00
CQ-10200tJ0
CQ-2010000•00
CQ-Ui20000-00
~:woooo-oa
1
CQ-lOOOOOG-FO
.,
al·
30l0CJOO.OO
CQ-6050000-00
CS-0700&ll·IB
CS·0'100tnl•llll
Q-01907'1·1!!
Q-l:1DlO1O·3U
C3-l:ZOl011·3!
INDB:X
•W•OAR
·000
·OOO
·OOD
MlJil •.l
·Ul-OOC
·CWl
"2
00G
-'8i-OOO
..
5SZ-<10U
15S·OCO
I
lZ·OOO
Z-000
Z-000
Z-000 S4
·Ol
·00
•00
?rJa.~
l9
3G
SA
24
IZ
7
II
St
12
II
11
19
,ca
4
1f,
21
14
sa
ss
14
14
s
t4
11
14
SI
»
12
..
5
I:&
Ui
It
11
II
w
I
II
.,
I
20 8
:0
4
'
••
19
10
20
10
II
lT
19
!Ii
20 5
2
sz
10
:u
a,
11
,.
10
,.
is
2,8
51
l,l'I
48
41
is
19
44
2,8
39
21
16
Z8
41
Z8
21
za
sa
1 &Al·UO
28
S4
10
ti
u n
n 35
u
111
S4
s
44
1
Zl
IS
1
I DI•OMM00-QA
34
19
4
IU
19
4
s
u
n.
'
IZ
St
..
l4
14
0
12
21
Zli
16
)2
2a
Z8
16
GG
•
6,lj
ZII
n,
6
4
9
4
12
16
S'J
U5
ia
16
1i
62
JJ
IJ
63
OJI'
JM70·MH:Cli
DJMO•Wl-P.AO
ll'l
DMZ1·555-!00•B
112tltl•
DSl&l-1555-BDO
11131G2•665-BDO
»3152-555-IOO
IDUSl•
llS2ll-2AJ
J:A•IIGOOIIOO·OO
~ABTS
~-ID
112-1555-BOO
655-BOO
655-Q
-IXIO
,am
II
tA-&MClB00-00
IA·IIZCIS00-00
IA·
S!iDCISOl
r.l•~l-DU
IA-OGOO!Ol-00
KA·ltMtnUU
14•N0m01 •00
IA
~1-00
Kl-~1-00
IA ·0500!01
ll·ISDCl!Ol
!1-0&DOJOl-CO
KA·9!ioom:Jl-OO
G&l·A1!5030C0
Gll-lJ
0.U·Al&03000
GAi-A.i
G.\l-
G.Uil.~
W-AZ:SC30&0
~
-00
·00
·UII
603000
ti03000
WODDO
BH·WDSODO
llil•.U:iDCODU
GU•HOOIIOOO
tul-29C1090DO
W-21010000
GAl-~10C00
GA1-no1oaoa
G.\1·19010000
Gil-1901
RI
Hl·Ol4G
Rl·OJ.WIIOJ
Kl~IOHIO
Hl-°"'101-GO
Ul-<J34MOO-GA
tll~-G1
lll:•OS4&4011•QA
Bl
Kl•03'MCC>-GA
Hl-03-CGCCO-Oa
Kl-0012300-0A
lll•OOliaGD-OA 4
IQOO
IIQOCJ
..a..\41
un
.oo
101
·00
·20
·OS4&4t'l0-<lA
Rl-QOJH00-04
Ul-0029:i00-0"
Bl
·0021500-QA
HJ:•Oll215DO ·DA
Bl.-ODH500·0A
11l•002D500·DA
lll•0&21160(J•OR
lll-o&211!i00-0S
tll-0021500-<Jll
ll-0028500-GJ
U-0029500·01
u-oozasoo-oc::
B1·0029500·0C
'1l•OOZ8~CXM,C
ll-0029!00-00
Ul•002150C>-OO
l!l·OOZtG00-00
JrX-0021600-00
ID
10
17
24
%
10
%8
16
IG
J'1
JO
It
2l
20
11
Z5
ZI
Z7
t9
21
I
14
26
la
2
13
e
:n
10
Ill
411
17
2G
it
13
2G
58
is
I!
2'I
417
211
69
34
17
2J I
23
lS
24
.21
l!6
23
2S
I!
2J
14
2:1
15
n
JII
23
18
24
l!
ll
14
24
"
2,
H
2S
17
24
11
%.'\
%1'
24
zt
,a
II
23
24
fl
:g
1e
:3
23
2G
2,
24
28
II
2
41
1a
16
1i
1i;
t2
23
10
ZS
so
10
14
24
30
:t2
16
23
11
31
23
14
11
u
31
23
32
24
~
15
"
l1
Sl
23
23 :a
2A
tmliD
.na
4
IIl-00~
Ja•OOSMOO-OI
1IC6?-000-000
lill-153010.MI
IIMi-1045%000
~'7000
UQ-093QMWJ
m-amorc11
U.T-aoz:nTOD
llT•IJI
9
IC·S'lZOOl0-00
SI
ac-nzocm.1-oi
IC-172:0016·
ll:-37ZOCUl• Di
G
m'-RX2700CO
IM001-
IMWl-110-Ga
ll-603000l:
11-6030001-SC
lll•604C10Cll
lll-6040001-!Jt
llll•GGCOCCU-SE
J:.l•ti040lm•SE
Sl·IGSOOOl-.sE
Dl-6050001-&:
t
SIi
·
GOSOOO:J
IIH5011QOOl-li!
4
111-SC&arll
Iii
1lliCl511
Jil-TMOOG2-SI
111
·SQSQOOI
ICHII
a-GIIDllO•SP
SS·&l1DSI0·8P
6
IS-'1lOUO-D
13 euouo-a
6
D-fll~r
D·61SOS10·1P
IICS•615~30~P
Nl·W0320--'P
1'1•31.DI
ta.-llOZOOI-GO
Pl·fflU
II
l'f-fWJ.
I
PJ-iDlOCGl-04
rJ-~01.51.oi
P1
'l
.,
G
·™°"
PS--060050
PJ..06006()1-lP
n-01s1a10-
l'X-015101~00
IC--056DTJJ • IP
1£-0SODOOO•ID
IE·OSOOOOO-IO
15:•0500000-lD
ltt-DSOOTU-lf
Rl·DICJCOCO-m
itt·D90Q000-ID
m-otmo2-oo
Rn-092fflZ-OO
SI-IZOOOD%41
D-Ol&Oli&l-SL
D-047028 I ·SP
5D--D4f021l•SI'
iD-OGOOCOl
SD-0600l64-~
a-GMOJ2!-1P
2
D-°"°312•TP
ID-06'03U.SP
2
~D-~H.15•SP
120TOD
00
J
Ul-0.AA
SC
•M
•
&C
•iEE
~
·iC
10311J.:a'
'°2-0ll
IO I --CO
70-.lD
1-ol
I-IP
oo
· 1?
tlUII
tMZC'
ii
ie
so
25
S4
6
J3
1
lA
2
sa
1
8
sa
so
32
so
31
n
:m
5
33
Ji
¥I.I
1S
&
,.
T
..
34
60
•
4
6l
10
Z9
!O
20
1ft
11
lQ
18
3(
2G
31
29
31
IS
31
17
1,
5
...
21
3Q
6
SI 14
18
11
it)
so
Ill
zo
io
20
11
11
i
H
H n
2
3Z
12
68
IT
10
Z2
11
IT
1
1
30
22
1
2&
l~
11
to
zz
10
30 u
19
ZS
zo
z:s
17'
2J
lD
14
u.
21
4
46
10 u
2l
1:.
&
12
a u
12 16
45
12
14
11
53
2
JS
"
Ill
19
za
19
.,
30
30
II
f
41
4Z
lG
33
'
15
39
-41-
Page 46

NUMERICAL
r~ro
&D-0140.CiZ-Sl'
~T20331-SP
SD-oao:wz--SP
JD.(Jso:HOZ-11'
SD-<ISOCMOZ·TP
SIHI
M>Oell
SMIIOOTOl-TP
•
tODO!Ol-SH
U·lMUiOl·SC
Sl•3,U5'10l-SE
~~
·SP
U•341500J-S£
'1·3415001·.SE
U-3~15001-~
SE·S412S00·SC
H•348Ui01-SK
U-~1-SE
Sl-3514000·.SC
a.-.4DSDC31
.sL--404°'81
b ·
S.-2041001 •Sil
0·1031401-SI
&1·4041001-~
Q-C04120l
D-.C04Z001
SI--SDSICOS·SK
11·4
n-&Oll
U-GDS080Z·1P
Bl-11).(0MCMII'
&1•10,toao:l·D'
Sl-6041202-'IP
Q~Z-1P
D~S1002-TP
H·8051-C.02··1'P
H~IIJ52UOZ•TI'
Sl'"'°Gl202•1P
ll•IDIIIOZ-'IP
SIHD&IGIO-SC
&ll·totlaUZ-ff
nMDIZ002•st'
!I•
GOlllOZ-
&Zl:·8050G02
U.&DSOIO?-fl"
SU·S05°'02-1P
II
·ADSOI0.1-11'
'81-ID!IOlll-11'
SU-&oGOC01-rP
511-IOIOID:2-IP
SI-SOIOllJ·tP
SQ-1110401-IIZ
liQ-111~1-IIZ
SQ-JJlO(OJ-KZ
$0-Ul~Hl'Z
IQ-111
SQ· I l 5°'51-IIZ
ma
11
&Q-1150451-IIZ
SQ-
JJ
SS•l.OUDT
SS·20H'il0-TP
~-2.acano
U•tll~TP
&1·301l0610-IP
SS-:SOliDS!D-&•
JOS0801
D51001
ono-,r
D40J-IIZ
SD4.lli1
50451-IIZ
JlrTl'
•SC:
·SC
SR
-SC
·SC
·SD
lP
ff
·lr1.
TP
U-30,0710.-TP
S:S•@BOIUD-&P
SS-4110515-&r
lOC•4l
10615-&P
s.9•4U06J&-SP
&'!!·fl
1061G-.1P
liCli·41105J5-&P
$S•41lOllWI'
g
...
1JOl16'-&P
SS-411DllWI'
S.,-4111Nl15...SP
4Q
I&
2Z
17
II
17
I!
12
tz
111
23
l3
2.f
l4
151
u
2,4
SC
ia
10
Ill
11
u t
$J
31
))
31
2.f
l& 11
JG
Z1
16
1,
so
u.
10
ti
I
17
JI
lZ
22
14
u
to
·
10
21
12
4
e
4
14
ZS
:,
%&
ZI
26
26
ZI
za
J
2,
2
2 JJ
26
:a
UI
ZD
z 35
ze
ZS
1.8
za
1
1
1
2
IS·4U081&-.\ir
s
SS-4lle&l&-SP
l1
&s--1noa1s-s,
::w
SS.(ll081G-SP
as-,uosis-&P
•
IS-41108J6-SP
"°
ll
55--11
SS--Sl1J2.1S-SP 2 2 SS-Tl 118H-SP
55
IS
SS-1
12.
~-4l51l91P...5P 1
S.S--4150IU6-AP
IJ
SS··UeoGl&-St
11
&'i-tlao915-S,
l3
ss-uraau1r,-m•
••
%0
~-SCSIOGIO-SP
33
M·SUC'T'°
.ss~sr
3G
&S
21'
&'5•50S08
1
26
&!-&0Stl810-'ff
41
&S-509102!-'TP
is-,nocao-s:,,
is
&S-5111K80
S5-Sl10520-1'P
If
21
&S
SS-61111110•!\P
IJ
JO
'5-GUOTlO-Tr
SS-611Dal0·
SS-GllltllO·~
z
SI
SS-6111010-SP
·.~S-6J
•H
SS-GJJIICO•
1C
s
~S-Al11140·SP
a SS-vlJJ1lO·SP
ss-e1mno-SP
11
54
ss-tu
Ga
SS-'l:tUlO•
2
n-eJUIJO
I
SS--6111a&o•sr
SS-6l6l(t.0.SP
.co
2
l'i8-81510C.0-,SP
20
S!-Gl&IUD·lSP
G SS-Gl61'40·SP
SS~l517&0-SP
3'
SS-6161112-lP
'
:0
a-815l!l10·SP
51
SS"'615Z440·.b'P
21
SS-Gl6l0f.D•SP
ll
Sl-el5*0·SP
SS-GSGlUO-sP
16
51.na,e10-st'
41
SS-7'06061
2.1
~
SS-70805J0·1P
31
S.S·1090SZ0-1P
53
SS·
%1
SI
SS-7D90IJO-Tr
SS-7090110-11'
J3
"'
st
S~MDUtl0·3P
u
S3•1l
H
S8-7110SlO·SP
S1
SS•TUOllO•KP
SS•7110570•SP
11
S8·fllG710·SP 4
11
SS•711G1>D•8P
1a
SS-711GUO•SP
f..'(-Tt
la
D•YllWO•&t
D
&S-1110!30-&P
n.,-11
41
n
SS•7110840•SP
88·11108'0-D
31
s
&S·TllDSIIO·TP
.n
&l·'Tll0010·1P
~a
M•?I
fl
SS·TUOilO-Tr
INDBX
~ID
EC816··5P
lZOGlG-SP
,090620-S,
I
0-1'1'
IUOGlO·l'P
11
UO-SP
usto-Sl'
U-.~•
TI>IOG
10-:a'
~10-SP
105lO•SP
1uso-s,
lllMO•.SP
IODIO-ff
ff'
SP
'1'P
SP
lP
·
'IP
OP
fr'-E'
IS•'1110810-TP
57
l
I u
I
4
:a
28
JO
11
:a
ZI!
2a
21
I
ZD
ZJ
Zl
14
&
6
2S
Z8
ll
10
10
1G
11
zg
za
:r.
2
lG
4
lZ
30
I2
II
12
lG
22
30
2t
a
16
8
6 28
1,
29
J&
'
IK
G
2
IZ
12
'
u
21
IS
%5
2,11
18
12
G
10
28
za
Z8
"
so
I
a
IZ
11
SS•TlJ0910-ff'
&SeTllOIIO-'?P
Bl
17
BS-7!
S:S•TJ
4T
IS-TUUl~-sr n
a
a-TllUIO·SP
12
J6
SS-1IJ
GO
SS-TIUll~ff
S5
~-
37
&1-TIZO?GO-SI'
30
§·71%a7GO-SP
:u
~-'IIW&O-SP
ZJ
SS·Tlf41.0-~
4
U illiODlt-1?
16
SS-'ll~Ullr&"
SS-Tl&IIJO-Q
u
12
X.'i-'IIZIOC0-"11
~
SS-8JI04l2-TP
19
~--1110422 -tP
$$-IUO!H~st
35
ss
'°
66
SS4JllDlD•Tr
ss-aHHlD•ff
JS
42
ss-&
SS-IH0'11Q-TP
CG
SS-IJGO't'lO·TP
18
ss-a
:a
ts
SS
14
l!-ll!OW•1?
il
ss-nsoan-tr
S4
ss-a
S:S•Al51
G~
SS-61G1
J7
IC
:SS
~-5151
IG
SS·81GUSO-tr
sa
43
~-1161U5S0-"CP
SS·IIGliDfi30-rt
u
14
SS·565DS3CI
Sl·llfl5DfU
:13
SS-11680610-tr
z
S.,-S615C6lD-1P
Z7
ss-18501J2-11"
~
so
SS·B650611·TP
RS-MSO&l:l-TP
18
8S·IGG06T0-5r
n
a-aasoaJO-Tf'
&1•S&fiOI
2-t
33
a
9
&!
]2
.SS•tl61iH0-CP
33
lO n-aS.'ind6'-RO
T&-0700'104-iD
9
.,t
T.&-0150T04•RO
T.l.•DflO?CH·Ru
'10
15
n-
TA-IDM604•RO
zo
T.i.-1CG0$0-M:O
11
JI
TA-12GOSOC-RO
-\
l'iP·OU0,0l-$C
66
IIA
TiP-OU050l·SC
17
PiP·0,37101
V-0371011·111
34
3,3
IP-0430800-S:
W1-C4SC801
l8
1iP-C!010l&·C
19
IP-0501005-SC a
J
I
V-050104&-S'C
Ji
•v-cnaot54D
IP~SZJDl6·~
li
'111'~621D16·&1>
"
75
'IP-0G4Ui01·SI>
PARTS
P/1.fm
WZ.F
-
16 2
ID
'IP
ff'
1?
·
ff
·C
2D
16
to
:ID
JT
l4
JG
,.,
ZG
2"
JT
"
14
16
IG
16
14
10
1,4
12
14
I!
14
l4
14
14
12
1:t
HI
l4
...
12
18
lG
i!l
,
18
1•
.,
II
IZ.
H
IS
17
11
ltO--SI'
II
IJn-
1811>-TP
711.01&1>-.!P
aucuo-a
111mo-xr
160710-TP
IJGOUJ·TP
noau-
l6D-&J>
UiC--TP
115ll50·
l!Ci-TP
D-TI'
IO-Tr
•IG60810-TP
·186
I
03CH'P
OSOO?Of-r.o
B·SEI
Pffl.lD
1'P-olliCl8'1G•SJ
12
11'-o&5000241
w-1,oaao.m
u
16
IS-OSICtl01·U
'n.Qltatlat-11
%11
11
IS-OSI0001-IP
S4
ff-0530001-1& 2
18
a
101
61
4
54
l:t
31
28
"6
8
19
i
"I
..
.,
2
30
14
19
29
,4J
..
S4
J
..
tH
a
t
54
4 14
'
'
..
59
28
40
g
Ii
.,
ll!,
,i
,a
31
'
u
8
a
19
St
..
ca
3 lot-li?&6 a
I
SG
3K
4 12
48
39
'
4
5Z
"
4'f
i
1 8
65
to
b
"
31
2
39
2
40
Hi
%
3
l2
..
11
5
II
6Z
30 ]10·45101
'
l9
12
5
53
1 119-55802
3
·om>i
101-llmlO
lOHX>SOO
IOI-O!t90II
10l-109CNi
101-UCIOS
101-11102
101-nu,1
101• lMO'l
10l•UGOG
101-U~
101-11701
10)-1'50t
101-200CM
ICH·ZUOC
ICU•24204
lOJ•1fil03 26
ICH-11803
Cln•Dlzno
102-052.01
103·:0109
103-%0109
lDS-20205
IOS•2ll0'7
lDS-21107
103•25157
103-25306
l0S-2GO!i
l0S•Zl304
103-37105
103
lUOD
105-02300
lOS-OffDJ
108-<Ma09
IO&•IUH
l0f·0480T
112'1 · 13501
IOf-lSI08
107-JU02
l~'f-14~
·~-l41DS
JO'r-16001
101-16100
101-ir,:nJ.11
)01-1'704
107-165()1
107-18203
107-mot
IM-21303
IO'HIWli
107-tllOI
107-41105
J07-4at01
107•53002
IO'J-55ZD&
107-55254
ICn•T,UOS
laT-1005
IOT-70S4
lOT•T-KOt
110-45101
110·,U,OI
110·7k02
110-TkOl
Ut-~5802
'!JIZ
HZ
12
14
11
Sl
!\'I 3
18
12
...
H
14
14
14
14
14
14
u
1,
...
.,
17
ll
20 l:t
28
2
12
18
20
20
19
%0
S8
38
S8
S8
10
sa
ZI
·
I
4
21
21
IQ
I 49
10
10
10
10
10
ID
10
10
ID
29
2D
29
19
20
211
29
29
20
10
10
10
)0
JD
10
19
20
11
18
%0
58
19
ID
H
64
II
s
46
""
16
4T
41
13
41
1T
GO
Sl
1-i
ll
17
11
69
48
r,:s
20
3
3
6
25
25
e
..
5
9
10
ll
21
ll
•
I
10
10
.ST
2,4
3G
S8
16
14
lU
JG
so
23
ZG
M
31
],t
1,
11
is
16
14
12
39
ll
13
111
15
1G
ie
JO
IJ
J1
-42-
Page 47

NUMERICAL
r~m
t•,F
~al
INDEX
ta~
OP
P£1D
PARTS
t•11
~ID
t.•11
ISl-&nOS
131-IIIOOO
JS1-G8109
131-IBZOI
JS7·GSG07
1'1-65SO?
J45-l260J
1T9-l210S
ZID·C>e002
Zl1M)
HDI
no-OGS01
2JD-4al07
113-
31301
21S-3USOS
213-31905
213-32002
Zl!•3200Z
US-3210l
zn-
:moa
SU-32507
21S•l2SOS 4
21J•321~
ZIS-33000
ZJJ•33Jot
US
!St.OS
tlS-33307
213-33604
US•3380Z
Zl3-l3D0l
US-MW
ZIJ-31701
2U•3&600
213-31!00
11:11-3-&Daa
Zl3·-"500
ZIJ·35TDII
US-35101
llJ-38003
ZI
3-lliOGO
%13-38300
ZJ3·3GSDI i
213-36551
ZU-S1S0'7
213•3GG5'
US-MTOI
U!l·:Ml!IK
!14
11
2U·37ZOI
ZU-
37301
2131-37'°1
2U-37SOI
SU-37605
2U·37i0t
U3•3TIIJJ
JU-37903
213-31D01
213-JIOUI
!Up31!ff
213-3140S
2U·ll$CM
tlJ
-l,U,GJ
SU•38501
SJI-
UOOO
:Z:)3-390~7
iU·SSOli6
lJS-3illOI
llS-!830t
1JS-!91Cl
:us-:sir.oo
11S-SDIOO
213...,IDC>QS
2U-40S02
213-40401
213...,10.SCC
21'--40'1GI
2.l3-40'1H
:a
a
31
31
31
JI
2i
2S
21
2
32
31
l1
a
l
z
z 40
l
2
l
2
4
4
..
4
4
4 •
14
4 44
•
14
14
14
14
14
14
14
11 i
11
lZ
4
11
11
11
1:1
11
11
ll
t:l.
11
ID
12
11
12
11
s
s
'
G 20 2J.3-4a&CI
IS
15
6
..
6 25
10
lO
10
R
a
II
a 1
113-"°90&
21
21
11:l--'1
2S
:&13-41601
Z4
113-41107
4S
113•0&07
SA
21l-4lZC'J
:m-,s103
IT
2l!-45l(t!
H
213·'16ZOI
113-45202
5
2.13-(GJOJ
i
l
21S·45S50
!ill
213--15509
113-4GGOI
4 ·
18
2.1!•41i6GS
2J3·4r.GG'1
51
11S--'Sffl
S1
2U-"1S1C'I
213-457!45
50
4!
11!1-<457S6
lS
2.U-4580&
70 ~13-45806
213-45tQ&
J
213-45,IC5
2
1a
Jl3-480QS
)
21!-460Q1
:so
l'13•'1GUIJ
113-fGIOI
2!i
21!1-40200
40
~J-.ffZOO
iu-4UCD
56
J6
2J.3-HlCSI
IJJ
24
14
a
IS
T
JO
1 213-45606
QI
2)
20
49
-ca
15.,
41
sa
S3
2G
u
36
24
311
Z7
31
JG
it)
-41351
~ll--'&:181
213-CMGS
i.13
46401
lll--S6507
11J·4U07
Zl3-4160S
211--41'1~ 2ft
113-(CltM
2lJ·4~
21J-4TOOO
213-4?000
213...UCG:I
213-41208
2J.3~f2.aa
2U
-4140I
2.lS·-4820&
21S·•H10I
213-48&03
ZIS··-'5102
213-49701
!13~
2ll•4UOS
4'13-48.at
at3·
..S9105
u 113~11104
3
213-4!>303
21,-,0000
18
n 113 5010!
Z8
213·50Ui
ff
2.13-51002
a 2.l!-51 ltll
2.13·511$0
Z5
2.13-5!200 19
21
211•51'5f
ss
21!
6n
u
JO
10
I
53008
2.13-53701
2.13-53150
11!·5'800
2.l3·5SHO
ll3·5!1iHlst 15
Zl3•UOOG
l&I
a
Sf
I
41
JO
u
10
19
..
32
2
51
H N
Z9
u
~
JG
21
:n
z;
ff
20
u
Z8
H
u 15
26
51
ie
1S
20
2
u 1
I
H
28
I
%11
3
26
3
..
16
..
1"
1G
11
24
a&
:u;
u
16
l4
zo
JO
IS
u
a
za
18
26 &
'
la
5
u
16 a
'
u;
za
f
'
H
31
a n
33
u
za
1!)
S1
ig·14
26
M
8
IS
Z6
16
zg
16
8
30
19
M
10
:14
11
G
1'1
•
l
'1
a
,..,
lT
&5
1
GI
•
lf
u
lJ
12
ff
"
a
31
1
G4
1n
9
10
6
!O
19
Ill Zl4•%7051
211
1D
IT
io
29
1
4
55
16
18
16
17
%5
II
lf
n
2:.'I
IG
lO
Z1S-MU6
2l~G410I
ZJS·GHOJ
213·&'600
21S·5'7tD
Z13·~I07
21S
·6SlQl
Zl:Mi,5706
Zl3•GG7GG
!.t:\·
5SSXl6
Z13·6HOI
21S·5100I
2U·&Gl08
213-fi&CO'I
zn--&eSOG
2U•687°'
ZU-Ml1XJ
ZIJ·GTD
ZU·57BT
:UJ.•rilmi
ZIS·ISIOS
UHi4104
ZU·T8104
ZU•Tllot
HS·Tl203
211•1Qal
zn-n=
ZIS-TMOI
21S-Tffll8
ZIS·TUOG
ZIS·Tla
zn-a'IOfN
:us
A74Q'Z
213
-&'f«m
2JS·
8T$01
21:C•tmm
21l·lff09
:US-MIUJ
H
u;
%5
16
11
.
JG
lll
21
it
11
2.2
12
12
12
12 7 U5•3Tl!il
11
11
ll
Ill
12
14
34
12
12
J4
ll
u
29
14
n
ua-anor
ZH·BaOOf
213•88100
ZIS
•ll&m
US·UZQQ
ZJ3-ISl30lil
S13·89"18
213-BffGT
Zl3•815fiG
ZIS·Atflll5
Zl3•811Ul
2.IS·oo«J)
213-tmnll
11s-001a,
29'
·0UCl:I
21'-osiot
t14·QelgS
114-oeog
%14-06103
tl4·07ZOO
Z14-U7SOY
214·07'°'9
ZH·OS&O&
114•08554 2
2J<&
. JSJ5a
lld-132.&T
Zlt-27000
Ut·%7SOT
21<1·3MOD
Zl4-S71D8
214·S72.C17
Z1'1•3UOG
%14-17SOI
1J.l•JIH16
114·S420$
ll-4•
JSCCl:S
2J4-
:Sl501
11
u
JI
lG
1G
H
lC
11
11
H l
16
34
11
12
12
M
3-1
14
11
so
lO
30
.so
~
30
114-3IIOJ
3l
114-SITOO
SJ
214...,1Ul5D
15
,2
llf•UOSO
45
2'4-4Ulfia
114-41100
12
214...,IJtol
4l
Sl4-4110S
it
23
114·41401
211)
•
11
12
3
D
s
I
114 ....
214--4270:
114--4U00
114-43007
214-4310&
11-'--43%D6
214
W-UISJ
225-WOI
2
2 I
a Wi-02'01
s
UG-OGOO
!26~6'06
JG
.ss
m-09'os
u
s:.G-11101
!i,7
a
I
4
•
4
..
4
G
4
a
'
"
I
2 25
..
,4
2
2
2Z4-IIS09
5 2ZG-lfl06
IS
W-ITBOG
,.
:W-1"201
u DG-11201
5(
211-111
m -10101
•
ZZG-61Z0i
2S
7
:c&-5&a03
GD
UG·G6103
Sl
W-14!:09
~
W.01105
m-0410&
33
31
m-OU06
11
W•OUriG
6&
ZU•CM.155
Iii
m-oTG04
II
m --
1 D9•12000
&
m-12109
m -
r.
m-m5&
'
4
m-SOSCI
1%1-30351
37
35
W.30Cca
m-
52
w-wos
ut-30804
II
i,
221
z
2U-3l000
Dl
u
229•31ZCI
u
Ul·IJSD?
ZU-Sl4CIS
n
"'
TO
ZD-3300&
T4
m -mos
W-51551
W -
24
I
Z30•06&DI
230..QG.Cl)lt
15
230-2"09
5a
57
W.300a7
:e
2$1·30007
Z31
fif
231.30007
6'
35
m -
G5
J36•3000'l
37 m -
231-
ZS
ZSl-30001
:sa
,s
~-30001
236-30001
6
2'03
..CJIDSI
CCI
11104
2$000
l05CT
-305!03
·:SJIO,
WDI
-3000'l
3000'l
30001
30001
JO
so
19
zo
19
:0
18
!8
18
30
JO
so
~
so
30
so
ZI
ll
21
I
4
12
"'
34
14
JI
IO
19
IO
2
Jt;
z
11
1,
6
2
a f
12
8 G
)2
II
12
u
J2
,.
H
31
:SJ
31
:n
:u
:u
31
31
31
S1
SI
:SI
S4
2
"
]f
)9
:0
14
Z6
ZS
Z6
26
Z8
m
l6
16
=
%8
28
t
11
z
z
I
1T
7
a
l
17
11
m
Zl
Z2
Z3
2A
2
:u
'
1T
15
H
J1
:t7
a
I)
D
1
1
S1
fiU
so
14
J:l
JI
4&
l!J
lT
31
4,4
n
"
J:t
•
](
I
10
9
G
'
4
s
i
15
JI
a
1
•
Jl
11
21
2G
M
49
50
51
61
53
f,4
55
&S
5T
4S
44
-.t3
-
Page 48

NUMERICAL
POI'S>
.......
us:~
~II)
INDEX
tACJ:~
01'
"!lJID
PARTS
~J!-'
''!tlP
1191
~JP
23&,.SC007
2!&-300lr7
23~301l07
236-,0007
231-,001)1
238-3U0i
:0·25!01
252·10109
269-100~1
'°G-Oiuas
.(.00-
It
14'1
a-1a1ea
"®-18:tll
~0-11:MO
~G-11342 a
.cD0-1!1114
400-Mffl
.CCO·Mkl
a-241152
CG0-24855
.(Qt-M1157
~1)-14868
~O
M164
~Z41115
-CClO-MMS
40
0-ZU7'12
~OD-26Un
4GD·m38
~U119
COO-UlOO
.aio-m,11
(C0-ll021
40C>-!S02T
'°O.lSOZD
(00-llOJO
G)l).JSO!l
CIXrJWU
4DO•HGi1
CD0-38700
4f0..Jll'102
400·S8Tll
G>-3&'7l2
(00.llJ'lD
coo-srru
.COO·S69Q8
-<00-snoe
-COO·JatllO
cuo-mza
G>·S9aff
~-,1ua
a--tlk:l
(00-41244
,C00..4124&
oC00-412"
,(,QI).
4 l
247
4GO-tl2ta
~l?U
«»0-42.1111
~48$15
4'»-'8Slf
400-C!kUI
~~QGGS
40Q-51HS
0tM>l6lG
400-61618
u 45
28
is
28
28
~•
e
l'l
31
12
4 M
z l
a
a
z 3
lO
30
10
2!
"
23
)4
2]
23
IT
:JQ
30
21
21
5
a 12
•
a
"
a
a
4
-4
1
11
ll
24
H
24
21
2,
A
U)
2
10
10
10
JO
JO
12
4
14
24 4
J4 l
u l
II
28
11
12
-IG
66
57
58
s
Z9
IG
zo
50
lf
2l
"
l9
16
1
'I
s
n
6
21
'
23
3D
2D
5
I
%15
ll
11>
Z4
!G
l4
~
~o
Iii
73
42.
J4
JG
ZS
u
ZI
..
1
6'1
43
44
45
40
41
M)
CiT
&2
11
50
81
81
'
-ff-