Page 1

Automatic Serger
El11.1-tt-V'~
/f-q
y
~
ASN-395 (Air-type)
ASN-395T(Ai rless-type)
ARTS LIST
HOW TO
1.
As
to
2.
Codes on
· Each numeral indicates
· "0.1"
3.
Parentheses
4.
Dotted lines on the Figures indicate assembly parts.
;~-
'Y
1.
~;;.
"""'-
2.
llll::iitmo:>
a.
~:iitmo:>
4.177-r""--Vo:>-----wli,
"#01"
the
and
1)
ill:'¥-
MAKE
and
"#02"
"Qty"
"2.5" indicate
mean
that
7-. ~ ;:"
v
o:>uo1,
li,
(I!]
( )
li.
USE OF THIS
refer
to
the
"Note"
column
the
number
the
the
corresponding
f!J
Jt1
1:: ~ G
uo2
Wo:>
ill:
b'<
u, o.1,
lll!llldi\'l:ll!J!I;t,cc''<>r!llln'l.<:il'>'<>.::t<~:;1!:1!11u*'t.
of
parts required.
length (in meters)
part
-c
fll
li,
""--
2.5o/l'
lllll!J!I;<:il'>'<>.::t<~:lll:1!11u*'t.
given
is a
Vl'
o:>
ill:
PARTS
at
the
of
the
subpart
o:>"tna"
l1i
li,
1<:
LIST
bottom
respective
that
constructs
o:>ll!ll/l
<'! < 111
of
the
respective pages.
parts.
>:
.::*!1«
ro:"-
an
assembly part.
l'
<'!
r
Jv)
"·
b'<
u *
't.
29146107
No.1011
-03
Page 2

1.
PRESSER
jljl.i<.·r><7-~Mi*ll!l!*
2.
SIDE CUTTER COMPONENTS
FOOT & LOWER
KNIFE
BRACKET COMPONENTS
.............................................................
-lt4l':h'Y:ll-ll!lf*
3. FRAME COMPONENTS
....................................................................
!fi*ll!l!*
4.
COVER COMPONENTS
;/}
;'-ll!lt%
....................................................................
CONTENTS
§
~
................................
1
3
5
7
5. FRAME MISCELLANEOUS COMPONENTS
.................................................
lllill!l71-!11ill!l!*
6.
CLOTH GUIDE & CLOTH BASE COMPONENTS
{[;
# 4
l' . {[;
-E!Il!l!*
7.
PRESSER FOOT
jljlAJ::If
8. PNEUMATIC COMPONENTS
~J±·~fJJ(7t7'Y3/)fl!!f*
9.
CLOTH CONTROL COMPONENTSCOPTIONAL PART)
· "'-1'Jv7-4
{filtUOO!l!lf*
10.
VACUUMING
~ll!;l{'Y
11.
SS-40:S!NGLE
.,;.;
12.
CLOTH FEED MECHANISM COMPONENTSCOPTIONAL PART)
{f;)lt
13.
SUPPORT
y!f
1)
:7
Jv7-
il!iiill!l!*
LIFTER
(Jt
;1-,:.;
BOX
7-il!lf*
:ll
(I.
STACKER COMPONENTS( OPTIONAL PART)
•y
:tl-
(Jl'
TABLE & PEDAL COMPONENTS(OPTIONAL PART)
& PEDAL SWITCH COMPONENTS
·;~:t-OO!*
.............................................................
3 /flllt\1,)
COMPONENTS(AlR-TYPE:ASN
7 -{±til\: AS
(Jt
:1-,:.;
3 /illl&'nl
:1-,:.;
3 /il!lt\1,)
N-
3 9 5)
............................................
......................................
-395)
................................
..................................
...............................
.............................
.............................
9
11
13
15
17
19
21
23
25
lllll!IJ-T-7Jv · "'-1'Jvll!l!*
14. MOTOR & PULLEY COMPONENTS
(7t7·.,;;
3 '-'llll£l
.......................................................
'f:-:ll·7'-1Jil!l!*
15. VACUUMING BOX COPMONENTS(AIRLESS-TYPE:ASN
.ll!;l{'Y:77-il!lffi(I.7-~7-fttil\:ASN-395T)
16. PRESSER FOOT LIFTER COMPONENTS(AlRLESS-TYPE:ASN
jljl;<.J::~fl!!ffi(I.7-~7-fttil\:ASN-395T)
17. TRANSMISSION BOX COMPONENTS
.....................................................
-395T)
............................
-395T)
1\ril!i;l{'Y:77-fl!!ffi
......................
27
29
31
33
Page 3

18. OPERATION BOX COMPONENTS
Jif'F;j{-y;7;7..fi!lf*
.........................................................
35
19. MAIN
20. PANEL CIRCUIT BOARD COMPONENTS
PRINT
MA I N,l!H&Ii!ll*
;q,
Jvli!il&li!ll*
NUMERICAL INDEX
'iii
51
CIRCUIT BOARD COMPONENTS
OF
PARTS
...........................................................
............................................
..................................................
37
38
39
Page 4

1.
PRESSER FOOT & LOWER
.Jlllx·T~7-.~Hf*OO!Ri
KNIFE
BRACKET COMPONENTS
21·22·23
24
G
~
70·71
-1-
59
6~
6~
58
'
62
Page 5

22
23
24
25
26
27
28
29
30
32
33
---------------------
#02
#03
;05
G5909-397-000-A
G5906-397-0BO
Bl530-804-000
WP-0250516-SD
SS-7060610-SP
R4100-H5F·COA
R4100-H5G-COA
ll9-8ll07
161-03400
l
2
3
4
7
8
9
D E S C R I P T I 0 N
PRESSER
FOOT
FOOT A SM.,
FOOT
2.
3/32-56
PLATE'
PLATE,
FEED
GUIDE
1/8-44
GUIDE
ARX
ASK.
ASM..
HINGE
5X6XO,
FEED
DOG
FEED
BASE
L"'
L=6
, E
, F
,G
5
5.5
DOG
DOG
PRESSER
PRESSER
STOPPER
WASHER
SCREW
THROAT
THROAT
DIFFERENTIAL
HAIN
DIFFERENilAL
EDGE
SCREW
M3
WASHER
EDGE
-----
_t_-'-
-~--
j_-------
99'_-
(l)
(I)
l
l
38
39
42
43
44
45
47
48
49
57
58
59
60
61
62
63
64
:t05
;04
;04
' 121·03602
RE-0800000-KO
G5904-397-000
119·64509
118-45302
118-45609
WP-0370316-SD
SS
9090813-IP
SS-6111040-SP
115~98000
118-45807
RUBBER
£-SHAPED
LOWER
KNIFE
CERAMIC
UPPER
KNIFE
KNIFE
WASHER
SCREW
9/64·40
SCREW
ll/64·40
UPPER
KNIFE
UPPER
KNIFE
PLt:G
SNAP
LOWER
3,
7X8X0.3
A
RING
(8Mif)
BRACKET
KNIFE
SUPPORT
Lo::S
L"'
9.5
SUPPORT
t7~1?
A
79~7:
t7~AHl
A
t'J;(A
t7:t'
tJ'
t 3, 7X8X0.3
u71/7~
H 9;64·40
ll/64·40
t7t'"
1);7).;-.(fj'I
ry;u.~
[,g
L"'9.5
NOTE
0±~)
;tO 1 ••• , FOR
;t02
,!103
,!104
;t05
;t06
,!107
MO-
.•..
FOR
M0·3904·0F5·300/SFIH
....
FOR
M0-3904-0G5-300/SFI!l
....
FOR
EXPORT
....
SPECJAL
...
,OPTIONAL
....
PRESSER
3904-0ES -300/SFlH
ORDER
PART
PART
FOOl
Willi
CURL
GUARD
-2-
M0-3904·0£5- 300/SFI\Iffl
MO
· 3904 -OF5-300/SF
M0-3904
·OGS-300/SF!Hffl
liHlllll
JifjliJtl:Jt~£
.:;t/~3/m;&
tJ-JVLI:&?ft~f!jl;t
IHHl
Page 6

2.
SIDE
~ 1 I'
CUTTER
:tJ
'Y
?1-IMlt%
COMPONENTS
-3-
Page 7

RE~.
_NQ
__
~O)'E
____
fAFJ:
~0~
__________
~
~
_
S_
~
_R _ I_
f _ T _
~
9 _ N
____________
t
__ ' __
;<
__
j _ _ _ _ _ _ _ _
9t_Y
_ _
10
11
12
13
14
15
16
17
18
19
20
21
22
23
24
25
26
27
28
29
30
31
4
I
2
3
5
6
7
8
9
!IAT-038010BO
MAT-036010AA
!IAT-03602000
SS-2060320-SP
!IAT-03604000
SS-4110715-SP
MAT-0360500A
MAT-03606000
MAT-03607000
MAT-036090AO
MAT-03610000
SS-6060410-TP
MAT-02111000
MAT-02502000
BP-4000000-00
SS-2060510-SP
SS-6090520-SP
SS-6080410-SP
SS-5060410-SP
WP-0250516-SD
MAT-04400000
SS-4120915-SP
MAT-03603000-A
SS-4150715-SP
SS-6111210-SP
MAT-03608000
MAT-02503000
SS-7080520-SP
MAT-02106000
MAT-03611000-A
SS-7110840
SP
KNIFE
REST
KN
IFF
REST
KNIFE
REST
SCREW
3/32-56
KNIFE
REST
SCREW
FIXING
WORK
KNIFE
OIL
OIL
SCREW
11/64-40
KNIFE
KNIFE
SHAFT
SUPPLY
SUPPLY
3/32-56
SPRING
DRIVING
VINYL
SCREW
SCREW
SCREW
SCREW
WASHER
LEVER
TUBE,
3/32-56 L-4.5
9/64-40
1/8-44
3/32-56
2.
5X6XO,
ADJUSTING
SCREW
3/16-28
KNIFE
REST
SCREW
SCREW
DRIVE
SLIDE
SCREW
15/64-28
11/64-40
PIN
BLOCK
1/8-44
SPRING
SIDE
COVER
SCREW
11/64
CO!IPL.
AS!!.
LID
L~
3.2
PLATE
L-7
HOLDER
PIPE
WHITE
ASM.
BRACKET
L~
3. 5
D~4
L~
5.0
L~4
L~3.5
5
PLATE
1~9
BRACKET
L~7
L~12
L~4.9
40
L-7.8
~;W
11?7~
~~~'1'1,3'1]
~~~'17~
xk,7tY'
~~~·1~91'J1~
t,·
371~~
~·ry~~
~H'J
~~~JijJJ\''I
hiJJA' 17'
t7tY'
~·
3/32-56
:fY'
11/64-40 L-7
J~
~~iJfj'
3/32-56
-~~b'1~'
A'
:f
L~3.5
L~3.2
WIJW-
t'
>k
A'17'
x~'7tY'
t7tY'
t7tY'
~7~ty•
t7,'b'
M3~f31Jt11~
r''
~~~'1H,'JM
t,·
t7tY'
3/32-56 L-4,5
9/64-40
1/8-44
3/32-56
t 2,5X6X0,5
:fy'
3/16-28
tY
15/64-28
11/64-40
1~5
L~4
1~3.5
L~9
L~7
1~12
(I)
(I)
(2)
(I)
(I)
(I)
(l)
(I)
(I)
(2)
(2)
(I)
(I)
(0.
(I)
(I)
(2)
(2)
(I)
(I)
w IJt' y 1
~~w
?M3' , I
x~t7tY'
~·
-nHIA'
~)~'13JbA'
x~t7tY'
l/8-44
ll/64-40
1~4.
9 2
t
- 1
L-7.8
I
2)
1
1
2
-4-
Page 8

FRAME COMPONENTS
·
3
ffff.fOOffi
3 1
33_~s~.
3
4-J,
32--1
-5-
Page 9

H!'~·_NQ _ -~O]'E-
___
~A!l'l:
~0~-
________
-~
,E_S_~_R_I_
~
_T_!
,O_N
____________
t __ ! __
J.
_ _
f_
_______
gty
__
G5944-395-0AO
2
G5936-395-000
3 G5935-395-000
4
5
6
7
8
9
10
II
12
13
14
15
16
17
18
19
20
21
22
23
24
25
26
27
28
29
30
31
32
33
34
35
36
G5934-395-000
E4373-172-000
G5942-395-000
G5943-395-000
#02
CM-3002002-02
CM-3002002-A2
#03
161-10405
161-10306
G5060-397-0AO
#01
G5060-397-000
G5061-397-000
NM-6080011-SF
WS-0820002-KN
WP-0841600-SE
S!!-9080053-SC
SK-3412000-SC
WP-0450826-SC
SM-4040801-SC
111-56007
G5065-397-000
111-55801
SM-6062002-TN
WS-0610002-KN
WP-0641601-SC
G1015-192-000
GIOI6-192-000
G5523-127-000
G5062-397-000
SM-6062002-TN
WP-0641600-SC
WS-0610002-KN
NM-6060001-SC
SM-9061850-SC
TABLE & STAND
UNIT
TABLE
UPPER
PLATE
LOWER
PLATE
CASTER
TABLE
A
SPACER
RUBBER
SPONGE
SAFETY
SAFETY
LABEL 2 (LARGE)
LABEL 4 (LARGE)
SCREW
CLOTH
GUIDE
CLOTH
TABLE
ASM.
CLOTH
TABLE
CLOTH
TABLE
FOOT
NUT
!18
SPRING
WASHER
SCREW
WOOD
WASHER
SCREW
WASHER
8,4XI5,5XI,6
M8
L= I 00
SCREW
D=4. I L=20
4.5XIOX0.8
M4X0.7
L-8
!18
CASE
CASE
FIXED
CASE
MAGNET
SCREW
SPRING
PLATE
M6
L=20
WASHER
6.
WASHER
CLAMP
CLAMP
BOTTOM
OPERATION
TRANSMISSION
SCREW
M6
WASHEW
SPRING
NUT
SCREW
6.4XI2.5XI.6
WASHER
!16
!16
PLATE
PANEL
BOX
L=20
6.1XI2.2X1.5
L-18
IXI2,
2Xl.
5
PIPE
INSTALLING
PL
ASN-395
'j-7'
~~YIJ'TIJX1
UYIJ'JY!I1!1
Hilil~
~
!I
h:<!l A
'f-7'
~,,.
_,_J' A
~!!1'1$'
7W
IJ~Yxt·y~·
Y7''
~
2(!1'1)
7Yt'Y7''1 4(!1'1)
~;n·
1r • r
~w
~;n·1r·
~JtH'1il~
~JtU'1
~JH!I'1'JhiJ
D1M:T1r
A'
t7''
D1bil$'
'\'IHt~·
M8
I
~2
H'
b'
t
!18
b'
t Jb'!lxl 8.4XI5.5
~r
M8
L=IOO
D=4. 1 L=20
t7,'b' t 4.5XIOX0.8
}''
Jt~·
M4X0.7
JV1~
JV1~JT11!1
JV1~
xil'
D1bi177*'
A'
H'h'
t7,'b'
w~
W
YIJW
'f'
YY!/~9111!1
D1M77*'
t7,'b'
A'
H'
D1b7!'10
D1bilt'
lr
t
t
~b''fXJI,
Ji,
YJ1!1
t,>J,'JhiJ
~~
t
b'
t
M6
~~
t1r
M6
M6
!16
M6
1~2
M6
L-8
L=20
!16
L=20
L-18
1
(I)
(I)
(I)
(4)
(8)
(I)
(I)
(I)
1
I
I
(I)
(2)
(2)
(2)
(
4)
(2)
(4)
(4)
(
2)
(I)
(I)
(I)
4
4
4
2
4
I
I
6
8
8
6
2
NOTE
CiHol
#01
#02,
#03
....
OPTIONAL
..
,FOR
....
FOR
PART
DOMESTIC
USE
EXPORT
:;1'7'
Y3Yil!lr%
OOri'llll
~tlllll
-6-
Page 10

4.
COVER COMPONENTS
fJ;\-mJf.,~
0
~11
27
~)
1 0
1 2 1
1 3--ff!l'
-7-
Page 11

R)'~.
_NQ
__
~O]'E
____
~A!!:
~0"
__________ ~ )' _ S_ g _R _ I_
f_T_
~
,0
_ N
____________
t
__
<
__ ~-_
j_
_______
gty
__
l G5072-397-000-A
2
3
G554l-395-0AO
#03
SL-4041291-SC
#01
4 G5070-397-000
5 SL-4041291-SC
6
7
8
9
10
ll
12
13
14
15
16
17
18
19
20
21
22
23
24
25
26
27
SL-4042091-SC
WP-0450826-SC
NM-9040001-SC
#04
G5932-397-000
G507l-397-000
#05
SL-4042091-SC
WP-0450826-SC
NM-9040001-SC
#02
WP-0450826-SC
NS-6090310-SP
#02
#02
Bll27-415-000
#03
G508l-397-000
PC-0126010-00
#03
#03
SL-4042591-SC
G5080-397-000
#03
#03
NM-6040001-SC
EA-9500B02-00
#03
BT-0600401-EB
#03
WP-0450826-SC
#03
#03
PJ-3090800-04
PJ-3040600-01
#03
SL-4041291-SC
FRONT
COVER
SOLENOID
SCREW
M4
L=
SIDE
COVER
SCREW
M4
L=
SCREW
M4XO. 7 L-20
WASHER
WING
REAR
REAR
SCREW
WASHER
WING
WASHER
NUT
FRAME
SPEED
SPEED
SCREW
TABLE
NUT
CABLE
4.
NUT
M4
COVER
COVER
M4X0.7
4.5Xl0X0.8
NUT
M4
4.5Xl0X0.8
9/64-40
THREAD
CONTROLLER
CONTROLLER
M4
L=25
BLOW
M4
BAND
TUBE
WASHER
4,5Xl0X0.8
UNION,Y
ELBOW
SCREW
M4
L=
VALVE(2-PORT)
12
12
5Xl0XO.
8
L-20
GUIDE
(C)
PLATE
150
12
~Ij]A'-
ziJi·-
rr·
yy· ". Y
7~'
3~y·
tA;(
M4
YIJ~~iJT>'-
7~·
3~l''
tA;(
M4
f~'
3~l''
tA;(
M4X0.7
t7~'
il'
~
4.5XlOX0.8
f3-fj~
>)l'DiJT>'
-
>)yDiJJ>'-
7~·
J~y·
tA;(
M4X0.7
t7~'
il'
~
4.5XlOX0.8 2
f3-71~
t'W
il'
~
4,5XlOX0.8
01M7n
7 A
;(t'
;(t' -r
'Y'
'j-7'
D1iJIJ71~
'J1YIJT>'
fJ-7'
t7~'
1H
vY
t~·
9/64-40 2
1r7~71
3~~91719
n·
~n
~7'
C
3~~o-7
1~·
JW
D-
M4
150
W
il' t 4.
2l''
J-'YIH'
3~Y
5X l OXO.
J'J
91
tA;(
M4
j~
L=l2
L=l2
M4
8
L=l2
L-20 2
L-20
4
L=25
4
4
4
4
4
l
2
1
2
2
2
l
l
2
2
2
l
l
l
2
NOTE
<i'Hcl
#01,,,
#02
...
#03
...
#04
...
#05
...
MAKES
USE
OF 3 SCREW(FOR
FOR
ASN-395
FOR
ASN-395L(OPTIONAL
FOR
DOMESTIC
FOR
EXPORT
USE
AND
ASN-395T)
PART)
JE
ASN-395Tii
ASN-395!ll
ASN-395L!ll
00
JIJ
JHJ'J E
.l±l!ll
3 {i!J{!l!Jll
(
;t
7':/
Ill
3
yfljl,jl,)
-8-
Page 12

5.
FRAME MISCELLANEOUS COMPONENTS
ID'lllll
?'~
ilQ
l}!l *
~12
I
®-a
13-®
I
30
Os,
I
,~1
~I
35
"LJ
i-33
b----34
ci>--s
134
"
-9-
<~1ii
Page 13

~~._Nq_
-~O'fE-
___
r~
~0_.
_________
-~
,E_S_ g _R_l_
f_T_ ~ ,O_N
____________
t
__
' _ _ ) _ _ j
________
9ty _ _
G5003-397-000
2 G5004-397-000
3
4
5
6
7
8
9
10
II
12
13
14
15
16
17
18
19
20
21
22
23
24
25
26
27
28
29
30
31
32
33
34
35
36
37
38
39
40
41
42
43
44
WP-0480856-SP
SS-6111140-SP
WP-0641600-SC
HX-0015000-0B
HX-0015000-0D
l!X-0015000-0K
SL-4041091-SC
SS-5090610-SP
WP-0370316-SD
SL-4051091-SC
WP-0982616-SP
G5928-397-000
115-71403
250-28853
SS-1110640-TP
G5903-397-000
250-28754
G5002-397-000
B3538-112-000
SS-7090420-SP
G5927-397-0AO
G5927-397-000
PJ-0320540-01
BT-0600402-EA
PX-9500050-00
PJ-0205000-0I
G5040-397-000
GAK-01003BOO
NM-6060001-SC
NM-7060032-SC
SII-6061802-TP
WS-0610002-KN
G5901-397-000
121-02000
SS-7090611-SL
SS-5110710-SP
WZ-0850302-KO
B3013-141-HOA
G5918-397-0AO
#01
G5919-397-000
SS-6080610-TP
G5918-397-000
SENSOR
SENSOR
WASHER
SCREW
WASHEW
CABLE
CABLE
CABLE
SCREW
SCREW
WASHER
SCREW
WASHER
BLOWER
RUBBER
LIGHT
SCREW
THROAT
LUMINESCE
SENSOR
OIL
SCREW
OIL
OIL
HOSE
OIL
CORD
INSTALLING
4.8X8.4X0.8
11/64-40 L=ll
6.4Xl2.5XI.6
CLIP
CLIP
CLIP
114
X I 0
9/64-40
3.7X8X0.3
115X0.8
9,8X24.0X2.6
CASE
CUSHION
RECEIVING
11/64-40
PLATE
SENSOR
FIXED
RETURN
TUBE
9/64-40 L=3.5
PLUG
ASM,
PLUG
NIPPLE
TUBE
CUPLING
PLUG
SEWING
PRESSER
NUT
HEXAGONAL
SCREW
SPRING
SAFETY
SAFETY
SCREW
SCREW
WAVED
MACHINE
LIFTER
M6
M6
L=
WASHER
PLATE
PLATE
9/64-40
11/64-40
WASHER
CAP
18
WASHER
ADJUST!
ADJUSTING
SCREW
ADJUSTING
NG
CLICK
CLICK
1/8-44
CLICK,
FIXED
PLATE
BASE
L=6
L=IO
ELEMENT
L=
5.5
BASE,A
ASM.
PLATE
HOLDER
SUPPORT
STOPPER
NUT,
TYPE 3 116
6.1XI2.
BRACKET
L=6,
I
L=7
8,
5X
12,
ASM.
BASE
L=6
B
ASII.
PLATE
B HIY?''
2XI.
5
5XO.
3
tYt-J-V
tYtt7t'n'
t7tY
t7t'
'1-7'
?'-7'
?'-7'
f''
~7At~·
t7t'n'
f''
t7t'
YIJ71J?'-;(
*'
Y
niJtYt-1"
t7t~·
A9{'1'!'1(A)
MJIJtYt-7"
tYhtti
nY911J
1~t7t~·
A{nl;
HniJ
*-;(o1T
fl-7'
n17' 9Y7'
7' 71'
}1)7'
o1Mfn
01M770f1}
01M7H'
A'
tt·
#J'
~
*J'
1~t7t~·
~ntY
f"n''lt'n'
L{'I01}'
f31Jt11~
f31Jt11~1-'
t7t~·
f31Jt11~
}M'I
H1?''1'1
t 4,8X8.4X0.8
11/64-40 L=ll 2
n·
t
~
1917' I
~
1917' I
~
11917'
JtY
tA;(
M4XO. 7 L=lO
9/64-40
t 3.7X8X0.3 2
Jt~·
tA;(
n'
t 9,8X24X2.6 3
-~YJ'
A
L=6
115X0.8
11/64-40 L=5.5
h'1T
HI
9/64-40 L=3.5 l
7"
~
HI
;(}1A'
- B
116
!;11
3!J'
'I
~}
n·
t
116
nA'-
n,,.
'1'1
9/64-40
ll/64-40
t 8.5XI2.5X0.3
Hrn· t t'lr
1"
'I' {
1/8-44
L=6
B
116
L=6.
L=7
L=IO
(0.
I (2)
t
I
2
6
I
2
2
I
I
4
I
I
(I)
(
2)
6)
(!)
(I)
2
2
2
2
4
6
(!)
( I)
(I)
(I)
(I)
l
(I)
(
2)
(I)
NOTE
CiHil)
#01
....
OPTIONAL
PART
-10-
;t:i:/3/ll!l,ll,
Page 14

6.
CLOTH GUIDE
;{fj
jj
1 r .
& CLOTH B
;{fj;ftfMJffi
ASE COMPONENTS
3
'
16~1
17~
1
a-------®
19~
24~
25~
I
r
I
I
I
I
26-!
I
I
28
I
I
I
I
I
I
I
1 5
26~
20
'
I ~
~~
23
-11-
21
22
Page 15

~~·
_NQ
__
~O)'E-
___
fA.Jn:
~0"
__________
~
_E
_
S_ g _R
_I_
~
_T_
~
_(I_
N
____________
t
__
!
__ ; __
f
________
9tJ
__
G5012-397-000
2
3
G5013-397-000
250-20207
4 250-20009
5
6
7
G5014-397-000
250-20306
250-20405
8 109-01106
9
10
II
12
13
14
15
16
17
18
19
20
21
22
23
24
25
26
27
28
SM-6040802-TP
SM-6061002-TP
\VP-0430800-SD
D2301-MIY-COW
SM-1030601-SC
RE-0600000-KO
G5010-397-000
SS-8110410-TP
115-01301
WZ-0420350-KP
CS-040051A-SD
SS-8080322-TP
SS-6111440-SP
NS-6110420-SP
118-02402
121-03305
SS-7110710-SP
161-87908
G5943-395-000
G50
11-397-000
GUIDE
BODY
CLOTH
GUIDE
SLIDE
BASE
SLIDE
SHAFT
GUIDE
CONNECTING
ADJUSTING
SHAFT
KNOB
SPRING
SCREW
M4XO.
SCREW
M6
L~IO
WASHER
\VI
SCREW
E-RING
CLOTH
SCREW
ECCENTRIC
DISC
THRUST
SCREW
SCREW
NUT
M4
NG
NUT
M3
X 8
6
PLATE
11/64-40 L-3.5
BUSHING
SPRING
HOLDER
1/8-44
11/64-40
11/64-40
SPRING
STOPPER
SCREW
11/64-40
SCREW
SPONGE
SPACER
LINER
7
L~8
D~4 W~5
L~3.2
L~l4.0
PLATE
L~7
!J'
·W H
~)7'171
!J'
·W
;(71~'
'!' 1
;(71r' Y 9
!J'
1V
IM11'J
'J~Jf3~!1Y
f3~t{J7'
;!Jr~·
01!JJ7f*'
01~'J7t*'
tW
~· ~ 3~·
n~'l
1r~~~1J
J:;Jty'
E~'
'JrM 6 2
~)1)'1
oJtY
~J'J'1
,7~'
t
;(:;AWJ
1-Jt~·
t7tJ'
01b'Jf1~
~)1)'1
~)1)'1
~JI,t7tJ'
~·wrJW
~)1)'1*'
9
~
Jl,~
.H
M6
L~
10
'J~JI,
M4
f3-t1o
M3XO.
5
L~6
11/64-40 L-3.5
,'1~'17'
1/8-44
11/64-40
j~1
D~4 w~5
L~3.
2
L~14
11/64-40
!11,1~'
li1'1;(~j~'-
t
11/64-40
>)~';;(*'
L~7
'IY'
;('' _,_717-
2
2
2
4
1
4
2
2
1
1
1
1
1
2
2
1
1
-12-
Page 16

7.
PRESSER FOOT
LIFTER
& PEDAL SWITCH COMPONENTS
.Jill.iLUf
19
~
·
""-?()v:A-1'
1 6
~
~
~rll!lffi
7
~
<tt·
~
~~
18
17
8
~
&
~
6 f' '
9
'&.
1 0
5
24-26
~
r
1 2
>
'"'-
1~
r 4
27
-13-
21
Page 17

RE~·
_Nq
- -
~OJE-
- - -
fA.RI:
~0~
1
2
PA-2002514-AO
PX-5000030-00
3 B1210-1ll-000
4
5
6
7
8
9
10
11
12
13
14
15
16
17
18
19
20
21
22
23
24
25
26
27
28
#03
HX-0015000-0F
G5930-397-000
SS-9151120-CP
SM-6062502-TP
PC-0151140-00
WP-0641600-SC
G7004-397-000
D2112-555-BOO
SL-4051491-SC
SL-4041091-SC
161-15701
161-15859
WP-0410846-SC
WS-0410002-KN
NM-6040001-SC
SM-4043001-SB
161-15008
161-15107
161-15255
SS-1110640-SL
MTK-440VSWOO
HA-0028100-00
#01
#02
HA-0028100-0A
#03
SL-4041091-SC
HX-0015000-0C
#03
- - - - - - - - - -
AIR
CYLINDER
KNUCKLE
NEEDLE
CABLE
CYLINDER
SCREW
SCREW
SPEED
WAS
HEW
POWER
CORD
WASHER
SCREW
SAFETY
SAFETY
WASHER
SPRING
NUT
M4
SCREW
FOOT
RUBBER
STACKER
SCREW
BUTTON
SWITCH
BUTTON
SCREW
CABLE
~
~-
s_
~
_R-
I_
BAR
CRANK
CLIP
PLATE
15/64-28
M6
L=25
L-11
CONTROLLER
6 .4X12.
SOURCE
HOLDER,
5Xl.
SWITCH
LARGE
SCREW
M4 X 10
SWITCH
SWITCH
BASE
ASM.
WASHER
M4XO. 7 L=30
SWITCH
BASE
SWITCH
11/64-40
ASM.
L=3.
SWITCH
SWITCH
M4 X 10
CLIP
r
_T_
~
.0-
COLLAR
6
BASE
PLATE
PLATE
5
N_
- - - - - - - - - - _t- - ' -
.
Xl
u·
~9t'-
'J-7'
tti7'J'
D11J'Jt'
D11i'J7ft'
:<t' -}'
t7,'1J' *
7'Y'J'Y:<11f}91'J1~
3-e·
t'li'
T''
7Yt'Y:<11f}91'J~'1
7W
t7''
~·
H'll'
D11i'Jfj}
T''
7-H11H91H'1
7-e'M1f3' A I
h~11i
Ht:l''
t·
~YM1f
li1'1!t
h11f
7''
Y'Jbl\'-1
-~-
-
:l'9Y~'
~·f'Jn
'J7Y'JIJ7-
M917'
:l'9Y~'-
~}
15/64-28
~}
M6
3YeD-7
e~lit'J'
A 2
'l1!tW
3t:l''
tA:<
M4XO. 7 L=10
Y M1f
IJ'
'J'i.
t
t
M4
M4
3t:l''
M4X0.7
'"'
?:<11f
11/64-40
3t:l''
tA:<
M4X0.7
f_
- - - - - - -
}91'!{~
L-11
L=25
L=30
'J'i.
L=5.
5 4
L=10
gty-
-
1
1
2
2
1
2
1
4
2
1
I
4
2
2
2
1
2
1
1
1
2
1
NOTE
(i:Ho)
#01
#02
#03
...
...
...
FOR
EXPORT(3-PHASE
FOR
DOMESTIC
FOR
#0 I AND
FOR
380-440V)
USE(I-PHASE
#02
IOOV)
~ff:\Jil
C3m380-44ovJ
OOY'lJil
#01
Cljl.mwovJ
,#02Jil
-14-
Page 18

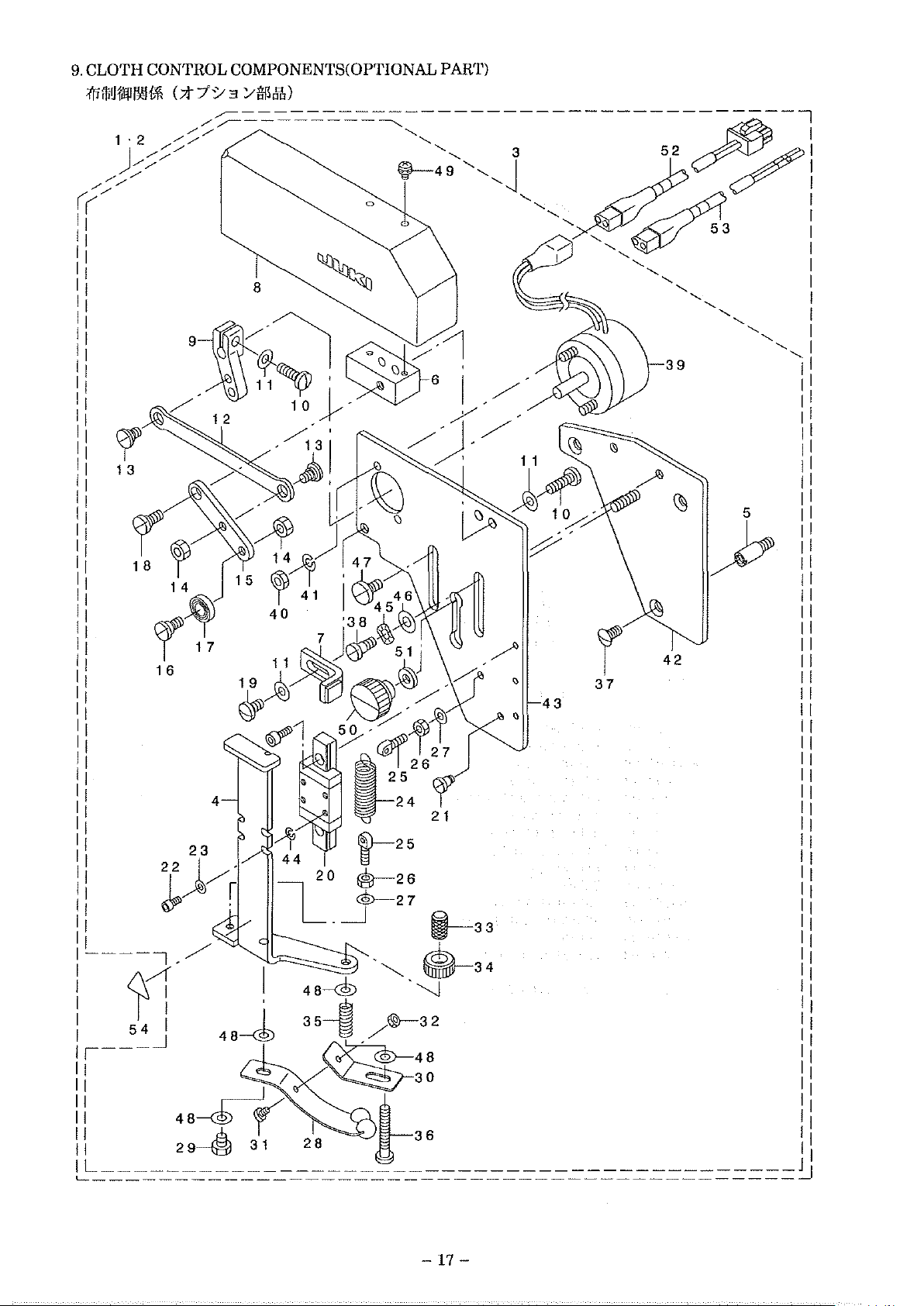
9.
CLOTH CONTROL COMPONENTS(OPTIONAL PART)
111
iliU
jJljJ
rl!l
{,)\
(
7t
/ v 3
/'
flll
dlt)
5
48--4
48-@
35-1
/@-32
~48
'~30
."'-..
>
i---33
~34
''-...j
-17-
Page 19

J1!:~._NQ
_
-~O)'E-
#01
2
3
#02
4
5
6
7
8
9
10
II
12
13
14
15
16
17
18
19
20
21
22
23
24
25
26
27
28
29
30
31
32
33
34
35
36
37
38
39
40
41
42
43
44
45
46
47
48
49
50
51
52
53
54
#01
#02
#03
___
~A!'!:
~0~
_________
G5050-395-0AO
G505l-395-0AO
G5050-397-0AO
G5052-397-000
G5053-397-000
250-21106
250-21452
250-21700
162-45409
SS-7111410-TP
WP-0450801-SD
162-46308
SD-0640231-SP
NS-6110310-SP
162-45201
SD-0640326-TP
SB-1060012-00
SD-0600271-SP
SS-7110840-SP
162-46118
SD-0450401-SP
SII-6030602-TP
WP-0320500-SC
D2515-232-DOO
161-85407
NS-6090310-SP
WP-0371016-SD
162-45151
SS-9110543-CP
161-93906
SS-6060410-TP
NS-6060310-SP
161-94201
MAH-1001600A
161-94300
161-92205
SS-2110710-TP
SD-0500481-TP
250-28655
NM-6040003-SC
WS
0410002-KN
G5050-397-000
G5051-397-000
WS-0310702-KB
WZ-0541510-KP
WP-0531000-SD
SD-0600291-TP
WP-0450826-SC
SL-4030691-SC
250-21007
109
03409
G8510-397-0AO
G8513-397-0AO
CM-3002000-01
-~
_E_S_ ~ _R_I_ ~ _T_ ~ _9_N
CLOTH
CLOTH
CLOTH
SLIDE
COVER
CONTROL
LINK
CONTROL
CONTROL
CONTROL
BASE,B
BASE
BASE
STOPPER
COVER
CONTROL
SCREW
WASHER
DRIVING
HINGE
NUT
BEARING
HINGE
BALL
HINGE
SCREW
SLIDER
HINGE
SCREW
WASHER
TORSION
PRESSER
NUT
WASHER
CLOTH
SCREW
ADJUSTING
SCREW
NUT
ADJUSTING
CLOTH
LEVER
11/64-40
4.5X10X0.8
LINK
SCREW
11/64-40
ARM
SCREW
BEARING
SCREW
11/64-40 L=7.8
M3
SCREW D-4. 5 H-4
M3X0.5
M3
SPRING
BAR
9/64-40
3.
7X8X
CONTROL
11/64-40
PLATE
3/32
3/32-56
KNOB
GUIDE
SPRING
ADJUSTING
SCREW
HINGE
SOLENOID
NUT
M4
SPRING
SLIDE
CLOTH
SPRING
WAVED
WASHER
HINGE
WASHER
SCREW
SLIDE
RETAINING
CLOTH
CLOTH
ATTENTION
SCREW
I1/64-40
SCREW
AS
WASHER
BASE,A
CONTROL
WASHER
WASHER
M5
SCKEW
4.
5Xl
M3X6
HOLD
BLOCK
CONTROL
CONTROL
SEAL
CO!IPL.
COMPL.(AIRLESS)
DEVICE
ASM.
SCREW
ASM.
L=14
D=
6.35
H=
2.3
D=
6
H=
2.
L=6
ADJUST!
1
PLATE
NG
ASII.
SHAFT
L=5.3
56 L-3.5
KNOB
L=7
D=
5
H=
4.8
II.
BASE
3. IX5.3X0.7
5.4X9.0X0.3
D=6
H=2.9
OXO.
8
NUT
ASM.
CORD
ASM.
____________
7
A
B
t
__ ' __
~JH'f
~Jt1~·
~Jt1~'
~71~''J'1B
!W
-fJ'1tY
9lW
t1'\''
t1'\'' 3bA'-
tH'
1~t7tY'
t7''
n'
')
'J'
ltY'
D1M:T1~
,.
79:;?·
'J'
:;tY
JDb'9y''JIJ'J
fJ'ltY'
1~t7tY'
tH'3~71'J'-M3
'J'
:;.}y'
D1Ml:Tt'
t7''
1'JbA
J/t,If39t1Y
D1hii:T1~
t7''
JJt1'\''
D1hilt'
JJ
tW
t7tY' 3/32-56 L-3.5
D1h771~
J/71
llh'1~' ,,~
JJt1~'
J/71
1M7tJ'
'J'
:;ty•
;vt1'\''
D1hii:T10
A'
H'
~71~''J'1A
JJt1~'
A'
H'
t~b'
t7''
'J'
:;ty•
tH'
T''
Jtl"
~7W~#1~
Hxt·
ntH'
JJtH'3J-~'7~
~t''Jb'f~IJ1Y-~(16)
-;.
__
f
________
319?~
3Il-v~)~
31o)fj~
'J'1
3~~'"'
-j~
3 ?r'
11/64-40
b'
t 4.5XlOX0.8
9:;)
D=6.35
H=2.3
11/64-40
IJr'
D=6
H=2.7
Il/64-40
D-4. 5 H-4
~~
!13XO. 5 L=6
h'
t Jb'
'J1~
113
t1A'
91'J
biYA'
)A
9/64-40
b'
t
3.
7X8X
1
31fJ
Bj~
~~
1I/64-40
3
7193'1
f31Jt1o':;
3/32-56
f31Jt1
,,~
3 7193)A' t
f31Jt1
J'
j
I1/64-40
D=5
H=4.
8
3YvJ'"'
j]'
t
3P'
b' f
'J''
!J'.t
h'
t Jb'
D=6
b' t 4.5XlOX0.8
IJ'J'
37~
114
M4
'J'1
t31J
5.
4X9XO.
'J1
~
H=2.
U~
!13XO. 5 L=6
H'J
7~
115
9
L=l4
L=7.8
t
L=5.3
L=7
3
9ty
(1)
(l)
( 3)
(l)
(l)
(l)
(l)
( 3)
(3)
(1)
( 2)
( 2)
(l)
(
(l)
(l)
(1)
(l)
(l)
( 4)
( 4)
(l)
(2)
(2)
( 2)
(!)
(!)
(l)
(l)
(!)
(!)
(!)
(l)
(l)
(
(l)
(l)
( 2)
( 2)
(
(!)
( 4)
(!)
(l)
(l)
(4)
(2)
(l)
(l)
( 1)
(l)
(l)
__
1
I)
3)
I)
NOTE
(it~a)
#01
#02
#03
....
....
....
FOR
ASN-395
FOR
ASN-395T
FOR
JE
-18-
ASN-395
ASN-395T
JE!ll
Ill
Ill
Page 20

1 1
2 1
/
/
//
/
/
/
/
/
-19-
Page 21

Jl!:~.
_NQ
__
~()]'E-
___
fA.Jll:
~0_.
__________
~
_E
_
S_
g
_R _ I_
f_T_
~
9 _ N
____________
t __ '
__
>
__
:!
________
gty
_ _
10
II
12
13
14
15
16
17
18
19
20
21
22
23
24
25
26
27
28
29
30
31
32
33
34
35
36
37
38
3
4
5
6
7
8
9
I
2
GMC-260050AO
GMC-26001000
161-13805
GMC-08033000
GMC-08031000
GMC-08032000
GMC-08034000
GMC-08035000
GMC-08025000
GMC-08024000
GMC-08014000
GMC-08015000
GMC-08016000
GMC-08017000
GMC-08019000
GMC-0801800A
SM-9062003-SC
WP-0641600-SC
NM-606000
WS-0610002-KN
GMC-08039000
GMC-080360AO
GMC-08024000
GMC-08036000
GMC-08037000
GMC-08041000
G5929-397-000
BT-150090
Fl017-003-000
SM-1031201-SC
WP-0320500-SC
WS-0310002-KN
NM-6030001-SC
EA-9500B00-00
HX-0006500-0B
GMC-08042000
#01
FIOI2-003-0AO
161-08508
l-SC
1-ZO
WASTE
FUNNEL
WASTE
FUNNEL
WASTE
FUNNEL
SCREW
10-32
ELBOW
ELBOW
PLATE
SCREW
11/64-40
WAHER
HOSE
CLAMP
HOSE
CLAMP
WASTE
JUNCTION
WASTE
REMOVER
NEEDLE
TUBE
VALVE
CONNECTOR
FLEXIBLE
TUBE
CLAMP
SCREW
M6
L=20
WASHEW
NUT
SPRING
6.4XI2.5X1.6
M6
WASHER
CANISTER
INLET
PORT
HOSE
CLAMP
INLET
PORT
INLET
PORT
INLET
PORT
WASTE
CANISTER
AIR
TUBE
NOZZLE
SCREW
WASHER
SPRING
NUT
CLIP
CABLE
HOLDER
M3X0.5
M3
WASHER
M3
CV-70S
BAND
SILENCER
NOZZLE
CLOTH
ASM.
BASE
TOP
TOP
TOP
UNF
L=l4
TUBE
HOSE
6.1XI2.2X1.5
COVER
ASM.
ELBOW
BODY
RING
L=l2
M3
HOLDER
MOUNT
MOUNT
MOUNT
L=9
RUBBER
ASM.
BASE
(!)
(!)
(
(!)
(!)
(2)
(
( I)
(!)
(!)
(!)
2.2
3
I
2)
2)
I
3
2
2
2
2
2
1
1
I
1
2
2
2
HiT:<'
UJ~!If(!T~)
~9!1:<'UJU'f
~J!I:<':<1J~!Ifp911;'1
I~~·
7'
~-H)~}'
;.({J~!I'
f31J
IU'
H~' T ~-p
7'
711H)tJ'
7'
711H)t'
!1:<'1YIJ~J7131J)7Y7'
~-;()7Y7'
2)f
7)9~h-7'
);.('{YIJ!f
~-p:~~·
h-7'
7HY7' il
h-7'
Djli)~'
t7t'll'
D1Mt1P
~·
tt'
;·
:<P1H-
;·
:<Pt'
t-;()7YT
;·
:<W
IJ\~'
IW
tYJ~)'
hWYt'1!1:<
I7-~-;(
I7-
};.('
t7JtJ'
t7t'
h' t
~·tt'h'
D1h!Tt1P
11Y)~'
Y!ltY~'
J3o)tY~
I7-
J'J.'
~;;·wn·
itt
J\7'
J~H-
t-:<
)7YT
J\p
M6
L=20
~
M6
IJ~
h'
t
M6
7;
j)A31JI!\t'
1);.(31]
Ht'
tJJ~)'
J\
;HI
f
f
p)9
M3X0.5
Jh';vJI
t
3.1X5.9XO.
M3X0.5
w
60
Yp'
Jl
)~
A
()~)
L=l2
M3
7 2
IJ~
NOTE
Ctt~a)
#01
....
OPTIONAL
PART
;t7'V3~ll!l£
•
-20-
Page 22

32
33
3
,_55
5 b
"'0-
'?'/'"'
3 1
~
I
I
1 g
~48
®-so
I
'®-
1156~
'~~
y
/0
~
48
®-so
se®-49
11;(/
~
43~
43
.
42
_/
-21-
Page 23

R)'~._NQ _ -~OTFc
___
~A!i:~O~
_________
-~
]':_S_LR_I_
LT_\
,O_N
____________
t _ _ !
__ ; __
f _
_______
9ty
__
'10
II
12
13
14
15
16
17
18
19
20
21
22
23
24
25
26
27
28
29
30
31
32
33
34
35
36
37
38
39
40
41
42
43
44
45
46
47
48
49
50
51
52
53
54
55
56
57
58
59
60
61
(
(I.
(1,
I.
(I)
(
2)
(
4)
(I)
(
2)
(
2)
(
2)
(
2)
(
2)
(
2)
(I)
(
(
I)
(
I)
(
1)
(I)
(
2)
(
3)
(
2)
(I)
(I)
(I)
(I)
(
2)
(
2)
(
2)
8)
8)
I)
(I)
(I)
(I)
(I)
(
1)
(
1)
(
1)
(
I)
(I)
(
I)
(
4)
(
2)
(
2)
(l)
(
2)
(I)
(
2)
(
5)
(
5)
(
4)
(
2)
(
3)
(
3)
(
2)
(
2)
4)
(
(I)
(I)
(I)
(I)
(I)
I
I)
1
2
3
4
5
6
7
8
9
GSS-40000080
GSS-400000AO
G5103-397-0AO
PV-9030040-00
250-32301
PJ
3040800-02
SM-1041001-SC
NM-
6040001-
SC
WS-0410002-KN
WP-0410846-SC
HX
0015000-0C
250-32608
250-31600
PA-1004505-AO
PJ-3040405-04
\lP-0430800
SC
180-72553
EA-9500BOI-00
161-37804
SM-6050802-TR
G5404-172-0AO
PV-1508020-00
PV-1308020-00
G5102-397-0AO
PJ-3040851-02
SL-4041091-SC
PJ-3050800-02
BT-0800501-EB
BT-0600401-EB
BT-0400251-EB
GSS
42009000
250-31907
250-32004
250-32103
250-32202
250-32400
161-37101
161-37259
GSS-31151NOO
!61-38109
161
36400
161-36806
161-36905
PA-2005001-00
PC-0151060-00
B8103-WP3-000-A
SS-1110640-SL
SII-6061002-TP
WP-0641601-SC
WS-0610002-KN
SL-9082093-SE
SM-6083002-TN
WP-0841601-SC
WS-0820002-KN
SL-4041081-SF
SS-8660612-TP
NM-6050001-SC
NM-6080001-SC
161-15008
161-15107
161-15255
STACKER
STACKER
SOLENOID
COMPL,
ASM.
VALVE
SCREW
STACKER
ELBOW
SCREW
NUT
SPRING
BLOW
UNION
M4X0.7
M4
WASHER
WASHER
CABLE
CLIP
PRESSER
CYLINDER
ARM
INSTALLING
CYLINDER
ELBOW
UNION
WASHER
THREAD
CABLE
WING
SCREW
FRAME
SOLENOID
SOLENOID
SOLENOID
M4
CUTTER
BAND
SCREW
M5X0.8
SHAFT
VALVE, 5 PORT
VALVE, 3 PORT
VALVE
ELBOW
SCREW
M4 X 10
UNION
TEE
VINYL
TUBE
TUBE
URETHANE
MODEL
SLID
STACKER
STACKER
PILLOW
STACKER
HOSE,
NAME
PIPE
POLE
SUPPORT
COVER
CUSHION
STACKER
STACKER
STACKER
STAND
BAR
ROD
HANDLE
MINI
PILLOW
THRUST
AIR
SPEED
COVER
CYLINDER
CONTROLLER
ADJUSTING
SCREW
SCREW
ll/64-40
116
L=
WASHER
SPRING
WASHER
SCREW
SCREW
WASHER
SPRING
SCREW
SCREW
NUT
NUT
FOOT
1.~30
118
8,4XI7.4Xl.6
WASHER
114
L=
1/4-40 L 6
115
M8Xl.
25
SWITCH
RUBBER
STACKER
SWITCH
CORD
PIPE
L=IO
HOLDER
SUPPORT
L=8
ASM.
ASM.
BLACK
PLATE
ASM.
HOLDER
UNIT
SCREW
L=3.
10
6.1Xl2.2Xl,5
M8
I 0
BASE
PLATE
ASM.
ASII.
ARM
ASll,
(NC)
5
~'J111-YM2.
l'J111-?2.
7'Y}'<\'YJ-)-'?'~
,.
1,7'
HH~Y
;<'Jyll-7' 0-A'
{7'
IU'
~7J~j'
M4X0.7
011i?t1f
A'
H'li'
t'WII'
t
Y'l'tYTI'
nttn7{
1H9
5'YY9'
Ifl,.;};'
t"'
1H9Hr?2.
Y?t,A'
f31)tj'
U1M7l;'
fl)7'
5;};'
1
J9Y'J'- P911?7'
l.::/tY
II'
~
,,.
''!*'"
-r
:;·
3;· -f(NCJ7'
Zl<'
-f7' W
M4
t
M4
lit!!'
Jli'
'J>
~f
M5XO. 8 L=S
()'!,)
Y5''
,.,.
,,-
,.
Y?2.
L=IO
~
M4
Y
,.
Y
IU'
t,·
JtY
tA~
!14XO.
7 L
l:tY
7{fl-7'
fl-7'
I)"'JY;h< ?0
b'
A
;({AY
~7{f'
A'
jhl;
""
n'JJ!J
?7M!J
'·
-f'
ll/64-40
II'
t
H'
II'
II'
tH01M;'
II'
t
H'
II'
Jtj'
t/4-40
MYfJ' A
w
{7'
?2.
-f;I!Jt)'
JYf0-7
11J' "
~f
M6
2.11'
~~~
t
!!6
~f
M8
2.11'
~'I~
t
118
U:<
M4
M5X0.8
M8
lj1
1;~{1f
L=5.5
L=lO
116
/,f
L~30
118
L=lO
L 6
1}1
)2,
~'J111-
7.91h-
t'O-!JA'-
7./)1h-'J'J,3'!
IJ9Y
}~Y
~'J71i-A'
01f'
r.';p.
<:t·o-1:1;
~7Af!J7-
I7-Y9'i9'
7.t'
f3i)t1~j'
tHY
01M7H'
t"'
,.
t'
07h?7H'
t"'
A'
t,·
r:ltJ'
01!i?t1f
01Mt1e
7-f7.{1!f911'J'{
7-f'
7.'J1!J
10
-22-
Page 24

12. CLOTH
;{ff
);5
1)
~
FEED
li[
ll,!j
ffi (
MECHANISM COMPONENTS( OPTIONAL PART)
;t
/ ';/ 3
/'
Jlll.lj,
)
-23-
Page 25

~~._NQ _ -~oTE
....
rA!'I:
~o,.
________
-~
y._s_
LRJ
r
_T_ ~ p_N
___
.......
__
t_.,.
_;
__
1
___ . __
. _
gty
__
10
11
12
13
14
15
16
17
18
19
20
21
22
23
24
25
26
27
28
29
30
4
I
2
3
5
6
7
8
9
G5922-397-000
G5926-397-000
G5924-397-0AO
PA-2525005-AO
PX-5000410-00
G5923-397-0AO
PJ-3040400-01
BT-0600401-EB
G5921-397-0BO
G5921-397-0AO
PV-1305320-00
G5103-397-0AO
PX-0105010-00
PJ-3040605-04
G5920-397-000
SL-4041091-SC
SL-4041091-SC
PA-1003011-AO
180-72553
180-72504
180-72603
PC-0105140-00
162-32209
PC-0151140-00
GAS-
11154000
PJ-3050800-01
SL-4041491-SC
BT-0400251-EB
BT-0800501-EB
PJ-3080600-01
CYLINDER
SUPPORT
CLOTH
SQUARE
SENSOR
NEUTRAL
INSTALLING
CYLINDER
FEED
LOT
BAND
SENSOR
ELBOW
TUBE
SOLENOID
SOLENOID
3-PORT
SOLENOID
MUFFLER
QUICK
SOLENOID
SCREW
SCREW
SUPPORT
THREAD
THREAD
THREAD
SPEED
VALVE
VALVE
SOLENOID
VALVE
!15
JOINT
VALVE
!14 X 10
!14
X I 0
CYLINDER
CUTTER
CUTTER
CUTTER
CONTROLLER
TUBE
SPEED
CONTROLLER
STACKER
PIPE
SCREW
URETHANE
VINYL
UNION,
RING
TEE
4 X
TUBE
Y
14
HOSE,
AR!I,
RECEIVER
CYLINDER
ASM.
CYLINDER
UNIT
ASM.
VALVE
CORD
AS!!.
(MINI
-TYPE)
BASE
PLATE
SUPPORT
SUPPORT
SUPPORT
BLACK
A
AS!!.
CUSHION
5'9Y~'-r91'11)7'
~J;HXJ;9Y~'-I)'J
~Jt?9l'9Y~'
;(JX701}>'
tY~-~·
fliJhYtY~
X~*'
fl-7'
r·
'j'
3t'
7'
'177-
?1J?1~'
7'
T''
T''
~JHxl'9Y~'-
1H9HxJ>.
1H9Hx
1H9Hnt·
;(t'
*'
;(t'
;(~1h-
1'J1l=tY7{-
T''
1)\;~Y*-
fl-7'
l=tY91
W
YY
~~.·
Y
yy·
~;•y
+r'
Yl''
YY
,.
YJ- V
115
7(
YY
,.
1
JtJ;'
U;(
JtJ;'
tA;(
-)>'
JY)>0-7
91)~~1
J{~
-p'
JYr0-7
9Y?'
JtJ;'
tA;(
A ?0 1.1
A
-
?~
l'9Y~'
'19'!$..
'J$,.
,.
Y
?~
~=~17'
r9H1~
)
M4XO. 7 L-10 ( 4)
!14XO. 7 L=IO
W
fll)7'
M4XO. 7 L=14
(
(I)
(I)
3.5
(
(2)
(2)
(2)
(
4)
(I)
(I)
(I)
0.8
I
1)
1
1
2)
2
1
1
I
I
2
I
1
1
1
-24-
Page 26

-25-
Page 27

fl!'~._NQ
_
-~(JfE
____
~A.RJ:~O_.
_________
-~
_E_S_~_R_l_
f_T_~
_(l_N
____________
t
__
, __ ;
__
j _
_______
9ty
__
10
1 I
12
13
14
15
16
17
18
19
20
21
22
23
2
3
4
5
6
7
8
9
G5420-397-0AO
G5420-397-000
SM-9088013-SE
WP-0841601-SC
WS-0820002-KN
NM-6080001-SC
SM-9082023-SE
161-38604
161-36400
161-38703
B8I03
WP3-000-A
G5421-397-0AO
161-15008
161-15255
161-15107
SS-1110640-SL
EA-9500B00-00
G5422-397-0AO
161-15008
161-15255
161-15107
SS-1110640-SL
EA-9500B00-00
AUXILIARY
AUXILIARY
SCREW
WASHER
SPRING
NUT
M8X1.
SCREW
AUXILIAHY
TABLE
TABLE
M8
L=80
8.4X17.4X1.6
WASHER
25
M8
L=20
TABLE
HANDLE
SLIDE
ADJUSTING
STACKER
FOOT
STACKER
PIPE
SCREW
PEDAL
SWITCH
SWITCH
RUBBER
SCREW
CLIP
STACKER
FOOT
STACKER
11/64-40 L-3. 5
CV-70S
PEDAL
SWITCH
SWITCH
RUBBER
SCREW
CLIP
11/64-40
CV-70S
ASM.
M8
STAND
ASM.
BASE
PLATE
ASM.
ASM. , EXPORT
BASE
PLATE
ASM.
L=3.5
W 37'-7'
tY
U1hJ*'
t'Wh'
~·
.wn·
U1Mt1"
U1hJ*'
tY
~Yj>'
;{j1j>'
f3~t1tY'
Y"'~'91h-,'9'
7-!>M1fP91H'
'91h
7-r·
ntY
'1111~'
Y!>'~'91h-''9'
37'-7'
~"
t
~"
37'-7'
~
~·
fp'
MHJ'
ll/64
w
Mo;.
~
M8
L=80
';.h'
f'\'~
t
M8
M8
IY~
M8
L=20
~
'Jf~~
{7'
'J1J'
~
~Jo;.
1
~'{jf
A
40
60
41'!111';.
M8
)';.
L-5. 5
7-!>M1H91H'1
'91h
t!>'~'{1f
7-l-' M1fJ' A
fHY'
'J11W
11/64-40
W
60
)';.
L=5.
5
I
(I)
(2)
(6)
(4)
(2)
(
2)
(I)
(l)
(l)
(I)
1
(I)
(
2)
(I)
(4)
(4)
1
(l)
(2)
(
1)
(4)
(4)
-26-
Page 28

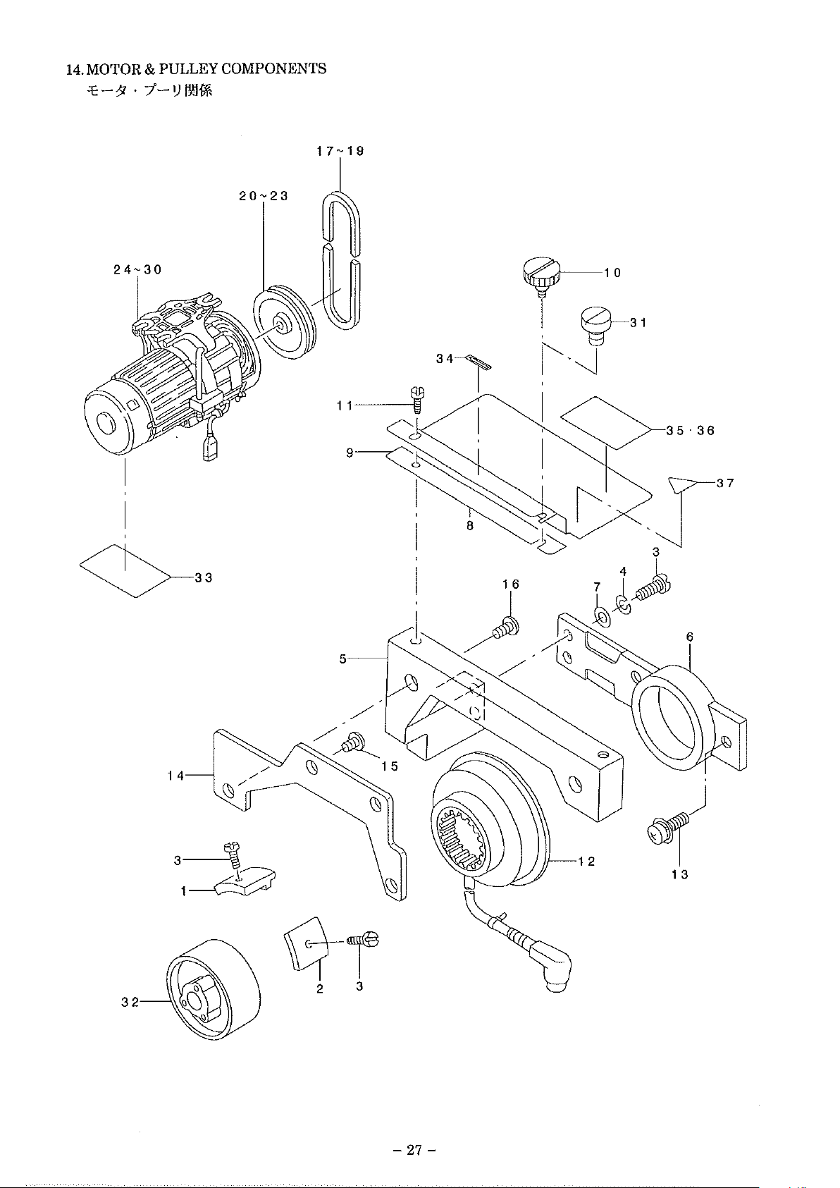
14.MOTOR&P
'€:-
?I . _,
/-l)~ffi
24-30
ULLEYCO
MPONENTS
17-19
1 4
3 ,
1~
\tr
2 3
)
6
~
1 3
-27-
Page 29

RE~·_NQ _ -~O)'E
____
~A!'l:
~o,
_________
-~
~_s_
LR_I_
~
_r_
\
!J_N
____________ ,
__ ' __ ; __
j
_______
99'. _
10
11
12
13
14
15
16
17
I8
19
20
21
22
23
24
25
26
27
28
29
30
31
32
33
34
35
36
37
161-05058
2
3
4
5
6
7
8
9
161-05157
SS-6111140-SP
WS-0451040-KP
162-50300
I62-54500
WP-0450801-SD
161-III06
161-10801
MAT-80110LOO
SD-060027I-SP
110-32265
SL-405100I-MZ
G5030-397-000
SS-4I50915-SP
SS-415I215-SP
#0 I
MT J-VM003500
#02
MTJ-VM003300
#03
MTJ-VM003100
#OI
MTS-POI550AO
#04
MTS-P01300AO
#12
MTS-POI250AO
#03
MTS-POI050AO
#05 M8411-391-AAA
#06 M8411-391-BAA
#07 M8411-392-AAA
#08
M8411-392-BAA
#09 M8411-394-AAA
#10 M8401-2I9-AAO
#II
M8411-395-AAA
#13
SS-6110630-TP
200-21259
CM-300IOOI-01
CM-5003000-01
#14 CM-3002002-0I
#15 CM-3002002-AI
#13 CM-3002000-03
POSITIONING
POSITIONING
SCREW
SPRING
SYNCHRONIZER
FIXED
PLATE
WASHER
PULLFY
CLOTH
GUIDE
CLAMP
SCREW
HINGE
SCREW D-6
GENERATOR
SCREW
SYNC!IRON I ZER
SCREW
I5/64-28
SCREW
15/64-28
V-BELT,
V-BELT,
V-BELT,
MOTOR
PULLEY
MOTOR
PULLEY
MOTOR
PULLEY
MOTOR
PULLEY
MOTOR
550W
MOTOR
550\Y
MOTOR
550W
MOTOR
550W
MOTOR
550W
MOTOR
ASM.
MOTOR
550W
SCREW
FLYWHEEL
DANGER
DIRECTION
SAFETY
SAFETY
ATTENTION
PLATE
ASM.
PLATE
ASM.
1I/64-40
WASHER
L~1I
4.5X8.5XI
MOUNTING
4.5XIOX0.8
COVER
GASKET
H-
STARTER
M5
L~9.
ASM.
6
SPACER
L~9
L I2
35
INCH
33
INCH
3I
INCH
ASM.
P.C.D. 130
ASM.
ASM.
P.C.D.
200V
IOOV
190-250V
I90-250V
380-440V
380V
11/64-40
ASM.
LABEL
L 6
W
(SMALL)
LABEL
LABEL 2 (SMALL)
LABEL 4 (SMALL)
LABEL
A
B
BASE
2. 7
ASM.
105
1H'
~A)~
1H')
y,· H 351Yf
y,·
y,·
<-'IT
<-'IT
<-'IT
B)~
t7~J-'
11/64-40
h'
~t·n·
~
4.5X8.5XI
J-Y)0~9'1H'1
L~II
l'YJOJT11'1
t7t'
II'
.t
4.5XIOX0.8
7'
-9-bll'-
>Jn·
1r
"'
?7'
D-6
Y'i
A7-'l
:i-1'1
I5/64-28
I5/64-28
33{Yf
3I1Yf
J'iY
)')~)"
H 2. 7
)~
t,·
J;f]''
M5
L~9
L I2
A1t'
'i
'I'
Y:i-1''
M'J'
t'
b'
)'';;7J]_Ar,"-Y.
t''
:1-Y
t,·~y·
~~
H
-9Cnl
<-'1.7'
-9
P.C.D 130
-9
)~
-9
J~
P,C,D
L~9.6
)~
I
4
2
1
I
2
2
I
2
2
I
I
I
<-'1.550W2P3Y'J200VASN
<-'1550W2PIY?IOOVASN
't-'1.550W2P3Y?I90-250VASN
<-'1.550W2PIY?I90-250VASN
't-'1.550W2P3Y?380-440VASN
Ivno<-'1
)~
't-'1.550W2P3Y?380VVDEASN
t7tJ-'
""
7'
t'JJ'J7''
7Yt'
7Yt'
~t''Jb'fJ'J{t-~(31.5)
II/64
~)'
~1 )~
Y'J'
H'JY7''
~
Y7'' ~ 2(J-3?)
Y7'' ~ 4(t3?)
40 L 6
w
II(J-3?)
NOTE
Ci'H~)
#0 I
#02
#03
#04
#05
#06
#07
#08
#09
#IO
#II
#12
#13
#I4
#
15
...
FOR
...
FOR
...
FOR I OOV
...
FOR
...
FOR
...
FOR I OOV
...
FOR
...
FOR
...
FOR
...
FOR
...
FOR
...
FOR
...
FOR
...
FOR
...
FOR
50HZ
60HZ
AND
FOR
IOOV
60HZ
60HZ
DOMEATIC
USE(3-PHASE
EXPORT(3-PHASE
EXPORT
EXPORT(
(I-PHASE
3-PIIASE
JA(3-PHASE 220V)
JE(3-PHASE 380V)
IOOV
50HZ
JE
DOMESTIC
USE
EXPORT
50HZ
200V)
190-250V)
190-
250V)
380-440V)
50HZJll
60HZ
Ill, 1
OOV
50HZ
lOOV
60HZ}ll
60HZ
Ill
OOil'l!llC3m2oov)
IOOV
Ill
~ttl
m c
3m
19o
-25ov
~ttl!ll
~ttl
(ljiffii90-250V)
Ill
(3ffi380-440V)
*OO!ll (3ffi220V)
JE)ll (3ffi380V)
100V
50HZ/ll
JE)ll
OOii'J!ll
~ttl
Ill
Ill
l
-28-
Page 30

15.
VACUUMING BOX COPMONENTS(AIRLESS- TYPE:ASN
~~~Y~A~~(X7-vAtt~:ASN-395T)
-395T)
1 1
12~
I
'
I
I
j---25
©--26
@_27
24
·'1
/ '
~
~17
~'"
I
'
~
16
~
23
20
29
30-34
'
Jr-27
®-28
-29-
Page 31

RE~·
_NQ
__
~o:n:
____
~A!!:
~o_.
__________
~
.E
_
s_
LR
_I_ ~ _T_
!
!l_
N
____________
t
__
' _
-~-
_
f_
_______
9ty
__
10
II
12
13
14
15
16
17
18
19
20
21
22
23
24
25
26
27
28
29
30
31
32
33
34
35
36
I
2
3
4
5
6
7
8
9
GMC-260010AO
GMC-26001000
161-13805
GMC-08033000
GMC-08031000
GMC-08032000
GMC-08034000
GMC-08035000
250-22906
250-22500
G5526-395-000
161-25601
250-22856
250-23102
250-23003
250-23656
161-22707
250-23557
161-26104
250-23706
250-23201
250-23300
161-25502
250-22609
SM-6088502-TP
WS
WP-0841601-SC
NM-6080003-SC
HX-0030700-0C
#01
161-25403
#02
GMC
#03
GMC-1000900B
#04
GMC-1000900D
#05
GMC-1000900C
162-53551
161-08508
0820002-KN
l000900A
WASTE
FUNNEL
WASTE
FUNNEL
WASTE
FUNNEL
SCREW
10-32
ELBOW
ELBOW
PLATE
SCREW
11/64-40
WAllER
ADJUSTING
REDUCING
SOCKET
HOSE
HOSE
BAND
HOSE
ASM.
PIPE
ELBOW
BLOWER
HOSE
FILTER
Fl
WASTE
COVER
BAND
CLOTH
LTER
CLOTH
CANISTER
ELBOW
PIPE
WIRE
BAND
DUCT
HOSE
SCREW
M8
L=85
SPRING
WASHER
NUT
CABLE
BLOWER
BLOWER
BLOWER
BLOWER
BLOWER
PIPE
CLOTH
WASHER
8.4XI7 .4XI. 6
M8
CLAMP
MOTOR
MOTOR
MOTOR
MOTOR
MOTOR
AS!!.
BASE
TOP
MOUNT
TOP
MOUNT
TOP
MOUNT
UNF
L=9
L=14
PIPE
ASM.
SUPPORT
M8
IOOV
A
B
D
C
HOLDER
ASM.
BASE
ASM.
RUBBER
f9~~·~1J~J'f(J~)
f9J~·
MJ~J'
~JJ~'A1J~Jf~91}~'1
I~~·
T
MJ~J·
Ht'
Tv-~
7'
7}1~
7'
7ttH;IY'
~n~·
f31Jt1A"
MJ~}1fh'1Y}t~
~NA't-A
91l'A'Y~'
h7hYMJ~t-
MJ~A"17'
MJ~I~~·
7'
n9-7~n
t-AA'
YP'
7JOHIJ~
f
v-H;ItY
f31J
I~t·
~;ltY
II'
t
1T
5'31)
~)~
~·1
(I)
(I)
(
(I)
(I)
(
(I)
7)0
Y.J:~:!/'';TI'J
7H'5'Ht'
7~~·
w
17'
91l'A' W PIJ
~·)~t-~
01hJ7ft'
A'
H'h'
t7Y'b't
n1nnn
YJtYA"-1 1.4
~~r·
7'
nn-~
7'
nn-~
7'
nn-~
7'
nn-~
A"17'
~J~'11J}J'
~~
M8
L=85
t
M8
~»·
f'l~
M8
M8
35'J
1)~7'
n?
t-~
IOOV
A I
B I
D
c I
)~
A
I
2)
2)
I
1
1
3
I
2
l
I
I
I
I
I
2
2
4
1
4
4
8
4
l
I
NOTE
CiHc)
#01
#02
#03
#04
#05
....
FOR
....
FOR
....
FOR
....
FOR 1-PHASE
....
FOR
I-PHASE
3-PHASE
3-PHASE
!-PHASE
IOOV
200-220V
380V
240V
220V
ljl..ffi I OOV
3.ffi
200-
220V
3.ffi
380V
Ill
ljl.
til 2 4 0 v
Jj!tfl
220V
Ill
Ill
Ill
Ill
-30-
Page 32

16. PRESSER FOOT LIFTER COMPONENTS(AIRLESS-TYPE:ASN
jljl,ZJ:Ifll!!ffi
(:r.Y-
v7-{±;f"f:
AS
N-
3 9 5
T)
-395T)
I
'
/
<
~
/
~
/
/
7
~18
6~
~
(})
2
~
~
~
()
-31-
Page 33

J1!:~._NQ
_
-~O"fE
____
~AR"J;
~0~-
G5524-395-000
2 G5523-395-000
3
G5521-395-000
4 G5520-395-000
5
!i
7
8
9
10
II
12
13
14
G5522-395-000
SS-9151120-CP
WS-0610002-KN
WP-0641600-SC
SM-6052502-TP
WP-0550800-SP
WS-0510002
G5525-395-0AO
SD-0720331-SP
SD-0450701-TP
________
RUBBER
PRESSER
MAGNET
PRESSER
CONNECTING
SCREW
SPRING
WASHEW
SCREW
WASHER
KP
SPRING
MAGNET
II I NGE
HINGE
-~_E_S_~_R_l_
f_T_~
PLATE
FOOT
LIFTER
INSTALLING
BASE
SHAFT
PLATE
15/64-28
WASHER
L-11
6.1XI2.2XI.5
6.4XI2,5X1.6
M5XO. 8 L=25
5.5XIOX0.8
WASHER
5.
IX9.2XI.3
ASM.
SCREW
D=
7.
24
H=
SCREW
D=
4.5
H=
_(l_N
___ • ________
PLATE
3. 3
7
t _ _ <
__
f.
__
J"
A7A"
-
Hilt'
''/J'
;HIY'!J
~-~1"11~
U1H!It'
A'
t7t'H'
D1H!Jlt*'
t7Y'
A1~t'H't
V!l'
~·
~·
HH1~
~1H91H'1
~~
15/64-28 L II 5
H'
H'
t
!!6
t 5
~~
h'
t
5.5XIOX0.8
5,1X9.2XI.3 3
t1~)~
~tt'
D=7.24
~-tY
D=4. 5 H=7
j _
_______
H=3.3
9t)•
5
I
3
I
I
__
-32-
Page 34

-33-
Page 35

RE~·
_NQ
__
~IJ'!'E-
___
fARJ;
~o_.
__________
~
.E _ s_
LR
_ ~ r
_r_
~
_o
_ N
____________
, __ , _ _; __ J ________
gty
__
10
II
12
13
14
15
16
17
18
19
20
21
22
23
24
25
26
27
28
29
30
31
32
33
34
35
36
37
38
39
40
41
42
43
44
45
46
47
48
49
50
51
52
53
54
55
4
6
7"
9
G6002-397-AAO
#01
G6002-397-BAO
2
3
5
8
#02
G8602-397-AAO
G8514-397-AAO
#Ol
G8514-397-BAO
#02
G8511
397
G8512-397-0AO
GIOOI-192-000
Gl003-192-0AO
G700
SL-4041091-SC
SM-0040601-SC
HX-0040700-00
178-45009
SL-404I091-SC
M30Il-110-000
HX-0040800-0A
HX-0041000-00
HX-0033700-0A
E8523-304-000
HF-0051110-00
HF-0051110-0B
SM-4041201-SC
WS-0410002-KN
SL-4041091-SC
HX-0023600-0A
GI004-192-000 FILTER
SL-4041091-SC
SL-403208I-SC
NM-6030001-SC
WP-0320501-SC
HX-0036000-00
EA-9500BOI-OO
SL-404088I-SC
CM-3001000-01
#05
CM-300
#06
SL-4041091-SC
G8009-397-000
#01
G8010-397-000
#02
HK-0171500-70
G8007-397-000
#01
G8008-397-000
#02
CM-2001000-01
G8005-397-000
E9567-3I9-000
G8520-397-0AO
G8504-397-0AO
G8505-397-0AO
#04
G8501-395-0AO
#03
G8507-397-0AO
G8509-397-0AO
G8515-397-0AO
G8516-397-0AO
G6004-397-AAO
#Ol
G6004-397-BAO
#02
-OAO
1-397-000
1001-02
TRANSMISSION
TRANSMISSION
MAIN
PCB A ASM.
TRANSFORMER A ASM.
TRANSFORMER B ASM.
POWER
CORD
TAP
CORD
CONTROL
CONTROL
CONTROL
SCREW
M4 X 10
SCREW
M4X0.7
BUSH
CORD
FITTING
SCREW
M4 X 10
PLUG
BOARD
PARTS
BUSH
SPACER
FUSE
lOA
FUSE
HOLDER
FUSE
HOLDER
SCREW
M4
SPRING
SCREW
M4 X 10
CLAMP
SCREW
M4 X 10
SCREW
M3
NUT
M3
WASHER
CABLE
BAND
CABLE
BAND
SCREW
M4
LABEL
DANGER
SCREW
M4 X 10
NAME
PLATE
NAME
PLATE
TERMINAL
LABEL
A
LABEL
B 1' 'J7,1PJT
PE
MARK
LABEL
EARTH
MARK
GROUND
MOTOR
CORD
SOLENOID
MAGNET
CLOTH
SENSOR
SWITCH
SENSOR
SENSOR
ACCESSORIES
ACCESSORIES
ASM.
ASM.
BOX
BOX
BOX
BOX A ASM.
BOX B ASM.
FRAME
BODY
COVER
ASM.
PANEL
'i'~Y'l>'Y'JJM~
'i'YYI)j;'Y'JAB'J~
M~~,-~A'J~
~7YAA:,t:;
r'iYJB'J~
j;'Y'JJ'i'~'J'~J-r''J~
~n·
r·~y"*''"'7v-A>~~1
7'YY'l>'Y'JJ7M~
'i'~YI);l'1'JJ''H
t,·
L=6
PLATE
r'iJJt''
7'
J-f'
t''
Jt'J~M77'~
~[I''J[I'-'}
7'
~TI''Jr.'-'}
h'
tJ-J'
COVER
L=l2
WASHER
SHEET
b-J';H·-n,·-
t''
,.
t''Jt''
'17'17'
7{H,-r
t''
L=ZO
M3
PART
L=8
LABEL
(LARGE)
A 71MM,YA
B
BASE
7P
LABEL
CORD
ASM.
VALVE
CORD
INPUT
ASM.
ASM.
CORD A ASM.
ASM.
CORD
ASM.
CORD
ASM.
PART A ASM.
PART B ASM.
§'h'
OYh'JfYr
t7§'h't
Y?'t'JTI'
Y'Jt~,·
§'h'
~7~7-~7171J'J'-~(31.5)
7'Y7'~~1Y'i''~(~'1)
7''
'i1MM,~B
!l~'~'{
7'
PE'I-n-~
~J?tY-).1'-~
77-ZJ-r'
1'-~J-r'
:;·';''II.'
'"'t1rJ-r'"~
nt~'J-
A11f=J?Y3'JJ-r''J~
"1JI)tY''J~
Y
7'/':7t'JA:7~
7Y''JtYB'J~
J-r·"~
JtY
tAJ
M4XO.
M4X0.7
1}.1
rJH
Jt.Y
tAJ
M4XO.
'J"!:t
'iAhY
tJ-J'
;lH'-
JtY
M4
h'
t
tAJ
tAA
tY~
t''Jt''
M3XO.
3.2X7X0.5
L=I2
M4
M4X0.7 L=IO
M4XO.
5 I
H'
Jt''
-'}
W
t1~
t''Jt''
JtY
tAJ
M4XO. 7 L=
Y7Y~17''
J
'1-'J
JJ?t~H~
~A
5'-A-B
"~
';J~~·
A';::.
r •
"~
L=6
M3
'J
M4
7 L
10
7 L=IO
7 L=IO
L=20
L=8
I 0
I
I
(I)
(I)
(I)
(I)
(I)
(I)
(
I)
(
I)
(6)
( 7)
(I)
(I)
( 2)
( 3)
( 4)
(
I)
( 3)
(
I)
(I)
(I)
(
I)
(I)
( 4)
(
I)
(I)
( 3)
( 2)
( 2)
( 2)
( 3)
( 3)
( 6)
(I)
(I)
( 4)
(I)
(I)
(
I)
(
I)
(I)
(I)
(I)
( 3)
(
I)
I
NOTE
(i'Uo)
#OI
#02
#03
#04
#05
#06
...
FOR
DOMESTIC
...
FOR
EXPORT
.••
FOR
ASN-395T ASN-395T
.••
FOR
ASN-395
..•
FOR
EXPORT
...
FOR
DOMESTIC
USE
3-PHASE
USE
EXPORT I-PHASE
AND
-34-
1'!1
PJI!liHJ'
Olilli!ll3T!l
ASN-395
Olillil!l
i'!IPJ!ll
Ill
Ill
iOl
til
!ll1Ji
T!l
Page 36

18. OPERATION BOX COMPONENTS
¥-1!
f'F
;1{
•:;
;;
7-
fl!l
i*
9
(
•
1 1
1 4
-35-
1 5
Page 37

11!'~·
_NQ
__
~o:n:
____
~A!'I:
~o"
#01
G6003-397-AAO
#02
2
3
4
5
6
7
8
G6003-397-BAO
GIOI3-192-000
GIOI2-192-000
SL-4030881-SF
G8001-397-000
#01
#02
G8002-397-000
G8003-397-000
9 G7003-397-000
10
II
12
13
14
15
16
17
18
19
20
21
22
23
NM-3034000-SF
G8601-397-0AO
SL-4030881-SF
G850
1-397
GIOI4-192-000
G6010-003-000
SL-4020881-SC
G8502-397-0AO
G8503-397-0AO
TA-0800504-RO
G7002-397-000
SL-4030881-SF
HX-0022100-0E
MIOOI-060-000
NOTE
Ci:Ha)
__________
OPERATION
OPERATION
REAR
FITTING
SCREW
PANEL
PANEL
PANEL
REINFORCEMENT
FLANGE
PANEL
SCREW
-OAO
CONNECT!
SWITCH
KNOB
SCREW
SELECT
SELECT
PLUG
SWITCH
SCREW
BUSH
PLUG
#0 I ....
#02
....
~
~
_
s_
LR
_I_ f _T_
BOX A ASM.
BOX B ASM,
PLATE
PLATE
PLATE(FOR
DOMESTIC
PLATE(EXPORT)
SWITCH
PLATE
NUT
CIRCUIT
ON
BOARD
CABLE
AS!!.
COVER
SCREW
M2
X 8
SWITCH
SWITCH
D~8
INSTALLING
FOR
FOR
ASM.(I)
ASM.
L~4.
5
DOMESTIC
EXPORT
(2)
PLATE
~
p_
N
____________
USE)
ASM.
USE
t
__ , __
1"'*'
YIJ'*'1:7:<B:7~
YIJW H IJWI
YIJ'"' H r91719
f''
Jil''
"'
Ml'-H~'1:<'
"'
Ml'-H~t1:<'
"'
M>~7'
h'
t~l'-l-*'f31Jh'~
77~Y"
"'
tHh'~J~
f''
Jil''
h'
t~f11Jj1j-7'
A1Jfhh'-
7'117'
f''tl''
'tJIJtY11A11f:7~(
'tJIJtY11A11f:7~(
!->tY
A11fJoYjj1'J
:h'
J.ty'
7'
Jh
>177'15'1
>
__
1_
_______
j)J.A'J~
tA:<
M3
L~8
(J771)
(1h1)
t;~M1f
71!-
M3
tA;;(
M3
L~8
~)~
A11f
7;
il"
tA;;(
M2
L-8
I)
2)
D~8X4.
tA;;(
5
M3
L~8
gty
OOr'llll
~til
Ill
I
I
(I)
( I)
(4)
(I)
(I)
(I)
(I)
(6)
( I)
( 5)
(I)
( I)
(2)
(4)
(I)
(I)
(
2)
(I)
(
2)
(I)
(I)
__
-36-
Page 38

19.
MAIN
MA
PRINT
I N:!il;tl(fl!lf*
CIRCUIT
BOARD
,---------------------------------------1
I
I
I
I
I 7
I
I
I
I
I
I
I
I
a
I
I
1--1
I
7
COMPONENTS
D
...
~-.~---2
,_.~.--.=.
=
I
I
I
I
3 I
I
I
I
I
I
.~---a
I
I
I
I
I
I
I
I
I
I
4
5
6
7
8
9
2
3
1
5
G8602-397-AAO
HL-0145700-01
HX-00ll600-00
E9613-601-000
E8523-304-000
HL-0145600-00
HT-0007600-0A
HT-0025700-00
HG-0031700-00
4
MAl N PCB A AS!!.
IC
BATTERY
FUSE
FUSE
3.
2A
lOA
!C
TRANSISTOR
TRANSISTOR
DIODE
D5SB10
9
6V
2SDI415
MY'W
YA'/3..
!C
7'
Yf
3.
6V
II'
7~1JY
tl-A'
!J'
77.!JY
t1-~·
IC
~7YY'
~~
(2SD!415)
~7YY'~~
~·{t-~·
(2SD1296)
(D5SB-10)
2A
1
(I)
(I)
(
2)
(I)
(!)
(
3)
(
3)
(
2)
-37-
Page 39

20.
PANEL
Af",
l
_____________________
CIRCUIT
Jv.l>H&Illl
I*
BOARD
COMPONENTS
1
j
______________________
l
I
I
I
o~-------\~~~+---------L_------~~~~;-----o~
1
I
:
offi!JC:i:D
D
7 6
3
6
7
')----\-2
'-
C)
II
: I
I
:
II
l_j
~-------------~--~~-~~
()
C)
r:i
~
~
C
c
: 0 2
I
: n
I
I 0
I
L_----~---+---------+--------------------------~
I
I 4 5 2
L
___________________________________________
0
')
[][][]
(
'
'-
0
_
R£~.
_NQ
1
2
3
4
5
6
7
__
~IJ'!"E-
_ _ _
~All~
~o_.
__________
G8601-397-0AO
HG-0047500-00
HG-0056200-00
HX-0024000-00
IIA-0023300-0D
G6312
HX-0009400-0C
166-000
~
PANEL
CIRCUIT
LIGHT
EMITTING
LCD
BUZZER
SWITCH
LCD
SPACER
NYLON
RIVET
!'
_
s_
~
_R
I_
BOARD
DIODE
~
_T
_
ASM.
~
p_
N
____________
t
,,.
M'\'A'
LED
'J"
1;H'
7'
f'-
,..
{17'
LCD
:T{OY
__ , __
YJ~
7.11f
,,.
-t
y,•
>
__
j _ _ _ _ _ _ _ _
fC
gty
(
(1)
(1)
(
(4)
(
__
1
6)
1)
4)
-38-
Page 40

NUMERICAL
PART
NO
~"*
BP-4000000-00 4
BT-0400251-EB
BT-0400251-EB
BT-0400251-EB
BT-0600401-EB
BT-0600401-EB
BT-0600401-EB
BT-0600402-EA
BT
-0800501-EB
BT-0800501-EB
BT-0800501-EB
BT-1500901-ZO
81127-415-000
Bl210-111-000
81508-804-00B 2
81508-804-00B 2
81511-814-000 2
81511-814-000 2
Bl530-804-000
81530-804-000
82739-761-000
83013-141-HOA
B3538-112-000
B4115-704-000 2
B8103-WP3-000-A
B8103-WP3-000-A
CM-2001000-01
CM-3001000-01
CM-3001001-01
CM-3001001-02
CM-3002000-0 I 18
CM-3002000-03
CM-3002002-A1
CM-3002002-AZ
CM-3002002-01
CM-3002002-02
CM-5003000-01
CS-040051A-SO
02112-555-BOO
oz3o
1-111
02515-232-000
EA-9500B00-00
EA-9500B00-00
EA-9500B00-00
EA-9500BOI-00
EA-9500BOI-00
EA-9500B02-00
E4373-172-000 6 5
E8523-304-000
£8523-304-000
E9567-319-000
E9613-601-000
F
10
F1017-003-000
GAK-01003800
GAS-11154000
GMC-08014000
GMC-08015000
GMC-08016000
GMC-08017000
GMC-0801800A
GMC-08019000
GMC-08024000
GMC-08024000
GMC-08025000
GMC-08031000
GMC-08031000
GMC-08032000
GMC-08032000
GMC-08033000
GMC-08033000
Y
12-003-0AO
-cow
;tGE
16
22
24
22
24
10
16
22
24
20
14
10
10
22
26
34
34
28
34
28
28
28
28
12
14
12
18
20
26
26
22
34
34
37
34
37
20
20
10
24
20
20
20
20
20
20
20
20
20
20
30
20
30
20
30
REF
NO
15
36
30
28
8
23
29
26
16
28
29
28
8
16
13
83
10
80
2
2
77
2
48
40
21
49
46
11
43
35
33
36
54
37
36
6 9
35
6
34
19
II
12
24
34
17
23
18
33
8
22
20
45
37
29
30
25
11
12
13
14
16
15
10
23
INDEX
PART
NO
:fGE
~"*
GMC-08034000
GMC-08034000
GMC-08035000
GMC-08035000
GMC-080360AO
GMC-08036000
GMC-08037000
8
GMC-08039000
GMC-08041000
GMC-08042000
GMC-1000900A
GMC-1000900B
GI1C-1
3
7
8
5 G5060-397-000 6
4 05062-397-000
9
5
5
6
6
4
4 G5521-395-000
000900C
GMC-10009000
GMC-260010AO
GMC-26001000
GMC-26001000
GMC-260050AO
GSS-31151NOO
GSS-36020000
GSS-400000AO
GSS-400000BO
GSS-42009000
G1001-192-000
GI003-192-0AO
Gl004-192-000
GIOIZ-192-000
GIOI3-192-000
G1014-192-000
GIOIS-192-000
G1016-192-000 6
GSOOI-397-000
G5002-397-000
G5003-397-000
G5004-397-000
GSOI0-397-000
GSOII-397-000
G5012-397-000
65013-397-000
65014-397-000
G5020-397-000
G5021-397-000
G5030-397-000
G5040-397-000
GSOS0-395-0AO
G5050-397-0AO
GSOS0-397-000
G5051-395-0AO
GSOSI-397-000
G5052-397
G5053-397-000
G5060-397-0AO
G5061-397-000 6
05065-397-000 6
G5070-397-000 8 4
G5071-397-000
G5072-397-000-A 8
G5080G5081-397-000 8
G5100-395-0AO
G5102-397-0AO
G5102-397-0AO
G5103-397-0AO
G5103-397-0AO
G5103-397-0AO
G5103-397-0AO
G5105-382-000
G5404-172-0AO
G5420-397-0AO
G5420-397-000
G5421-397
G5422-397-0AO
G5520-395-000
-000
397-000 8
-OAO
20
30
20
30
20
20
20 25
20
20
20
30
30
30
30 33
30
20
30
20
22
16
22
22
22
34
34
34
36
36
36
10
10
10
12 15
12
12
12
12
16
16
28
10
18
18
18
18
18
18
18
16
16
22 24
16 13
16
22
24
16
22
26
26
26
26
32
32
PART
6"nft
PARTS
NO
-000 6
-000
-OAO
-000
-BAO
-000
-000
PAGE
.,
32
32
32
32
30
16
16
8 2
16
16
16
10
10
2
2 2
2 3
2 4
2
10
10
10
24
24
24
24
24
24
24
10
10
10 14
20
14
6
12
6 I
34
34
36
36
34
34
36
38
34
36
36
14
36
36
36
34
34
34
34
34
34
REF
NO
40
41
44
42
PART
5
G8501-397-0AO
30
G8502-397-0AO
2
G8503-397
1
G8504-397-0AO
12
G8505-397
11
G8506-397-0AO
2
G8507
G8509-397-0AO
6
G8510-397-0AO
4
G8511-397-0AO
35
G8512-397-0AO
29
G8513-397-0AO
35
G8514-397-AAO
G8514-397-BAO
33
G8515-397-0AO
18
G8516-397-0AO
32
G8520-397-0AO
39
G860
12
G8601-397-0AO
G8602-397
15
G8602-397
HA-0023300-00
16
HA-0028100-0A
17
HA-0028100-00
HF-0051110-0B
I
75
HG-0031700-00
73
HG-0047500-00
87
HG-0056200-00
82
HK-0171500-70
HK-0346101-60
85
HL-0145600-00
HL-0145700-01
HT-0007600-0A
15
HT-0025700-00
10
HX-0006500-0B
9
HX-0009400-0C
I
HX-0011600-00
HX-0015000-0B
6
3
HX-0015000-0C
2
HX-0015000-0C
23
HX-0015000-0D
24
HX
HX-0015000-0K
27
HX-0022100-0E
5
HX-0023600-0A
HX-0024000-00
9
HX
HX-0033700-0A
2
HX-0036000-00
HX-0040700-00
IIX-0040800-0A
27
HX-0041000-00
I
MAH-IOOI600A
2
MAT-02106000
MAT-02111000
I
2
MAT-02502000
54
MAT-02503000
55
IIAT
15
MAT-03602000
6
MAT-03603000-A
10
MAT-03604000
20
MAT-0360500A
9
MAT-03606000
10
MAT-03607000
6
MAT-03608000
MAT-036090AO
7
MAT-03610000
8
MAT-03611000-A
44
41
MAT-038010BO
42
MAT-04400000
38
MAT-80110LOO
39
MTJ-VM003100
49
MTJ-VM003300
-00 15000-0F
-0030700-0C
OF
REF
NO
7 G5522-395-000
G5523-127
7
8 G5523-395-000
G5524-395-000
8
22
G5525-395-0AO
24
G5526-395-000
G5531-395-0AO
21
G5532-395-0AO
26
G554l-395-0AO
36
G5541-395-0AO
G5603-395-0AO
31
G5603-395-0BO
32
34
G5901-397-000
G5902-397-000 2
1 G5903-397-000 2
2 G5903-397-000
G5904-397-0AO
2
I G5904-397-000 2
G5905-397-000 2
39
G5906-397-0BO
24
2 G5906-397-000 2
1
G5907-397-0BO
31
65907-397-000 2
8
G5908-397-0BO
G5908-397-000 2
9
G5909-397-000-A 2
27
4 G5910-397-000 2 5 HF-0051110-00
3 G5910-397-000 2
14
G5912-397-0BO
28
6
2
6
6
8
G5912-397-000 2
G5913-397-000 2
29
31
G5914-397-000 2
G5918-397-0AO
20
I G5918-397-000
G5919-397-000
2
G5920-397
28
G5921-397-0AO
1
G5921-397-0BO
2 G5922-397-000
G5923-397
5
G5924-397-0AO
37
G5926-397-000
41
G5927-397-0AO
14
65927-397-000
29
I G5928-397-000
G5929-397-000
3
G5930-397
42
G5932-397-000 8
2
43
G5934-395-000 6 4
4 G5935-395-000 6 3
G5936-395-000
5
12
G5942-395-000 6 6
G5943-395-000 6 7
13
G5943-395-000
14
G5944-395-0AO
31
G6002-397-AAO
23
G6002-397-BAO
10
G6003-397-AAO
I
G6003-397
20
G6004-397-AAO
G6004-397-BAO
17
G6010-003-000
1
12
G6312-166-000
G7001-397-000
G7002-397-000
G7003-397-000
48
3 G7004-397-000
12
G8001-397-000
II
G8002-397
21
G8003-397-000
I
G8005-397
G8007-397-000
2
12
G8008-397-000
G8009-397-000
18
G8010-397-000
4
G8501-395-0AO
3
NO
86ffi:
-397
1-397
-0360 I
-OAO
-OAO
-OAO
-OAO
-AAO
-AAO
OAA
:fGE
36
36
36
34
34
16
34
34
18
34
34
18
34
34
34
34
34
36
38
34
37
38
14
14
34
34
37
38
38
34
16
37
37
37
37
20
38
37
10
14
22
10
14
10
36
34
38
30
34
34
34
34
34
18
28
28
28
'
REF
NO
13
17
18
47
48
30
50
51
52
6
7
53
4
5
52
53
46
II
3
I
5
26
25
22
21
9
2
3
40
14
6
2
7
8
35
7
3
6
28
II
7
4
8
22
26
4
29
19
32
13
17
18
34
4
29
4
13
4
14
4
27
4 2
4 3
4
23
4 5
4 7
4
4 9
4
26
4
10
4
11
4
30
4 1
4
21
10
19
18
I
8
-39-
Page 41

NUMERICAL
PARr
NO
&'lli'
PAGE
]'{
REF
NO
I N D E X 0 F P A R T S
PAGE
PART
~~
NO
]'{
REF
NO
PART
J"ni:
NO
PAGE
]'{
REF
NO
PARr
gffl:
NO
PAGE
]'{
'
REF
NO
MTJ-VM003500
MTK-440VSWOO
MTS-P01050AO
MTS-P01250AO
MTS-P01300AO
MTS-P01550AO
M1001-060-000
!13011-110-000
M8401-219-MO
M8411-391-AM
M8411-391-BM
M8411-392-AM
!18411-392-BM
!18411-394-AM
M8411-395-AM
NM-3034000-SF
NM-6030001-SC
NM-6030001-SC
28
14
28
28
28
28
36
34
28
28
28
28
28
28
28
36
20
34
NM-6040001-SC
NM-6040001-SC
NM-6040001-SC
NM-6040003-SC
NM
-605000
1-SC
14
22
18
22
NM-6060001-SC
NM-6060001-SC
NM-6060001-SC
NM-6080001-SC
NM-6080001-SC
NM-6080003-SC
NM-60800
II-SF
NM-7060032-SC
10
20
22
26
30
6
10
NM-9040001-SC
NM-9040001-SC
NS-6060310-SP
18
NS-6090310-SP
NS-6090310-SP
NS-6110310-SP
NS-6110420-SP
PA-1003011-AO
PA-1004505-AO
PA-1503002-AO
PA-2002514-AO
PA-2005001-00
PA-2525005-AO
PA-9000360-00
PA-9000560-00
PC-0105140-00
18
18
12
24
22
16
14
22
24
16
16
24
PC-0126010-00 8
PC-0151060-00
PC-0151140-00
PC-0151140-00
PF-0705010-00
PJ-0205000-01
PJ-0320540-01
PJ-3010405-01
PJ-3010651-03
PJ-3010652-02
PJ-3010851-02
PJ-3010852-01
PJ-3040400-01
PJ-3040405-04
PJ-3040405-08
PJ-3040600-01
PJ-3040605-04
PJ-3040651-02
PJ-3040800-02
PJ-3040851-02
p J -3040851-02
PJ-3050800-01
PJ-3050800-02
PJ-3050800-02
PJ-3080600-01
PJ-3090052-03
22
14
24
16
10
10
16
16
16
16
16
24
22
16
8
24
16
22
16
22
24
16
22
24
16
PJ-3090800-04 8
17
24
23
22
21
20
23
16
29
24
25
26
27
28
30
10
33
30
21
8
18
40
57
35
6
31
19
58
28
15
32
8 8
13
8
32
15
8
26
14
22
18
14
42
44
44
45
22
18
45
24
50
28
25
43
25
23
15
46
26
14
15
28
25
26
27
27
30
22
25
PV-0351310-00
PV-0352060-00
PV-1305320-00
PV-1308020-00
PV-1308030-00
PV-1505280-00
PV-1508020-00
PV-9030040-00
PV-9030040-00
PX-0105010-00
PX-0151020-00
PX-
5000030-00
PX-5000410-00
PX-9500050-00
RE-0600000-KO
RE-0800000-KO
R4100-H5E-COA
R4100-H5F-COA
R4100-li5G-COA
R4105-l!OB-EOO
8
R4105-HOD-EOO
R4205-HOB-EOA
R4205-HOD-EOF
SB-1060012-00
SD-0450401-SP
SD-0450701-TP
6
SD-0500481-TP
SD-0600271-SP
SD-0600271-SP
SD-0600291-TP
SD-0640231-SP
SD-0640326-TP
SD-0720331-SP
SK-3412000-SC
SL-4020881-SC
SL-4030691-SC
SL-4030881-SF
SL-4030881-SF
SL-4030881-SF
SL-4032081-SC
SL-4040881-SC
1
SL-4041081-SF
SL-4041091-SC
4
SL-4041091-SC
SL-4041091-SC
SL-4041091-SC
SL-4041091-SC
SL-4041091-SC
SL-4041091-SC
8
SL-4041091-SC
SL-4041
SL-4041091-SC
SL-4041091-SC
SL-4041091-SC
SL-4041291-SC
SL-4041291-SC
SL-4041291-SC
3
9
SL-4041491-SC
SL-4042091-SC
7
SL-4042091-SC
SL-4042591-SC
SL-4042591-SC
SL-4043091-SC
SL-405100
SL-4051091-SC
SL-4051091-SC
6
SL-4051491-SC
SL-9082093-SE
SM-0040601-SC
SM-103060
SM-1031201-SC
SM-1041001-SC
SM-4040801-SC
SM-4041201-SC
091-SC
1-MZ
1-SC
16
16
24
22
16 10
16
22 22
16
22
24
16
14
24
10
SM-4043001-SB
7
SM-6030602-TP
5
SM-6040802-TP
11
23
SM-6050802-TR
SM-6051002-TP
SM-6052502-TP
47
SM-6061002-TP
49
SM-6061002-TP
4
SM-6061802-TP
SM-6062002-TN
13
SM-6062002-TN
8
SM-6062502-TP
2
SM
5
SM-6088502-TP
27
-6083002-
SM-9061850-SC
12 14
2
2
2
2
2
2
2
2
SM-9062003-SC
38
SM-9080053-SC
SM-9082023-SE
21
SM-9088013-SE
22
23
SS-1110640-SL
SS-1110640-SL
71
SS-1110640-SL
70
20
SS-1110640-SL
SS-1110640-SL
19
SS-1110640-TP
18
17
SS-2060320-SP 4 4
18
32
18
18
28
18
18
18
32
6
36
18
36
36
36
34
34
22
10
14
14
16 18
22
24
24
34
34
34
34
34 37
8
8 5
8
24
8 6
8
8
16
16
28
10
16
14 12
22
34
12
20
22
6
34
SS-2060510-SP 4
21
SS-2110710-TP
14
SS-4060310-SP 2
38
SS-4110715-SP 4
18
SS-4120915-SP 4
11
SS-4150715-SP 4
47
13
SS-4150915-SP
SS-4151215-SP
16
13
SS-5060410-SP 4
SS-5090610-SP
19
16
SS-5110710-SP
49
SS-6060210-SP 2
5 SS-6060210-SP 2
SS-6060410-TP 4
12
21
SS-6060410-TP
SS-6060440-TP
29
SS-6060440-TP 2
34
SS-6080410-SP 4
55
SS-6080610-TP 2
9
SS-6080610-TP
13
SS-6090520-SP 4
27
SS-6090650-SP 2
SS-6090650-SP 2
26
16
SS-6110610-TP 2
SS-6110630-TP
17
11
SS-6111040-SP 2
SS-6111140-SP
15
25
SS-6111140-SP
28
SS-6111210-SP 4
SS-6111440-SP
3
SS-7060610-SP 2 9
SS-7060610-SP 2
SS-7080520-SP 2
27
SS-7080520-SP 4
27
SS-7090420-SP
11
SS-7090611-SL
19
SS-7090710-SP 2
SS-7110710-SP
19
SS-7110720-SP 2
20
13
SS-7110840-SP 2
12
SS-7110840-SP 4
17
SS-7110840-SP
SS-7111410-TP
51
SS-7151120-SP 2
SS-8080322-TP
12
13
SS-8110410-TP
SS-8660612-TP
30
7 SS-9090813-TP 2
21
SS-9110543-CP
SS-9111010-SP 2
23
TN
14 19
18
12
22
16
32
12
22
10
6
6
14
22
30
6
20
6
26
26
14
16
22
26
26 22
10
SS-9111610-SP
22
SS-9151120-CP
9 SS-9151120-CP
20
38
TA-0800504-RO
9
10
WP-0250516-SD
48
WP-0250516-SD
33
WP-0250516-SD
25
WP-0320500-SC
32
WP-0320500-SC
7
WP-0320500-SD
52
WP-0320501-SC
25
WP-0370316-SD
36
WP-0370316-SD
17
WP-0371016-SD
18
WP-0410846-SC
7
WP-0410846-SC
3
WP-0430800-SC
23
WP-0430800-SD
34
WP-0450801-SD
47
WP-0450801-SD
16
WP-0450826-SC
WP-0450826-SC
17
WP-0450826-SC
WP-0450826-SC
16
18
28
28
10
10
18
2
10
28
10
28
12
WP-0450826-SC
37
WP-0450826-SC
WP-0480856-SP
66
WP-0531000-SD
6
22
WP-0550800-SP
24
WP-0550800-SP
15
WP-0641600-SC
16
WP-0641600-SC
19
WP-0641600-SC
10
WP-0641600-SC
38
WP-0641600-SC
11
WP-0641601-SC
81
WP-0641601-SC
12
WP-0841600-SE
31
WP-0841601-SC
14
WP-0841601-SC
86
WP-0841601-SC
18
WP-0982616-SP
28
WS-0310002-KN
43
WS-0310702-KB
17
WS-0410002-KN
WS-0410002-KN
6
76
WS-0410002-KN
50
WS-0410002-KN
31
WS-0451040-KP
62
WS-0510002-KP
4
WS-0510002-KP
3
WS-0610002-KN
25
WS-0610002-KN
21
WS-0610002-KN
WS-0610002-KN
79
WS-0610002-KN
84
WS-0610002-KN
28
10
10
12
WS-0820002-KN
22
WS-0820002-KN
37
WS-0820002-KN
51
WS-0820002-KN
25
WZ-0420350-KP
52
WZ-0541510-KP
53
WZ-0850302-KO
31
19
18
18
54
12
20
12 16
22
56
61
18
109-01106
10
109~03409
110-32265
111-55801 6
111-56007
115-01301
115-65504
29
115-65603
55
115-65702 2
69
2
14
32
19
36
2
2
78
4
20
23
18
31
20
29
2
31
34
60
2
11
10
18
27
14
16
22
10
16
22
11
12
11
18
28
20
6
8
12
8
14
8
24
8
48
18
10
46
18
16
39
10
32
33
6
10
14
20
18
32
27
6
22
49
17
6
53
22
26
27
30
13
10
32
20
44
18
17
14
41
18
22
24
34
28
16
40
11
32
26
6
34
6
10
34
20 20
22
50
32
16
6
54
22
26
26
30
12 18
18
45
39
10
12
51
18
12
28
24
22
6
17
12
67
2
68
2
65
6
6
8
7
7
3
5
9
8
4
9
4
7
5
8
-40-
Page 42

NUMERICAL
PART
NO
ff'ntS:
115-71403
115-98000
118-02006
118-02402
118-06304 2
118-20701
118-20701
118-45302 2
118-45609
118-45807
118-46003
118-46607
118-46805
119-64509
119-81107 2
121-02000
121-02802 2
121-02950
121-03107
121-03305
121-03602
121-32908
121-33104 2
121-33203
161-03400 2
161-04101
161-05058
161-05157
161-08508
161-08508
161-10306
161-10405
161-10801
161-11106
161-11403
161-13805
161-13805
161-15008
161-15008
161-15008
161-15008
161-15008
161-15107
161-15107
161-15107
161-15107
161-15107
161-15255
161-15255
161-15255
161-15255
161-15255
161-15701
161-15859
161-21006
161-22707
161-25403
161-25502
161-25601
161-26104
161-36400
161-36400
161-36806
161-36905
161-37101
161-37259
161-37804
161-38109
161-38604
161-38703
161-85407
161-87908
161-92205
161-93906
161-94201
161-94300
;t"GE
10
12
10
12
28
28
20
30
28
28
16
20
30
14
16
22
26
26
14
16
22
26
26
14
16
22
26
26
14
14
16
30
30 30
30
30
30
22
26
22
22
22
22
22
22
26
26
18
12
18
18
18
18
INDEX
REF
NO NO
15
2
63
2
44
23
45
2
18
2
74
58
2
59
2
64
2
56
2
46
2
47
2
57
24
P"r*
NO
"
162-32209
162-45151
162-45201
162-45409
162-46118
162-46308
162-50300
162-53551
162-54500
162-54807 2
178-45009
180-72504
180-72553
180-72553
180-72603
36
200-21259
34
2
35
2
2
2
2
2
250-20009
36
250-20207
24
250-20306
37
250-20405
41
250-20801 2
42
250-20900
43
250-21007
25
250-21106
26
250-21452
I 250-21700
2 250-22500
38
250-22609
36
II
10
250-22856
250-22906
250-23003
6
6
9 250-23102
8 250-23201
26
250-23300
3 250-23557
3 250-23656
20
250-23706
32
250-28655
59
250-28754
13
250-28853
19
250-31600
21
250-31907
33
250-32004
250-32103
60
15
250-32202
21
250-32301
22
250-32400
250-32608
31
61
14
20
14
15
21
17
23
12
19
41
9
42
43
37
38
19
40
8
10
25
26
36
30
33
35
:tGE
24
18
18 15
18
18
18
28
30 35
28
34
24
22
24
24
28
12
12
12
12
18
18
18
18
30
30
30
30
30
30
30
30
30
30
30
18
10
10
22
22
22
22
22
22
22
22
OF
REF
PART
NO
~til:
PARTS
:tGE
REF
NO
PART
Jh{G;
NO
PAGE
1'f
'
REF
NO
23
28
9
20
12
5
6
72
14
20
17
19
21
32
4
3
6
7
30
2
27
50
6
7
8
10
24
13
9
15
14
21
22
18
16
20
39
19
16
13
32
33
34
35
5
36
12
-41-
Page 43

MEMO
-42-
Page 44

MEMO
-43-
Page 45
Page 46

<131!1~
\;J<d;,
~i~~I<J:
or
for further
JUKI
CORPORATION
To
order
information,
please contact :
*.:
(])t\-'Y
lJ
7..
*The
description covered
;:::::;
;:
(1)1\-·;n)
*This
parts list
i-11illl&C!Ula;fdb'f
in
.A
Hi,
1995"f.7Jj
is
edited
in
accordance with the product specifications
€5-t.t
<
~J!T
this
parts
list
J.;ttto:rfiij~t±t$-z'W~
is
subject
~$1.1<3;
~J
to
change
L.t.:t. Cl)'t'"t,
*. -;-,
for
improvement
as
of July 1995.
of
the
commodity
without
95 · 09
notice.
Printed
in
Japan (F;