Page 1

Automatic Lockstitch Welting Machine
*311311J3i£1$1M
APW-233
PARTS LIST
a.IUKI
19547306
No.0412-00
Page 2
Page 3

HOW
TO
r{-•;fl)
1. The
part
!Et::ff.:
2.
Explanation
le
'?<
<1>1!!
1) Codes
·>tie· !II!"' le
(j)
1:.
® #01
<>01
2)
Codti&
':lt!l!ll'li'
(!)
A.l0/83.,,,
®
D.
When
Mn't(}')
~
In I his
:: (l)i&'S't:
I
~
Exampte
I
Ref,
No.
I
4:.,
02
MAKE
.A
numben
~h.
t.:
Bft.fl
of
'Ill
on
the
, , ,
••
, , , , means this
.....•.
Qn
the
10/83
prev~ous
1i
en~:.
{lf'jj
Note
;i:lc
,,
•
•
,,
USE
f-O)j!/j
of parts 'shown
..
m.rt:.&
U..
c-odl!"s
"Note"
column
'}
it/!'IDQ)-''-';t
refer
to
the
"'--YT(])
"E.
C.
lEnglneeting
l!llmle'>
Added
from
1983lf. lOll
. , , . Ob$oleted
\983lf.
10/i
parts !Obsoleted
1~11.tr
t,;_·
l'
:5[
even
obsoleted
fl%~
(0)?
P<~rt
No.
a.
•
91401-100-000
81401·100.000-A
81105·200-000
f
81105.:!00-000l
OF
THIS PARTS
In
the
figure
f'EI:
A·".>
part
is chanl)ad from
1
}
At
"Note"
explanation
·;l:lC'"
changei"
October,
J;
ry
;fino~
from
October, 1963
.I
ry
~,,,,,~tel:,
pard
!f
(l)
1l
"Et
part
t:.&•
(OJ
'"t
Needle bar
Needle
tt
Frame cover
Frame cover
liST
indi~te
the
fi
't
I.'
.QNo
t:
M L
\.£t@~!! ~ nt:&'~
Q:llst~'~At-~~ftL'tT~t•,
column
1983
n
t:,
and
new
c;:;n
be
t. .:
;.i'St't
OescriptlOf'!
bar
corresponding
{RcLNo)
the
prevlour; part$ list.
at
bottom
P<HU
!Added partsi tue
ordered
with the
~
1 T
h·
t::::t;)/.t:•"t-!:.
of
~.
page.
obsoleted
~!!.
numbers
1
~
T
~.@~
not
plJrt
~
J5J
1,;:.
L l t
.t
{Ref. No.) shown by the Index.
,._,
P
A(.:
.i
·~
't,
.f
C1>rfb
a:
mlerehan-geable
number,
I),
1.., T
with
so select
ttn'(})il!.f'o
Meh
th~
pans
~
other:
i,HiR L
E.C.
JZ:!f4'-Fl
r:----:::-1
tD.W/83,
LA.:.1 • ...018;!!
ro:10taJ11
1
o.::,.
___
A,
10/83
.-~I)
J ~ ')
a1
tos.aoo,ooo
I •
1
7
t,..--..L,TJ.-
_,
;f;-
*'
..
b'
t>h•
IJ
l
T.
w•th chanqed dates
--r..:.
,i:JtT
.Po
""
1
lli"ld
place your ord-eu.
~
l•,
Am\.
Aeq.
~~·
~
ln
eate when previous
Jm.ft.m:S:~ttn·J>;
ln this ease the oew
..:
@
O'>Jidini,
C.\0/83
18iB.fi.t7)to~.P
[Etos.soo.oool
Correct
.IE
L.
bv
the
correct
"(-
.:.·;:t:;tT
....•
"Amt.
:& ~ , 2
Ulagdb?~~L"tt•J,~MRQ~~hl
@
31
CD
@)
Please
l£
L
l'~~
M.t0/83
Codes
·n•~
2
2.0
111.
otdet
on
the
~.nte4}
_,
pans
and
;t,.
!ISO>i5r'!f!
part
f
No
\.'
.r
..
.-
~
l'.
The
amount
The naw
19832J:
Req,"
lndicatel
ll.
•.
Indicates length
ind1ea1es parts
:,
17).-{-•y
Indicates
Assembly
new
nomber
is
..
~~~.:
.
part
number.
r£QUired
amount
10~
.t
f}
t-X•
column
amount
2f:!l~~bLl..-.
in
Jl
-
!-
JV
obsoleted
I)
,A
!-
sub
parts
part
is
shown as
pan
are interchangeable
replaced
on
.f
ttt:
1'1'
Frame cover
1$
changed
require<i
i$
shown
fJ'if:!f!
oequited
iJ
meters. (unit is
~
~
h L it
ffom 1he
h'
>';
1\1~;1:
which
construct
''asm,"
the"
h
~:
t•·-,
2,
't
t*-
h.
.o!:r
1./i
hom
10
f:,
meted
c
{jji
pans
f:
ftJ',,"",.
the
and.P.t
p"'a::f;
with
!Japanese)"
L
l•tfi.!&tt.dC.A
October,
the
i983
"Amt.
::
c7)Jt~n•
ftt 1; / - t
list.
"(-
j,
auemb!y
in
Japanese,
i
1"
.HlftB~ot;tcf,.;(;~l:.3fi::X:l
each
Req".
Jt..
pan.
other:
column
L
"'C
column.
1\YJ!::
't
1"!
in
the
of
the
.b
IU.If
previous parts, so please
'>
$.
-r
O'>"t,
L 1..'
~~·
"Oe5criptmn"
$Ji:
L l
•d'hfl:
"C.:
n·~ff.
L
't
a>
fJ
column.
'"a:.;m_~
-*03t'tP
order
;.t~T
it
·t
~
tnif.LThr}!
by
~
t•,
the
new
part
number.
T.
Page 4

CONTENTS
El
l)i.
MECHANISM
(!1.1t]!!~
1.
FRAME & COVER
*
'*
.
:tJ
)~
2.
PEDAL
il!
3.
CLAMP
j:;:lljl x
4.
CLAMP
*
5.
CLAMP
*till x
6.
CLAMP
*
7.
CORNER
:;:J
SWITCH
~il
JJ.
;z 4 ·y
FOOT
fi.n
FOOT
tlfl
x
fi.n
FOOT
fi.nflk
FOOT
till
x
~
--}'-j
ilk
{,-f;
KNIFE
COMPILATION
COMPONENTS·······························
-
r.n
{#.
COMPONENTS
:r
r,,
!lit
COMPONENTS
.... • ...... • .. • ........
(1) ·
..
· · · · · · · · · · · ·
( 1 )
COMPONENTS
( 2 )
COMPONENTS
(
3}
FEED
IJ
rlllf;¥.
;::l_ll!J{,'k
COMPONENTS·····························
COMPONENTS································
(2) • • • · · · • · • • ·
(3) · · · · · · · · · · · · · · · · · • · • • · · · · · · • · · 9
..
· · · · · ·
..
· · • • • · · · • · •
·••
..
··..
.. · ..
.. · ..
1
3
· · 5
• 7
ll
13
B.
BINDER
J\1
Y:7-ll!JL.'f, ( 1 J
9.
BINDER
H 4 / ;7-fi.nf!f, (
10.
PNEUMATIC
2!±
fl<,
j#,
11.
ELECTRI
~
ll!l
{;¥,
COMPONENTS
COMPONENTS
2)
(lJ
.. • ........
(2)
..................................
·
..........
COMPONENTS···································
C'ITY
COMPONENTS·
· · · · · · · · · · · · · · · · · · • · · · · · · · · · • · · ·
·
..........
·
15
17
19
20
Page 5

CONTENTS
§
IX
SEWING
'::://~
1.
FRAME & MISCELLANEOUS
~Ji
llil .
2.
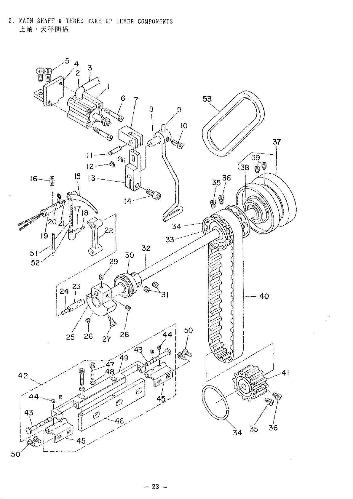
MAIN
J:
~ill
3.
NEEDLE
~wtUhil~f*
4.
NEEDLE
J:#>-11J
5.
HOOK & HOOK
~ · Tl!ili~f*
5.
UPPER
J:;(.J..flilf*
7.
BOBBIN
T
#>
MACHINE
!11-
~
fi<1
i*
SHAFT & THRED
. ~ f'f
fi<,
f*
BAR
FRAME
THREAD
I)~~*
TRIMMER
DRIVING
KNIFE
THREAD
--:n'i'
COMPONENTS·································
CLIP
h
r.:~
1*
COMPILATION
COVERS
TAKE-UP
COMPONENTS················
LEVER
COMPONENTS············
COMPONENTS····························
COMPONENTS·······················
SHAFT
COMPONENTS·•·
COMPONENTS···················
·········
·······
·····
··
21
23
25
27
29
31
33
S.
BELT
9.
LUBRICATION
fM!b~l*
10.
THREAD
#>ll.~ii:
TABLE
1.
MECHANISM
~lift
2.
WELT
3.
SEWING
COVER & BOBBIN
x:
11.-
r-
t1
J\-
·
,;%',
~
ll<1
COMPONENTS·································
STAND
OF
UNIT
......................................
EXCHANGING
COMPONENTS···································
fi<1
!*
PATCH
:ffi'i!H.&
':::/:..-~!*
BASE
~
~.y,
MACHINE
COMPONENTS······························
PLATE
WINDER
UNIT·
1*
COMPONENTS
..
···
..........
PARTS
................
·
.. · ....
·
......
N U ME R I C A L I N D E X 0 F P A R T S · · · · · · · · ·
'51
·,
· ·
34
35
37
38
39
39
40
Page 6

MECHANISM
~~~~!!~
1.
FRAME & COVER
;;$:
It
·
:J;
1
'
COMPILATION
COMPONENTS
-l>ll
{,\<,
-
1-
Page 7

REF.NO.
NOTE
PART
110.
D E S C I 1 P T l 0 H
AHT.
1 1G?-80108
2 1G6-7l\819
3
4 WS-0410002-K!I
5 WI'-0430800-SC
IUH\0~0001-SC
SCRE~
lli'PER
!lilT
COVER
H~
S!'RIIW
VASIIER
WASHER
H4
G lfiG-77007 PIll t
7 SH-1040801-SC
8
\l
10
ll
12
1:1
14
_L~-----'~f!
lli
17
18
1H
20
21
22
2:1
24
25
2G
27
28
2\J
30
-;lj
32
33
34
35
36
37
38
39
~0
41
fi502:H10-000
1101
lGG-74814
1102
1GG-7-1DI3
1103
iGfi-'1501\l
Hi8-0fi507
SH-80Gl00Z·Tl'
lfi8-0HGOG
..
f>05l!i52·TP
~S
..
0510002
lli0-7!i413
sH-oo;,osot-sc
1Gli-7H:JO(\
1117-00D08
t;;,Q53-llli·AOO
G5058
·1HH>OO
llH-00!)000 l
lDH-74517
IH0-7GGOJ
Sll
()0f>l202·1Y
WS-05l0002·KII SI'RIIHi
106-75704 F
1'1'-05!>2080-AO
IGG-76116
iG8-125()f, I'LME
G5MIH 16·000
VS-0610002-KII
SH-!l061002-TI'
GAS-lllliOOO
llll-G08000
SH-6040802-TR
VS-0410002·K!I
HiG-76207
I 07-22704
JGG.-75308
1-SC
12 WI'-0531000-SC
43
44
45
46
17
48
40
VS-0510002-KII SI'Rli!G
IIH-6050001-SC
JGQ-76512
05~32,116-000
!67-80009
SII-0051001-SC
WI'-0531000-SC
50 lG?-02003
51
52
53
54
_ji]i
107-02102
Hi7
-0220 I
!B'I-02300 I'll!
PA-150150~-hO
SH:.G05!552
56 WS-0510002-Kll Sl'RlllU
57
58
59
...J\Q_·-~
61
62
63
64
65_....
SH-0041502~TP
WS-0~
10002-KII
SM-1051001-SC
166-76009
SIH044050-SH
SIH04100l-SC
WS-0410002-KI! SI'RlllU
llli-6040001-SC
PA-1500502-AO Pill
sr.f:I·:W
I'OSITHllillll<
SEWING
SEVIIIG
SEVING
CLOTH
SCkEW
CI.OTII
_SC~I·:W
K!l
SI'Rlllti
COVER
sr;nw
CliVER
COVI\R
All.JUSTIIIG
-SC
\:OLI.AR
HUT
FRAME
COVER
sdi~W
JIILTI\R
COHR
CASTER
SPRING
SCRI\W
AllJUST
!lilT -iii\XI.
SCRI\U
SPR
I:!JLI.AR
IMGtiET
POStTIOIIIIIG
W~SII"R
IIIJT
COVER
AIR
GRllliHET
SCREW
WASIIER
IIA
CYI.Ill!iliR
Gil
TOUGS
Tl'
SCREW
SCREW
SI'R
SCREW
WORK!'
SCREW
SCREW
NUT
li.TER
IR
JOE
H<IX0.7
L=R
ROSS
TAIII.E
TAfiLE
Tiiiii.E
RECEIVER
MG
1.=10
RECEIVER
H:>...1
WASIII\R
C
FASTEIJER
1!i
0
5.1XS.5X1.3
CLAHI'
;-,;---·--'::tl+'!~h'l~l
ll
F
I!OL'f
H!i
E
fi5X0,3 1.-12
WASIII•:R
IJRI,CKET
REGIII.ATilR
5.1X3.5XL3
A
UASIIER
ll!l
llOLT
H~XO.
lilG
WASIIER
6. 1Xl2.2X1.5
L=!O !!'1/J?rt;t.'-l.c
25
7
1.=8
H4
CATCII
1'111
ll5
WASIII\R
1·15
D
5. !XR.5Xl.3
GUH
115
CLOTII
PRESSER
JIISTALI.
IIIG
PLAT!\
PLAU
RI\T!JRll
H5
H4XO. 7 1.::15
IIIG
H5
IECJ\
H4XO.
M4XO.
H4
CYLlllllER
L=l!i
~ASIIER
WASHER
WASHER
L=IO
CI.AHP
7 1.-40
7 L=IO
5.
IX8.5Xl.3
II•\
·
114
CYI.lt!DI\R
~PJ1
iW
'J'~1'1"hA'-
Jl•)IJ'It'll·
,
•.
,,1.~'7
l:'WT·l
H4XO. 7 D•
H4
:Jb"~<~
114
:>
Y'i:JW'
!f.\'.lt."A
H4X0.7
1.=8
;J,•ltn-·rk
t-t(r-J"k
Mtn-n,
7"l~~-r,
IHP'
7J•lH''i'J)Jj'J"
n·'H"!;•f5.JXg.2X1.3
;J;~~inn··(C)
:t.~7/illl···
;J;;;'ti)Jn"-(f)
i!'i
II'!
HG
l.=lll
nf-.·.M
7
rH~~·
fl
':i~/l•lt'l
• A 4
ii'JJ
;J;'~·f
•If
li5XO.
2
··----,j
g 1 :i:t 4
;J;)'ti7.-h
;J;)~/illl'-
W!il'rtn.'M
n•'W'I;'t
11k',i
1\J>~'H
~.YU/111'-(A)
HJ'.~II·/:!''I'H·.
H:<J
A"Jf't't
YV'\';<t
Jl~b'Wif
!!1b'Jl'lo~'/,t
A':l•!'~'*
h'i-
1~'
il~':lt
t'i'J'h'r
n'.W'ft''l
111h'!t'H H5X0.8
J.Y~ibn'-(1))
HJJ'y
'J'un;
l-'i~·r9'
t'i~·n·t
~:>~'HI
~1))''
7;'
if
1\
Hf,X0.8 L-IZ 2
5.1XIl.2Xl.3
1
J"'i
r1r
'r"or1~-~
M6
!Hi
L=!O
*'/,f
HTI§:[~
114XO.
H4
1'!
fH'H
0
Y
:Jh'~<~
5.lX\l.2Xl.3
ll~')
:!b'?n
f'J'l11~
''I'
ld
7
H5
lY'
H5
---4-
1.=8
:<nf"t'Y
'l7?'n·;
t17~?YN.'M
n'··~·h·i'
1"~~",,""y
A'·H'IJ'¥
~·1~'1'
5.1X9.2X1.3
~p;:~--
H4
n:Hl>. 2
..
H"Hl
17:!1~"
n:~t~"
n''l~'b'*
U7!J'J11f
e'~)'Jy~·
H4XO. 7 L=40
H4XO,
7 L=lO I
H4
H4XO,
7
J):t
2
1
2
2
2
2
2
2
l
I
l
1
1
1
2
2
I
25
I
1
1
1
2
I
I
I
1
~
16
16
~
6
fi
6
G
2
2
2
2
1
1
1
5
5
1
1
I
2
I
!I
2
1
I
I
1
2
2
1
NoLe
(iJJe)
#OL
....
#02
#03
.....
.. , ..
For 8,
For
FOr
10,
IZmrn
14,16mm
lB.20mm
-2-
8.
!0.12mm
14,
16mm
18.
20mm
m
Ill
m
Page 8

2.
29
PEDAL
!i!.
Nfi
Ji.
28
SllTCII
.A
1 '" 1-
26
COMPONENTS
fl.!!
!if.
33
34
40
46
59~47~
60~
61
··-I.
65---®
48
-3
1-··
®---65
Page 9

REF
.110.
IIOTE
PART
llO.
D E S C I l P T 1 0
II
MIT.
1 167-75702
2 SH-0060802-TI'
3 Sfl-fi08J202-TI'
4
5 .
G50~7-116-000
_----*Si.';;H
-uOG l 00
2- Tl' S
0 - G5048:\lG-OOO
7 G5045-llG-OAO
8 G58lG-II0-000
9 WI'-O!HIGOJ-SC
.;,;IOf-----<'W'*S-OGJ0002-Kll
-
11
12
13
14
lr;;5__
-
IG
17
18
SH:GOOl•I02-TP
G5051-110-000
SH-OOGJ002-TP
05049-llG-000
Hi?-75301
-·--107:75850
1 10-23702
110-23801
Ill 110-24403
20
~---*B?~,4'7.3+1,-552-000-A
Zl-
22
23
24
25
20
27
28
2U
30
SS-9151540-SR
u5077-11G-MO
SII-3040GOI-SC
WS-0410002-KH
WI'-
0•1
:l0800
G5075-l16-000
G5~21
116-0AO
G5078-llG-000
G5075-J Hi-MO
G5088-1l!I-AOO
-31 SM;u05l5!;2-TI'
32
~3
34
35 Sll-80f>1552-TP
30
37
38
J9
40
'll
42 G507:!-l!G-000
43
44
45
~B
47
48
4U
50 SI!-9081403-SC
~-
52
53 65340-116-000
54
55 SH-9001203-SE
50
f>7
58
59
GO
61
62
03
64
65
66
67
68
G9
G!iO!l7-11G-AOO
G501i\H 1!i-A00
G585·1 I JG-000
NH-u0£i000l-SC
ii50tl5-11!\-AOO
SM-8050812-TP
G5087-IHHIOO
G50D4-l16-AOO
G5072- I
Ill
107-1!1418
W?-84002
WI'-0!\1lGOl-SC
ws:.ou1ooo2:Ktr
SH-UOG2502-TI'
167-48204
YS-0820002-Kll
Sli-4062001--SC
WS-OG10002-Kll
SM-60•1!002-TP
WS-0820002
WP-0841
GOO-SC
B8125-280-000
SH-ll082002-TI'
WS-0820002-Kli
WI'
084
HiOO-SC
08114-555-IIOE
ll8113-555-BOO
SH-9005503-SP
lill-6060001-SC
SM-9063503-SE
B8J5l-771-000
ll8152-771-000
B8153-77l-OOO
!lOSS
SCREW
SCRI'W
HG
M8
COLLAR
ClEW
COIL
MG
SPR1liG
lliACKET
DRY
HHAL
WASIIER
SPRHIG
SCRiiW
ltr.
SWI'fCII
SCREW
CAB
MG
Sllt.l'T
ARH
KlllfE
I'RHSS
KNEE
I'HSS
Klli\E
PRESS
RUBI\ER
KNEE
I'RI\SS
SCREW
LIIIITIHG
SCREW
114XO.
SPRIIIG
-s.,c
_
_,_W:;;hS~II:;cE;:-R
-~~~---~--~-':'t;.-'it"
AIICIIOR
HECIIAJ!ICAL
SW!TCII
AliCIIOR
AIICIIOR
SCREW
H5
Llli!Tfo:R
SHAFT
IJRY
BEAR
Sf.REW
HilT
II!J
110
SWITCH
SCREW
B5X8
W~SIII\R
I.!HITl!IG
000
Rlli.I.ER
ROI.l.I\R
FOOT
1.1\VER
BALL
Pl.UIIGER
>'ASliER
srRJJW
Kll
SCREW
I'
Sl'R
SCRF.W
SCRI\V
SI'R!IIG
RUilaER
SCREW
SCREW
SPRING
WASIIER
l'EDAI.
SCREW
Sf'R
VASIIER
PED1\L
PEDAL
SCREW
!lilT
SCREW
PEDAl.
P~:DAL
PfWAL
Ito
E))
AI.
BASH
JIIG
118
HI\
IH
ltfi
AD.IIJSTIIIG
H8
!JIG
SHAFT
BUSlllliG
MO
HG
Mil
HAT
CONHF.CTIIIG
L~8
1.~12
I.~
I
O,__
_______
ASH.
WASIIER
G.IX12.2XI.5
1.-J.I
CAM
\.=10
r·tATE
AS]i.
1'\.ATE
PLATE
Pl.A'm
15/04
BOX
HOLDER
COVER
·28
1.-15
COVER
7 l."u
WASllim
114
Vr\LVE
ASM.
Si'RIIIIi
ARM
l.;l!i
!IISTALLAT!Oll
ROO
lliG
l.=1!i
OR\Jll
I'I.ATJ\
BOX
Pill
·~ASIIER
rl. 1x12. zx1. 5
1.=2[•
WASIIER
H8
1.=14
1.~20
VASIIER
G.lX12.2X1.5
FOOT
1.~10
L=12
V~SIIER
H8
PLATE
1.~20
WASHER
1!8
BRACKET
1.~55
L~35
ROD
b'Jl,':< I
Il'IMfLt,' H
ll7JJ'lYJ~.-~f
)17-
___:lnl':.:ch+c'lY,:,;I,.:;:~...:·
·~'1)11"1
1
f
/'HF7'r1f
f'H~:Z~
u•r11"*
II'H'i1'1
ll'I!J'l7H/'
J.\'11~1,
U7:1J'171;t,'M
M)Y'II
1-J, I
t~"f117
t~
"YH~
t~'lii7'H
t~"H:J"/,
t~'7T1~
Wt!J'}.r.'
116
L~8
3
I
1
1.::.:f_,_,Hli.e_'
_,1._~
"'!
0'-------"(
2)
1
'I~
I
(2)
<h"H~
HG
l\tl
HG
1.=14
2
2
2
1
Hli
1.~10
2
1
7'
1
(1)
(1)
(l)
)In'-
~·
l5i"'G-c4-,-2"'8-L:-~-~1-::5-"""{i-J
(1)
'n'n ;t.''i'!XhA"- 1
~~:!\<)"
il"i''"~"i'
~.
t
114
:r·h ~ 1·u,
H1
ll'i!Jl· A I
y;;r,
:H'HII•t
J·~-·~sw
n''IH1-J,
ll'JJJ~)'J;f."M
1
H'nr1riH'-
~V'lr
'ih'7t
il'l~'lt'lf
~l'llf'?b
:r'7'~SW
)~:~~n·~~·
n'Wr
f''ii'l'i'
rJ.'I~·
IIG
f;n~·
ll5X0.8
1
I<'Jtr10
ll
1
1~'1·
l
0/J
L~8
n I
,l,fl'''l
:Ill
8<11
U-'it";;
7'/l"lvll'-
;t.--~~-7~~·,.-
1.:7~·~~\<
11"'/~·n'~
!l'Jil?rt;t.• H
77'1<~'
A'H'r\'
ll'lb7~"M
t~":l~V"
A·y,~·~·7
:1·1.F~
U'lh'IYH..M
U'I~'J;J;';H
A"1~"»'>1-
t?~·t·i'
no
l11Mrtt.•
A'*1'11'*
t'"'l1'i'
7H~~·'J
H-1~
Gl1'1*'>~>
U1~?l'l~
ll'IM* M
ZH~'l-
~o~-~~1f
~'9~,,.~
Ur"H~
HG
no
fiG
~·
~~-i (H7~l'·l)
1.~25
H8
116
r.~zo
HG
li4XO.
7
1.~10
Hu
t=!2
118
H-1!71~
M
HB
?~0
7"1'/l
M6
L=55
H6
I'll
H6
Lo35
.
~'~'/,
2
2
2
1
1
I
(I)
2
I
2
1
I
1
2
1
1
-~1
l
I
1
1
1
1
4
"
2
3
3
4
4
2
2
2
I
2
2
2
2
2
I
2
..
_1_
1
I
1
-
-4-
Page 10

.
3
CLAMP
);:
j!Jl
A
FOOT
COMPONENTS
ll!l
j,?j,
( 1 )
Ill
-
5-
Page 11

REF.I!O.
~------------------~---------------------------------------~~----~-----------------------------
I
2 l(iG-11808
:1
4 SH-6052002-TI'
5
-r~·
7 I'C·Ol5J070-00
8 SIHl052002-Tl'
9
10
II
12
13
14
1*5
HI
17
18
19
20
21
22
23
24
25 IG!i-13903 Sl'l.lT
26
27
28 106-14307 Plll
20
_:l_Q....
:n
32
33
34
_3:!;!'!--'
:;u
37
38 161H330D
39
10 166-13200
41
42
43
H
45
-7460i----S~H
47
48
49
NOTE
___
____
---7CWS;;'_'-;;0-74+-'IO"'o7.-o~""•-""K""II-7.-S.S/'RC\I+.tiG~Wi;sJ'C!Il·"':R-I""H,-----------'"-f.-'-'H::O.e7JJ
---~lf:!'>fio;.·9!"0!:''!i'*0~2
__,v~s_,
I'ART
110.
HiG-12~05
StillE
STOPPER
S!Hl01i2002·TI'
WS·0510002·K!l
I'A·250l501·00
SCRICW
SCREW
SI'RIIIG
CYI.IIIIlER
SPEED
SCREW
WS·0510002·KN
166·10305
SH·8050602·TI'
!67·20807
167-20\JO(l
!G6·12301
..
0~1'-717.00H0~2_,·K*Nc....,.-"S"'f'*R""IIIG
SH·G041002-TP
SH-8052502-TI'
SH·U052502-TI'
SH-6052002-TI'
167-21102
lull
1:1507
166·13804
Hl!H
3606 Slll'l'llKT
SM-8050G02·TP
SS-7111120-SP
16lH3705
JUG-11000
lfil\-11208
SM-6041002-TI'
Sll-60ll3002-TI'
WS-OBIOOOZ·KI!
SM-BOG2002·TP
,...-;;;~-8Ril
IIIJ-6060001-SC
SPRING
Bl\I.T
SCR~:w
CAM
CAll
OETECTIIJG
SCREifH4
SCREW
SCRF.W
SCREW
BM.L
HAS!\
AI).JIJSTB!G
SCRr:V
SCREW
All.JIIST
LIFTIHG
STOPPER
SCRI\V
SCREW
SPRIIIG
SCHV
IHI'f
BIJSIIIIIG
!Ho-13002
CLAHI'
BLOCK
Sll-8051002
HlG-13101
IGG-HIOD
1GG-l3·108
167-22803
7
-.,-60lCfS,zccoO'C:2~-""T""P
l'.l·046052f,-03
PV-0105080-00
167-0460.1
Tl'
SCREW
CLAMP
SIIAFT
CI.AII?
SI'R!IIG
-"CSCo:fR';';E:l'W
/JOSE
HECIIAIIICAL
VALVE
lli\SCRII'TIOII
!l!1SE
IIITTillli
Hf>
1.~20
H!i
1.~20
WASIIER
!i.IX8.5XJ.3
CiliiTROLI.l\R
H5
1."20 U'JJJ'Jll;t."M
'#ASIIER
CLA!Il'
H5
I'OLLOWER
FOLI.OWr:R
!i.1X8.iiX1.3
!'LATE
L=G
A
1l
l'I.ATI-:
VI1SIIER
H5X0.8
H5X0.8
!!!i
111
1.=10
Lo25
1.=25
1.=20
l'l.lltiGi\R
l'l.ATE
SLAT!\
SIIAI'T
ll!i
COLI.1\R
11/64-40
IIW
PLATE
1.=6
L"l0.5
PLATE
GUIDE
BLOCK
!'LATE
111
1.=
10
Wi
L=30
WASHER
STlli'I'ER
116
ll. 1Xl2.2X1.5
!lASE
1.=20
llG
l'OOT
Slli'I'ORT
H!i
I.-iii
!'OUT
Sl/I'PORT
FOOT
SUI'PORT
1.
'-,.H,:!f>""'i"".=""'2
1\l.IIOW
7
0
Vl\L~l\
JliSTALLitiG
ARH,
LEI'T
ARH.
RlGIIT
SIIM"f
-·---------':fl":';'l~··int"
J'LATI'
:nw~·-;;
:!f'JJ\"·l'j
ll'tiJ'Il'J:!,"M
ll1JJ~'fl;f.'
l\"¥'"1l"1
17~1Jy~'
;<t":ly
1\"7'1'·11"~
~·M~'i:nnn•:;
~n~·
~h1Ul
M.·;uY B I
·ryft>'V
r.'H'b"•r
f/'1!J'Jrt;J:H
1
J 1
HI\
1."20 2
M
115XO.
8
5.1XU.2'-'X"-l'-'.3,__ _ _,8!-
--
H5XO.S
5.1X9.2Xl.3
M5XO.l!
A 1
L~O
H1
H4X0.7
f:liV" 1
WlMYt:t.·~f
ll?il'lrt~.'
:t."·~l"'i:>:t''\'
'JH~l1!11~'-:<
~~·v:n'l~"
v~·
fHY
'111M·
~lki1V"
7~'V:<fn•:;
V3•)J•)t
V3•):1•)_J.n"17
Ui~
ll~h7flt"H
H?iJ7JII;J;'M 4
n"\'~·n·~
Y -f,:WJJ\"
H1b'JYJ;i.' H
U'lb'll'lf
Y
'Nt
M5XO,
0
7
~1~.
~f
115XO.
~~
8
ll/M-10
:Jb.ir"
"M74
______
114XO.
H6
-9"1
11G
HB
ll>:t
8
1.~0
7
1.=20
>1!1.
~~'"f·!.~'i
l>TY7'u·1~
t;'tJ
uw·
:;~·r-b~"i
Hl)'l'l:l•)t'>
VV"V.'I
HH":1~3•i
;J;-;t H;J;"
~b~h~n"H"
:lb::b~J\·~rpJ,1'11"y
~~-
'7n"11. 4
~1·
IHiXO.
8 L
AHT.
1.=20
1.=20
L=lO 2
L=20
1.=10.5 2
L=IO
=20
8
2
4
2
2
1
I
l
l
2
4
4
2
l
2
2
2
2
2
1
2
2
4,_
4
4
2
4
4
4
1
2
2
l
2
l
2-
ll
4
l
-6-
Page 12

4.
CLAMP
);:jljl
FOOT
.
COMPONENTS
'
..t
B!l
f!i:
( 2 )
(2)
12
20
18·19
2 I
/~~
21
-7-
Page 13

REF.
NO.
llOTE
PART
1!0.
D E S C R 1 P T ! 0 H
AHT.
1
2
3 168-14105
4
5
6 SH-6041002-TP
7
8
9 G5132-116-BOO
10
~I'!-1
----"r"-x
12 PJ-3040451-02
13
14
15
16
17
18
Hl
_.2~0'-------;';1'1'68'-,-:1;-14~0~0*6
21
22
23
24
25
26
27
28
29
30 G5!29-116-COO
31
32
33
34
35
36
SM-6083002-TP
WS-0820002-KN
SM-6031202-TP
NH-603000
1-SC
WS-0410002-KN
WP-0430800-SC
G5129-116-COO
-~o..gs~s1~o'"'1
7
o-~o"'o-~E~LilN.HE~·
05402-116-AAO
NM-6200002-SB
NH-6030002-S~
168-23601
SH-6051552-TP
~01
168-14303
"02 161H450!
;-;;:·
PJ-3040451-02
PX-0551010-00
05402-116-AAO
HH-6200002-SB
HM-6080002-SB
SH-605!5S~2-;-r""r~*'sc~R~E~r!"H5
168-23700
SH-6031202-TP
liH-6030001-SC
SH-6041002-TP
WS-0410002-KH
VP-0430800-SC
G5132-116-BOO
~01
168-14204
P02
168-14402
SCREW
SPR
H8
HIG
WASHER
PRESSER
SCREW
NOT
SCREW
SPRING
M3X0.5
H3
H4
WASHER
WASHER
FOLDING
SPR
HIG
u'"T
_____
ELBOW
VELT
ROCK
NUT
Ull
PATCH
NUT
H8
CYLINDER
SCREW
H5
FOLDHIG
POLVHIG
PRESSER
ELBOW
ELEMENT
WELT
ROCK
NUT
CYLINDER
SCREW
HUT
UNION
PHCII
liUT
H8
M3X0.5
H3
SPRJIIG
SCREW
SPRING
H4
WASHER
WASHER
FOLDING
FOLDING
FOLDING-
L"30
H8
ARM.
R!GI!T
L"l2
L"lO
H4
BRACKET
lOi!
C
FOLDJIIG
BRACKET.
L=15
PLATE,
PLATE,
A R
H,
RIGHT
RJGI!T
LEFT
C
FOLD!IIG
L-15
BRACKET,
L:J2
L=IO
H4
BRACKET
PLATE,
PLATE,
LEFT
LEFT
U7~77tt·~·
A'
ttHrr-J,(H*)
U7h?Yt~·~r
U'lh'lt'n
U7~?7t*"~f
n·n·~·~
ecWh'*
~1JJ<7.7Hr
-----~---',C:iv'"i;;•i';;f',
CYL.
ASH.
t11:JH~
Ht",~i;;
1
i
U?~'Jnf
tl"liJ7J•Jf
RIGHT
t1J1<·i'I9
U'Jil'lrn·
t•J:H.f)('-4.)
i1JJ'-1~(H")
Hi~
u~·>::i:t
H~C;f
CYL.
ASH.
1
i
U'J~~t·n
U7~'Jt1f
u1~'J7J;!;"
LEFT
-I'J:J~1~~
O?t?Yt*'~"
U111'Jt1f
t11J~-/~
U111?7tt·~r
A'iWt·,~
t'i~'11·'*
1
t
1Jn'7r'lf
t•JJ'.-/Ht~"
t11JH~(rrt:i>~>T··,J.T)-----....;l;--
4
H·~·
~
H8
4
1
2
M3XO.
5
I~~
H4X0.7
H4
:1~·1~~
H4
L•10
2
2
2
2
J
t'fn'
~
C
"'*'l'~)f~=',"'7*'
0
~.--~~~
C
J:J'.
l>1J~)"
'J<
H20
2l>J
H8
3~l
1
J~~·
..
sn
M
(H")
l
J
1
1
(I)
(I)
I
2
I
1
17
·1.
f
r1J'l'J~n'
1
J1<
)
f;;?•
H20
M8
~f
1
)01~·-BKT
1:
'I"
•I)
C
7<
2>~
3;;~
1>
(t'r'<J)
(I)
1
l
l
(I)
(l)
2
1
2
H3X0.5
HA'-7
H4
J1/'''"
1:J~
C 1
H4X0.7
L=IO
H4
1
J)
2
2
2
2
l
I
Note
(i!i2)
#01.
....
~02
.....
For 8.10,
For
16.18,
12,
14mm
20mm
8.10.12,14mm
1&,
!8,
20mm
ffi
ffi
-8-
Page 14

5.
CLAMP
};:ffjl;tfi!lf#,
25,26
FOOT
COMPONENTS
{
3)
(3)
24
36,37
42-,
31
.
/
41
46
48
29
51
~-
~
~
58
591/
v~
"'..
60
~
44
-
9-
~
56~/
I
I~··
.
--54
55!
Page 15

REF.IIO.
-----------
2
3 YI'-04:!0800-SC
4
5
IIOTE
~-
1
1102
1101
!'ART
~-----------
SH-GO~l202-TP
VS-0~!0002-KII
110.
--------------------------------
G5l30-llfi-IJOO
Gf>J:iO-JHi-COO
6 SIHIOG2002-TI'
7 G512G-117-000
8 IGS-23304
9 IUS-2330\l
10
ll
12
13
14
15
HI
SH-6053002-TP
YS-Olii0002-KII
SH-IlOI\5002-TP
SH-6051202-TI'
WS-0510002-KI
.JIH-0060001-SC
IIII-G05000l-SC Iliff
17 G5122-117-000
18
19
20
21
22
168-23502
li5108-IIU-OOO
W!'-045080H>Il
WS-04
10002
Kll
SIH\0•10802-TR
23 163-07109 Pill
24
25
26
27
28
29
30
SS-7110840-SP
1101
108-13107
1102
Ui8-l330li
G!Jll0-119-l\OG
110•1
G5l10-ll\l-BOG
108-2310:;
Sll-GOG2002-TI'
.'ll G512B-1!7-000
32
33
34
35
30
37
33
H\8-23502
SH-6051202-TP
~S-0510002-KU
G!il08-ll9-000
1101
G5l31-!l6
1102
G513l-llf>-DOO
SI1-G01!202-TP
COO
39 WS-0410002-Kll
SCRGW
SPRHIG
li•IXO. 7 1."12
WASIIER
VASIIER
FOLIHIIG
STOI'l'J\R,
SCREV
PLATI\
Ill\
RIGIIT
1.-20
SPACI•:R
CLA111'
t\RH
SCREW
SI'RlfiG
SCR~W
SCREV
SPRING
NUT
SliPI'GRT
ARM
FOUT
Sl.lilE
H5X0.8
'JASIIER
fill
Lo50
l15XO,B
WASHER
116
H5
ARII
Sl.
Jill\·
WASHER
WASHER
SI'R
SCREW
SCRI'~
GARfiE!IT
GARMEllT
RUBIH':R
RUBBER
CLAIII'
S.GREW
SPACER
t\RH
SCRliW
SPRHIG
WASIH~R
FOI.Oli!G
STOPPER,
SCREW
SPR
4.5XlO.OX0.8
lUG
WAS!II·:R
H•IXO.
ll/114
CLAHP
CLAHP
SOLE,
SOLE.
FOOT
HG
L=20
SLIDE
H5X0,8
WASHER
Pl.h'I'E
!.EFT
HHO. 7 L"12
lNG
Wt\SIIER
HESCRIPTIOH
-~--
..
-----------------------
u·1:1J'Irj;J;'.H l
114
STUI'PER.
SIH'PORT
i'I.ATI:,
1.=30
S.IX8.!iXI.3
1.=12
5.1X8.5XI.3
STOPPER
S!IAI'T
ARI1,
R!GIIT
RlGIIT
RlGIIT
A
n'H'h'~
t'i'I'JJ"~
VJ:"H
~>J:~U;t
W!h'JYJ;J,"~I·
;t'>·-~
~H1HY·T'r·/,(H")
5')/"r·J,:!'+Wn"y
U'lh'rn;;.'&!· 1
ncw··oc~
11'/h~i'J;J:.H
ll?h?YH"H
n"t•"t"t
U1~'WH
U'JJJ~!11
'JV"r-t,
~4H1li1"1'·/,;ri
'J1'J1'
t"l,'b"t
ll4
7
1."8
..
40
1.=7.8 ·at:HOI" 11/04-·10
PL.\TE
'hATE
RiGIIT
R!GIIT
SUPPORT
RIGHT
RIGHT
A
ARH,
ASH.
ASH-.
LEFT
SHAFT
1.=12
5.1XS,5X1.3
STOPPER,
LEi'T
114
II"H"b"·~
tt'lb'lrJ;t:M
U'tt'l'i~J'l-'i~l:"Y
':l'lt>l'i~J"
':i"tWiY:Io
~::.t'"Wh~
U"ll'l7Yi"1"1,
i~~JlOI\"7·/,(l:'.<">ll
!17b'ln~·
:<~"-~
H~~lV·i"J'-J,;O·H"V"'l
t!7h~7tt:l.f
A"f'l"~·f
9'W'I A I
:l'JJi:1J
t'I:JHlt
11'l!J'J7l:t:~;
1\.H'b'l<
-·---
-----
114
:!b'~·H
At'ln'-
:WJA"·
114
,.~·
A l
H'
)16
L-20 I
(H')
5.1X0.2XI.3
H6
L~&o
115XO.R
1.=12
5.1XU.2Xl.3 l
JIG
!Vt 1
1·15X0.8
~PJn"
!Vt 1
If
''J"'I
A I
4.5XJOX0.8 I
ll•l
IHXO.'I
(H')
(H")
1
'l0~C't,
.H
HG
...
H5X0.8
5.1X9.2Xl.3
Clt'!n'-
:<f1n'-
li4
1.=8
1.~7.8
H"
't"
L=20
···~I~
1,"12 1
t}'>J I
l:}'>J A l
(l)
l
l
l
l
l
l
l
l
I
l
1
T-
I
I
4
l
l
I
l
1
l
I
I
1
42
13
11
<15
46
47
48
49
50
51
52
53
54
55
56
57
58
50
50
Sll-6053002-TP
WS-0510002-KN
Sll-00()5002-TP
NH-GOGOOOJ-SC
ifH-G050001-SC
G5122-ll7-000
SH-1>040802-TR
IS-0410002-KN
WP-0450801-SO
168-07100
«01
](18-13008
1102
168-13206
G5109-Jl9
G5109-lJU-BOG
.
1104
G5l
O!l-1
G5107-Jl9-000
SH-3030!\01-SC
WS-0310002-KN
WI'-0320500-SG
Note!ttaB)#Ol
SCRIM
SPR
SCREW
"'*:---T.*H:¥-----"------~u'f:,J.OSJJ'J~t•ir:
..
AOG
19-000
NIIT
lli!T
SUPPORT
SCREW
SI'R
W~SHJ;~
p
GARIH\IIT
GARIIE!lT
RUBBER
RUBB~R
WELTJIIG
WCLTIIIG
SCREW
SPR
.....
for 8.10.12.
#02
.....
For 16, 18.
#04
.....
For
115X0.8
l!IG
VA~I!Jo:R
HG
!Hi
115
1!4X0.7
JI!G
WASII!;R
111
SOLE,
SOLE,
H3X0.5
!IIG
~ASIIllR
WASHER
fl3
heavy-weight
1."30
5. lX8. oX!. 3
L=50
ARH
STOPPER
L=8
ll·1
1.5XlO.OX0.8
CI.M!P
Cl,t\Hl'
Pl.t\TE
PLt\'fE
LEFT
LEFT
A
I'A'fCII
I'ATCII
!lASE,
BASE.
!."o
113
l4mm
ZOmm
mat.ertials
LEFT
LEI'T
I.EFT
RJGIIT
ASH.
ASH.
!l'J~7Yt;t:
A.,,
!11~~Y·f*"iH
ll'!~'lt'!f
VV"Y·/,
!l'!h'!Ttt:
A"H"I"i<
e'i,'l"t
~:1"U'I'l/l
U"U'J'i~·J"
'J'll'l'i!t7°
•J"tl'1~7"J"&t:1"9
~J·II,'i:J'/
)'<1-}~"
J'<fl,·-~
~~Jj<)"
~·1~·~·1
t·H':IJ"*
8,10.12.14mm
16,l8.20mm m
Jll[1,Jlll
M·
.•
,,
5. JXB.2XI.3 I
HG
L"f>O
H6
JV1
M5XO. 8 D1
~;,Ao
H
H4XO. 7 1."8
H•l
4.5XlOX0.8 I
1
'?'iYl.::
Y 1
(!:~"'))
(t'I'>J) l
0
:l"bt~''l
A l:)">) l
,,.
3.1X5.9X0.7 2
:l:IJ"Il~~
H3
Jij
l
1
1
l
I
1
1
l
(I)
l
I
2
2
-
10-
Page 16

6.
CLAMP
7:.1!fl
FOOT
A
"'ti
m J
;
FEED
oo
Jx,
COMPONENTS
-
11
-
Page 17

REF.IlO.
-~-
Non;
I 160·12806
2
3
4
0
7 100-10107
S SB-1120002-00
PART
SlH1051002-TP
VS-0510002-Kil
VP-053tOOO~SC
1BG-OG901
167-21706-
U lG0-10008
10
-ll----····
SH-8051002-TP
RC
·2800002
l2 160-00810
13
14
15
10
11 IG0-10£02
\8
19
20
22
23
24
IG0-!0404
SH-8040002-TP
16
7~-:i2
2
4:!'0"7
4
166-10101
SH-0062502-TP
Sit-1051001-SF
\07·25005
·in6-~0ROO
160-\1000
167-10303
RC-2200002-KP
~0.
COVER
SCRE\1
SPRING
tJASlli:R
---+.lSI1(!1A"'-VT'-
KEY
CO!.LAR
BF.ARING
COLLAR
SCRE~
-KP
R~Eili'A~IJR
HOTOR
TlHING
__
SCREV
___jT.~I~H
;:lti.,C,:B";El.
IIlLER
PUI.l.EY
SCREV
SCREW
V~SliER
i'liLL~;y
IOLER
BEARHiG
RETA\HING
D
F.
S C R I P T I 0 H
H5
l,=IO
'fUJStii~R
5.1X8.5XL3
M5
8
A
H5
L,lO
ijl
o'-*r
;!I
B."----·-----+.C~>:{il'>~?-3~0'.
BASIC
POLLEY
H4XO.
SUAFT
HG
M5
PULLEY
A
7 1.,0
T
1KSTM.I.!HG
t.~2s
L::iO
rlN
/,RH
RIHG
bn'·
11'JJi~ltt~.H
A.H.,.b•t
t'H~:Ii~
?vn
1\-{J?lH
H-
,·,wrD~t2X28
;;-
HI?.
>-1- ,
H<"~'7'-'l
1;1?·
)(
<
,,
1W'
7'-•J
U'Jb~1H>'
!H:/~
l'b•t
1
., -
)
7,if',
1\'"Y!JY!" 2
H5XO.S
S.JX9.2Xt.J
-i
jJJ~);o,;.
Hft
(;t;HA.) 2
B 2
A 1
'l
~1ui~J?..------ic2-
••
, l
A I
• ' •
41
'J
7 I
f>JnH,
H
HO
R5X0.8
PJ'Ht"Y
7•-•1 I
L~25
t.:::10
C>.Hi'l
L=IO
AHT.
1
3
J:
3
I
2
1
2
1
I
1
l
1
1
1
33
3·l
35
36
37
38
30
10 166- !0205
~-
42
43
44
45
4U
47
48
49
50
--51-~
52
53
54
!:i!i
56
57
flS.
50
GO
61
02
63
64
65
66
87
us
&9
70
71
72
73 166-11303
74
75
76
71
78
79
60
Bl !07-20005
82
83
84
85
86
87
88
so
00
01
~5·0510002-KII
160-00711
SH·OOG2502·Tr
SH-8082002-Tr
liH-0080001-SC
StH3062002-
1GG-ll001
SH-80>10802-
\57·22308
lGG-
J 1700
IOG-l2GOU
SH-U051002·TP
vs-ost'ooo2-Kil
VP-05.11000-SC
HIB-12707
SH-6051002-TP
VS-05\0002-KII
~l'-053lQOO-SC
100-\1007
iS-00 I
SH-11062002-TP
160"00505
16o·=74B08
166-12202
S!1-fiO!J2002-lP
160-12400
-·---
1G6-i
HH-004000[-SC
IOG-12103
VP-0531000-SC
VS-0510002-KII
SII-605/G02-TP
SM-1,040502-TP
SM-6051502-TP
IJS-0510002-KN
107-24403
\G6-11402
IIH-0060001-SC
JU0-11105
160-11204
...•.
.....JiH·!i052002-
Hli-6120001-SC
S!Hl0355C2-TP
106-00604
lG0-11501
166-\1600
RC-2421211-KP
SII-6052002-TP
167-02706
SII-604!20Z-SP.
VP-0430800-SC
VS-0410002-Kl/
SH-004030!-Sf
165-67406
SM·oQ62502-IP
VS·0610002-Kll
0002-Kit
2_illl9
....
SCREV
SPRIIW
STAUD
SCR~:v
SCRI;v
HilT
Tl'
S!:Rf.\1
GU
DR
TP
SCREV
BF.I.T
H:F.D
BIILT
SCRE~
SPR
VASUHR
GOVt:R
SCR£V
SPRIIIG
1111sm~R
STOPPER
SPRING
SCREY
STAIIO
STAIIII
SEIISOR
SCREV
SEIISOR
GIIIOE
IIUT
SENSOR
VASI!~R
SPRiliG
SCRF.V
SCRl-:V
SCRHV
SPR!It-G
YASIIER
__
t;!l!!1!LllM.
IIIIT
TEIISIOII
TRIIS
COIJ.AR
TP
SCREV
NUT
SCRr:V
ADJIIST!liG
FOLLOV
fOl.I.O~
BEARING
RETA!NIIIG
SCRRV
CORO
SCREV
V!SIIER
SPR
SCREV
HOTOR
SCREV
SPRli!G
H6
VASII~R
A
H!LJ85
H3
H8XI.
H6
ll>r:
RAil.
lV
IMG
H4XU
R~
II.
COVER
HS
!IIG
..
iiASIIER
H5
JIISHLI.II!G
H5
VASlfER
rm
VASil£!
110
IIASI·:
II
8/,SF.
US
SLID£
PlE
M·-~-----
BASE
H5
VASIIER
H5X0.8
MfXO, 7 L"5
H5X0.8
!JASilER
116
/Oil
V.5
11Ti
liS
SIIAfT
PUI.l.EY
..
115
BRACKET
114X0.7
lllG
VASIIER
H.JXO.
H0 . ../._-25
VASl/ER
!L1Xl2.2XL5
L-20
25
L=20
PULLEY
1.~10
5.
U(U.
SXL 3
l.=-10
PLATE
5. !X8.5XI.3
6.1X12,2XLG
l.~zo
·······-~·~·
L::20
SIIAFT
5.1XS.5Xl.l
1.'16
L~lU
5.1X8.5XL3
h
BRACKr:T
SCREi
1.=20
t.-55
BOLT
RIHG
L~20
L-12 U1b)7U..tl
~4
7
lA
6.1XI2.2Xl.S
_!!lli7t;f;
I
n~;;Yt*'~t
"'HTI
!lf:t')
o-•JJJltn:t.~.u
;#,.
ll'Jb'Jt'H
U'Jb1i7t;t.~M
h"'W"!t-k
,
..
~.'11"
l>W
'I~H
;fl}IJ
11--~
" ...
A.-1-j):fl
0?~~7;;';1
n·*~···;
t<•f
..
l11"-Pi"ll7.'it'l~
U7tl:rrtt
,·;,·;-;
~?f"t~*
.:H'/1'1"-
,.,·H~'h·?
U'lb7llt•
Vf:t<)-1';
~UIJ
e
..
,
WJ~~lt;t.
tY9
}}
..
1~
ti1}J~tn
t/i'
t71'~~~4
"·;<'b'i
U~b7114-"tl
lj<>'
n~b~7t~~4~
li~H
;;.o·l')l--
t;~
(~
R'.Jt.J'Jt'J~
7Y$'Y!JJ~'H'H
f;.<$f;l;;j:p"
JH;IJ'l--
U'Jk1t1l-
V'Jtl)71t
n"'t,At~
VJ.I)!--
:)
..
:li)t•?t
'\
..
11)!17"
OJ~?"'
U1b7rl*'tl
t)}"'.iBKT
tJ,.~~r Jb~~<h
"·"···;
f,,,,~·
•-*"t-:)-
n•;;b:~;J.t,'"
•·w··;
HG
L-20
HO
(\
H6
1..;::25
H8F2o
H8
1
:/J-
H6
[.::2t)
-'J
H4XO. 7 L-U
~-
H5XO.R
5. 1X9.2X\.3 2
h"? :JiJ":)1A.
..
H&
M
Mf~X0.8-
S.IXU.2XI.3
:1b~~14
Hs
un
lef
H6
~
-;t
15
~~
-f
h71f.
..
;t
..
~
-\ ~-;{
114XO.
..
:b~7
..
.,'l~,~·b,._f
• . t,'·t}
..
i);).'l
1.-20
..
ti--
MSXO, 8 L::2{)
"'1'
:1
f)
1-l4X"O.
1
:J)J"':;z·.,.,t-
5.1X9.2X\.3
115X0.8
7 L,5
H5X0.8
5.lX!L2X1.3
{\
HG
)$':t
..
U
K5XO.§
..
n
){8
L:55
...
u
1
..
'11"-
)
H5X0.8
H4X0.7
l/4
H4X0.7
M
H6
L:::25
HG
t:t:<
HS
K4
C'8
l'IO
1.::10
L,16
..
t::l6
L.~.~_Q
L'20 7
L~l2
8
8
I
....
L
2
2
2
l
1
2
1
I
J
2
2
2
2
2
2
2
4
4
I
··-~-
3
3
2
2
2
2
4
4
4
2
2
2
2
1
1
l
1
1
l
I
4
4
I
l
2
l
1
1
l
1
1
1
4
4
12
-
-
Page 18

7.
CORNEllKNIF·
::J
- 7 E
COMPONENTS
t-
A
r"1
1~
69
70
~ij'
''
63
-
13-
72
j
~6
~
73/~@
74
I
75
Page 19

R!>l',
110,
llliTI\
!!Ol
I
rtOI
2
3
4
I
12
13
l4
T,l
";-.'
----'i'*Hi-60fl
···rn
17
Pl.
.
10
ZO
21-
22
z3
24
2!!
26
21
23
:w
--w"Of----~~SI-·.J<O'ij,~)1.0{l02·Kil
:n
32
33 !HH108300Z-TI'
I'ART
lill, D R s C I I r T I 0
HiG-07-10()
l6iHH30l
IG0-07004
G521G-111-000
SS-00~1210-SI'
lni\:0720-z
if>li-07tO:~
SS-7111120-SI'
IG!1-0fitl07
Jfl(I-{H.i2¢8 fll)hf'TER
SHwiHH'il002-ll'
Jn()-0117{)5
l*llO:;tZo..·_,_Tic.'
!flG.Ot!.fJ01
i!lfi-OM08 .Sl.II!E
.t;«·80fii002-Tl'
SII-&Of>0002·TI'
W7~2!'.103.
lfi7ht'.h202
IO.ti~(H.MOO
;;H
·fiOfilOo2-TI'
VS-Ofll0002-KI!
VP-Q53i000-SC
HitHJRUOU
1-:S-0510002-K!l srRIIlG
S}l-60fdfl02-IIt
SiHiO:lt202·TI'
fA··25Q(\~Q1-00
lfi0-08309
GURlll:R
Kll\Ft
CORI!ER
KlliFE
KIIIFE
Gtlii>E
1\CC!>IITIIC
SCRI\~
~~
!I'E
SCIEV
J::N
1/3-44 1.•12
!Hii.!II·J:
1!/<H-40 1.•10.5
I
~~Kliliii(flnl.llEI
II·
SCRJ.:\1 H!l
l:WJ)
lillliH~
_S:f:''c.::R"'~:V:;,,
H"fiXO
kllll!\ll!\!t!IIG
!Hti\CKI'~T
$CREil
1-lfl
":RI\V
Jlf,
CJiH
Vt!tLH\'I"'{Rc_---------.'!;"-''':''"'=':.·
!:1\H
FIH:rrWER
Si:t!SIJI\
UE1ECT!IlG
seRE\.!
w,
Sl'iUHG
~MillER
'U.SilER
···r:Y["ffiiiEk-UASl~
»:r,
\lflStlE~
SCI\Eil
H5X0.8
SCRI•:\'
i1~1XO.R
SPR!Uli
VASI!Ek
t¥LUI!IER llP'J;;'.l·
CURtlER
KU
!\CRE~
118
STOI'I'Ek
A'L
AI
!'Ill
II
~~~--
··
A
HfiSE
L"'lO
.8
!,co
H~
-------'IIC7,'Jt:~7.1$'1-
l.-=!0 t.k/:v·
J.cO
rU,n:
L=w
!FE
t.:::JO
l '
L;-111
L"l2
BRf,ClCET
!l.JXS.!>XL3
ri:l\r1:
!i.1X1LSXI.J
5.1XS.;,:o 3
----..;'£1'i'f~,;"y
----
I,
37
38
.16
-'!lf----
41
~2
13
44
~!......___
-f,f
..
--~~'27ff---fti
52
;1:!
54
55
5-H
f,7
!i~
frU
110
fi 1
62
B.'S
M
65
06
67
06 160-0Z70S
flH
70
71
72
n
14
75
~·
77
78
7\i
80
81
SH-DOfi2Q0.1·:,a:
VS-01)!0(){!2~KU
Hifi-OO!JOO
I
no
·Q\Q.Ql_
\II'-Ofi4Hl01-SC
~S-0610002·Kil
SH-ftOG2002-TP
1fi7-23DOO
Sll-8!lliQ~02·SP
166·00307
SH-Q052fl02-
166-08003 SLtoE
I
C.6·00000
HlU-03102
l/S~03!C002-Kit
SH-GO:HM2-TP
lfJ!i
..
77205
tGfl-03003
$M-1i041002-Tl1 Si:l\EV
IJS-¢110002-K!I
H)ii-02:WO
Sti-3010GQ2-Tr
16.(3"-02302
IOG-02401
lG13-0260\l
S~-8031002·TP
SH·605100f:ll'
VS-0516002-Kil
166·02006
SCREV
S.PR
FRMU~
.
....£1J~Hc.E
VAS!W.R
SI'RIIIG
XCREV
CDLJ.AR
SCRE~
SEIISOR
Tl'
SCREW
Sl.llln
SH!!SOR
SI'RI!H.i
UEXfiGOih\1.
ilASIIER
······-
SEHS!TR
Sf'RI~G
HOT!U:
SCRHV
--~~·RTHG-i:oU,M
BEJ\Rll!G
H!JTOR
SC~E~
SCR!i.V
SPRIIIG
REAR
Rhl.l.
!6fi-02?W7
WS
..
Ofii0002-KN
·s·H-!l052002-TP
\67-21MB
~I'-0841GOO-Si:
WS·082000Z·Kll
JJH·GOSOOOI·SC
..
~U00002·KP
167-20101
1117-2f>004
107-ZOUQU
Hi?-25301 R
lfl?-27109
llfl.LL
SPRIJJG
SCREIJ
KEY
~hSIIER
SPRIJIG
IIIIT
REThliiJG.fiTII
REAR
J.IHHM
REARIIIG
~-
ll!i
l,::.f:O
ltlr:i
Vt.SIIi:R
iL
RECf.IV!IlG
;"k"EC,.I~i
WASHER
1!6
HSXO
fihSE
WiXO,
S!lfiFT
SIIAFT
I
l'tATF.
VASlii'J!
IJRfiCKET----·
«4
VI\Slii~R
S!!t,Fl'
tt.n:o.
lXl2.2XJ,5
IHi:Act:V.T
I,_Y-"1
M,G"-"'BR,A"'C,_,Kc'-':T--"'h
6.1X12.2XJ.5
1.-=20
"·§-'1."'""-8
____
8
1.,.-25
1i
II
HJ
BOLT
H:l X 10
1."'10
IM
7
L"-G
t:OI.LJ\R
GEA!!:
HG
1."10
Hf>
L")Q______
VASilER
lliG
SJ:REV
5. IX8.5X1.3 h-;,·n·? !i.!X0.2XJ.3 3
rRESSI!R
PLATE
GEAR
SCRlHi
~~SJJF.R
Wi
5.1X8."5X,_,I~.e_3
1..::20
VASIIER
118
ll8Xl.25
IHG
UUSI!lliG
II!G
2
____
----·
R
____
-
II
:H·
;,
IA21
J-1~~~
Al
:J.;.h·n~
;J.Ui'1
JH:/t~)
t-HV
11~~44
·
J:<H;~
J-<MJ•
·at'!f~~
J:.i<U-';1'~
Hf/
l!1"•b~H·
!l'Jb)'? J,f,
.n-n~r:H'H
IJW
1/,'Jr!Y-
i.!';'
wJJ:77-trl.~
~~~H"b•t
~~-J;J,
n
fi
I J/G·l-40
V?:. 1
~-
~
.\.-~
H5X0.8
_______
'J.'.If11~'/
j})~~~t.
..
?I
/\•H•t•15.1X9.2Xl.3
ll'JJJ7nt•
I!'Ja'll'J:t.~U
,..,
:1-J-~:.n~-Jt,-/,
ll1111Jlft~.H
JH
111./J7J,'
A·H·tJ··(
.!.~'t1•H7""H'Jt
<2>c;¥,7N.~IC''/c-'"i-"c;''.;.'c.Th'om-----.\l
t'HI"r/
J..t
..
;,~-r;-
·-----
• :.if): 1
41
H.t'l-a.
"•;,-;·;
tl'lb'n'i:Vt+
-----!'-:f;-0';1";'
t•n;;-
.;-.';"llf>XO"-.
"''
'1·1 I
ll'Jil'Jf n
,·;;;
!li7.J'JYt;t,""'U
'l'J':!Y
~
..t'l-i'}·~
J~'J1:f•!,;tft:!!;
11·H~JJ'?
t:;;-T1~'H
ll'J~~n;t.~,u
n~H",I;*'~
t:~)
t)J::l~
"
"1"11)~11~~1-
t:-1' 'r""'\1- 1
In>·
M I
..
~
' B I
$'i'·n I
..
,tJ;;'r't?- 1
H6
H'I>7Y1V.HH5Xo.S
,.,,),~·
Hl
t•·AW-rt•l-
~,ff,t):t,~-A-1~"
,
"·;,•;-;
-ll1:!i'UH-~M
1
-\i:t1\-(
J!N~i)
two·
I l
,·w;·;
'"bH'Jf
c;-);t'l
''7'i>'J. I
>J::n·~i<>
'i~71/'/J~
7:t3•/t
".,,.
H8
30. I 7fiii)' Z
..
-r-tJ:t'1~
hilT.
ltwm
(t7~'J'l)
!,:<t2
M5XO-
t-=iO.
8
J..::
"-"'-~""'
'
f1
16
l."o
---!-
H5Xo.a
H5
M5XO.S
H5X0.8
t=Io
L::ll\ 4
L"'l2 a
5.1X9.2Xl.3
5.1X9.2XL3 8
HG
1.;;20
HG
2 1
HO
116
Hll
[,:::20
,_&...,l.cc•8,_
___
..
_2_
A 1
3.1X5.91:0.7 3
H3X0.5
!>=10
H4X0,7
H4
[.::H) 2
1."10
L·JL._J_
0 I
5.1X9.2Xl.3 4
M5Xo;·g·l.:::20
HS
li<>
2
2
4
4
1
1
2
2
2
2
~
2
1
4
2
2
2
4
4
1
3
4.
1
2
2
_
i
1
1
1
l
1
1
I
1
2
2
2
2
Nute
!i!ltHlHH
....
Gauge
(Rf!fer
pnrt
to
the
labie
on
-
page 38.}
14-
?'-;illJlJl,
l38HOJ1U:<C~!!&
<
t!
!'!
''l
Page 20

8.
~
BINDER
1\1/;1
COMPONENTS I 1)
-
ll>Hlf,
I 1 l
-
15-
Page 21

REF.IlO.
!lUTE
PART
NO.
D E S C I I P l I 0
II
AHT.
1 PA-\l000140-00
2 167-1)6008 X
3 SM-l\051002-TI'
4
5
-6:----.~I'A-2504501-hO
7
8 lll7-2710\l
9
..12___
11
12
13
14
15
1c
17
18
!9
WS-0510002-KII
SH-6041002-TP
WS-041
SK~Il052002
PC
-0 J 51
167
0002-KII
070-00
-6540G
IIH-GOJOOOI-SC
WP-0320500-SC
SIH\041202-TP
VS-0410002-Kll
~---;;;r,-:.·o43olloo-sC
1G7-Il5505
!G7-G5703
SH-4031G01-SC
KNUCKLE
HUCKLE
SGRI'W
SPR
SCREW
A
1R
SPR
BAllO
Sl'lcl\ll
SLIT
TP
SCRr:w
IIUT
VASHER
SCREW
SPRI!iG
wAsll~---···"-----
SENSOR
SEIISOR
SCREW
.JOIIIT
PIll
H5
1.=10
H!G
VASIIER
H4
1.=10
C'/1.
iM..lllt.,EcC;R"--------
JIIG
'JASIIER
COHTROLI.l'R
COI.I.AC!l.Rc:A
H5
L=20
HJ
H3
H4X0.7
H3
1.=12
VASIIf:R
ORACKET
BRACKET
1.=16
LEV
22
23
24
_fl
_____
2!1
27
28
29
30
31
32
33
3·1
35
36
37
38
.)\l
40
41
42
43
44
,15
46
H
48
~9
50
51
52
53
54
__l)Jj
56
57
58
59 166-52505
60
51
02
G3
54
SM-GOG2502-TP
SH-4031601-SH
WJ>-0320500-SC
...c;W.P-0320500-SC
JG?-80207 -
166-56~07
1!16-53107
16!1-53008
IG?-23801
107-0580~2
16Hl7402
lll?-22902
1
GS-12802
1!\?·G5307
Hl7
-~V-ER
G520S
Sll-6082502-Tl'
WS-0?.20002-Kil
WI'-OM
lllOO-SC
ljiG-98409
liH-GOGOOO
167-65109
JG7-lifi107
11\7-66206
Sll-OOG2502-TP
G5325-1l9-000
G532~-11U-000
05323-11\l-000
1-SC
G5:l03-119-000
G5306:110-000
SH-6062502
Hl7
-66305 B
SH-8040602-TP
167-80603
IIH-!llOOOOl-SC
167-65000 B
SH-6052002-TP
SH-8050812-TP
S1HI062002-TI'
~S-06\i)o02-Ktl
SH-6062002-TP
167-72006
157-72105
SCRllW
SCREW
WASHER
WASIII\R
SCREW
SENSOR
GUIDI!
STOPPER
SPR
!IIG
COLLAR
KIIOB
COLLAR
TIIRIIST
B
IIUJER
SCRE~
SPR!l!G
HSII!·:R
STOPPER
IIUT
lH\
OlliDER
SLOPIIW
LEVI\R
SCUV
THRUST
THRUST
SEPARABLE-CAGE
l.I\VER
LEVER
TP
SCREW
lllllER
SCREW
CAH
I'ULLOWI\R
IIUT
lll0Xl.5
IHDI\R
SCREW
SCREW
POS1Tl0ti!HG
SCREW
SPRIIIG
SCREW
PLATE
OSCILI.ATIOll
l!G
L=25
H3X0.5
H3
H~
BRACKET
COLLAR
Pill
sn,w·(I!!U
~ASIII·:R
SII!IFT
H8
1.=25
YASIIER
BOLT
BASE
GIIIDii
flO.
2
Hli
1,~25
WASHER
IIJ:EO!.l\
Pill
NO.I
116
1.=25
PIVOT
H4XO.
BRACKET
115
1.=20
H5X8
H6
L=20
WASIIIiR
HO
L=ZO
li!STAI.L!IIG
__
7
Pill
PREVEIIT!tlii
5.1
X8.
5Xl.
H4
____
l!•l
L"16
(2)
----------~j~"~{2~v
------
HE
BEARING
HEEDLE
SHAFT
l.=G
5.1Xli.2XI:s
BASF.
1v"t1?k~·~1Y~
t~?~t":.>
111~'/Ji*'~f
3
_
n·~~·n·~
U'lh'lr-t'~·H
17':1'1:.>~-
I>.J<f'h
n":>f'
;{t'
l97fj~-
Wlll?r;;1;'if
11111'1i'H
t11"1"J<
U71'171,'&1 2
..
:1:.>
1
H3XO. 5 D"
:JI"7••
n"tt"l"t
~--7-t~•;·•·~
"~'·:..a:.>
')t7197t7"1t11
I'":JH"
ll'liJ'JJ'H;'
·r~":J1Y
t?~*h•i'
U~"IJ"i
:Wt''.J!J~
:J97"~*"""'''rl2l
71"-W~·;-
;tr*ll\
J'*lli>'I:J{~A·,i
1?-
Jl"n;i;
BIT
!13
A<
H3X0.5
:lil·~~~
:JiJ"~H
7"711fM
0
t"'.l
7
n~--~Y7
n·
li-
z?zr
------:'""-'·
BEARING
__JU'::;;?f;II~Yt*"M
·---"n'f.,
PLATE
''''
-i~}·
v·
U717rt;"&l- 1
o"i9",)"1
til"i"t
al-7•'-
U7b'lt71-
/\'"'(:,<~"~"'-A
~·ah
~"-(2
fl'lil'lYJt"lr
~1A~~1~7
2721-
=-···
r,n"-t"'-' 1
j*-11
A~1~~~-
1-~t'"
1£7~111-
ll'lii'WI<
o"1:.>,.
U77J'I1H."
I
1H"~i:":>
ll'lii'IYJV
U7JJ?Ht" M li6 L
Jvf
'"''~A"y
,.,.
flO
vi\"- 1
=-···
~-pgy,·
HI\"-
yjy~•?
IHO
7"7971
H
~ill"
H5Xo.
'1-'H"-·'JJ"'
If
1
•
~1-'!19~·.,
1
1
H5X0.8
5.1X9.2X1.3 4
M4X0.7
L=IO 4
L"lO 2
1
H4
2
2
2
H5X0.8
L;2()--j-
1
1
H3
!14
H4
3
2
--2-
1
fjJ<?" I
L=ll\
I-
H6
1.=25
lAG
H3
H3
f'>~v·
'I
HB
1
V~
Wi
L=2_5
~-,,;,,·
f!6
l.;zs---~r-
D"
H5XO. 8 L=20
8
1.=8
HO
1.~20
IHf-
. 2
=20
2
1
··
2
2
2
2
1
I
l
I
1
l
1
I
1
1
4
I
I
1
1
1
1
1
2
l
1
1
I
1
1
I
3
2
I
2
2
1
1
SH-3031401-SC
SH-6065002-TP
I!M-6060001-SO
g...---~liS-0510002-KI[--
SM-6051202-TP
167-24403
SCIEV
SCREV
IIUT
SCREW
SPR
WASIIER
H3X0.5
HG
H6
H5X0,8
lliG
1.=14
L~50
L=l2
WfSIIER
5.
lX8
-
~SX!.
3
16-
~~J*V"
u·;~'ll't~·
01~?t~l-
U'l~7rt:t.•
n"f~'t"i
,-~~,·~~-?~·~·*
~f
H6
1.=50
HG
IV~
M
H5XO.
8
5.
1X9.2XI.3 l
"'L~:;-'1'-"2-~1-
2
1
l
I
Page 22

9.
BINDER
J\
1 ,
;;
,
CO,.IPONENTS
Y~r,H'f,
! 2 l
(2)
24
25
3
-
17-
Page 23

REP.
NO.
IWTE
PART
110.
D E S C R I P T I 0 I
AHT.
1 G5377-139-000
2 168-12703
3
rtOI
168-30507
4 G5333-1!9-000
5
-~--'S~f,__I-""80~30302-TP
e
VS-0310002-KH
1 WP-0320500-SC
8
NH-B040001-SC
9 SH-8041552-TP
SCREV
BINDEl
~ELT
SCREW
SCREW
SPR
WASHER
HUT
SCRE\1
H4
PATCH
H2
H3X0.5
lliO
H4
M4
CIRCUIT
WASHER
H3
L=S
L=4
L=l5
11
12
13
14
15
lG
17
18
19 166-71703
;c20,_
-
21
22
23
24
25 SH-6041202-TP
26
27
28
29
30
31
32
33
34
3f:;->
36
37
38
3U
40
41
42
43
44
45
46
47
103
G5328-!!6-AOO
167-66404
SH
..
BOG2502-TP
SH-8030802-TP
SH-8044002-TP
VP-0430800-SC
I!H-6040001-SC
___
1.16,_,6"'-*7""18Pi0*2-=.,--;.;A'!ORH"'*BU;c:S'-;;H""I\i'NG,__
G5329-116-000
WS-0310002-KN
SH-3030601-SC
187-66602
1£7-66503
SH-6041202-TP
166-97005
SS-1060610-SP
166-97104
G5326-13il-000
WS-0610002-K!I
IP-0641601-SC
167-66701
------;c16:7'7'o;-766;c;B:,;;.OO
SH-8050602.:'1"''P~..;;S*CR:c;E;7.W'"'M"'5,...,-L=""6:---
-,-~;;~O~R.KPIECE
167-66909
165-58652
166-56209
SM-6052502-TP
166
56100
SM-8051602-TP
166-52604
SH-0040601-SC
G5338-116-000
165-70855
VP-0531000-SC
\IORKPIECE
BINDER
SCREW
SCREW
SCREW
GUIDE
INSTALLATlOil
HB
L=25
H3X0.5
H4XO.
WASHER
NUT
H4
GUIDE
WASHER
SPRING
SCREW
IORKPJECE
SCREW
'JORKP!ECE
SCREW
WORKPIECE
SCRE~
PIN
0=8
WASHER
H3X0.5
GUIDE
M4XO.
GUIDE
M4XO.
GUIDE.
3/32-56 l.=5.5
GUIDE,
SCREW
SPRlllG
'J1\SHER
WASHER
LIGHT
HOLDER
LIGHT
INSTALLING
l~STAI.L
L!GIIT A ASM.
I.
!GUT
BRACKET
SCRE''
LIGHT
SCREW
COVER
SCREW
CLAHP
fiSXO.
BRACKET
H5X0.8
H4XO. 7 L=5
BOLT
LIGHT C ASH.
WASHER
H5
BASE
1.=8
H3
BOARD
PLAn:
A"1Y~~
Ji"):,t)"--\-li":;
•nyn··
~1';1}'\A"~
f>t~·
n·~t"h"*
t7~·~·*
0'1h?t'lf
4n·~~~t~·
'~'
·
(•J;on)
f;l*~·
3.
lX5.9X0.7
1t')<~
114X0.7
H3
IV>
fJI·*V'
~~~--~~~E_------~
SPRING
L=8
7
L=40
__
H3
L=6
ARM,
7 l.=l2 V'1b'Jrt.J,"!.f l
ARM,
7
L~t2
RIGHT
LEFT
6.1Xl2.2Xl.5
BASE
--~~---"",t"-'t'c·~""
ING
SHAFT
(2) <-b
8
L=25
(l)
L=16
B
BASE
~--------c,Y-;e-l"',;iCO'~-"~
LEFT
RIGHT
tV"i"1f"A"t
J\"1~;.·-
U1~'Jlt*'M
f:l1'l'
f~*~-
~'it"JJ•*
u1JJ1lt'lf
JJ"1f"t'~
r11"*
A"*'"1J"~
<~:J*V"
''"l"ff"1-&
~9"t"1f"7
f')"I'Tf"l
HG
:J!J"~<~
H4X0.7
---------.?-
3.1X5.
ta"Y I
1.
H"
L=25
M4
1~1
9XO.
7 I
WJMrt;t".H l
~Yb"
W
H"
~H9"
~~·;,·1v
H"1M7~
A"*t"b"*
tH"JJ"f
"-:li-
M
<-~-
v·~ry;;·
3/32-56 L=5.5 4
ta··,,
f:IW'
M6
<b">~~
f1J'H'"
~"
-
~H"'5..,..X0~
f'J1J-~y·n
<-~~'J'71r
H6
f 1
~---
.
..,-8
·L=6
A
"'
• 1
7"7t'IH2)
U'I~'J?t;t."
<-h 7"711H1) 2
U1:1J'71tt."~r
:i!n"- 1
r?~J1V'
)~'l'l;f;"M
:;;·,~;;·,-~~'l·?.;tC'l2<
1:7,":11"1
H 2
H5X0.8
H4XO. 7 L=6
:J:IJ·'~<.~
L=16
HS
2
1
I
4
2
2
2
4
4
1
1
1
1
l
1
1
I
1
1
1
I
1
I
1
I
2
1
I
2
4
2
2
1
4
Note
(iilta)
#0
1.
....
Gauge
part
(Refer
to
#02
#03
.....
For
.....
For l6,18.20mm
the table
8,10,12,
14mm
on
-
page
18-
38.)
.Y-
:/
illlu'l,
(38~-yO)~~.::~!l\\
8.10.12.14mm m
16.l8.20mm
m
<
t~
25
"')
Page 24

10.
PNEUMATIC
5§
!I
lk1
CO~PONENTS
{if,
6
7
REF.tlll.
1
2
:!
4
5
{)
?
8
g
_lQ_
____
11
12
13
1
·1
15
iG
17
18
IU
_;;g
21
22
23
IIOTE
I'AH
llll.
I'X-OG52010-00 !Ilk
G5433-llU-OOO
.IG7·2740G
G5•134·11G-000
JG7-2G:WU
I'J-30404Q:,~04
I'V-1305080·00
SH·G05JG02-TP
WS-0510002-Ktl
_
1.65-75803
p"-'v
_"-:l"';;-"'os"-'o'-"9~o-"""o"'o~""s~-'~>t\""v"'·soLE!Io
I'V
1305090-00
167·26200 PtiiTE
SM·G042502·TI'
WS-0·110002-Kil
.1-:10
10851
-o
r
G5·1%·! IG·/,00 S
l67·2G!Ol
1
l'.l-:J080400-0;:
I'
.I
-0
I Q
167-72-102
SM-0041002-TI'
WS-0·110002-Kll
5Q5Q_-O"-'IL......__,J!"O':'-I
8-9
IJ
E S C R I I' T I
l'kESSJif:E
CROSS
LONG
II!J>I'I.E
TEE
EI.BOII
SCRI\'J
SPRI!Ili
illllotl
3-W!\Y
.lllliH
NII'PI.E
Uti!Oil
SIJLEilillD
fl!iXO.B
W/,SIIER
SOLEIIOI!l
5-Wt.Y
SCREW
SPR
SOI.IillOIO
IHXO, 7 L=;:5
IIIli
YASillcR
Tiiif:VTiliTi\if'
SWlTCII
L=ll)
o>.lX8.5Xl.3
VALVE
1 n
'II1LVE
IIASE
A
vALvE
VAI,VE
114
c......----~~-:n'-':---n"=:::'Ct"'Y
II.EIICI\R
AIJAI'TER
lliiiCK
SOI.EIIOlll
SCREW
SI'R
CUIII'I.Illli
;::11
T';-;-;-;-~~-=-;-:-:.:::-~--
ll!G
VALVE
H-i
L=IO
WASllf\R
I>ASE
11•1
II
II
..................
1011
n'H'rH'II
~··,-).'J'T1f
U'l'!'~·n"A-
:•n"~
t-1:·~1-:l'>:io
tA.:t.'·>:D
3'.·0·fi';,:'J'·\'Iil1~·;;
ll'lb'rnt.'M
A'•i~'h'i
7':>»'~";~·-~
5:t.
3~0-l··r"~O>'l'lbt~-y
J.'JH~
nn~nr.·~·
n"¥'"b'·l
'iv~~-
1'1'7
'i/'11f9\"
l / f 1•)
i'Y~·~·y
il'J))'IYI~.·M
l!'i<rb'·i
12
I;
:;
;!
1/4"' l
H5X0.8
5.1X9.2Xl.3 4
'i'
~v·
t'J
H4XO. 7 L=25
114
"-""--
~
i I
'J
I ' 'i 2
~--:l
ll4X0.7
11•1
I.=JG
A I
n1"
·" 5
-------'2~
1.=10
AI1T.
l
2
2
I
11
2
4
G
4
8
8
4
7
1
2
2
- 19
Page 25

11.
ELECTRICITY
1i!
;<\ll!H~
COMPONENTS
II
15
16
17
18
19
13 14
REF.NO.
----------------------------~----------------------------------~------~-----~------------------
I
2
3
4
5
B
7
8
9
10
-n
12
13
14
15
16
17
18
19
20
21
NOTE
PART
164-50058
164-50801
~01
164-55503
1102
164-55602
l64c50157
Ell605-454-000
HA-0015700-0B
164-72250
164-50355
~J~64-50454
164-50553
164-50256
164-60651
HX-0022400-00
HA-0013800-0A
IIF-0018010-00
164-59059
164-55800
1103
1104
164-55909
165-67208
165-67307
110.
D E S C R I P T I 0 N t
CPU
CIRCUIT
FLAP
Sf:NSQR
PANEL
PANEl.
PAIIEL
DIP
DIP
SHEET
SHEET
CIRCUIT
SWITCH
SWITCH
NEEDLE
OUTPUT
INPUT
MOTOR
DC
HOTOR
S\/ITCIIIIIG
TERHHIAL
DRIVER
POWER
RELAY
HAGtiETIC
FUSE
lOA
NOISE
TRANSFORMER
TRAIISFORHER
SERVO
FUSE
FILTER
PACK
BOARD
AMPLIFIER
ASM.
ASH.
CONTROL
TERMINAL
BOARD
SOURCE
ASH.
POWER
COtiTACTOR
ASH.
A
B
ASH.
A
B
BOARD
ASH.
CABLE
BASE
BASE
ASH.
ASH.
ASH.
ASH.
BOARD
SOURCE
ASH.
.:i
1
"
CPU~J\·"
7717°
11°*~)-fA
11°
H:t-fB
.,~,1\o
T"'
-rri:>
t•117°7.11f
~-;·k2:>fn-~
i!l'J'i3'J~YV';"
~"?'!3'J';>V'i"1
{-';;",11\"-
DCT~YJ~y
'<-Wn-
J.-WfO>'J"
9*:!)"
l:>-:l"
J1:J."Hi,' 'J'
t"~t"/f.7:;~A
T'~)'7"Y~7YAB
~-*•
el-,.
~~
t~fJ-
H 'l'J\•:t
7..-f¥J-f
'n
f"O;'I">
H~1•
0
A
')'J
0
TY/
?~
~<
''
~-~·~
·i
7~
'J~
•A"O>
~A~~
?'
'J•
?~
AHT.
. I
2
1
I
I
4
l
I
I
1
2
1
l
I
1
I
I
1
I
1
I
Notelt1~2)~01
t02
#Oa
#04
.....
.....
•••••
.....
For
For
For
For
domestic
export
200.220.230,240.250V
380.415.440V
use
-
20-
!;jilp;jffi
IIH!lffi
zoo.zzo.zso.z4o.z5ov
aao.
415.
44ov
m
m
Page 26

SEWING
1.
FRAME & MISCELLANEOUS
filiilil .
MACHINE
7~
~
f;!J
jjf,
COMPILATIDN
COVERS
COMPONENTS
-
21
-
Page 27

REf.HO.
mm:
i PH-00·100
2
3
4
~JL
__
1\
1
8 SS-7!!l:11JJ-SI)
\l HH-00:!02 Tlli'
!{)
.-,-,--
12
13
14
1r.
·~--"I!OlltH
11
1-li
lil
-~--.A~l;ll!,I\.IJ~t.;iL_)ifEliLLI!..li.:L:Hl
21
22
23
24
IU~~oo.son
ss~711HIJO-SI'
!G~I·00tl08
..
~J:J:J9!JiJ05:!}_1_
l!fittSZ-IHl-000
SS-71!0tl\O-SI'
fll\H-Of>I·OOO
....
~-}fS:OH20:lflf-~iTiff"-~711f::Jz--
Th-\R7\fi02·k0
1A·l2fo040(H~·o
1i\-105CM4
n~J%50fio·1-~o
·i)
'01
JOJ
12F,1r----rn~nAr
ll\4~0121)0
lfH-01002
:-::-;-(lQSQJtO~~I'
JIH-Mt:OG
S5-7090G!O·SP
HH-OOUO:i
!Hl30~051-000
SS··£0U05ZO-SI.
11)1·0!400 ll!kEhtJ
HH-2:11JlH
i'A-1
1114
!:OVER
U/ISKn
SCRF.'J
T111lE
E!,MI'I ll!\lHll Ht."t::f_:, 2
...
\fNTiff!~--·-·-----
SCRE~
SCRf.V
W·:r:D!.E
~llflf!f.!!
RlH!BER
..
RO
RIH!IIFR
~IJIIUE£
liii\01\T i'l.fdE
FlX!-:11
;;nE\o' 1·11-·H
TIIREI'dl
::iCREII
'fl!Rt:tm
Fl\Ai.JP.
SCRI-:W
11
E $ C R I I' T 1 o
11/IH·<IO l,:::lS
COVER
ll!r,.J.,\0
C1JV!~~
FD\TfAS'H:
llLhl!E
l!!REi\1!
~VIi-1-40
1.~1.a
TllREAll
GUlBE
I'UIG
l'UH;;
l'U:G
r·Luu
!OHM
l.~
L-1}.3
1;11
IIJE
lt
llfH·1·40
1."!}
GUWE
II
fr:LT
GH!ll£,
l."S
GUIDE,
C
TE!l~l!lil
RASH
-----
I'Ul
1
OHH
2.5
IH!.lhU;
1'1.1\TE
..
~---
ll
t > )
.i;Uft:l<>tUI\~-
nun>)trli,._,.,,n:.-
-:~tH:I"
Y'.lHf')ll•)J".!;I''- 1
11/ro-bHI L::lfi 4
···--H;\t:G...
<-'.l:'Jb"
WJC5T1T371li-~-
...
··~·~~-~~~,'~ri1Tom~
11'!0
:11
t:Hr
····---(J(:;fTT!
·<t.-1H;..' I
<1.t'>ii-''
?kP1J~
ASM.
ll/fPbHl
W:H>"
11/(H·,tO
:).:f')-:1/flt;"-
ff/~tu.··
t;t~:;
!}.·.lfL7
0"12.!•
'I~~·--
IOHU
1/fo··H
!/LH-40
\11!.14
U/!H
10
t"!£
L:o-1
t"'2.!i
40
·-10
'n
rnn
t.lt/
tit/
u~::;
U~
H"t/'ffliHM
{1--tfH l
il-1'/tf·l:
H+t-?7'
ft1,Llr;,~~J~,~·
HJJf/?~·1:..-~·-
.
L:::IL5
1.~18
...
····-,--
·-----··---,-
L=3.S 2
- I
L=C>
L~S
..
__
MIL
....
~
2
4
l
l
I
2
2
1
(!l
(l)
(~l
I
l
1_
I
NntdfHi!Jlltll.
#til
....
..•.
Guu;:e
!Rdt•r
Sch:dhe
part
to
ttw
ll<lt'l
t<•Llc
on
rwJ;:e
:m.)
':1-Vd~,'~~
l~tl'\-it!J
.i1i!J\1W.M.
- 22 -
1H:
.:.'
~3]\'\
<
t.:
~
~\l
Page 28

2.
MAIN
~""·
~
SHAFT & THRE
•w
.
7(
!if
fl,!J
16---w
{if,
D
TAKE-UP
3
LEVER
COMPONENTS
7
8
9
51
52
I
·-40
42
-
23
-
41
34
Page 29

REF
.110.
!lUTE
PART
IIU.
D E S C R l P T I 0
II
AHT.
I l'h-1201002-AO
2 PJ-3040405-01
3 BT-04002f>l-l\A
·1
---"''-----------'~clJ
G
164-02000
\OBI
0-SI',
SIH033001-SII
7 lli4-IG505
8 JG4-0ID03 W
9 164-01804
_jJL.~~S~:flll07!0:JJ'
l1
12
13
H SH-6051202-TI'
15
n:l034-450·000
B30:lf>·450-000
H\0-01!103
1fi·1-2:lOOH
JG-~~+ss"'-'"a'SI5T550·SP
17
18
HI
20
21
22
23
24
_
25
2G
27
28
29 SS-8()80540-Sl'
:10
:n
32
;;3
34
35
:m
37
38
3D
40
41
12 G8213·1J7-0it0
43
41
45
46
47
48
411
50
51
52
5:1
RIU07-528-000
C0-2020000-00 OIL
111\lO!l-528
R0-0371801-i)O
t:O
2020000-00
111408~526~000
111210
CQ-3030000·00 0
lll20U-051-000
..
..
520·000
SS-8081650--TP
SS-7081750-TP
SS-8080730-SP
103"0!>15\1
SS-8150760-TI'
164-04204
ll1302-051-000
~1214-019,000
SS-81\81\J!>O-SI'
SS-8681650-TI'
I0:>-07050
ll1203·o12-000
SS-8151550.-SP
101-0310G Tlll!IIG
\li:JO:;
G8215·lUJ"000
SS-8110320-SP
!l8214
G8220-ll7-000
SH-0082002-TI'
WI'-0850002-SP
03213-117-000
SS.:
CU"2020000·00 Oll.
TA-0290301-IIO
512
119-000
..
llllillal<l::Sl'._SJ.;RE.ILJJ/3L....Lc_8 0
167-24809
llli'I•:R
l'LIHJW
TIIBii
WIPER
,,,,,SCRE~
SCREW
CYI.IIIDER
!PER
VII'ER
,,,,,
SCREW.li/H•HO
I.IIIK
SllAP R HIG
VIPER
SCREW
TIIRI\Afi
SCRI\V
TAKE-liP
WICK
000
TliREAil
RIIBBI'R
OIL
WICK
111\IWI.E
Ill\1\lll.li
!1.
WICK
CUUliTERWE
SCRE~Ii7:l2-28
SCREW
SCREW
SCREW
[,1~111
SCREW
Hlllll
SJ'ROCKET
SI'ROCK[(T
SCREW
SCREW
IIA!ID
HAIII
SCREU
000
SPROCKET
IIINGI\
IIINGE
SCREW
IIIIIGE
II!IIGE
SCREW
WI1SIII\R
lllllG1\
WlCK
l'l.IIG
V
VELTE,
\.YI.IllllER
1111
lOll
4XH5
HOSE,
lll.!Jii
CYLIIIDER
__
-~~'''''
11:\XO.fi
L~30
!lASE
.JO!IIT
SI!AI'l'
ARH
l,oj),,5
__
~~--biY'
1'111
SII,WT
ilf>X0,8
ARM
1.~12
Ti\KIHII'
l!i/G4-28-T;I5
!.EVER
HKE-liP
R1llG
BAR
BAR
TIIRUST
CRMIK
CRAIIK
IGHT
!.EVER
J.t:VER
ROD
Pill
f:~IG
PIA
P
IH
1\SH.
D/32-28 1.=16.5
D/:l2-28
\l/:\2-28
Slii\FT
!!>ID•l-28
SliAI'T
WllEI\1.,
R!IIG
!l/32-28
9/3:!·23
>'IIEEI,
SIIAFT
IG/61-28
~EI.T
BLOCK
!'Ill t'/)"01"'1 (2)
11/l\4-10
1\UJGK
118
8.5XJ8Xl.6
BLOCK
2.9X3.2X3
1.=7
1.=
•1.
5
l!ll~lllHG,
FRONT
1.•7.0 rnv· 15/64
IIPPI'R
L•l9
C,;i6
ASH.
BIISIIltiG,
REAR
L=\5
WHEEl.,
1,=20
!I
ASH.
!lASE
TYPE
UIWiiR
t.~
3.2
'lil\0·~'1~~·
r;t,;J:~;~;.
•)v~"*-:<
?iA0·V11/~--~-~
<~t'ii:t'
0
J'\
ii;•
~'31Y'
'ii""
'!II\'
•)'n'J'J
•)'H'l'l •l:>'lt0 :>
'/in°~01''J•l'i'
il'IIJ~ii:!.".H
4XHf>
Yi
11/G•I-•\0
H3X0.5-f:;30-~~-2~
~··•JoT'
1liG4-40
'l"'l~";.
H5X0.8
1.~8.
I.~G.5
- l
I,
A'l
1.~12
Dt";
f~'O~
fYt"~
:t)"
15/M::zt
~~{f"'"'
1.~15
'i/t";<J'IJV''l
011'/'J" 1
1';.
''''~-"
..
'n'J'lWJi I
])!).t:-
l~'J
'J'JY
f>W
~&t71'"
f:li1"
I,>YV'
__
•)'JV"'I
IH'J
0
'JJ'J'lt
0/32
'/
28
L"lU 1
9/32-28 1.•16.5 l
9/32-28
U/32-28
"<HI&
1.~7
IP1.
'n
28
1.=7
5 I
•)•n"'J
<l'U7"
117'!1
n"i17·H
H7f
~H:t•
n;~,"~'l'~-~
~'!)''!
fJtV" 15/01-28
~~~W'~"M
)!n"il'r'lf
t'/)'t"
f:!tJ"
t~v·
t")'~"l,·~·~
Wlll'JYH"H (2)
U1'b'''i
t~V'9"
-~-<~t'jt'''
~v~
!-;(ty
V~"H(IW~)
1
1~'1"
!1/32-ZX
9/32-28
1.~19
1.~16
~~
•))!l·i"r'I'J'l"
L=15
'J<
11/64-40 1.<1.2 (4)
8.5Xl8Xl.6
9/32-28_L"'-"8'---~-::--'!--
D~2.9X3.2
L=3
1
I
1
1
5 2
l
I
l
l
2
I
I
I
!~
l
0.2
I
0.3
1
1
l
1
1
2
1
I
3
2
2
l
(l)
(2)
I
1
I
(2)
(l
(2)
(I)
0.1
I
1
~
24-
Page 30

3
NEEDL!:
.
~UHffi
.
i!h
BAR
-B
F»9
FRAME
COMPONENTS
fif,
15
II~
12--<i'il
t3~
I
I
I
I
~
7 8
9
r
I
I
I
I
39
41
-
25-
Page 31

REF.
NO.
IIOTE
PART
HO.
D E S C R I P T I 0 N
AHT.
1 PA-1201002-;\0
2 PJ.-3040405-01
3 BT-0400251-EA
4 164-02000
5 SS-7110910-SP
6
SM-
4 03250 I ::;
7 164-16505
8 164-01903
9 164-01804 W
10
II
SS-6110710-TP
83034-450-000 L
12 83035-450-000
13
14
1!>
--'-'16;......---7'1
17
18
19
20
-2-1-~--··
22
23
24
25
26-·---+JI()f!4
27
28
29
30
31
32
33
34
35
·
36
37 SS-8111610-SP
104-01903
SH-6051202-TP
WS-0310002-KN
6~4:"-_'C;oG'-"4"'5~6
"-"'"---¥.-!HE'-"E~D~LE~B·:"AR~F~R
164-06506
SS-8110750-SP
164-06902
Bl·lli-051-0_Q.O
81412-051-000
SS-7090910-SP
164-0G!OO
RE-0700000-KO
IG-1
..
06704
..
0GB40c;7-~_,I,IEEDLE
G1411-ll8-AQO
CQ-2000000-00 0
SS-50D0420-SP
'<P-035051
G-SD
SS-5090610-SP
164-06605
PS-0200082-KII
164-07009
18,1-07108
SS-7090530-SP
38 SS-7!11310-SP
30
40
41
42
43
44
45
46
l64·0fi303
101
01402-116-BAO
SS-3080410-TP
HHT-190B1600
164-06803
SS-7110740-TP
WP-0480856-SP
SS·9111010-SP
47 103-13708
48
SS-7110910-TP
'J!PER
ELSO~
TUBE
WIPER
SCREW
ll
SCR
E
~
CYLINDER
VIPER
!PER
SCREW
HIK P lH
S!!AP
WIPER
SCREW
SPRING
NEEDLE
SCREW
NEEDLE
NEEDLE
I'ELT
SCREW
IIEEDLE
E-SIIAPED
IIEEDLE
OIL
VICK
!L ~ !CK
SCRE'I
IJASilER
SCREW
IIEEDLE
SPRIIlG
FELT
RETAINER
SCREV
SCREY.
SCREV
NEEDLE
NEEDLE
SCREW
liEEDLr:
STOPPER
SCREW
HAG!lET
SGRE~
WALKHIG
SCREW
CYLitiDER
UlllOH
HOSE,
CYLIIIDER
M3
4XM5
BLUE
BASE
Xil'".'s
'L-,="'25~~
-----·
JOitlT
SIIAFT
ll/64-40
ARM
L=
6.5
.....
Rl!IG
SHAFT
H5X0,8 L"12
11/04-40
9/84-40
ARM
WASHER
BAR
BAR
BAR
BAR
BAR
BAR
A:+H'i!E-A:---=ASH.
SHAFT
COtHH:CTlG!I
.
GUIDE
SIIAP
FRAliE
FRA!lf
H3
L"
L=
Rl!lG
BASE
6.5
8.5
(711M)
SHAFT
A
A
HOLDER
9/64-40
3.
9/64·40
BAR
L=3. 5 f'i:<*v· D/64-40
5X6X0.,.5'---;;-~~~
-~""7t·,_;~,-~·
L"6
GUIDE
PLATE
'Hn°-)'I:J''
rM,'":t;;
o~t;;a-J
?1A0-V'J~~*-g"{
"~~11V'
t
~.
:1
<
v·~·(;Jf
ry.o,•-Y'Wi'
0
?1A
~11v•
??t?•J
1
1'H'l
J
0
'J1!o
-i>''J1r
U'lb'JJ'1j;",t~
o"H".b"i<
3?
f.~~-
AIJJ."~'J"'J~"·I
f),)"
"'It"•) (1)
NJ;t"·';·~
A'J;t,•
vlt,t'J"
A').~·onti
E!J':tfPJ
Nlt.'lol?r·'l~"i1''1
31Jf''?~c:(
>~~HI
2~~
f7:<*,;• 9/64-40
M*'?r~N1'J.
Pill :o'•J:>'J•eoo
:J~f
">l~'·i71,',f
'l'lr'H"11XHHl
9/84-40
11/64-40
11/54-40
BAR
CLAMP
1/8-44
PLATE
11/64-40
BASE
ll/64:;jo L=9.5
BAR
11/64-40
L-
L=!5.5
l.=l2.8
FRAHE
ASH.
L-3.5
SPRING
GUIDE
L=
4.5
RUBBER
!OMM
L=7
WASHER
8.5
<lkJ~~·
f~*'-'"
"4t7i<Y"
3>)f">)j"11n"-
ll~f"j
fJi<Y
)IIJ
HTX190
31r.?1'·ifJH,'
<ht7i<;;"
t'Wt'*
..
_..
--'u'"'•J!J~i;r.·~;
~?t'J'J~,·-
~~t7*v'
1
4XH5
11
1
1
I
11/64-40 L=S.5 2
v·
H3X
0 . 5 L
;:z;:s
"-'-"'-----,z"".-
1
I
I
11/64-40
1
1~?~
'))'!<:~;
1 A
11/64-40
?"~
D/64-40 L=8.5
7
f,
* 3.
L=6.5 I
~
r;l'J 2
l
H5X0.8 L•12 I
3.1X5.9X0.7 2
'J
7Hf
~
A
L=6.5
----"'i(ir
I
(!)
(1)
(ll
12)
(!)
(ll
(!)
0 i
(l)
( 1 i
l"3.
5X6XO.
5
5 ( 1 )
L=6
(I)
(4)
(I)
(!)
(!)
l
(])
9/64-40
Jl/64-40
Jl/64-40
10•1
L~l5.5
,.
L~4.5
L=l2.3 2
(lJ
(!)
I
1
fiil"--4.-14'\-,L=,.,3c-.r-5---~~2")-
iilG 2
11/64·40
4.8X3.4X0.8 2
L=7
11/64-40,¥-l.=~9,....~5--'l"-
:11·1;·
11/64·40 L=8.5 2
1
I
I
Note (i!nt!l #01.
....
Gauge
{Refer to the
part
table
on
page 39.)
.Y-
{39~-"0)'Jli:l,j:
- 26 -
::J
llf\J'u
i:'~Jl\l.
<
t!.
<'!
"\)
Page 32

. E
4
. J:
NEEDL
THREAD
'
~-,!;l)
IJ
ll!J
~'
TRIMMER
f,¥,
35
COMPONENTS
34
32
36
39
- 27 -
Page 33

REF.IIO.
IIOTE
PART
110.
D E S C R I P T I 0
II
AHT.
1
2
3
PA-1501002-i\0
SH-4050801-SC
164-00807
4 164-09302
5 164-09203
6
7
8
SS-8151150
164-09401
SS-6121010-SP
9 164-09906
10
II
12
13
14
15
16
17
18
19
20
21
22
23
24
25
26
27
28
29
30
31
32
33
34
35
36
37
38
30
40
164-10003
SS-6080810-SP
164-09708
»01
164-09500
»01
164-10508
»01
164-11001
»02
164-10607
»02
164-10706
»02
164-10805
1102
164-10904
164-10201
164-10300
164-09609
164-10102
SS-7091410-SP
SS
-6080•11
SS
Tt\-0550604-RO
164-16703
SS-7110910-SP
IIS-6150310-SP
SS-6153040-SP
164-16604
SH-6056052-TP
PA-2002003-AO
SH-6053002-TP
164-16505
164-16406
RE-0500000-KO
164-17107
SS-6121210-SP
9090640-SP
TP
0-SP
NEEDLE
SCREV
CYL
THREAD
H5XO.S
IIIDER
CYLINDER
NEEDLE
SCREW
WASHER
SCREU
NEEDLE
THREAD
15/64-28 L=I0.5
PLATE
3/I6-28
THREAD
CYLINDER
SCREV
I/8
PIll
IIEEDLE
IIEEDLE
UPPER
SPACER
SPACER
SPACER
SPACER
NEEDLE
NEEDLE
IIEEDI.E
NEEDI.E
SCREW
SCREV
SCREW
RUBBER
CYLINDER
SCRE'J
NUT
SCREW
CYLIIIDER
SCREW
KNIFE
SCREU
CYLINDER
.JO
E-R
KNIFE
SCREW
THREAD
THREAD
TIIRE;\D
0.2
0.
0.6
0.3
THREAD
THREAD
THREAD
THREAD
D/64-40
!/8-44
9/64-40 l.-6
PLUG
15/6•1-28
15/84-28
H5
CHANGING
H5X0.8
lilT
PIll
IIIG
CIIAJIGIJIG
3/16-28
COVER
BRACKET
L=60
JO
L=B
Pl.i\TE
BASE
JO
lilT
44
TR
·I
L=30
HIT
TRIHHIHG
KIIIFE
BASE
L=IO
COUNTER
L=
KNIFE
KIIIFE
IHHER
CLAMP
CLAMP
KIIIFE
CLAMP
KNIFE
8.0
A
B
KIIIFE
PLATE
SPRING
GUIDE
BASE
L=13.5
L=4
L-30
CYLINDER
LINK
L-12
CYL.
A
C
<)l)-{~~J)')l)Yj"
t~·J~~"
9~4ft~)l~Y)~"-1,
991f'Y~Y),"-f"'"1
9'Jif,IJ):WT'1
fJtV"
~·J>~
t,,,.
~'J.i
~?1f,~J~~y),"-~"!.j)f
t,,,.
9'Jif~'J)'~-~
~'J.if1
~~4f-1'JJ1
~'J1f''UlC
~~1f,~ill~·-t-0.2
9?1ft~J'"'"-r-0.4
~?ift~ill~"-9-0.6
~?ift~)l,~"-f-0.8
9'71f'h>7" i'.l
1?1f-1h~7"
~?1f111
TJ?
~~t~~~·
t~~)·
U71J'l*''f 9/64-40
fJt)
;ll,I)JJI!JJ\"-
~~l1~)¥
U71J,t7f 15/64-28
t?tV" 15/64-23
~IJ)>"-)"?'f"Jf
w111
:llt'lhl)'J>Y
D'71J,7tt" H
~"31~!
)'''l()ft">
E!J"Hi'J 5
9?:1JA1!M1!>'J
t't)"
H5X0.3
15/64-28 L=l0.5
'-f
..
,'
1~'1)\'
3/16-28
f'
i):J'r.i)~
1/8-44
1
J:IAA
B
!1''1
)l!J"
H'h~7)
if.
/·
..
~-·
9/64-40 L=l3.5
J/8-4<1
11/64-40
" n · .H
3/18-23
L=8
A
L=IO
I.-8
t
1.=4
L-30
L=9
L-6
L=8.S
2
2
4
I
1
2
1
.-,
L
2
1
1
1
1
I
I
I
I
I
I
1
I
I
Note (iHc)
#0
l.
~02
.....
....
(Refer
Gauge
part
to
Selective
the
part
table
on
page
39.)
7-V$o0o
(39~-i'O)~;(j:
ill
IR
llfl
o'l.
c:·~?.(l
<
t!.
2;
V\)
-
28-
Page 34

5.
HOOK & HOOK
1£
· T
filir.!l
DRIVING
t;
SHAFT
COMPONENTS
I
I
27-.........l
1tliiliJ141i
-
29-
51
Page 35

REF.MO.
l!OTE
D E S C R I P T l 0 H
AHT.
1 Bl80!·515-000·A
2
3 81816·512-0AO
81802-512-0AB
4 SS-8600810-TP
5 101-12357
6 81813-512-000
7
SS-7110840-SP
3 81804-512-000
9
10
11
12
13
14
15
16
SS-8150710-SP
SS-8151150-SP
«01
G1864-l19
SS-8860530-TP
SS-8152030-SP
SS-6090810-SP
WP-0371016-SIJ
-104-20705
AOO
17 164-20804
18
19 liS-6110430-SP
20
~27-1
---~1
22
23
24
25
164-20903
101-09\)08
Oo;-1~-"Cl
~2
4~0*7--~S~AO~D:i'L\CE
164-21505
SS-5111810-SP
SS-6153012-TP
G1861-119-000
2~6---"---!'G'+1!!'86HO:C'-~11!-!9C:-~At,~,oc__~H~O~OK~S"AD=oLE
27
28
29
30
31(------S~S-i-S~I"flo*'4f'fl*o~-;T:;;,P-~SC~R:%Ei\i
32
33
34
3;;;5;----
36 CQ-2020000-00
37
38
39
40
41
~4t2------~1~64~-~2fi8~0~2~~-~B*os~B~I*ll~~~~~~~~~.---~t.+.t;"~;
43
44
45
70
46;--"'»0"'2---;1~6+-4~21208
47
48
49
50
51
52
53
54
__,5,.5
---'~"'Q"-l__c1,.01L·:QJC97u,O<JLO
SS-6081210-TP
Gl815-119-000
SH-5082002-SP
WP-0850002-SP
HOI
BISJS-051-000
G1815-119-000
\64-20606
8182
I -051-000
16-1-21752
164-22057
G183
I -116-00B
040-00001380
040-00000591
SH-6040802-SP
WP-0450000-SD
164-21109
102 164-21307
tt02
164-21406
tt02
164-21901
164-216.!L:L_
Gl860-ll9-BAO
SS-9660720-SP
SS-7110510-SP
G1862-119-000
____
HOOK
DR!Vlllu
BUSHING
HOOK
SCRE~
BUSIIJHG
HOOK
SCREW
THRUST
SCREW
SCREW
!lOOK
SCREY
SCREW
SCREW
'lASHER
BOBBIN
CRAI!K
OPEHHIG
IIUT
SADDLE
IIODK
SCREW
SCREW
GASKET
SCREW
HOOK
SCREW
WASHER
THRUST
!lOOK
BOBB
CRANK
OIL
VERTJC,\L-AXIS
BGBB
TEllS
TEHS
TEllS
SCREW
WASHER
NIPPER
!liPPER
NIPPER
HIPPER
!liPPER
HOOK
HOOK
SCREY
SCREV
OIL
'TlJI)J)JIRUST
ASH
.•
DR!VltiG
1/4-40
ASM.
DRIVING
11/64-40 L=7.8
COLLAR
15/64-28
15/64-28 L=l0.5
SHAFT
GEAR
1/4-40
15/64-28
9/64-40
3.
7X8XJ
CASE
PIN
LRVER
11/04-40
INSTALLING
~l~H~S
fALL
SHAFT
SADDLE,
11/64-40 L=l6
15/64-28
9/64-40
SH1\fT
SHAFT
II!
WICK
Ill
ION
1011
iO!I
SHAFT
SADDLE
GAUGE
LO'JER
H8
L=20
8.5X1SX!.B
I 1/64-40
'JASIIER
UPPER
CASE
SCRE~
CASE
SPR
I!IG
SPR
IIIG
SPR
!HG
H4XO. 7 LoS
4.
5X8XO.
SPRING,
SPRING,-tEFT 8,!0HH .
SPRING.
SPRING,
SPRING,
SADDLE,
1/4-40
11/64-40
WASHER,
SHAFT
FROHT
Slli\FT
L=8
!liTER
SHAFT
L=7
L=
4.5
L=20
L=
7.5
OPENING
CRANK
BLOCK.
UlG
BLOCK , LO
COVER
ASH.,
L=\2
BIJSIIING
L=
3.75
BIJSIIrtiG
OPEillllG
STUD
IIOOK
ASH.
SET
ADJUST
5
R!GIIT
LSFT
LEFT
LEFT
COVER
ASH.,
L=7
L=5
A
GEAR
ASH.
NED
lATE
BEAR!liG
LEVER
IJPPER
LEFT
LEPT
___
LEVER
ASH.
SCREW
lNG
SCRE'<
12.14NN
16,
18HH
20.22HH
RIGHT
RIGHT
II
ER
---+,;7f*y
LIHK
W'J.,
,,,.,
)2)"'1
fJ~v·
)J)"?t"il:IJI,
'''"';
•1,t7~?-
)\<)"7 :<'llf•l'f 1
f>*y"
M9"'J'i9"n'J"~><
''*'"
t?,Y'
t:71"il"* 3.
ttt"<!Yti
tiJIJ"<nH~t·V'J
t~iJ"<l'C~t1?r"
Wlil?t'lr
il<~''J~·ifJ
~<~"
i<)"'JJ."1
t7t'"
U~il'Jrt~·~,;
"il~)·n· i ,•,~:;
i·W'>;;.·',·n
t?~V
i<Y?''"'~
ll'IJi,Yr:t,' H
t•wn·*
*).n'J·H
JH~"71?J!J.~
tJib"<Y:tH'J:t'J 2
t:!l~"<
:t)C/
?.1'1:11''~
:t,"t'Y~-~
13-)~
/t~
7t
U'1M7tt"M
t?t·~·i<.
1>111U>'A'1
1r,lJ\t)n··*
1f7i~t,••t
1f'lt<Hn"1
·n7~HOIA"1
~,;,•;)'·!
b<)·'J~"17~
n1~7t•kr
~~t?*~-
~~~·?tf!,r·-~·
M~"?'J?J~k
•IJ2A
'l?"n1"~"
l/4-40
~-l''J'J?"
•PW
15/64-28
15/64-28
J/4-40 L=4.5
HH"
15/64-28
9/64-40
,.
n 2
L=8
''
11/64-40 L=7.8 1
L=7
L=10.5
L=20
L=7.5
7X8X1
(4)
(2)
(6)
2
l
1
1
1
1
2
2
2
2
11/64-40 2
'J'J.
'li
1f
>
~'I.
t,..
11/64-40
9/64-40
8.5X18Xl.B 2
ll/6·1-40
;<nH~
7Yt1
'J~
L=l6
15/64-28 2
t>"'J
'J<
L=12
H8
L=20
L=':'>3i-'.75-
'J1!1'Jt"
:t
2
2
l
2
2
1
20
2
2
4
4
2
2
0.1
2
(2)
"*
"1
r>H"
A"
i<
f3-t'l~~·
7
(Y~~~<7l~---------··~
H4XO.
7 L=ll 2
4,
5X8XO.
5 2
H'
(2)
(2)
(2)
1
tJ"""'I,--.,8',1"'0----!1~
tt·~
12,14 1
tt*>J 16.18 1
t).'J
20,22 1
H'
n•
1/4-40
ll/64-40
;t>;;tH\<
H I
L=7
L=
5 I
A l
1
l
2
Note(f3t~2l#Ol
#02
•....
Selective
..
,.,Gauge
(Refec to the
part
part
table
-
on
page
30
-
39.)
ilHR
-:r-:.;·$66
rss~-1V'l£<1:c~ft/;\
llil.fu
<
t:!.2!
v'i
Page 36

S.
UPPER
_l
,.J.
:J.
KNIF
!l<"
,~
<ll'f<
E
COMPONENTS
31
45
44
-
31
-
Page 37

REfi.IIO.
NOTE
PART
110.
D E S C R l P T I 0 H
AHT.
1 164-17602
2 164-15309
3 164-17503
4 SH-6061602-TP
5 0
14
57-055-
BOO
---5lif56-055-ll00
7
8
9
10
II
12
13
14
15 SS-8110520-TP
16
17
18
19 164-15903
20
~21'------~
22
23
24
27
28 164-15507
29 SS-6090910-SP
30
31
32
33 SS-5110810-SP
34
35~~~~1*6r4-~1*5~80~4~~~K~N~JF~Ec..~~G~U~HT~l~II~G~B~A~S~~;~D~~~~~~IJ+.ry;<~;!~"~~·~?~~j-·~~~D~~~~~~I~
38
37
38 SS-7110910-SP
39 SS-6080810-SP
40 SS-8151150-SP
41
42
43
44
.;.45,___
-
4 6 ---164-
47
48
49
164-17909
Bl702-012-000
01457-055-BOO
IIS-6110530-SP
01450-055-BAO
SS-lHl60340-SP
81213-012-000
164-1"1404
164-16208
SS-5110710-SP
164-17701
164-17800
~--·ss=-7151J2o-srn--si'ic'"R*r:wiT-"'i-1sf;T.l6'4
164-17305
164-15200
111659-484-000
164-HlOOO
lM-15002
164-15101
164-17206
164-15606
IB4-J6J09
164-15705
CS-1111019-SII
SS-8fi00340-SP
164-15408
104-18802
SH-·6030802-TP
16
307
SH-4860501-SC
WP-0280500-SC
CQ-:l030000-00
KNIPE
BUSII!IIG
KNIPE
SCREW
VASIIER
ORIVIHG
DRIVING
H6
L=16
mcr...-~~~~~~~~----,v~Yci~T..·J~c,'"-;;'l,.)c,'"'y*"'f
ll!IfGrscREY
KH!FE
DR!V!IIG
OIL
FELT
WASiif.R
IIIIT
11/64-40
TOP
fliED
CAH
SCREV
PILT
UPPER
SCREV
ll!NGE
SCREW
UPPER
JIIHGE
UPPER
UPPER
LIIIK
SJ.lDE
KNIFE
KI!JFE
SCREW
KIIIFF.
1/4-40
RITAINER
KNIFE
11/64-40
SCREW
11/64-40
KNIFE
SCREU
KIIJFE
K10FE
PIN
JILOCK
BAR
BAR
9/64-40
CI!AIIG1HG
IUS111HG
KI11FE
SCREW
KIIIFE
UPPER
Kt!!FE
SCREW
SCREW
SCREW
KN
HOIIHTII!G
11/64-40
MOUWfiiiG
KNIFE
HOIH!TliiG
TIIRIIST
15/84-28
SCRF.V
BIJSII!l!G
KNIFE
SCREW
SCREV
IF
E
COVER
covER
II
J/8-44
CUI.I.AR
1/4-40
2.6
WASIIER
OIL
VlCK
SIIAFT
CRANK
ROD
ASH.
1.=
2.5
l.!HK
A
l.=
4.5
L=7
l.lllK B
A
LINK
D
-"'z"'s""I".-"1'1--~~~~___,""'•:-;::t.;c>;;;t):,;.-T,I
LINK
C
CLAMP
1.=9
SIIAFT
BASE
A 9'J:IAf'J1'rl<"-i A l
1.=8
BASE
I IJ?i;!t
BASE
C 'J'J::I;!f'J'H-"1 C l
L~
8.0
L~1D.5
D-11.11
L=
2.5
V-10---~---i'l:it·ol
BASE
--~~~~~-----'~0-';t;o'J;-i:n
X 5
~9;1~'Jf'~~·'l
~9t?•J~'H~,~o
09;11'11'0~f·
U1t?nr,·~.r
~c,·
':o:TJ
'.obc.."c..'f
09t?•J
~9:1A'II"On11
JIM
vY~1V"'?
n'Jt?t'll
>l9H•JM,
l:it)"
71••
o?~A'i~?
Hi<V
o)?:IX'i~?H'Yt~·
f'jTj<~"
'J~:!X')~'!
o)9:lx1J~~'I-Yt-Y
o?>x•J~'J
n11'~
l!''yj<y
11/64-40
'I~
J/4-40
y'f~'
1.=2.5
tii
A l
11/64-40
I
1/04-40
B 1
A 1
D 1
5'"'7"64:.-:-'"2"8'L-=-r1
<l'J:IX'Jy'J
'J?:IX')Y'lt
7~
t'i~·JJ·
:<x~·..,
C 1
0
~
·i'J'J
JJ'n'< I
~~-T1
~-:b"l<
L~4.5
L=7
'I
:I:<;J;''J'I•i-
t'i1Y
HjJ!)"~
i-9il'"'~-~
•7;~¥;;>"
9/64-40
11/64-40
1
l'iH"-i
l=9
L=8
B 1
o'n;!
Ht'iiV'
U?'"
l~t''
l>i'~"
'!')JXW'
ll/64-40
1/8-14
15/84-28
D=ll.ll
J/4-40
1
1~·
?J~~
1.~8.5
1.~8
1.~10.5
V=IO
L~2.5
1
2
1
1
_
I
1
I
1
1
·-····~-
(2)
l
1
l
1
~
-~-
I
J
l
I
1
2
2
I
l
1
l
I
2
1
Jxtn"-f"'"-1 I
U'Jb7Yt;li"M
.:,c_-"'-'""-""'-'""-""-"~~~tl
t~":;W'
t7~"b"1
>~y
113X0.5
H2.6
:Jb"';<~
J.z8 2
1.~5
112.5
0.
-
2
2
l
-
32-
Page 38

1.
BOBBIN
l'"
*'
--:J
THREAD
i!'
h-
lk1
{l{,
CLIP
CO~PONENTS
Rl\1'.1!0.
2 G5701-110·000
:J
4 104-13502
_5__
IIIJTE
1 Gf,fifill-IJG-000
1'1\RT
110.
SS-7150940-SI'
05707-1 1\l-000
IJOJillltl
KlllfE
StREW
CYLIHDER
CYI.IHIJER
TIIREI\IJ
IIOIIHT!IIG
15/1!4-21: L=ll <J!,t'JW'
U E S C H I P T l 0 H
!lASE
JllliiT
G 83034-150·000 t.Tfikrftt .
7 B3035-150-000
8 G5702-li9-000
\l
10
--'-1"-1
----l"(f,j~
12
13
14
15
Hi
17
18 SS-7150910-SP
19 IIP-O!l21026-SP
20
21
22
23 BT-0600400-l\C
24
25
---f'2-g_6
---EA-9502B05~00
27
28
S0-0640902-TP
05708-119-000 JOlllT
13103
WP-0450000-SO
SS-7110710-SP
65710-119-000
SS-3110410-TI'
Qf,70•l
ll3035-•150-000
PA-1001502-AO
119-000
u!ili80-1 Hl-000
PJ-0320525-0l
BT-0600400-EB
Gr:S-12153000
02611-555-BOO-A
SS-7110710-SP
SHAP
R IIIli 'l'HW
KNIF~
IIHIGI~
K!lllcffTii{i~:~S.~Sid,R.!!I~l~!.,;Sl,!li
W!',SIIER
SCRE~
KNIFE
SCREW
I'
SIIAI'
SCREW
IIASIIER
AIR
U!IJVERSAL
!lOSE
TlJBI~
TUBE
OIL
CORU
CAll
SCREW
SUPPORTING
SCRI'W
COIII!ECTHlG
11/64-40
!.INK
11/H4-40
Ill
RIIIG
15/04-23
CYLJHilER
lllf'PLE
IIOSf.,
IIOSI\,
WICK
PRESSER
I.E
!!OLDER
11/04-40
4.5XBX0.5
~RM,
H.2X9.5XI
1\LHU\J
llLACK
IIOLDI'R
HII'I'ER
BASli
B
L=
ASI1.
BLUE
3-POLE
AI1T.
BAR
-----~)tAOI'I~~·v·;,
BASE
Pl.liTE
~"-------~!IC-;:i:i~HI~"
L=7
LEFT
3.!i
L=\1
(220/240V)
L~7
OI~·WI"iJ~:t.·-
1
"nU
1'1H')··r
15/64-23
1H\i-IJ'J~'I·(
L=9
II
m
?0ii~'l
''ljJ9)''1"1
'J'y~y·
9·~·/YtltY'r'N\1
t'1~·:JJ·~
1~t11!1"
,,~~,.,,.,.
>;11,.
il,;!~t"Y
~?H')
1~\:'ifil•
t>~"JJ'•i
J;~·n~'l'J~,·
>c.J\·-t~H~
;J;-;!C-'17"
~lt~OI;Jd
•)!t~y;t,-~
'l~tyA"~f·
'r-7·~'7
'r-7'
~A-~7101"
tJ~'Jt":,.
1
1~'.11::":<
0=6.35
llf64-40
'l~'l.:
fi9
11=9
1
4.5X8X0.5
ll/64-40
t,·~
L=3.5
0
Y
f;!'J
15/64-28
L=7
L=U
B.2XU.5XI
~
l't
'u
A
1
)'1"1"
~
U1Jt'l"
11/64-40
L=7
2
1
2
1
J
2
4
I
l
l
2
2
2
1
2
2
2
2
2
1
1
2
0.9
0.8
I
1
1
2
-
33-
Page 39

8.
BELT
«
!t..
1--
COVER & BOBBIN
tJ
;~
- •
i'!dH,:J
WINDER
1*-
4
56
7
~J,
I .
~~-
Cl
\
UNIT
3
J,
I
I
I
I
I
I
I
I
I
I
I
I
I
I
I
I
I
I
I
I
I
I
I
I
I
I
I
I
I
'~-
9
REF.tiO.
l l61-27ll08
2 SS-7110710-SI'
3
4 101-28007
5 WP-0621016-SD
-:6~~---;>;:SS~7>f15~0:-;;7~40;;--_-;s~r~-;:-SC~R~E~W"--';l';c5'7,/6~4~28!c--.Lcc=?,...---------':~-7~t"!-:·7,C¥':;:9'T5764:2iiT;7
7 100-39105
8 SH-4050801-SC
9 164·27551
10
11
12
13
14
15
16
17
18
Ul SS-8110510·-SP
20
21
22
23
24
~2;;t.5
26
27
28
29
30
NOTE
----:;11~32~.2:')A"'-71c!7~l_,:·O"l0~0~-1;C'!-OI~.L;-!l~"'-R
l'~RT
110.
IIEI.T
COVE~
SCREW
SS·7ll05IO-:W
SCR"W
BELT
COVER
VASIIER
BEI.T
COVER
SCREW
8088111
83125·0!2-000
B3129-0l2-ROO n:tiS lOti
B312B-012-000
SS-7110840-SP
VP-0501016-SC
83223-012-0AO
164-27100
G3213-116-000
164-27800
B3229-012-00Q
SS-7110410 Sl'
B3228-012·000
G:\212-l!G-OJIO
83210··771-000
SD-0490261-SP
I02-32ll!i0
SS-7081310··Stl
164-27GOI
lJP-0531001-SC
THREAD
TEllS
lOll ll!SC
SCREW
WASIIER
TIIREAD
BOBB
Ill W
TIIREAO
BOBBIU
SCRI'W
BRAKE
SCREW
RUBBER
TIIRF.AP
BORiiiH
ll!HGE
BOBB!ll
SCREW
llOlllllll
WASHER
DI\SCRII'TIOII
!'LATE
ll/M-10
li/G4-•10
1."7
1.~5
6.2XI3XI
SUPPORT
H5X0.8
1.=8
WIIIDER
TEllS
1011
SI'R
Hlti B
11/04-40 L=7.8
f>Xl0.5Xl
TE!lSJOU
11101\R
STUll
ASH.
STIJO
!lilT
BRACKET
BASI'
;------iFiOJ-~
ASH.
fiii!OE
WINDER
11/f>·I·•IO
CI.AHI'
11/ti<l
BRAKE
VlliOI'R
SET
="""-,;---;---;;-;.,...:;;--,;-~~~~-';·l'ff-'-'<~~~7·
SCREW
WHEEL
1.=5
40
L=•l
SIIAFT
Sf'R11Hi
ll=4.D 11-2.6
ASH.
PRESSER
1/8·<14
WIIIDER
1.=12.5
BR~CKET
~"Hilll"··n
<~k!W'
·<~t77V
·\"M~I\~-
tH··~·t
~"~fM~--
t'I•:JtOI" H5X0.8
·lfWI<ll
Hi'H'
·IH'l-l>~n
~~t7*~"
t'i~':IJ"'1
W<t
WH~"'I
ll/64·•10
li/M-40
6.2Xl3X1 1
~fl-
1.~1
L~
1.=8
n I
t'Ji· (2)
A'*
ll (2)
11/64-40 1.=7.8
5Xl0.5X1 (2)
ili'l·l't.'-7'1
'H (2)
IHHfY:>tl
·H"H~·~·1
Ull''
tif"'-~"'A.J·
<H7H"'
11/M-40
HIIJ<
11/M-40
1.=5
1>·4·
en·-,·JH
wn~·~
;J.'l:':>
~·v1v•
*'t'~
<~t'i1;;"
IH'\11
t'W~·-,
?<
f;lfl'~
'I
t7
·
ii~4.9
'191
11=2.G
1/8·44
<h"H~
l.ol2.5
115
AHT.
5 5
(•1)
(<!)
(I)
(I)
(I)
(1)
.........
HL
(1)
(I)
(1)
(I)
(I
(I)
(I)
(!)
(I)
l
l
1
1
I
2
)
2
-
34-
Page 40

9.
LUBRICATION
*fl
itll
f;!JL.¥,
COMPONENTS
-
35
-
Page 41

REF
.110.
IIOTIC
D E S C R I P T I 0 H
AMT.
1 lt\1"25902
2 lG4-27007
:1
4 I
5 1!14-26207
6
ll:\541-012"000
64
"26504 0
164-2630tl~~~J1*1'l"'.1'"'
7 1()4-26000 Oll.
8
IG4"2GG03
9 SS-8111610-SI'
0~~~-¥-;IIS'.-"G
l
ll
12
13
J4
15
16
17
18
19
20
21
22
23
24
25
~26
27
28
29
30
31
32
33
34
110420-SP
SS-7110840-Sl'
SS-7110410-SP
U2Gll-555-BOO
SS-6090030-SP
SS~.~O\l0820-TP
164-26405 0
GES-12153000
llT-0400251-F.C
ll:i!i29-22G-000
CU-2000000-00 0
104-26751
Jl351l8-771-000 0
SQ-1110401-MZ
R3513-512-000
SS-8150410-SP
Bl807 512-00B
SS-8150710-SP
SS-7110720-SP
Jl351l-512-000
BP-4000000-00
IG4-2iiT08~-·-
Bl214-038-000
164-26801
164-26900
011.
TJIIIK
011.
GAIIGI\
011.
VICK
II.
AD.JUST
RllllllER
TAHK
OIL
TAIIK
SCREW
IIUT
11/1\4-40 U'lil'll'Jf
SCREW
ScREV
CAl\1.1\
SCREW
S!;REV
II.
AHJUSTII!G
OIL
WICK
TUBE
011.
FELT
11
•.
WICK
011.
RETURN
II.
RETURN
CG!IJIECT!NG
I.IJBRICATHIG
SCREW
I1USJJJ!IG,
SCREW
SCREW
I'LUJIGER
VIIIYI.
PI.IJIIGJ·:R
I'LUJIGER
011.
RESI\RVOIR
!IIG
BASE
"'---~~-
GASKET
CUVl£R
11/G4-40 L=lfi.5
11/G4-40 1."7.8
11/G4-40
IIOI.DER
U/04-40
9/M-40
L=4
L~6
1.=8.
P!!!
HOLDER
IIOSIL
YEI.J.O\.!
PRESSER
I'EI.T
ASH.
TilliE
SCREW
OIL
f'Uf!l'
15/111-28
t.~1
ltiTERHliOIATE
15/f\<1-28
li/G4-40
1.~1
1.=7
PRr:SSER
TUBE,
SPR
WIIJTE
D=4
·'-'-"--""::L.--~~-7,.,.1°-'i'J'l·v-
HIG
···---~-,,b•)f'l•)~:,tl~-----
SIIAFT
B
-~~,±~C:''l."'7:-t~~~~
COCK
~t'J:t~:;~
~·iH~",;'
b'J'l:t"
·~l>):t'IO<'rJ9:
'~'J
''l•J•H•J~t·J'I~
:PU?H'Jt1J~/,
·~2•):t~:;?n"'l~;;
r~1:.>'
I 1
1!164"40
L=\5.5
0.8
---~-·
11/64-40
~~~"~:;·
<il<t::7i':)'
'l-1'~
t'it-~'
<Wi*~·
~'Hl91not1:.>·~
'l'lt;,n•yf•
'lv]Y*-~
h"'l>-
1)"
~0<1J:t-JJM
~y>).t-
·fFrvO<r'J.·l>• 2
~>->*"~7"Y7
HtY
ll/64-40
11/64-40
L=7.8 2
1.=
fJht';·
U/M-40
9/1)4-40
L"il
1.=8
A 1
·~
'IIHHI
n 1
0
A
1'1°
15/61"28
L=4
4 2
\).(;
(1)
B-----·--1-
H'lv·
"~t'H'"
15/64-28
11/64-40
1.=7
L=7
7''i;;v•v-H1
c·::-~
'I
n·n"<
M:t:J~~
0
7'J"·v-
n"17"
Hln't
1
J 1
0.6
I
1
1
I
I
l
l
2
4
2
1
1
I
l
2
1
l
1
1
l
I
- 36 -
Page 42

10.
THREAD
*'
REV.
STAND
1!0.
NOTE
UNIT
PART
110.
--16
------------------~
D E S C R I P T I 0 H
----------------1
I
32
I
I
I
I
I
I
I
I
I
I
I
I
I
I
I
I
I
I
I
I
I
I
I
I
I
I
I
I
I
I
I
I
I
I
•
AMT.
1
2
3
4
5
G
7
8
9
10
II
12
13
14
15
10
17
18
19
20
21
22
23
24
__2L
26
27
28
29
_30
31
32
B3301·70.J-Oh0
B3311-704·000
B3317-704-000
63306·704-000
63307·701-QOQ
63308-704-000
VP-1702600-SO
B3313-704-000-A
B3305-704-000-A
SM-6041410-SC
Jl
H-6040000-Sil
SH-Il052700-SC
IIM-5050000-SC
83309-704-000
B3311-804-000
SS-7110540-SP
B3301-704-000-A
B3301-704-000-A
B3312-012-000
~3307-804-000
B3311·012-000
33303-704-000
SH-9050813-SE
~S-0521010-KII
MI'-Q52Qfi5!l-SA
WP-0560860-SE
VS-0521010-KN
HS-6120310-SP
63302-704-000
SH-9061080-SE
WS
1643202-KR
MA0-11532000
TIIRIIAD
SPOOL
HUT
Til
READ
TIIR
TIIREAil
VASIIER
SPOOL
SPOOL
SCREV
NUT
SCREW
HUT
TllREAO
LOWER
...
SCREW
TIIRF.AD
SPOOL
SPOOl.
SPOOL
SPOOl.
SPOOL
SCREV
SPR!HG
VASJllill._li_._2X9.
VASIIER
SPRlllG
NUT
SPOOL
SCREW
SPRING
STAPLE
STAIID
REST
ROD
Cl5
GUIDE
EAILll!WlL
GUIDE
17X30X2.6
REST
ROD,
REST
ROO
H4X0.7
114
H5
1.=27
H5
GUIDE
TIIREAD
11/64-40
GUIDE
REST
ROD,
RETAIIIER
r !tl _
REST
CUSIIIOII
REST
H5X0.8
VASIIER
5.6Xl2X0.8
VASIIER
3/16-28
REST
BRACKET
MO
1.=10
VASIIER
ASM.
RUBBER
STOPPER
B
UPPER
JOIIIT
1.=14
ARH
GU
IllE
L=5
ARM
HOLDER
LOWER
L=8
5.2X8.2XI
5llQ
•
fi
5.2X8.2Xl
CAP
PLATE
1fH1-t
if~H·-
if~1:r.·-
1f1'i
_:il.!<Lm'~N
1f~'i
e7~·h·*
1H<'i;J;'-
1rn;J;'-'H''i
e11t1'
·u?~~t'lf
t7lt~·
ll~!l~t?~
1f~'i
·(f~'i'
cnt71>' 11/64-40
1H~J1?'f'
{f,H>'-
1f~~
if~~
1~~HH'
if
U1~'J;t.·~~
n·1~'»'1
tit·~·i
t7~·~··
A'*'·~·*
U'lb'J1,; 3/16-28
1'~'
U'l~'l~·,n
A'1t'~'*
1-
'H
t.:l':t'b
t#?r
ifY~ti
ifi'~N
17X30X2.B
~1
H4XO. 7 !.=14
H4XO.
H5X0.8
H5XO.
i~YYN
1
t?Yti
~~
lvr·~
~t*'-
'If
•)lr
~~
5.2K9.fiKQ.6
5.BX12X0.8
'lr~·1
f.
~7'11°
fji'
It
B 2
7
L=27
8
~7'
~~
M,.-
H5X0.8
5.2X8.2XI 5
5.2X8.2XI
MO
1.=10
l6.4X20.6X3.2
~
t;.~
J:)l
L=
5 I
!.=8
1
2
4
1
3
I
1
2
2
I
1
1
I
I
1
5
5
5
5
5
5
5
5
5
1
l
1
3
-
37
Page 43

TABULE
U1ECHANISM
OF
COMPONENTS
EXCHANGING
PARTS
Needle
gauge
~t~ifi
8.10.12mm
14.16mm
18.20mm
i
J
Left
Sewing
*i!!ji;/7-7'11-- (tJll
(mm}
166-74814
166-74913
166-75019
Neeedle Folding
gauge
~t
$l.l
1 1
8.10,
12.
14mm
ft
16.
18,20mm
table
asm.
---1
a
sm.
ilflb~
168-14204
168-14402
plate
(*!D
Selective
Specification
f±
Standard
For heavy-weight
materials
Foldin
stopper
tlflbt&/.. "
G513H
G5131-116-DOO
part
~
~
i~l\
l'll'4l>Jffi
plate
·~
16-COO
}\-
Rubber
!',ftfj
:7
7 y
Left
G5109-119-AOG
G5109-ll9-BOG
Garment
!'f tl'[
1r:
clamp
plate
:7
168-13008
168-13206
7 y
asm.
7'
(til.)
sole
7'
::l
£..
Right :ti
G5110--119--AOG
Right :ti
I
Comer
i
:J-7
I
10.
12
168-14303
168-14501
~)
8.10.12.14mm
16.18.20mm
knife
j.:J..
~·~
Needle gauge
(~t
8
14.16.18mm
20.22,24.26mm
mm
G5130-116-COO
G5130-116-DOO
166-07301
t---------
166-07400(A-2)
166-07509
'---------
166-07608
166-07707
---------
166-07806
(A-1)
(B-1)
(B-2)
(C-1)
(C-2)
168-13107
168-13305
Needle gauge
n
8,10.12,14mm
1&.18.20mm
(mm)
~fil
Workpiece
guide
':!::
llll
ff.., r
spring
1\
cr-
~
G532B-116-000
G532&-116-AOO
-
38
-
Page 44

TABLE
2.WELT
OF
PATCH
PLATE
EXCHANGING
COMPONENTS
PARTS
~eedle
3r
1 0
(25/64")
1 2
(15/32"}
j
!
1 4
I
(35/64")
1
6mm
gauge Double welt Single· welt
:i\\l
j j
G
mm
mm
mm
['iiij
0::_
-
0
f--
..:;
168-26802 4.3 4.3 168-28303
168-26901
168-27008
168-27107
:E
~·
I
L
5.3
6.3
-7.3
*f-'
I
l
R
,5.3
I
6. 3
7.3 168-28609
J"1
o::_
r--
0
'--
..:;
168-28402
'
168-28501
>'·
:E
~·
15.3
L
9.3
11. 3
13.3
a
l
R
9.3
11. 3
13.3
15.
3
Varied double welt
;;a::
.......
--
(!)
...J
~·
-
--,
['iiij
Jf~
:E
.
168-29806
168-29905
168-30002
168-30101 10.9
a
L
8.
1 0.5
8.3
8.9
R
1.7
1.7
1.7
(
5/8
")
1
8mm
(45/64
2
Omm
(25/32")
3.
SEWING
I
'
~eedle
H ifll,l
")
\lACHINE
gauge
168-2'/206
168-27305
COMPONE~TS
Throat
31'
plate
1'&
asm.
<*Jll
8.3
9.3
8.3 168-28709
9.3
Needle clamp
~t
~
1 j
~~
f-;,,
r-----+-----~---'"~--+-------1
1 0
--------t---------t--------t--------+--------1
1 2mm(15/32") 164-01358
1 4
5/10"1
mm(25/64")
mm
(35/64")
""W'
164-01150
164-01259
164-01457
G1402-116-JAO
G!402-1!6-BAO
G1402-116-CAO
Gl402-l16-DAO
'til
asm.
(;!:!!)
...
17.3
164-09500
17.3
•
164-11001
Nipper
*
•OJ
iJ
..
--·-1---------1
164-21208
164-21307
spring.
~
jljl
";.!
left
J\;f<tt.
..
..
1
6mm(
1
8mm(45/64")
1
I 2 Omm(25/32") 164-01754
5/
8")
164··01556
164-01655
GI402-116-EAO
Gl402-ll6-FAO
Gl402-116-GAO
-
39-
164-10508
164-21406
164-21901
Page 45

NUMERICAL
Part
No.
iffl
ffl:
Bl'-4000000-00
BT-0400251-1\A
BT-0400251-EA
BT-0400251-1\C
BT-0600400-1\8
8T-OG00400-I\C
B1114-05I-OOO
Bll24-804-000
B11:l0-051-000
81130-051-000
81203-512-000
81205-051-000
81210-525-000
IJ-1213-012-000
B 1214-0 I 9-000
BI214-0:l8-000
31302-051-000
lli303-GI2-000
31408-526-000
B
14
I 1-051-000
31412-051-000
B153\l-057-000
ll11i59-484-000
BI702-012-000
lli801-515-000-A
31802-512-0AJI
BI804-512-000
BI807-512-00B
ll1813-512-000
31816-512-0AO
ll1818-051-000
B1821-051-000
31905-528-000
ll1907-526-000
ll2213-01D-OOO
33034-450-000
ll3034-450-000
B3031-450-000
33035-450-000
ll:l035-150-000
113035-450-000
83035-450-000
B3116-512-003
83120-125-000
83124-512-000
33125-012-000
83126-012-000
83126-051-000
83127-051-000
H3120-012-AOO
33129-012-300
33120-525-000
33132-051-000
33210-771-000
33223-012-0AO
B3224-771-000
ll3228-012-000
83220-012-000
33301-704-0AO
83301-704-000-A
33302-704-000
113303-704-000
33304-704-000-A
33:105-704-000-A
B330G-704-000
83307-704-000
33307-804-000
33308-704-000
Page
1'1:
31i
2•1
2G
31i
:l3
33
22
22
22
22
24
2•1
24
32
24
3G
24
24
24
2G
2G
22
32
:12
30
30
30
36
30
30
:lO
30
24
24
22
2•1
211
33
24
20
33
33
22
22
22
34
34
22
22
22
:l1
22
22
34
:14
34
34
:l4
37
37
37
37
37
37
37
37
37
37
INDEX
Ref.
llo.
30
18
24
23
10
:14
24
40
38
25
23
13
34
32
:l3
4 I
22
20
21
8G
24
2G
32
35
IU
17
5~
11
11
12
12
17
48
47
37
10
12
43
42
45
11
45
44
24
15
25
22
20
18
29
22
17
20
Part
t1h
flY
B:l30U-701-000
:l
8:l:li1-012-000
3 83311-704-000
B.1:li1-804-000
B:l:l12-0I2-000
83313-704-000-A
83317-704-000
33431-552-000-A
ll3511-512-000
ll3513-512-000
B:l52\J-226-000
B3f>41-012-000
B:l5G8-771-000
B8125-280-000
88151-771-000
H3152-771-000
381
G3-77
Cfl-2000000-00
C0-2000000-00
C0-2020000-00
Cll-2020000-00
CQ-2020000-00
8
CQ-2020000-00
1
CO-:l030000-00
2
8
014G0-055-BAO
0145G-05G-BOO
G
01457-055-BOO
:l
01457-055-BOO
ll2G
11-555-BOO
ll201
1-555-BOO-A
08113-555-BOO
DS
1 H
-555-BOE
EA-U502R05-00
EUGOS-451-000
G
GAS-11111000
GES-12153000
7
GES-12153000
G1402-IIG-IIAO
01411-118-AOO
G1815-ll\l-OOO
01816-119-000
G18:l1-116-00B
G18GO-I
19-AAO
G1850-11D-BAO
G18G1-119-000
G
1852-11
0185·1-119-AOO
G31D7-11G-OOO
G3212-11G-OAO
G321:l-IIG-OOO
G502:1-116-000
G5045-l
J(i-OAO
G5047-11G-000
G5048-110-000
I
G5049-llll-OOO
G5051-11G-000
G5058-115-AOO
05058-IIG-BOO
G5054-116-AOO
0
G50G5-11G-AOO
4
G505G-110-000
5
G50G7-116-AOO
G5060-116-AOO
G
05072-115-000
OF
llo.
I -000
\l-000
PARTS
Page
Ref.
No.
1'1:
37
1
:l7
21
:n
37
15
37
Ill
37
37
4
20
2\l
36
:m
24
HI
:w
:lli
2q
3G
5g
4
•I
57
nc;
4
GD
•1
2ti
2~
3G
20
2,1
18
2•1
21
2•1
!ll
:10
3G
24
2·1
32
I I
32
32
:12
3G
I 3
33
27
t\3
4
4
62
3:1
2G
20
2
35
3:l
25
36
17
2G
40
26
27
30
28
:w
33
:lO
:lO
:lO
26
:10
51
30
25
:lO
54
:10
11
22
52
34
23
:14
17
2
4
•\
4
4 I 4
4
12
2
21
2
22
4
40
4
37
22
64
4
32
4
33
4 4 I
Part
No.
tft~
1ft:
•I
G5073-116-000
G5075-116-AOO
2
G5075-11G-000
G5077-11G-AOO
G5078-I16-000
G5087-11G-AOO
8
:I
G5088-1IG-AOO
G5105-119-000
G5107-119-000
G51
08-11
U-000
G5108-119-000
.,
..
G5101l-11\J-AOG
G5109-119-BOG
'·
G5110-11\J-AOG
G511
0-11\l-BOG
GG122-1
17-000
G5122-117-000
G5126-117-000
G512G-117-000
Gf>l2\l-1
15-COO
Gf>l2\l-11G-COO
G5130-115-COO
G5130-IIG-OOO
G5131-11G-COO
G5131
-I
15-DOO
G5132-115-300
G5132-11G-Il00
G G527\l-117-000
G530:l-ll9-000
5
\)
G530ti-ll
\1-000
G5321-11\l-OOO
GG32:l-11U-000
fi!i:l24
-11
D-000
G5:125-ll
U-000
G532G-IJU-000
GG328-115-AOO
6
G5328-11G-OOO
liG:129-
I I
G-000
G5:133-11D-OOO
fif,:138-l I G-000
G5377-13D-OOO
05402-110-AAO
05·102-116-AAO
Gf>421-IIG-OAO
G5432-116-000
0543:1-116-000
G543•l-l15-000
G54\IG-111Y-AOO
G5fl:i9-11o'-ooo
G51l80-IIG-OOO
G5G82-116-000
05701-110-000
G5702-119-000
05704-119-000
GG707
-11
8
D-000
7 G5708-11\l-000
05710-119-000
4
6
G581G-110-000
05840-116-000
G584G-11G-OOO
05854-115-000
G8213-117-0AO
08213-117-000
08214-119-000
G8215-11D-000
08220-117-000
JIA-0013800-0A
Page
A
4
4
4
4
•I
4
•1
10
10
10
10
10
10
10
10
10
10
10
10
8
8
10
10
10
10
8
8
1>1
Iii
IG
18 10
IG
IG
16
18
18 12
18
18
18
18
18
8
8
4
2
19
19
1\)
?
.,
,J
33
22 G
3:l
33
:1:1
:13
:l3
:13
4 8
4
2
4
24
24
24
24
24
20
Ref.
llo.
42
2\l
26
Part
llo.
t~
m
IIA-0015700-0B
IIF-0018010-00
IIX-0022•100-00
22
28
HA0-11532000
3\J
IIHT
-1
90B I GOO
:lO
56
IIH-G030001-SC
57
IIH-G030001-SC
1\J
IIH-G030001-SC
:l5
IIH-GO•I
5!f
IIH-6040001-SC
55
1111-li04000
27
1111-60•1000
IIH-6040001-SC
28
IIH-5040001-SC
17
1111-5050000-SC
47
IIII-G05000
7
IIII-GOG0001-SC
31
IIH-6050001-SC
10
IIH-GOG0001-SC
:lO
IIH-6050001-SC
5
IHHiOGOOO
4
HH-GOGOOOI-SC
:15
IIH-5050001-SC
37
g
llfi-60GOOOI-SC
34
IIH-6050001-SC
4
1111-GOGOOOI-SC
•19
IHHiOGOOO I -SC
50
1111-5060001-SO
0000-S
llli-0080001-SC
48
liii-G080001-SC
47
IIH-0080001-SC
45
IIH-G080002-SB
:l1
IIII-G080002-SB
IIH-6100001-SC
1 1
Hli-G120001-SC
21
Hll-6200002-Sil
4
IIH-6200002-SII
~5
IIS-5110420-SP
I
II
S-O
110430-SP
13
IIS-GI105:l0-SP
2:1
IIS-5120310-SP
27
IIS-6150310-SP
HS-GG20310-SP
45
2
I'A-1000503-AO
4
PA-1001502-AO
17
PA-1201002-AO
1
21
I'A-1201002-AO
PA-1500502-AO
I'A-1501002-AO
2
PA-1501504-AO
8
PA-2002003-AO
1G
PA-2501501-00
5
PA-2504501-AO
10
14
PA-2506501-00
I'A-D000140-00
53
PC-0151070-00
32
PC-0151070-00
34
PF-0552080-AO
42
PJ-0105050-01
49
I'J-0320525-01
45
P.J-0460525-03
43
PJ-3010851-01
•16
PJ-3040405-01
PJ-3040105-01
15
P.J-3040405-04
1-SC
1-SC
1-SC
1-SC
II
J
"
Page
A
20
20
20
37 32
2G
8 5
8
16
37
2 3
2
12
18
18 18
37
2
2
10
10
22
4
4
6
10
10
12
IG
1G
2
12
14
8
8
16
12
8
8
3G
30
32
37
28
22
22 28
33
24
25
2
28
2
28
6 6
16
14
16
6
16
2
19
33
G
19
24
26
19
Ref.
No.
7
16
14
42
29
12
1 1
64
01
8
13
23
44
II)
4()
7\l
3G
G5
37
15
45
71
41
69
3G
37
75
15
25
55
76
14
24
10
1\l
10
28
30
11
20
I .J
I
65
1
54
34
G
31
1
7
9
29
20
22
47
16
2
2
6
-
40-
Page 46

NUMERICAL
Part
No.
1
l
8t
1--·
PJ-30~0105-01
iff
1'.1-30·10451-02
P.J
...
1040•15l-02
I'J-3080~00-02
PS-0200082-KII
PS-0200122-KO
PV-0105080-00
PV-1305080-00
PV
-1305090-00
PV-1505000-00
PX-0551010-00
I'X-0551010-00
PX-0552010-00
RC-2200002-KI'
RC-2421211-KI'
RC-2800002-KI'
RC-2800002-KP
RE-0500000-KO
RE-0700000-KO
R0-037180!-00
SB-1120002-00
SD-045040
SO-M70281-SI'
SD-0100261-SI'
SD-0640002-TP
SH-00•10601-SC
SI1-0040801-SI'
SH-0050801-SC
SH-0051001-SC
SH-1040801-SC
SIH041001-SC
SH-1044050-SH
SH-1051001-SC
SH-1051001-SF
S!l-3030ll01-SC
SH-3030601-SC
SH-:103!·101-SC
SH-3040H01-SC
SH·>\031201-SII
SH-1031601-SC
SH-4031601-SII
SH-40:11801-SB
SH-4032501-SII
SH-4033001-SII
SH-4050801-SC
SH-4050301-SC
SH-4062001-SC
SH-6030602-TI'
SH-6031002-TP
SH-503!202-TP
SH-6031202-TP
SH-U040802-SI'
SH-1>040802-TR
SIHl040802-TR
SH-6040802-TR
SH-6041002-TP
SH-5041002-TP
SH-6041002-TP
SH-60,11
Sf1-G0•1l
002-TP
002S1Hl041002-TP
SH-6041002-TP
SH-60~1002-TP
SH-6011202-SP
SH-6041202-TP
SH-6041202-TP
!-Sf'
TP
Page
r~
22
8
8
\U
20
22
G
19
19
l\1
8
8
!0
12
12
12
11
28
20
24
12
22
22
34
33
18
12
2
2
2 7
2
2
2
12
10
18
Hi
•1
22
10
Hi
22
2G
24
28
34
>\
22
14
8 4
8
:lO
2
10
10
4
6
6
3
8
~~
J(j
19 22
12
10
10
INDEX
...
Ref.
llo.
12
21
19
:l3
3G
18
12
11
II
22
2•1
l\2
11
71)
38
24
20
f'"rt
llo.
tWl
m
--·
,,
SIHi041202-
SIHiO~
..
1202
SJI-G041202-TI'
SH-IiO~J~IO-SC
SII-0041502-TI'
SH
-li0•12f>02-
SH-5051002-TP
7
SII-G051
002-TP
SI1-605!002-Tl'
SH-U051002-TP
SIH\051
SIH\051
SII-G051002-TP
'
'
SM-6051202-Tl'
002-
002-TI'
SH-G051202-TI'
SII-6051202-TI'
Sll-f>O!i
1 202SH-6051202-TI'
SH-Il051202-TP,
SH-()051202-TI'
SH-0051202-TP
SH-6051552-TI'
8
SH-fi051552-TP
M
S1HJ0515!i2-TP
:;z
SH-60!i1552-TP
26
SH-6051!>52
g
SH-60;ji602-TI'
44
S!Hl051
88
SH-G051fi02-TP
18
S!I-G051602-TP
48
Sll-605
SH-6051G02-TI'
G2
SI1-G052002-TI'
61
Sfl-fi0f>2002-
5H
SH-0052002-TJ'
1\l
SIH\052002-Tl'
58
Sli-G052002-TP
2:1
SH-G05200<!-TP
G7
SM-6052002-Ti'
23
SIHl052002-TP
70
SH-0052002-TP
19
SH-5052002-TI'
23
SH-6052502-Tf'
95
SIHl052502-TP
G
SIHl05250:>TI'
G
SH-()052700-SC
2
Sl1-G053002-TP
8
SI1-G053002-
5t
S!Hl053002-TP
\)]
Sll-G051l052-Tf'
54
SH-0000802-TP
602-TP
tG02-TJ'
Sfi-GOr, l 002-TP
28
SH-GOG\002-TP
4:!
S!1-60GI002-TP
37
SIHJOG1402-TP
22
SH-6061602-TP
48
SI!-6062002-TP
54
Sl1-GOG2002-TP
16
SH-6062002-TP
32
SH-6062002-TP
6
SH-HOG2002-Tl'
31
SM-6062002-Tl'
57
SIJ-6062002-TP
5
SH-()062002-TP
SH-6062002-TP
85
SH-()062002-Tl'
l
SH-6062502-TP
38
SH-6062502-Tl'
OF
Tl'
-TI'
Tl'
TP
Tl'
..
TP
TP
Tl'
PARTS
Page
Ref.
llo.
rt
Ill
IR
25
18
27
:i7
2
57
Ht
12
12
27
12
45
4!)
12
l>\
2:!
(i
11
1G
2
2!l
10
10
3:l
2\l
H
3!}
!>I
l6
70
2•1
14
21)
11
2
2
5fJ
4
:n
8
17
8
26
or.
12
12
67
14
15
28
14
13
42
1U
G 4
I)
()
1\J
(i
~I)
58
12
12
75
12
83
H
71
15
J(j
57
li
18
~7
H
18
40
37
12
10 10
10
•12
,,
:15
2"
23
33
r,
2
:14
4 5
4
13
4
ll
:!2
6 3 SS-2090520-Sl.
fi
3\l SS-2090520-SL
10
10
30
12
32
12
38 SS-4090815-SP
12
54
l4
43
lG
60
Ill
62
4
47
12
18
Part
f'ih
'ti}:
11
SIH1002502-TI'
SIH)052502-Tl'
SII-G002!i02-TP
10
SIHlOG2!i02-TI'
SII-GOG2502-TI'
1·1
Sl1-11062502-TI'
2
SI1-GOG2502-TI'
SH-6003002-TP
SI1-GOG5002-TP
SM-UOI\5002-TI'
SH-GOG5002-TP
~i
SIHl081202-TI'
:;
Sli-5082002-SP
SU-G082002-'I'P
1
:;
SH-()082002-TP
Sl1-6082~>02-
SH-GOS3002-TI'
Sll-0083002-TI'
S!I-6085502-TP
SH-R030802~TP
SH-8030802-TP
1~
SH-8040502-T!'
SM-8040602-TP
SH-8040602-TI'
SH-8040602-Tr
SH-8010602-TP
.)
SM-8040802-TP
SH-8040802-TI'
SH-8041552-TP
SH-8014002-1'1'
SH-8050602-TP
8
Sfi-8050U02-TP
SH-8050602-TP
B
SH-8050002-TP
SH-8050802-SP
SH-8050812-TI'
SII-8050812-TP
Sfl-8000812-TP
SH-8051002-TP
SH-8051002~TI'
11
SH-8051002-TI'
SIJ-3051002-TP
SH-8052502-TI'
SH-8061002-TP
SII-80G1002-TI'
SH-8061552-TP
SII-8082002-TP
SH-905081
SH-9061080-SE
SIHl061203-SE
q
L
S!HlOG2003-SC
SH-U063503-SE
SH-0065503-SP
SII-U081403-SC
SQ-11!0•101-117.
1 SS-1060610-SP
6
SS-201)0541-SL
SS-2090320-TP
SSc2ll0915-SP
SS-5000420-SP
SS-!>000610-SP
SS-5110710-SP
SS-5!10810-SP
SS-6060220-SP
SS-6080320-SP
tlo.
TP
:l-Sil
Paso
n
12
12
12
J(j
Ill
1U
18
G
10
10
1l\
·1
30
•1
24
16
8
14
12
18
18
12
12
14
14
HI
12
12
IX
18
G
6
14
18
14
1
\(;
1G
G
12
14
14
G
2
1>\
4
12
:l7
37
~
14
~
•I
~
:m
18
22
22
22
3G
22
IG
2G
2G
32
32
22
22
Ref.
llo.
:n
35
llO
22
45
51
14
3:!
12
H
1)8
29
59
47
37
33
77
15
r,o
14
51
GO
53
29
41
16
ll
24
19
36
~5
38 SS-7110710-Tl'
20
58
41
10
13
18
17
13
61
3~'
36
23
:lO
55
37
(l(l
fi1
50
23
29
25
41
62 SS-8080410-TP
15
20
65
29
31
17
26
49
19
Port
llo.
r?tt
m
SS-1)08041
SS··608061
0-SP
0-TI'
SS-Il080810-SI'
SS-Il081<!10-SP
SS-6090630-SP
SS-6090810-SP
SS·G090910-TP
SS-6091210-Tl'
SS-6110710-Tr
SS
-611
0710-TI'
SS-Gl11G10-SJ>
;;
SS-612Jill0-SP
SS-6121210-SP
ss
-6153012SS-6153040-SP
SS-7080820-SI'
SS-7080820-SP
l
SS-7081310-S!I
SS-7090510-SP
,.
SS-7090530-SP
.)
SS-701JO!i40SS-70901110-SP
SS-7090610-SI'
SS-7090710-SP
SS-7090910-SP
SS-7091410-SI'
SS-71J0410-SP
SS-711041
SS-7110510-SP
9
0-SJ'
SS-7110510-SP
SS-7110540-SP
SS-7!
10710-SP
SS-7110710-SP
SS-7110710-SP
SS-7110720-SP
SS-711
SS-71108~0-SI'
SS-71108~0-SP
SS-711
08~0-SP
OiHO-SI'
SS-7llOMO-SI'
SS-7110010-SI'
SS-7110910-SI'
SS-7110010-SI'
SS-7li0910-SI'
SS-7110910
.)
SS-7!109!0-TP
SS-7111120-SP
SS-71lll20-SP
SS-7111310-SP
SS-7111810-SP
SS-7111810-SP
SS-7150710-SP
SS-7150940-Sl'
SS-7150910-SP
SS-7151!20-SP
SS-7680870-SP
SS-7681750-TP
SS-8
11
0320-SP
SS-8110110-TP
SS-8110410-TP
SS-8110510-SP
SS
-8110520-
SS-8110750-SP
SS-8111610-SP
SS-8111610-SP
SS-8150410-SP
Tf'
TP
Sl'
TP
;y•
51
'
Page
n
28 25
22
28
!4 5
:m
30
32
30
21
26
30
28
28
30
28
14
22
:;~
22
20
22
22
22
22
26
28
34
36
30
34
37
33
33
34
3G
21>
10
22
30
34
3G
22
22
24
2G
28
21)
()
14
26
22
22
34
33
33
32
24
24
26
24
30
33
34
32
26
26
36
3()
Ref.
llo.
61
ll
14
14
2G
27
10
10
23
8
~0
24
31
10
81
28
55
36
G5
22
30
51
22
24
21
12
53
3
16
13
28
2
28
41
24
83
7
13
11
7
68
5
5
29
18
26
8
38
3
8
()
3
18
21
50
27
41
44
31
15
19
15
18
37
9
25
-
41
-
Page 47

NUMERICAL
Part
llo.
fi/t
fff
SS-8150710-Si'
SS-8150710-SP
SS-8150700-TP
SS-8151150-SP
SS-8151150-TP
SS-8151550-SI'
SS-8151550-SP
SS-8152030-SP
SS-8660340-SP
SS-8660530-TP
SS-8060810-TP
SS-8680540-SI'
SS-8680730-SP
SS-8681650-TP
SS
-8681650-
SS-8681950-SP
SS-9080410-SP
SS-9090640-SI'
SS-9111010-SP
SS-9151540-SR
SS-9660720-SP
TA-0200301-MO
TA-0550604-RO
Tfi-1050504-RO
TA-1250406-RO
Th-1250504-RO
Tfi-1871602-RO
WI'-02505Hi-SD
VP-0320500-SC
WP-0320500-SC
VP-0320500-SC
WP-0320500-SC
WP-0320500-SC
WP-0320500-SC
WP-0350516-SD
WP-0371015-SO
WP-0371016-SD
WP-0430800-SC
'IP-0430800-SC
WP-0430800-SC
WP-0430800-SC
WI'-0430800-SC
WP-0430800-SC
VP-0430800-SC
VP-0430800-SC
VP-0430800-SC
V!'-0450000-SO
VP-0450000-Sil
·VP-0150801-SD
VP-0450801-SD
WP-0480856-SP
~P-0480856-SI'
YP-0501016-SC
VP-0520656-SA
VP-0531000-SC
VP-0531000-SC
WP-0531000-SC
IIP-0531000-SC
WP-0531000-SC
WP-0531000-SC
WP-0531000-SC
WP-0531000-SC
VP-0531001-SC
VP-0560860-SE
WP-0621016-SO
VP-0621016~so
TP
Page
.!'{
30
36
24
30
28
24
24
30
32
30
30
24
24
24
24
24
22
28
26
4
30
24
23
22
22
22
22
22
10
IG
IG
lB
18
22
20
22
:!0
2
4
8
8
10
10
12
IG
18
30
33
10
10
26
32
34
37
2
2
12
12
12
12
14
18
34
37
22
34
INDEX
Ref.
No.
27
31
10
1G
30
13
12
12
21)
28
26
36
35
72
26
46
21
52
Part
0
Yl'-0621020-SP
Vi'-0041GOJ-SC
VP-06•11001-SC
WP-0641601-SC
G
VP-0041601-SC
WP-084
WP-0841000-SC
WP-0841600-SC
WI'-0841000-SC
VP-0850002-SI'
4
WP-0850002-SP
VP-1702HOO-SO
WS-0310002-Kil
YS-0310002-K!I
WS-0310002-Kil
ws-o:noooz-KH
VS-0310002-KII
VS-0310002-KN
YS-0410002-K!I
WS-0410002-Kll
VS-0410002-KII
OF
llo.
till iii
1GOO-SC
VS-0410002-K!I
52
WS-0410002-KII
27
WS-0410002~K!I
14
VS-0410002-KII
13
WS-0•110002-KII
If>
VS-0410002-KII
12
WS-0410002-KII
US-0410002·KII
50
WS-0410002-Ktl
60
VS-0410002-K!I
13
YS-0410002-KH
24
WS-0410002-K!I
25
WS-0410002-Ktl
7
WS-0110002-KII
03
WS-0110002~Ktl
30
WS-0•110002-Ktl
87
WS-0510002-Ktl
15
WS-0510002-KN
5
WS-0510002-Ktl
25
WS-0510002-KII
8
WS-OSI0002-KII
:l3
WS-0510002-KII
3
WS-051
40
WS-0510002-KII
86
WS-0510002-Ktl
0002-K11
16 1JS-O:H0002-Kll
17
WS-0510002-Ktl
·14
WS
..
12
20
50
45
25
25
42
49
47
51
63
25
47
30
26
88
0:.10002-K11
WS-0510002-KN
WS-0510002-K!l
WS-0510002-K11
WS-0510002-KII
WS-0510002-K11
14
ws~o;,1ooo2-Kll
WS-0510002-K11
WS-0510002-KII
ws~o51ooo2-Ku
4
VS-0510002-Kll
IIS-051
0002-K11
WS-0510002-111
WS-0510002-KH
VS-0521010-K!I
WS-0521010-Kil
VS-0610002-KII
WS-0610002-K!l
WS-0610002-Kll
5
WS-0610002-K!I
PARTS
P.ag-e
Ref.
.!'{
llo
33
4 u
4
14
18
33
57
4
4
Gl
14
73
16
39
24
30
30
37
10
59
53
14
18
18
2!!
22
H2
2H
2 4
311
2
2
58
2 63
1
24
ll
6
31
&
8
32
10
10
21
10
311
lO
49 1 03-0f>
12
87
I
•l
58
Jl)
16
15
1\)
10
23
2 ll\
2
27
2
43
,,
56
'"
()
n
10
10
10
34
10
43
12
12
26
12
46
r,o
12
12
64
12
08
14
24
14
27
).j
30
14
30
14
06
14
70
J(l
16
71
19
37
24
37
27
2
33
4
10
4
46
52
4
Part
llo.
.
19
~lfi:
WS-0010002-KII
WS-0510002-KN
45
WS-0010002-KII
41
WS-0010002-KII
WS-06 1 0002-KII
WS-01\10002-K!I
WS-0610002-Kil
YS-0610002-KII
WS-0610002-KII
43
VS-0820002-Ktl
WS-0820002-K11
7
WS-0820002-KN
WS-0820002-Kl!
YS-0820002-K!I
6
WS-0820002-KII
VS-1643202-KR
WT-0480002-KR
p·
·'
040-00000591
040-000013?,0
100-39!05
101-01400
H)
101-03406
101-00700
'I
101-011908
I 0 I
12357
2
101
12407
101-28007
102-:!2650
!59
103-0705G
1
o:s-13708
7
110-23702
110-23801
15
110-24403
IM-00202
164-00400
164
..
00500
ll\4·00608
164-00806
5
](;,1-00905
g
lll4-01002
11
164-01200
14
164-01259
1G4-0J804
164-01804
3
164-01903
164-01903
lfi4-01903
16·1-01903
164-02000
164-02000
164-04201
JG4-0GIOO
104-06308
104-06407
164-06450
164-06500
4 164-06605
164-0()704
I)
164-06803
164-06902
164-07009
164-07108
104-09203
164-09302
164-09401
Page
.!'{
(\
12
12
12
12
14
14
10
18
4
4
4
8
14
16
37
22
:JO
30
3~
22
24
30
:w
30
30
34
:l4
24
24
25
·1
4
4
22
22
22
22
22
22
22
22
22
24
2G
24
24
26
26
24
26
24
26
26
26
20
26
26
26
26
26
26
26
28
28
28
Ref.
l!o.
:l~
30
33
53
91
38
42
ill
32
49
56
60
74
:;a
31
66
Port
r'i&
16~-09500
104-09009
104-09708
161-09807
104-09900
IM-10003
104-10102
164-!0201
164-10300
1(;1
10508
164-10607
164
-I
2
164-10805
164-10904
164
11001
164-13403
164-13502
164-15200
164-1530\l
41
40
164-15507
164-15903
7
16~-16000
26
I 64-
Hl208
40
164-16406
55
164-16505
20
164-16505
5
164-16505
21
16•1-!6604
4
IG4
27
30
37
17
17
18
10
21
23
18
17
1U
13
13
32
23
39
20
16
17
32
25
43
Ill
34
35
-1670:l
164-17107
164-17305
1
M-17·10•1
lll4-17503
1G•H7602
154-17701
lG1-17800
g l 64-17909
J
164-20006
2
164-20705
4
164-20804
164-20903
164-21109
164-21208
164-21307
164-21406
9
IG•l-21505
9
164-21604
8
164-21752
164-21802
8
164-21901
164-22057
1
164-23006
4
164-23907
104-23950
104-23964
104-24004
164-24202
l 64-2430 I
164-24400
164-24509
164-24608
164-24707
164-24806
164-24905
164-25050
5 164-25100
4 164-25209
1
164-25902
llo.
flY
0706
Page
.!'{
28
28
28
28
28
28
28
28
28
28
28
28
28
28
28
33
33 4
32
32
32
32
32
32
28
24
26
28
28
28 28
28
32
32
32
32
32
32
32
30
30
30
30
30
30
30
30
30
30
30
30
30
30
21
22
22
22
22
22
22
22
22
22
22
22
22
22
22
22
36
Ref.
llo
13
22
12
10
23
20
21
14
16
17
18
19
15
11
23
28
19
27
16
37
36
32
3\l
22
14
18
20
34
16
17
18
45
45
47
48
22
50
37
42
40
38
15
35
33
27
63
31
38
57
53
29
56
58
39
67
59
60
•
3
g
2
7
7
3
7
I
I
-42-
Page 48

NUMERICAl
Part
llo.
r"it,
H'i
ll~~=~~ni
10·1-26207
Hl1-2630G
!51-26105
164~20501
164-ZGl\03
l!H-26751
164-26801
Jfi4~2li900
161-27007
15•!-27551
164-27601
.j(H~27700
H\4-27809
JG4-27908
16<1-50058
IG4-50157
lM
·!i02!iG
i
G4
-503f;5
IG4-:>045•1
161-50553
ll\,1-5080 l
JM-50900
lll4-50\JOO
HH-55503
j(l4~55G02
I
6·1
-55800
Hl1-55QQ9
104-59059
164
-GOG51
164~72250
1G5-14058
1G5-H105
165-44504
11)5-41603
Hl5-44702
165-44801
165-44900
165-4!i000
165-45105
165-58G52
155-67208
165-67307
165·G7406
165-70855
166·00900
wo-o
1001
166·02302
161l-02401
166-02500
166-02609
1GG-02708
1Gl\-02807
106'·02906
166-03003
166-03102
166-03201
HlG-06907
166-07004
166-07103
166-07202
166-07301
166-07400
166-08309
166-08408
H\6-08507
166-08606
Page
n
3G
311
36 5
;sn
;;u
30
;lQ
:w
3li
3G
3G
3-1
34
3·1
34
31
20
20
20
20
20
20
20
22
22
20
:w
20
20
20
20
20
22
22
22
22
22
22
22
22
22
18
20
20
12
18
14
14
14
J.\
l4 59
14
14
14
14
14
14
14
14
14
14
14
14
14
14
14
14
14
INDEX
"
Ref.
llo.
:n
Part
llo.
~YI',
tfi
IHH;~os?o:;
7
1GH-08M,I
IGii-081)03
1011-011000
G
!Gil-091 00
10
4
100-011208
8
IGI\-09:l07
21
I
Gll-0\l•IOO
3:l
I
GG-Oilf>05
34
1!16-0HGO·I
2
HHl-09711
u
lllll-OilS
2\J
IGiHlHUOl
Ill
I Gll-l
18
H>G-10!07
l
IUU-1020il
l 0
OOOP.
l IGIH030!i
;,
1!lfi~
1
0·10·1
12
lUG-I 050:1
\)
HHH0\\02
10
lllG-10701
II
Hl6-IOXOO
1fiG~
2
71
94
3
4
18
~~
J7
13
8
G9
77
82
7G
75
7,1
73
80
78
:l3
20
21
89
4G
31!
40
61
62
10\109
lflG-11
1ill\~11105
OOG
HiG-11204
l t:l03
IGG
lli(H
1,102
lliG-11501
IGG-llGOO
1GG-11709
lGG~J1808
!GG-Il\107
HHl-1200•1
!GG-12103
lllG-12202
IGG-12301
llliH
2400
IGG-12501!
liHi-12608
1G0-12707
UlG-1230G
106~12905
I
G<H:l002
lOG-13101
HiG-1:l200
lGG-1330\l
!Oii-13~03
160-13507
1GB
-13606
166-l.\705
63
160-1380·1
68
166-13903
li\1
IGG-
HOOO
67
IGfi-14109
56
166-14208
52
166-14307
50
166-52505
166-52604
9
!G6~53008
3
7 166-53107
II
lfi6-51l100
2 166-56209
l 166-56107
166-71703
32
17
166-71802
16
166-74517
166-7
26
4(108
OF
'
'
PARTS
Page
Ref.
No,
ft
14
1<1
H J I
18
14
4Q
H
11
34
11
12
46
14
14
22
12
55
12
78
12
:l4
12
12
12
12
12
12
•Ill
fi
10
12
13
112
n
12 17
12
Ui
12
21
2:l
12
12
22
12
72
7,1
12
12
7:l
12
70
71)
12
so
12
12
4:l
l\
12
52
12
3\1
12
6''
12
""
·"
G
14
12
fitl
12
GC•
12
44
,jg
12
12
()
G 3fl
G
12
6
40
G
38
4,1
6
G
21
23
G
G
27
G
22
6
25
!i
29
!l 43
6
30
G
28
l6
59
18
43
16
29
16
28
18
41
39
18
Ill
27
18
19
18
20
2
24
5fi
12
Port
l!o.
tlffl
ffi:
JGU~74814
I!)G-74913
lllH-750lU
I!Hi-75308 2
lf>ll-7f>704
l!Hl-75803
1116-76009
ll\6-76110 2
166-7!1207
li\G-70301>
166-76413
lllti-71lf>12
5
l!l!i-76003
\)
l!ill-768
7
Ulfl·77007
!Gfi-77205
HiG-90502
]()
IGG-97005
lf>(Hl7J04
llHi~U840H
H\G-Il8!l07
HH\-9/I?OG
l!lG
-99506
167-00HOII
167-02003
ll\7-02102
ll\7-Q2201
IG7
-o2:lOO
l!i7-0270(\
11>7-01GO:l
167
.,
'
10303
167-20005
11172010·1
H\7-201)0\)
167-20807
'·
107-20906
167-21102
IG7-2170tl
lf>?-21805
167-22:108
1(}7-22407
I
I
67-2270,1
I
]()7-22803
1fi7-22902
IG7-2380l
107-Z:lUOO
167~24403
Hi?-24~03
JG7-z4aon
11\7-25004
IG7-25103
167-25202
167-25301
Jn7~25905
IB?-26101
167-26200
167-26309
JG7~27109
167-27109
lfi7-27406
167-48204
167-49418
167-65000
167-6510D
167-65208
167-65307
l67-6!i40l\
IG7-65505
Page
.a:
2
2
2 It
2
19
2
2
2
?
..
2
2
2
2 6
l ,j
()
18
13
JG
22
22
22
2
2
2
2 52
2
12
6
12
12
14
11
G
G
G
12
H
12
i2
2
G
16
!G
H
12
16
2·1
14
14
14
14
12
19
19
19
14
lO
19
4
4
16
lU
16
l6
16
16
Ref.
llo.
JO
Port
~~1
m
g
Hi?-6570~
167-G5802
tlo.
Hi7-f>f>UOl
4 J
lG?-60008
28
Hi7
~Go
l
10
167-66200
60
107-06305
30
167-Gl\404
30
]67 -66503
l!l
167-GG!l02
17
W7-G670l
45
l(j'/-66800
2f)
167-GGHOO
2
167-67402
07
107-720011
fl5
107-72105
3f>
167-72402
28
107-75702
30
167-75801
40
107~75850
89
lfl7~8000\l
90
IIG?-80108
85
167
20
50
51
·80207
lG7-80G03
167-84902
168-0()507
168-0GGOG
53
108-07109
81
ll\8-07109
111
!G8-l2505 2
23
ll\8-
31
77
7\l
12
I~
20
0
7Z
42
15
40
45
33
30
44
69
72
53
78
20
21
12703
168-12802
!G8-12\J01
IG8·13008
168-·1310'/
IG8-1:!20G
1G8-l3305
1G8-l400U
108-14105
I
GB-14204
!08-1430:1
IGS-14,!02
\68-14501
IGS-23304
\08-23403
108-23502
108-23502
!G8-23GOI
Ul8-23700
108-2380\i
168-23908
lf>8-30507
80
20
18
13
5
81
8
3
48
43
56
42
36
35
]0
17
;r,
'll
Pnge
.a:
16 18
16
16
16 2
16
16
16
18
18
18
13
13
18
16
ll\
16
19
~
4
4
2
2
16
16
4
2
2
10
10
18
16
16
10
10
10
10
8
8 3
8
8
8
8 Hl
10
10
10
10
8
8
10
10
HI
Ref.
Ho.
31
21
43
44
52
13
26
24
34
35
37
32
63
04
21
l
15
lG
47
l
26
54
44
12
14
23
51
31
2
34
GG
52
25
53
26
20
35
18
36
8
29
18
32
16
27
ll
41
3
-
43
-
Page 49

......
:
- 44 -
Page 50
Page 51
Page 52

aJUKI
JUKI
CORPORATION
1989.
1 Printed
in
Japan