Page 1

信息本部彩电培训体系列手册
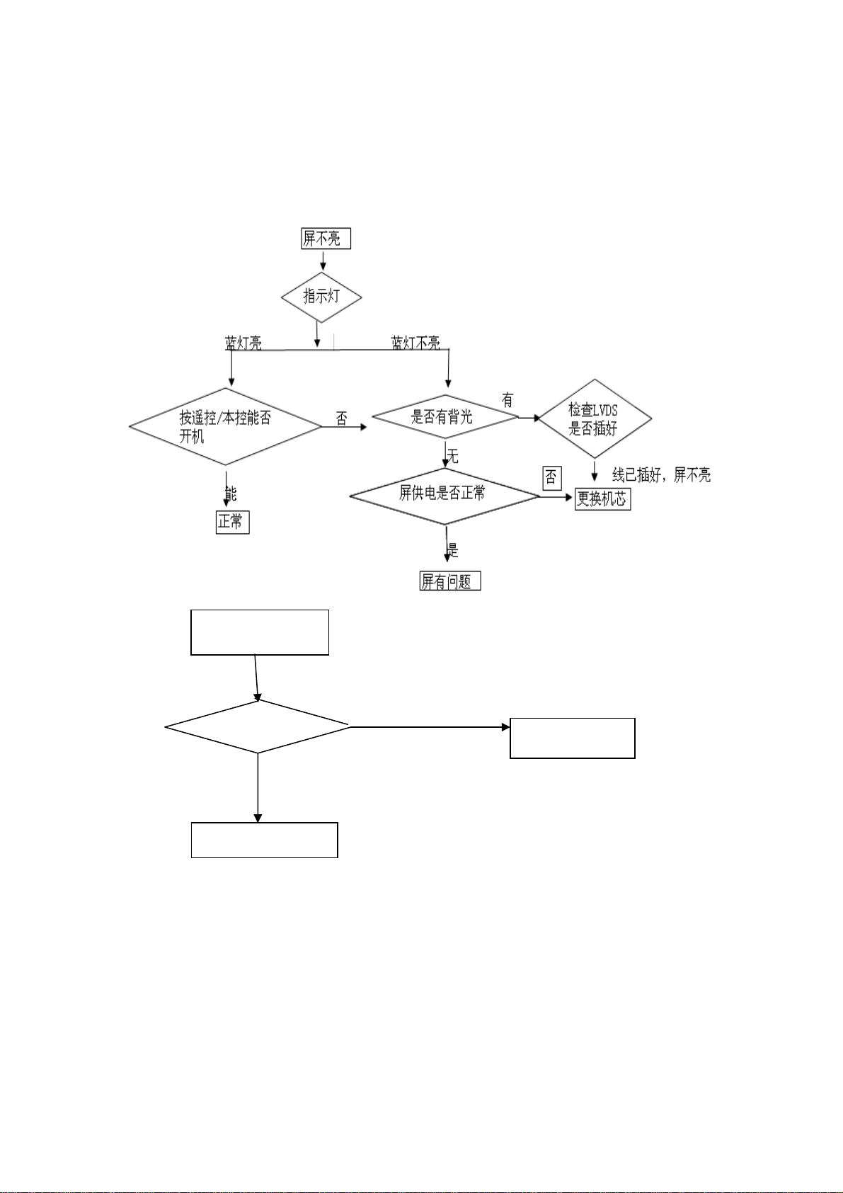
编号:
wxsc20091229001
专用号:
维修手册
Service Manual
产品机芯或产品
系列名称
型号:LE40T3
系列:T3
机芯:MST6M69FL
1.屏、模组 LTA400HF05
尺寸 40
可视角 178(H)/178(V)
响应速度 6ms
分辨率 1920*1080
亮度 450cd/m2
对比度 5000:1
2.信号制式 PAL\SECAM\ NTSC
声音制式 DK、BG、I
流媒体模块型号 模卡
功率 100W
编制: 王召鹏 审核: 会签: 批准:
青岛海尔电子有限公司版权所有
未经授权拷贝和传播是犯法的行为
0
Page 2

目录 CONTENT
项目 页码 项目 页码
1、 规格 2 12.3 机芯接口定义 16
1.1 产品外观图 2
1.2 产品特性 2 13、典型故障及解决措施、常见问题咨 17
1.3 产品先进技术 2 13.1 简要故障判定 17
2、 产品功能及主要特点 4 13.2 常见故障现象及排除 18
3、 产品衍生关系 5 14、安装和拆卸艺 19
4、 产品命名方式 5 15、爆炸图及明细 20
5、产品使用说明及产品改进介绍、检测工具 5 16、结构规格书 21
5.1仪器、仪表、操作工具的配置 5 17、各主要检测点的电压 23
5.2基板检查方法 6 18、机芯板主要元件功能 23
6、使用者的警告 6 19、产品主要模块专用号 23
6.1 警告
6.2 注意
6.3 供电电源
6.4 使用场所
6
6
6
6
12.4 电源视图
20、机器软件升级调试说明 25
26
16
6.5 清洁 7
6.6 注意事项 7
7、案例预防措施、产品使用及日常维护保养知识 7
7.1 注意事项 7
7.2 误区 8
8、产品主要技术参数 8
9、原理图及接线图
9.1 原理图 11
9.2 接线图 11
10、机器具体控制、工作原理及参数
11、机器透视图与平面
12、各模块视图、接口定义
12.1 屏接口定义 13
12.2 机芯板视图
9
12
12
12
14
1
Page 3

1、产品外观结构特征(含外观图)
1.1 LE40T3外观图
后名牌图 标准遥控器 端子图
型号:LE40T3
功率:100W
100W
1.2 ☆机器特性
1、1920*1080 高分辨率;
2、支持多功能扩展模卡;
1.3☆先进技术:
1、模卡电视
2、护眼防眩光。
LE40T3
HTR-D01A
端子
3、智能省电模式
4、LED 背光屏
2
Page 4

5、LED 电视概念:
什么是 LED 电视:
真正的 LED 电视,应该是用 LED 直接成像的。彩色的 LED 显示屏
素点,通过控制每一个像素点的亮于灭,来实现图像的显示。其成像的原理和同样是主动发光的等离子非
常相似。而目前所谓的 LED 电视只是使用 LED 照亮屏幕的 LCD 液晶电视。它可以有两个方式达到这一
目的:将显示屏的整个背面换成LED(所谓“直下背光"),或在周边放上 LED(所谓“侧光")。这两
个技术的使用,使电视耗能低于等离子电视和使用荧光管的液晶电视。
按照背光源入射位置划分:
LED 背光模块依光源入射位置分为直下式与侧入式两大类,大致可分为直下式 RGB-LED、直下式白
光 LED、侧光式白光 LED、侧光式 RGB-LED 等。
在较大尺寸下,侧光式背光源的发光均匀性和发光亮度都受到限制,导光板的重量和成本也随尺寸的
增大而有很大的增加。与之相比直下式背光源工艺简单,不需要导光板,其技术关键在于色彩和亮度均匀
性,是目前大尺寸液晶电视背光源研究开发的主流。
直下式 LED 直下式背光源工艺简单,不需要导光板,LED 阵列置于灯箱底部,从 LED 发出的光经过
用 R/G/B 三个 LED 管组成一个像
底面和侧面反射,再通过表面的扩散板和光学模组均匀射出。直下式背光源的厚度由灯箱底部和散射板的
距离决定,通常厚度越厚,背光源的光均匀性就越好。在背光源较薄的情况下,色彩和亮度均匀性就成了
直下式背光源的技术关键。
LED 灯的光场分布类型对背光源的色彩和亮度均匀性起着重要作用,目前背光源所用 L ED 灯通常有
朗伯型和边发射型两种,由于边发射型 LED 更有利于背光源的光均匀性,直下式背光源大都采用边发射
型 LED.但是大角度边发射 LED 由于其中间光强偏低,易造成暗斑,影响背光源的均匀性。
侧光式 LED 产品
作到区域控制功能,不能分区控制不仅是对动态对比值及动态影像画质提升没有帮助,更为重要的产品无
法实现产品的节能,即使实现的节能也是通过减少 LED灯的数量或采用低功耗 LED灯来达到节能的目的。
与侧光源相比,LED 背光源的优势在于能够动态控制背光灯,这样在表现某些黑暗场景的图像时,
只需要调整必要的背光灯区域(在画面上表现为黑色或较暗的部分)的局部灯光,即能向您展现出明暗对
比自然的高品质图像效果。另外,通过红、绿、蓝三色 LED 背光灯扩大色域表现范围,同时将屏幕漏光
因是由点光源组成线光源,而非由点光源分布至 TV 用 LCD 面板整个面积,故无法
3
Page 5

控制在较低限度,提供丰富的黑色表现力,有效地降低能耗。因此,技术上各有优势。通过不同的取舍,
可以达到不同的产品诉求。
LED 背光液晶电视的优势:
优势一:色域广 CCFL (冷阴极灯管) 背光源是激发荧光粉
色纯度低,导致其色域小,通常只有 NTSC 的 70%左右。而 LED 的发光光谱窄,色 纯度好,用三基色 LED
混光的背光源具有很大的色域和优秀的色彩还原性,通 过选择合适三基色,可以达到 NTSC 的 105 %以上,
比传统 CCFL 背光源的色域扩展了大约 50 %.
优势二:寿命更长一般来说,LED 背光源的使用寿命要比 CCFL 更长一些。不同CCFL的额定使用寿
命(半亮)在 8,000~100,000 小时之间,而 LED 背光源则可以达到 CCFL 的两倍左右。而且为了增强性能
而采用了改进设计的 CCFL 背光的使用寿命还会更低一些。此外,由于电路设计方面的原因,采用 LED
背光源的 LCD 的体积还有望更加小巧,而且电路设计的成本也将大大降低。
优势三:环保节能在以 CCLF 冷阴极荧光灯作为背光源的 LCD 中,其所不能缺少的一个主要元素就
是汞,也就是大家所熟悉的水银,而这种元素无疑是对
虽然目前厂商方面已经尽力在降低荧光管中的汞含量,但是完全无汞的荧光管会带来一些新的技术问
题,暂时看到不到实现的前景。而反现LED 背光源,其优势在于完全不含汞,符合绿色环保的时尚。LED
人体有害的。
发光的,其发光光谱中杂余成分较多,
背光源非常节电。其功耗要比 CCFL 冷阴极背光灯更低一些。LED 内部驱动电压远低于 CCFL,功耗和安全
性均好于 CCFL(CCFL 交流电压要求相对较高,启动时达到 1,500~1,600Vac,然后稳定至 700 或 800Vac),
而 LED 只需要在 12~24Vdc 或更低电压下就能工作。
优势四:超薄外 观液晶电视若要作到超薄,其中有 2 个主要决定因素,分别为背光模块与电源基板
度,然因背光模块整个面积与液晶面板相似,而电源基板仅占液晶电视部分面积,换句话说,液晶电视最
薄部分的厚度,与背光模块有很大的关系。
6、LED 背光概念:
LED 显示器和目前的 LED 背光显示器有着本质的区别。那么 LED、LED 背光、OLED 三者之间究竟
有怎样的区别和联系呢?给大家介绍这三种技术的基本概念。
厚
4
Page 6

广场大屏幕等大型公众显示设备才是 LED 显示器
什么是 LED 显示器:
LED 显示器是指直接以 LED(发光二极管)作为像素发光元件的显示器,组成阵列的发光二极管直
接发出红,绿,蓝三色的光线,进而形成彩色画面。但由于发光二极管本身直径较大,因此同色像素之间
的距离也较大(也就是我们常说的点距),所以 LED 显示器通常来说只适于大屏幕显示。
LED 显示器在北京奥运开幕式中的应用
LED 显示器集微电子技术、计算机技术、信息处理于一体,以其色彩鲜艳、动态范围广、亮度高、
寿命长、工作稳定可靠等优点,成为最具优势的公众显示媒体,目前,LED 显示器已广泛应用于大型广
5
Page 7

场、商业广告、体育场馆、信息传播、新闻发布、证券交易等,可以满足不同环境的需要。
什么是 LED 背光显示器:
LED 背光显示器只是液晶显示器的背光源由传统的 CCFL 冷光灯管(类似日光灯)过度到LED(发光
二极管)。我们再来回顾一下液晶显示器的基本原理。
液晶面板的基本结构
液晶的成像原理可以简单的理解为,外界施加电压使液晶分子偏转便如闸门般地阻隔背光源发出光
线的通透度,进而将光线投射在不同颜色的彩色滤光片中形成图像。
6
Page 8

白光 LED 背光源
背光模组由 CCFL 过渡到 LED可以带来很多好处,可以让显示器屏幕的亮度更加均匀,产品功耗更
低,外形可以更轻薄时尚。但目前市场上普遍采用的是 W-LED(白光 LED)背光源,事实上这种背光源
仅仅是将发光的元器件更换了而已,而显示效果的提升非常微弱甚至没有提升。而对液晶产品显示效果提
升明显的 RGB-LED(三色 LED)对显示效果的提升较为明显,但同 时生产成本较高,因此被应用在高价
位的液晶电视上。目前一般说的 LED 显示器是指采用 LED 背光的显示器产品,和普通液晶显示器的区别
是背光源的改变。
什么是 OLED:
OLED、LED、LED 背光搞混淆,下面笔者就给大家介绍一些 OLED 的基本知识。
OLED 是英文 OrganicLight-EmittingDiode 的缩写,翻译过来被称为有机发光二极管或有机发光显示器。
事实上这种发光原理早在 1936年就被人们所发现,但直到1987 年柯达公司推出了 OLED 双层器件,OLED
才作为一种可商业化和性能优异的平板显示技术而引得人们的重视。目前,全球已经有 100 多家的研究单
位和企业投入到 OLED 的研发和生产中,包括目前市场上的显示巨头,如三星,LG,飞利浦,索尼等公司。
整体上讲,OLED 的产业化目前已经开始,其中单色,多色和彩色器件已经达到批量生产水平,大尺寸全
彩色器件目前尚处在研究开发阶段。
OLED 显示设备
很多把 OLED 和目前厂商炒作比较多的 LED 背光联系在一起,事实上 OLED 和 LED 背光是完全不同
7
Page 9

的显示技术。OLED 是通过电流驱动有机薄膜本身来发光的,发的光可为红、绿、蓝、白等单色,同样也
可以达到全彩的效果。所以说 OLED 是一种不同于 CRT,LED 和液晶技术的全新发光原理。
OLED 器件结构图
OLED 器件的结构如上图所示。OLED 属于载流子双注入型发光器件,其发光机理为:在外界电压的
驱动下,由电极注入的电子和空穴在有机材料中复合而释放出能量,并将能量传递给有机发光物质的分子,
后者受到激发,从基态跃迁到激发态,当受激分子回到基态时辐射跃迁而产生发光现象。(小贴士:什么
是空穴?一个呈电中性的原子,其正电质子和负电电子的数量是相等的。现在由于少了一个负电的电子,
所以那里就会呈现出一个正电性的空位,这便是空穴。)
7、LED 背光优点:
背光显示屏的优点(与普通显示屏的区别):
(1)轻薄:LED 背光采用作为背光光源,不需要灯管,因此导光板的厚度大幅降低,整组背光板的厚度可
以降低一半左右,间接地减少笔记本的重量,带来纤细的机型,便携性增强;
(2)功耗降低,发光效率高,续航能力增强。以往的 CCFL 需要一系列的电压变换器,损耗增大;LED
自身发光效率高。总的来说,能 节省传统显示屏约 40%的功耗,同样电量情况下,直接带来续航能力的提
升;
(3)屏幕亮度更高,更均匀性、色彩表现力强,对于色彩范围而言,LED 背光屏幕可以更容易的做到广
色区域。
8
Page 10

(4)环保:LED 背光屏幕不含汞,汞为有害物质,可对人体造成伤害,污染水源;
(5)LED 背光的寿命非常长。
2、产品功能及主要特点
条目
产品型号(Model) LE40T3 序
号
1 屏/显像管 TFT/CRT LTA400HF05
2 最大可视图像尺寸 Display area 40.0 inches
3 显像屏比例 Aspect ratio 16:9
4 固有分辨力 Resolution 1920*1080
5 有用平均亮度 Brightness 450cd/m2
6 对比度 Contrast(Darkroom) 5000:1
7 响应速度 Response time(ms) 6ms
8 模拟图象制式 Analog Color system PAL\SECAM
9 数字图像制式 digital Color system NTSC
图像(Picture)
10 伴音制式 Audio system DK、BG、I
11 可视角 Angel of view 178
12 频道数 NO.of preset channels 255
13 图像模式 Picture mode Yes
14 显示色彩 Color display 1.06Billon
15
16 120Hz 运动高清 MEMC YES
17
18 低音 Bass Yes
19 高音 Treble No
20 数字重低音 Digital Bass Yes
21 超重低音 Super woofer No
22 高低音提升 Treble/bass boost No
23 AV 立体声 AV stereo Yes
24 环绕立体声 Surrounding sound Yes
声音(Audio)
25 美国立体声 BTSC No
26 自动音量控制 Automatic Volume Control(AVC) Yes
27 自动音量限制 Auto-volume leveling Yes
28 均衡器 Equalizer Yes
29 静音 Mute Yes
30 MTS MTS No
3 多种声音模式 Multi-audio modes Yes
32
33 端子(Jack) 侧 AV 输入 Front AV input No
项目(Options) 英文 参数要求
简体中文
屏显语言 OSD languages
彩色增强 ColorMangement Yes
多种伴音模式 Multi-sound mode Yes
/English
备注
9
Page 11

34 下 AV 输入 AV input Yes 1
35 AV 输出 AV output Yes 1
36 侧 YUV 输入 YUV input Yes 1
37 下 YUV 输入 YUV input Yes 1
38 DSMB 数字接口 DSMB 接口 Yes 1
39 侧 HDMI HDMI Yes 2
条目
产品型号(Model) LE40T3 序
号
40 下 HDMI HDMI Yes 1
41 VGA VGA Yes 1
42
43 RS-232 接口 RS-232 jack No
44 USB 接口 USB jack Yes 1
45 耳机端子 Phone Yes 1
46
47 半透明菜单 Semitransparent menu No
48 SCAN 频道扫描 SCAN Yes
49 16:9 模式 16:9 mode Yes
50 画中画 PIP No
51 V-CHIP V-CHIP No
52 CCD CCD No
53 色温选择 Color temperature Yes
(Software)
54 PC 自动调整 PC Automatic Adjust Yes
55 Scaler Mode Scaler Mode No
56 软换台 Non-flashing channel changing Yes
57 日历 Calendar No
58 自动定时开机 Auto-timer on Yes
59
60 内置扬声器个数 NO. of built-in speakers Yes 2
61 外置音箱 NO. of outer speakers No
62 内部伴音输出功率 Audio output power(Built-in)(W) 2×8W
电器参数
63 外部伴音输出功率 Audio output power(outer)(W) No
(Electricity
64 整机功率 Total power input(W) 100W
parameter)
65 电压范围 Voltage range(V) 90-240V
66 电源频率 Power frequency(Hz) 50/60Hz
67
结构参数
68 净重 kg Net weight kg 14.5
(Design
69 净重(带底座)kg kg Net weight(Including Base) kg 18.4
parameter)
70 毛重 kg Gross weight kg 17.8
71
项目(Options) 英文 参数要求
Card Card jack Yes
软件
图文 TELETEXT No
睡眠关机时间 Time of sleep timer(MINS) 120s
毛重(带底座)kg Gross weight(Including Base) kg /
备注
1
10
Page 12

72
73 净尺寸(带底座)mm Net dimension (Including Base) mm 989*280*689
74 包装尺寸 mm Packaged dimension mm 1090*195*740
序
号
73
74
75 壁挂型号 Great Solid ZBG09
76 20 尺柜 Quantity for 20FT 192
77 40 尺柜 Quantity for 40FT 390
78 40 高柜 Quantity for 40HC 390
79 认证 Approval CCC
80
81 其他(Other) 其他(Other)
认证
(Approval)
净尺寸 mm Net dimension(mm) 989*31*631
条目
产品型号(Model) LE40T3
项目(Options) 英文
包装尺寸(含底座包
装)mm Packaged dimension(Including Base) mm
底座型号 Base
适用市场 Suitable market 国内
/
Z46T3-TS
参数要
求
备注
3、产品衍生关系
新型号 母本型号 通用功用 区别
LE40T3 LB42R3 相同 系列化扩展
4、产品命名方式
例如:L E 40 T3
产品结构、系列外观
型号尺寸
LED 背光屏
平板类型、液晶电视
11
Page 13

5、产品使用说明及产品改进介绍、检测工具
本调试说明只供 LE40T3 液晶电视机机芯调试用,调试前需对本机的各部分电路先进行装配检查,做
到各部分电路的元器件无错接、碰接、漏接、漏焊、当各部分电路符合电路原理图及装配要求后,方可开
始调试,调试中所用仪器必须事先通过计量,校对,保证精度,否则不得使用。
5.1 仪器、仪表、操作工具的配置:
A、适合 MST6M69FL 机芯的工装机一台;
B、数字电压表一只;
C、交流稳压电源一只;
D、工厂标准信号电缆输入系统;
E、40MHz 双踪示波器一只。
5.2 基板检查方法:
A、将主机板与 LE40T3 适合的工装机连接,连接公司调试信号。
B、接通交流 220V 电源,整机进入待机状态,按遥控或本控开机键,开机进入标准状态。
C、按遥控器“节目+"“节目–"键检查各节目号的图像和伴音信号,应有彩卡、方格、竖卡、彩
条、数码照片、三基色信号等不同制式的图像和伴音信号,要求无漏台,如有漏台,请用自动搜索
或手动搜索补齐此信号;
D、接收 PAL 彩色测试卡信号,用遥控器调音量、平衡、对比度、亮度、色度、锐度控制,声音、
画面应有变化。
D、电视制式检查:接收 PAL-D/K 制式的图像和伴音信号,在搜台时可以自动识别图像制式和声音
制式, 检查识别的图像和声音制式是否正确。
F、外端子输入输出检查:按“电视/视频"键,工装机上显示“信号源"菜单,包括:TV、AV、、
YPbPr/YCbCr、VGA、HDMI,示波器上应可观察到相应的音、视频输入输出信号,工装机上图像和
伴音信号应正常,同时还需要检测 AV 输出信号是否正常。
6、使用者的警告 ! Warning
6.1 警告:
为了防止电击或火灾,请不要将电视放到有雨雾的场所。不要使用任何可能对显示屏造成刮伤、毁坏的硬
物体磨擦或敲击显示屏。
6.2 注意:
12
Page 14

禁止在未经授权的情况下以任何方式私自更改本产品。
6.3 供电电源:
本产品直接用交流电供电,供电电压值见电视后盖标牌上的说明。将交流电源线一端按照电视后端子标牌
标注位置插入电源端口,另一端接在电源插座即可完成电源连接。
在有雷电或交流供电断电的时候,请拔掉电源插头和天线插头。电源线不允许有任何其它东西帖靠或缠绕
在上面,也不要将电源线置于可能受到毁坏的地方。
6.4 使用场所:
避免电视的屏幕直接对着外界的强光或阳光。避免电视受到不必要的任何振动,不要将电视置于过湿、过
热或多灰尘的地方。保证电视有良好的空气对流,不要将任何物体覆盖在后盖的通风口上。
6.5 清洁:
在清洁电视屏之前将电源插头拔下。使用干净的软布擦拭显示屏和电源线。如果显示屏需要特别的清洗,
请使用干净、潮 湿的抹布进行擦拭。请不要使用任何汽油、酒精、苯类有机液体或气雾状清洁剂。请不要
用力过大以致损坏屏幕
。
6.6 注意事项:
显示屏属于精密显示器件,屏幕上有个别的亮点、暗点,或红、绿、蓝色之类的少许死像素,这是正常现
象,不属于不良品。
A、显示屏长时间显示同一个静止画面时,会在电视上留下一个残影,这种损坏属于使用不当造成的。
B、电视在连接各种系统时,可能会出现系统不匹配的现象,特别是连接电脑时,有些显卡可能不匹配,
而且本机只识别刷新率为 60HZ。
C、由于本机使用嵌入式的操作系统,软件比较复杂,可能在工作中或待机中出现软件问题,如果重新启
动能恢复正常,就不属于故障。
7、案例预防措施、产品使用及日常维护保养知识.
7.1 液晶屏材质:液晶屏幕的表面看似一片坚固的黑色屏幕,其实在这层屏幕上厂商都会加上一层特殊的
涂层。这层特殊涂层的主要功能就在于防止使用者在使用时所受到其它光源的反光以及炫光,同时加强液
晶屏幕本身的色彩对比效果。不过因为各厂商所使用的这层镀膜材料也不尽相同,当然它的耐久程度也会
因此有所差异。因此使用者在清洁时,千万不可随意用任何碱性溶液或化学溶液擦拭屏幕表面。液晶面板
的污迹大体分为两种,一种是因为日积月累所粘留的空气中的灰尘,一种是使用者在不经意中留下的指纹
和油污。
13
Page 15

7.2 由于液晶面板本身复杂的物理结构设计,所以在擦拭液晶面板的时候,千万不要用不知名的清洁液,
更不能使用清水和酒精溶液。这里误区有三:
误区1、用软布(眼镜布)或纸巾来擦拭液晶屏幕,建议使用专用的液晶擦拭布 千万不能用眼镜布和纸巾
来擦拭液晶屏幕,很容易划伤“娇气"的液晶屏幕。对于第一类灰尘,我们可以使用专用的液晶擦拭布如
supermax2020在液晶面板上轻轻擦拭,一般来说指纹和油污并非如前者那样容易清除,但是如果使用专用的
液晶擦拭布,这就不是一个难题了,因为专用的液晶擦拭布采用的是特殊纤维,具有比一般高档眼镜布要
好的多的擦拭效果,而且柔软不会擦伤屏幕,同时还具有消散静电的独特功能; 特别提醒: 一般的布和
纸巾是液晶面板的杀手!
误区2、用清水清洁液晶屏幕。
使用清水,液体极易滴入液晶显示器和设备内部,这样会造成设备电路短路,从而烧坏昂贵的电子设备。
对于指纹和油污,清水照样无能为力
误区3、
一般来说,酒精是一种常用的有机溶剂,可以溶解一些不容易擦去的污垢,如果只是用来清洁显示器外壳,
也没什么不良影响。但一定不要用酒精来清洁液晶屏幕,因为现在的液晶屏幕,都在屏幕上涂有特殊的涂
层,使屏幕具有更好的显示效果,一旦使用酒精擦拭显示器屏幕,就会溶解这层特殊的涂层, 对显示效果
造成不良影响。 用化学溶剂就更不可取,这种化学制剂对“骄气"的液晶面板简直就是毁灭性的打击。
如果您的屏幕不小心沾上了果汁、口水或者咖啡等不易清楚的污渍,千万不要用纸巾或者眼镜布之类的来
使劲擦拭,因为这样很容易在擦掉污渍的同时也擦伤液晶屏幕;您可以用液晶专用擦拭布如supermax2020
喷加适量无离子水,使supermax2020略具潮湿感,然后再去擦拭,就可以既让污
用酒精和其它一些化学溶剂清洁液晶屏幕。
。
渍无踪迹也不会擦伤您的液
晶屏幕。
8、产品主要技术参数(含所用机芯、屏、电源的规格)
1、液晶屏:SAMSUNG
规格:LTA400HF05
2、电源:屏自带
3、机芯板:MST6M69FL
4、遥控器:HTR-D01A
9、原理图及接线图
9.1 原理图
14
Page 16

5
4
3
2
1
POWER INPUT
R19
R19
10K
10K
R21 100RR21 100R
C334
C334
10uF
10uF
5VA
L23 FB/3AL23 FB/3A
+
+
CA4
CA4
470uF/16V
470uF/16V
+
+
CA12
CA12
470uF/16V
470uF/16V
7
6
Q6
3904Q63904
Q7
3904Q73904
5Vstb
5Vstb
8
5
R151KR15
1K
R29 NC/0RR29 NC/0R
R17 4.7KR17 4.7K
1
2 3
R20
R20
10K
10K
R24 10KR24 10KR319
1
2 3
5Vstb
9
1
2
3
H6
4
PADH6PAD
C104
C104
0.1uF
0.1uF
ADJ-PWM 3
ON_PBACK 3
L73&L80 select FB
or NC depending on
different Panel!
ON_PANEL3
8
9
1
7
2
3
6
H10
H10
4
5
PAD
PAD
3
12VA
7
6
3.3VSTB_MCU
L73
L73
FB/3A
FB/3A
L80
L80
NC/FB/3A
NC/FB/3A
R27 10KR27 10K
8
9
4
5
PAD
PAD
KEY0-in3
MCU_IR
C69
C69
0.1uF
0.1uF
1
2
3
H11
H11
L21 FB/2AL21 FB/2A
C103
C103
0.1uF
0.1uF
2
4
6
8
R327 100RR327 100R
10
12
CA9
CA9
470uF/16V
470uF/16V
R319
2.2K
2.2K
R346 10KR346 10K
R320 NC/10KR320 NC/10K
C10
C10
0.1uF
0.1uF
12VA12VA
PW-ON/OFF-INV
PB-ON/OFFPB-ADJUST
5VS
+
+
C8
CA7
CA7
0.1uFC80.1uF
100uF/16V
100uF/16V
P-ON/OFF
PWR-ON/OFF
PWR-ON/OFF 3,4
LOW: ON
HIGH: STANDBY
CN10 Power_MainCN10 Power_Main
112
5VS
D D
CN11
CN11
DSMB_PWR
DSMB_PWR
2
3
C C
334
556
778
9910
111112
12VA
1
PW-ON/OFF-INV
C9
0.1uFC90.1uF
Q26
Q26
3904
3904
5VS
+
+
TO INVERTER
PB-ADJUST13
PB-ADJUST
BRI_IN13
R31 0RR31 0R
R16 100KR16 100K
+
+
C255
C255
10uF
10uF
PB-ON/OFF
5V DC-DC FOR 5VA
12VA
R119 100KR119 100K
C5
C15
C15
0.1uF
0.1uF
10nC510n
R18
R18
2.2K
2.2K
C45
C45
4.7uF
4.7uF
B B
C39
C39
0.1uF
0.1uF
2
7
6
8
4
U4 MP1484U4 MP1484
VCC
OUT
EN
COMP
BST
SS
GND
PAD9FB
L5 15uHL5 15uH
3
D3
D3
NC/1N5822
NC/1N5822
54
12
C130
C130
R5
0.1uF
0.1uF
12KR512K
R14
R14
2.7K
2.7K
3
C43
C43
10n
10n
1
5
5V DC-DC FOR USB
R7
12KR712K
R36
R36
2.7K
2.7K
8
5
5V_USB
C134
C134
0.1uF
0.1uF
9
1
2
3
H5
4
PADH5PAD
12VA
C54
C54
4.7uF
4.7uF
ON_USB
ON_USB3
A A
HOLE
7
6
R72 10KR72 10K
8
9
1
2
3
H1
4
5
PADH1PAD
5
C19
C19
0.1uF
0.1uF
R73
R73
100K
100K
1
C67
C67
0.1uF
0.1uF
8
7
6
5
C7
10nC710n
Q29
Q29
3904
3904
R40
R40
2.2K
2.2K
2 3
9
1
2
3
H2
4
PADH2PAD
C64
C64
0.1uF
0.1uF
7
6
2
7
6
8
4
8
5
U3 MP1484U3 MP1484
VCC
OUT
EN
COMP
BST
SS
GND
PAD9FB
9
1
2
3
H3
4
PADH3PAD
L7 15uHL7 15uH
3
D5
D5
NC/1N5822
NC/1N5822
H4
54
12
7
6
3
C70
C70
10n
10n
1
5
8
9
1
7
2
3
6
4
5
PADH4PAD
4
5VS 3.3VSTB_MCU
C417
C417
2.2uF
2.2uF
KEY0-in
R169 1KR169 1K
P-ON/OFF
C172
C172
0.1uF
0.1uF
3.3VSTB_MCU
R531
R531
10K
10K
1
3 2
R22
R22
R384
R384
10K
10K
100K
100K
R76 4.7KR76 4.7K
8
9
7
6
4
5
IR-in
PAD
PAD
1
2
3
H12
H12
Q32
Q32
3906
3906
Q9
3904Q93904
C13
C13
1uF
1uF
Q11
Q11
3904
3904
U7 AMS1117-ADJU7 AMS1117-ADJ
3
VIN
C141
C141
0.1uF
0.1uF
U14
U14
PD78F9202
PD78F9202
1
KEY
2
ON/OFF
3
GND
VCC4RESET
SCL5SDA
IR-in 3,8
U5
9435U59435
1
S
2
S
3
S
4
G
R44
R44
10K
10K
7
6
2
2
VOUT
4
8
5
Vout
GND
1
LED-R
LED-G
D
D
D
D
9
4
R517
R517
120R1%
120R1%
3.3VSTB_MCU
R88
R88
4.7K
4.7K
10
IR
PAD
PAD
R233 100RR233 100R
9
8
PM_RESET
7
6
3.3VSTB_MCU
6M69_STATUS PWR-ON/OFF
VCC-Panel5VA
5
6
7
8
CA94
CA94
220uF/16V
220uF/16V
1
2
3
Title
Title
Title
H15
H15
Size Document Number Rev
Size Document Number Rev
Size Document Number Rev
A3
A3
A3
Date: Sheet of
Date: Sheet of
Date: Sheet of
C83
C83
C418
C418
0.1uF
0.1uF
10uF
R518
R518
200R1%
200R1%
R177 100RR177 100R
R175 100RR175 100R
R168
R168
10K
10K
PM_RESET
R229 100RR229 100R
R290 NC/100RR290 NC/100R
H7NCH7
1
NC
10uF
R78
R78
4.7K
4.7K
C174
C174
100p
100p
MCU_IR
8
9
1
7
2
3
6
1
H16
H16
4
5
PAD
PAD
114Wednesday, August 05, 2009
114Wednesday, August 05, 2009
114Wednesday, August 05, 2009
R179 100RR179 100R
6M69_STATUS
LED_RED 3
SDA
SDA 3,5,11,13
SCL
SCL 3,5,11,13
PM_RESET 3
STATUS
STATUS 3
H9NCH9
H8NCH8
1
NC
MST6M69FL+MST6M20S LED
MST6M69FL+MST6M20S LED
MST6M69FL+MST6M20S LED
SYSTEM POWER 1.0
SYSTEM POWER 1.0
SYSTEM POWER 1.0
H13NCH13
1
1
NC
NC
Page 17

5
4
3
2
1
+3.3V FOR MST
D D
5Vstb +3.3VDD
C419
C419
2.2uF
2.2uF
+3.3VDD
U38 AMS1117-ADJU38 AMS1117-ADJ
3
VIN
C219
C219
0.1uF
0.1uF
L61
L61
FB/2A
FB/2A
VOUT
Vout
GND
1
AVDD_MPLL
C271
C271
2.2uF
2.2uF
2
4
C2011nC201
1n
R528
R528
120R1%
120R1%
C202
C202
0.1uF
0.1uF
R527
R527
200R1%
200R1%
C420
C420
10uF
10uF
C196
C196
0.1uF
0.1uF
+1.26V FOR MST CORE
5Vstb
C71
C71
4.7uF
4.7uF
R35 100KR35 100K
C24
C24
0.1uF
0.1uF
C58
C58
10n
10n
R47
R47
2.2K
2.2K
U9 MP1484U9 MP1484
2
7
6
8
C41
C41
0.1uF
0.1uF
4
9
VCC
EN
COMP
SS
GND
PAD
OUT
BST
FB
3
C57
C57
10n
10n
1
5
L8 15uHL8 15uH
3
D8
D8
NC/1N5822
NC/1N5822
54
12
R49
R49
1K_1%
1K_1%
R33
R33
2.43K_1%
2.43K_1%
C381
C381
2.2uF
2.2uF
VDDC
C56
C56
0.1uF
0.1uF
+
+
CA14
CA14
470uF/16V
470uF/16V
0.923*(1+Rup/Rdown)=1.29V---Rup=1K, Rdown=2.49K
C C
5Vstb +3.3AVDD
C421
C421
2.2uF
2.2uF
+3.3AVDD
B B
U25 AP1084-ADJU25 AP1084-ADJ
3
C177
C177
0.1uF
0.1uF
L55
L55
FB/2A
FB/2A
L56
L56
FB/2A
FB/2A
VIN
VOUT
1
C274
C274
2.2uF
2.2uF
C306
C306
2.2uF
2.2uF
Vout
GND
2
4
AVDD_ADC
C1881nC188
1n
AVDD_SIF
C2681nC268
1n
R529
R529
120R1%
120R1%
C189
C189
0.1uF
0.1uF
C190
C190
0.1uF
0.1uF
R530
R530
200R1%
200R1%
C234
C234
0.1uF
0.1uF
C422
C422
10uF
10uF
C178
C178
0.1uF
0.1uF
+3.3AVDD
L65
L65
FB/2A
FB/2A
L66
L66
FB/2A
FB/2A
C327
C327
2.2uF
2.2uF
C335
C335
2.2uF
2.2uF
AVDD_DVI
C267
C267
0.1uF
0.1uF
AVDD_OTG
C328
C328
0.1uF
0.1uF
+2.5V FOR DDR
+2.7V
L75 FB/2AL75 FB/2A
VDDM VDDM
C322
C322
10uF
10uF
AVDD_LDVIVDDC VDDC
L58
L58
FB/2A
FB/2A
C180
C180
C181
C181
0.1uF
0.1uF
0.1uF
0.1uF
C203
C203
0.1uF
0.1uF
C182
C182
0.1uF
0.1uF
C250
C250
0.1uF
0.1uF
C183
C183
0.1uF
0.1uF
C277
C277
0.1uF
0.1uF
C184
C184
0.1uF
0.1uF
C317
C317
0.1uF
0.1uF
C185
C185
0.1uF
0.1uF
C320
C320
0.1uF
0.1uF
C186
C186
0.1uF
0.1uF
C318
C318
0.1uF
0.1uF
C187
C187
0.1uF
0.1uF
C319
C319
0.1uF
0.1uF
C321
C321
2.2uF
2.2uF
VDDP
C338
C338
2.2uF
2.2uF
AVDD_AU
C2691nC269
1n
C337
C337
0.1uF
0.1uF
C191
C191
0.1uF
0.1uF
C323
C323
0.1uF
0.1uF
C339
C339
0.1uF
0.1uF
C340
C340
0.1uF
0.1uF
L63
L63
FB/2A
FB/2A
L60
L60
FB/2A
FB/2A
4
L57
L57
FB/2A
FB/2A
L62
L62
FB/2A
A A
FB/2A
5
AVDD_LPLL
C272
C272
2.2uF
2.2uF
AVDD_MEMPLL
C270
C270
2.2uF
2.2uF
C204
C204
0.1uF
0.1uF
C197
C197
0.1uF
0.1uF
Title
Title
Title
MST6M69FL+MST6M20S LED
MST6M69FL+MST6M20S LED
MST6M69FL+MST6M20S LED
Size Document Number Rev
Size Document Number Rev
Size Document Number Rev
POWER FOR MST6M69FL 1.0
POWER FOR MST6M69FL 1.0
POWER FOR MST6M69FL 1.0
A4
A4
A4
Date: Sheet
Date: Sheet of
3
Date: Sheet of
2
of
214Wednesday, August 05, 2009
214Wednesday, August 05, 2009
214Wednesday, August 05, 2009
1
Page 18

5
4
3
2
1
USB
ADJ-PWM 1
PWR-ON/OFF 1,4
ON_PBACK 1
ON_PANEL 1
HD_SW0 8
HD_SW1 8
A-SW0 7
A-SW1 7
RST_AMP 11
MUTE_AMP 11
MUTE_HP 11
MUTE_DET 11
ON_USB 1
HOTPLUG 6
STATUS 1
RST_6M20 13
R110 100RR110 100R
R113 100RR113 100R
ISP-TXD 7,8
ISP-RXD 7,8
DD45
DD45
ESD-0402
ESD-0402
1 2
R411
R411
390
390
C126
C126
NC/47p
NC/47p
Q46
Q46
3904
3904
PWM0 5
5
USB_D-
USB_D+
R183
R183
8.2K
8.2K
KEY1-in
KEY0-in
C113
C113
0.1uF
0.1uF
R373
R373
390
390
2 3
TXDISP-TXD
Q47
Q47
3904
3904
1
5V_USB
+
+
CA33
CA33
100uF/16V
100uF/16V
R387 1kR387 1k
R381 1kR381 1k
KEY0-in
5VS
更改T1系列灯暗问题,将
R393
R393
4.7k
4.7k
R394 1KR394 1K
R337 10KR337 10K
1
2 3
R419 NC/10KR419 NC/10K
R249 10KR249 10K
C136
C136
0.1uF
0.1uF
Close to IC as close as
possible with width trace
KEY1
KEY0
KEY0-in 1
IR-in 1,8
IR_SYNC
LED2
LED1
LED_RED 1
AVDD_DVI
C166 0.1uFC166 0.1uF
C167 0.1uFC167 0.1uF
C168 0.1uFC168 0.1uF
R373改为390R
VCLP
REFP
C398NCC398
NC
REFM
DSMB_Vin+8
AV1-Vin+9
ATV-Vin+5
ATV-Vin-5
AVDD_ADC
CVBS_OUT9
AVDD_SIF
TV-SIFP5
TV-SIFM5
MUX-Lin7
MUX-Rin7
VDDC
AV1-Lin9
AV1-Rin9
TV1-L/R5
MUTE_DET
EDID_WP6
HD_SW08
RXBCLKN6
RXBCLKP6
RXB0N6
RXB0P6
AVDD_DVI
RXB1N6
RXB1P6
RXB2N6
RXB2P6
HOTPLUG6
R209 390R1%R209 390R1%
DDCBSDA6
DDCBSCL6
HS_RGB7
VS_RGB7
REFP
REFM
VGA-Bin+7
SOG7
VGA-Gin+7
VGA-Rin+7
PB-8
PB+8
Y-8
Y+8
SOY8
PR-8
PR+8
AVDD_ADC
DSMB_HS8
DSMB_VS8
R116 10RR116 10R
AVDD_ADC
CVBS_OUT
C111 0.1uFC111 0.1uF
C112 0.1uFC112 0.1uF
TV1-L/R
RTC XTAL
R502 4.7MR502 4.7M
Y4 32.768KY4 32.768K
RTC_XOUT
1 2
C133
C133
12p
12p
C401
C401
10uF
10uF
Close to IC
with width trace
L51
L51
FB/2A
FB/2A
R150 1KR150 1K
R149 1KR149 1K
HD_SW0
RXBCLKN
RXBCLKP
RXB0N
RXB0P
AVDD_DVI
RXB1N
RXB1P
RXB2N
RXB2P
HOTPLUG
HDMI-REXT
DDCBSDA
DDCBSCL
AVDD_ADCAVDD_ADC
C53 10nC53 10n
AVDD_SIF
SIF_IN+
SIF_INVDDC
C114 NC/2.2uFC114 NC/2.2uF
C127 NC/2.2uFC127 NC/2.2uF
C399 0.1uFC399 0.1uF
3
AUVRM
AUVRP
AUVAG
C138
C138
0.1uF
0.1uF
C164 22pC164 22pL71 FB/2AL71 FB/2A
C165 22pC165 22p
10
11
12
13
14
15
16
17
18
19
20
21
22
23
24
25
26
27
28
29
30
31
32
33
34
35
36
37
38
39
40
41
42
43
44
45
46
47
48
49
50
51
52
53
54
55
56
57
58
59
60
61
62
63
AUCOM
64
RTC_XIN
C135
C135
12p
12p
C139
C139
C137
C137
4.7uF
4.7uF
1uF
1uF
AVDD_RTC
4
CN9
CN9
USB_4P
USB_4P
1
1 VCC
D D
C C
4 GND
SHIELD
SHIELD
+3.3AVDD
2 D-
3 D+
R362 4.7KR362 4.7K
R372 4.7KR372 4.7K
R378 4.7KR378 4.7K
R404 10KR404 10K
R368 4.7KR368 4.7K
R383 4.7KR383 4.7K
R389 4.7KR389 4.7K
R386 4.7KR386 4.7K
R385 4.7KR385 4.7K
R473 4.7KR473 4.7K
R388 4.7KR388 4.7K
R361 4.7KR361 4.7K
R366 4.7KR366 4.7K
R367 4.7KR367 4.7K
R379 4.7KR379 4.7K
R397 4.7KR397 4.7K
DEBUG PORT
CN12
CN12
Debug
Debug
1
2
3
4
Debug Port
Debug Port
5
KEY PAD
CN14
CN14
Key
Key
4
3
2
B B
A A
1
CN15
CN15
IR_LED
IR_LED
1
2
3
4
5
Mode Selection
+3.3AVDD
R11 1KR11 1K
R23 NCR23 NC
R26 NCR26 NC
R25 10KR25 10K
2
3
4
5
6
ADJ-PWM
PWR-ON/OFF
ON_PBACK
ON_PANEL
HD_SW0
HD_SW1
A-SW0
A-SW1
RST_AMP
MUTE_AMP
MUTE_HP
MUTE_DET
ON_USB
HOTPLUG
LED1
LED2
STATUS
RST_6M20
5VA
R219
R219
10K
10K
5VS
3.3VSTB_MCU +3.3AVDD
C125
C125
0.1uF
0.1uF
DD44
DD44
ESD-0402
ESD-0402
1 2
IR-in
LED-R
LED-B
PWR-ON/OFF
R147 5RR147 5R
R148 5RR148 5R
DD27
DD27
DD30
DD30
ESD-0402
ESD-0402
ESD-0402
ESD-0402
1 2
1 2
R220
R220
10K
10K
ISP-RXD RXD
R232 NC/0R232 NC/0
R182
R182
8.2K
8.2K
C115
C115
0.1uF
0.1uF
R382
R382
4.7K
4.7K
DD49
DD49
ESD-0402
ESD-0402
1 2
PWM0
R208 0RR208 0R
1
GPIO0/CEC
2
GPIO1
3
GPIO2
4
RXCN
5
RXCP
6
RX0N
7
RX0P
8
AVDD33_DVI
9
RX1N
RX1P
AVSS_DVI
RX2N
RX2P
HOTPLUG
REXT
DDCDA_DA
DDCDA_CK
HSYNC1
VSYNC1
VCLP
REFP
REFM
BIN1P
SOGIN1
GIN1P
RIN1P
BIN0M
BIN0P
GIN0M
GIN0P
SOGIN0
RIN0M
RIN0P
AVDD33_ADC2
AVSS_ADC2
HSYNC0
VSYNC0
C1(CVBS7P)
Y1(CVBS5P)
C0(CVBS6P)
Y0(CVBS4P)
CVBS3P
CVBS2P
CVBS1P
VCOM1
CVBS0P
VCOM0
AVDD33_ADC
CVBS_OUT
AVSS_CVBSO
AVDD33_SIF
SIF_INP
SIF_INM
VDDC12
GNDC
LINE_IN_0L
LINE_IN_0R
LINE_IN_1L
LINE_IN_1R
LINE_IN_2L
LINE_IN_2R
LINE_IN_3L
LINE_IN_3R
VIM0
C402
C402
NC/0.1uF
NC/0.1uF
+3.3AVDD
Battery-3V
12
BT2
BT2
BATTERY
BATTERY
R212 910R1%R212 910R1%
R2211MR221
Y3
1M
12MHZY312MHZ
1 2
AVDD_MPLL
XTALI
XTALO
AVDD_MPLL
TESTPIN
254
251
256
252
253
255
257
PAD
XTALI
PWM2
XTALO
TESTPIN
AVDD33_MPLL
AVSS_AUADC65AVDD33_AUSDM
AUVRM66AUVRP67AUVAG68LINE_OUT_1L72LINE_OUT_1R(DACO_S)
69
AUVRM
AUVRP
AUVAG
AVDD_AU
AVDD_AU
AUOUTL1
R12 NC/6.8KR12 NC/6.8K
U22 NC/RT9169
U22 NC/RT9169
1
5
Vin
Vin
VOUT
VOUT
2
Gnd
Gnd
3
EN
EN
NC
NC
4
D10
D10
NC/BAT54C
NC/BAT54C
AVDD_LDVI
VDDM
AVDD_OTG
DQS0
MDATA6
MDATA7
USB_D-
USB_D+
AVDD_OTG
OTG_REXT
248
242
243
247
250
249
246
244
245
USB_DP
USB_DM
SDR_DQ1
SDR_DQ0
AVSS_OTG
OTG_REXT
DDR_DQS0
AVDD_DDR
AVDD33_OTG
AVDDL12_DVI
LINE_OUT_0L(DACO_L)
LINE_OUT_0R(DACO_R)
VDDP3376BT656_D0/GPIO29
LINE_OUT_2L70LINE_OUT_2R71GNDP77VDDC12
73
AUOUTR1
L46
L46
NC/FB/2A
NC/FB/2A
R13
R13
NC/4.7K
NC/4.7K
L48
L48
NC/FB/2A
NC/FB/2A
74
AUOUTL0
75
VDDP
11
VDDP
AUOUTR0
1.2V
11
DVDD12_RTC
78
79
DVDD_RTC
VDDC
VDDC
C403
C403
NC/0.1uF
NC/0.1uF
MDATA5
DQM0
239
240
241
GNDM
SDR_DQ2
SDR_DQM0
AVDD33_RTC
XOUT_RTC
XIN_RTC
80
82
81
RTC_XIN
AVDD_RTC
RTC_XOUT
11
11
C404
C404
NC/0.1uF
NC/0.1uF
MDATA1
MDATA0
MDATA2
MDATA4
MDATA3
234
235
236
237
238
SDR_DQ6
SDR_DQ5
SDR_DQ4
SDR_DQ3
BT656_D1/GPIO30
BT656_D2/GPIO31
BT656_D3/GPIO32
83
84
85
86
87
MUTE_AMP
LED2
A-SW1
A-SW0
MUTE_HP
VGA_Detect7
SDR_DQ7
BT656_D4/GPIO33
MDATA15
MDATA14
VDDM
DQM1
233
232
231
SDR_DQ8
SDR_DQ9
AVDD25_DDR
U39
U39
MST6M69FL
MST6M69FL
BT656_D5/GPIO34
BT656_D6/GPIO35
BT656_D7/GPIO36
88
89
90
LED1
ON_USB
HD_SW1
VDDM
VDDC
WEZ
MDATA9
MDATA8
MDATA13
DQS1
MDATA12
MDATA11
MDATA10
230
229
228
227
226
225
VDDC12
SDR_DQ10
SDR_DQ11
SDR_DQ12
SDR_DQM1
GPIO3791GPIO3892BT656_CLK/GPIO3993VDDP33
GNDC94VDDC12
96
95
VDDC
EEPWP
RST_AMP
VDDC
R390
R390
R391
R391
100R
100R
100R
100R
HDMI_S26HDMI_S1
CASZ
221
224
219
222
223
220
GNDM
SDR_DQ15
SDR_DQ13
SDR_DQ14
DDR_DQS1
AVDD25_DDR
GPIO84/I2S_IN_WS
GPIO83/I2S_IN_BCK
GPIO82/I2S_IN_SD
GPIO81/SPDIF_IN
GPIO80/SPDIF_OUT
GPIO79/I2S_OUT_WS
97
98
99
100
101
102
I2S_LRCLK
I2S_MCLK
ODSEL-2
ODSEL-1
STATUS
RST_6M20
I2S_MCLK
I2S_LRCLK
6
3
BA0
MADR12
BA1
RASZ
214
217
218
215
216
SDR_BA1
SDR_BA0
SDR_WE_N
SDR_RAS_N
SDR_CAS_N
GPIO77/I2S_OUT_BCK
GPIO76/I2S_OUT_SD
GPIO71/I2S_OUT_MUTE
GPIO78/I2S_OUT_MCK
106
103
104
105
107
I2S_SCLK
I2S_SD0
VDDP
RP40 RP22RX4
RP40 RP22RX4
11
I2S_SD0
I2S_SCLK
VDDP
VDDM
MADR6
MADR10
MADR11
MADR7
MADR9
MADR8
208
213
212
210
209
207
211
SDR_AD8
SDR_AD7
SDR_AD9
SDR_AD12
SDR_AD11
SDR_AD10
AVDD25_DDR
SD_PWRCTL/GPIO70
SD/MS_D0/GPIO69
SD/MS_D1/GPIO68
SD/MS_D2/GPIO67
SD/MS_D3/GPIO66
SD_WPDZ/GPIO65
SD_CMD/GPIO64
108
109
110
111
112
113
114
8642
8642
8642
8642
7531
7531
7531
7531
RP41 RP22RX4
RP41 RP22RX4
11
11
11
10
10
SD_CMD
SD_DAT310SD_DAT210SD_DAT110SD_DAT0
SD_WPDZ
SD_PWRCTL
MADR0
MADR5
MADR1
MADR2
MADR3
MADR4
206
205
204
202
203
201
SDR_AD5
SDR_AD6
SDR_AD4
SDR_AD3
SDR_AD1
SDR_AD2
SAR0
SD/MS_CLK/GPIO63
UART_TX(DDCA_DAT)
UART_RX(DDCA_CLK)
IRIN
INT/GPIO4
119
120
117
118
115
116
TXD
KEY0
KEY1
RXD
IR_SYNC
C400 NCC400 NC
10
10
10
SD_CLK
AVDD_MEMPLL
MCLK-
CKE
MCLK+
199
200
198
197
SDR_AD0
SDR_CKE
SDR_CKO
DDR_CKO_N
AVDD33_MEMPLL
SAR1
SAR2
SAR3
PWM0
PWM1
121
122
123
124
PWM0
PWR-ON/OFF
FLASH_WP#
VDDM
VDDC
HDMI-CEC
VDDC
MDDR_VREF
196
194
193
195
GNDC
MVREF
GPIO13
VDDC12
DDR_DQS2
AVDD25_DDR
SDR_DQ16
SDR_DQ17
SDR_DQM2
SDR_DQ18
SDR_DQ19
SDR_DQ20
SDR_DQ21
SDR_DQ22
SDR_DQ23
AVDD25_DDR
SDR_DQ24
SDR_DQ25
SDR_DQM3
SDR_DQ26
SDR_DQ27
SDR_DQ28
SDR_DQ29
SDR_DQ30
SDR_DQ31
AVDD25_DDR
DDR_DQS3
MS_INS/GPIO53
SD_CDZ/GPIO54
GPIO97/LVSYNC
GPIO98/LHSYNC
AVSS_LPLL
AVDD33_LPLL
R_ODD7/RXO0-
R_ODD6/RXO0+
R_ODD5/RXO1-
R_ODD4/RXO1+
R_ODD3/RXO2R_ODD2/RXO2+
R_ODD1/RXOC-
R_ODD0/RXOC+
G_ODD7/RXO3G_ODD6/RXO3+
G_ODD5/RXO4G_ODD4/RXO4+
G_ODD3/RXE0G_ODD2/RXE0+
G_ODD1/RXE1G_ODD0/RXE1+
B_ODD7/RXE2B_ODD6/RXE2+
B_ODD5/RXEC-
B_ODD4/RXEC+
B_ODD3/RXE3B_ODD2/RXE3+
B_ODD1/RXE4B_ODD0/RXE4+
SD_OCDT/GPIO
I2C_SDA(DDCR_DA)
I2C_SCL(DDCR_CK)
PWM3
HWRESET
126
127
125
128
RESET
SCL
SDA
PWM3
R226 10KR226 10K
R353
R353
1K_1%
1K_1%
6
C228
C228
R356
R356
0.1uF
0.1uF
1K_1%
1K_1%
192
191
190
189
188
187
GNDM
186
185
184
183
182
181
180
179
178
177
176
175
174
173
172
GNDM
171
170
169
168
167
166
165
164
163
VDDC12
162
GNDC
161
160
159
158
157
156
155
154
153
152
151
150
149
148
147
VDDP33
146
145
144
143
142
141
140
139
138
137
136
135
134
133
VDDP33
132
SPI_CZ0
131
SPI_DO
130
SPI_DI
129
SPI_CK
SCL 1,5,11,13
SDA 1,5,11,13
ADJ-PWM
C3241nC324
1n
DQS2
MDATA23
MDATA22
DQM2
MDATA21
MDATA20
MDATA19
MDATA18
MDATA17
MDATA16
MDATA31
MDATA30
DQM3
MDATA29
MDATA28
MDATA27
MDATA26
MDATA25
MDATA24
DQS3
R89 100RR89 100R
R90 100RR90 100R
VDDC
AVDD_LPLL
RP31 33RX4
RP31 33RX4
7531
7531
RP32 33RX4
RP32 33RX4
7531
7531
RP33 33RX4
RP33 33RX4
7531
7531
VDDP
RP34 33RX4
RP34 33RX4
7531
7531
RP35 33RX4
RP35 33RX4
7531
7531
RP37 33RX4
RP37 33RX4
7531
7531
C231
C231
NC/22p
NC/22p
MDATA[16..31]
MDATA[0..15]
DQM[0..3]
DQS[0..3]
MADR[0..12]
BA0
BA1
CKE
WEZ
CASZ
RASZ
MCLK+
MCLK-
VDDM
VDDM
VDDM
ON_PBACK
ON_PANEL
8642
8642
8642
8642
8642
8642
8642
8642
8642
8642
8642
8642
VDDP
SPI_CZ
SPI_DO
SPI_DI
SPI_CK
2
A0A0+
A1A1+
A2A2+
ACAC+
A3A3+
A4A4+
B0B0+
B1B1+
B2B2+
BCBC+
B3B3+
B4B4+
MDATA[16..31] 4
MDATA[0..15] 4
DQM[0..3] 4
DQS[0..3] 4
MADR[0..12] 4
BA0 4
BA1 4
CKE 4
WEZ 4
CASZ 4
RASZ 4
MCLK+ 4
MCLK- 4
MS_INS 10
SD_CDZ 10
VDDC
AVDD_LPLL
A0- 13
A0+ 13
A1- 13
A1+ 13
A2- 13
A2+ 13
AC- 13
AC+ 13
A3- 13
A3+ 13
A4- 13
A4+ 13
VDDP
B0- 13
B0+ 13
B1- 13
B1+ 13
B2- 13
B2+ 13
BC- 13
BC+ 13
B3- 13
B3+ 13
B4- 13
B4+ 13
VDDP
+3.3AVDD
R3961KR396
R4021KR402
1K
1K
Q49
Q49
1
3904
3904
2 3
Q50
Q50
1
3904
3904
2 3
ODSEL-1
ODSEL-2
R395
R395
10K
10K
R380 10KR380 10K
R412 NCR412 NC
SERIAL FLASH
+3.3AVDD
22
21
24
23
1
HOLD
2
3
4
5
6
7
8
VCC
NC1
NC2
NC3
NC4
SO16-CS
DO
SOP8-CLK
SOP8-VCC
SOP8-HOLD
SOIC8
SOIC8
208mil
208mil
SOP8-CS17SOP8-DO18SOP8-WP/Vpp19VSS
20
+3.3AVDD
SPI_DO
C333
C333
0.1uF
0.1uF
R392
R392
10K
10K
SPI_CZ
RESET CIRCUIT
+3.3AVDD
3
D9
BAV99D9BAV99
R236
R236
100K
100K
R257 10KR257 10K
C304
C304
2.2uF
2.2uF
HDCP_KEY
R213
R213
4.7K
4.7K
1
2
3
EEPROM
1
2
3
1
1
U29 24C04U29 24C04
A0
A1
A2
GND4SDA
U23 24C64U23 24C64
A0
A1
A2
GND4SDA
3
VCC
SCL
VCC
SCL
WP
WP
2
Q21
Q21
3906
3906
3 2
R484,R485
S1
NC/ShieldS1NC/Shield
2
4
C330 10uFC330 10uF
R240
R240
RESET
100R
100R
R239
R239
C2321nC232
47K
47K
1n
+3.3AVDD
8
WP_HDCP
7
SCL
6
SDA
5
3.3VSTB_MCU
C169
C169
0.1uF
0.1uF
8
R480 1KR480 1K
7
R484 100RR484 100R
6
R485 100RR485 100R
5
设计时最好加上
1
Title
Title
Title
Size Document Number Rev
Size Document Number Rev
Size Document Number Rev
Date: Sheet
Date: Sheet
Date: Sheet
ODSEL1
ODSEL1 13
ODSEL2
ODSEL2 13
R403NCR403
R400
R400
NC
2.2uF
2.2uF
U24
U24
EN25B64
EN25B64
SPI_CK
16
CLK
SOP8-DI
WP/Vpp
NC8
NC7
NC6
NC5
VSS
SPI_DI
15
DI
14
+3.3AVDD
13
12
11
10
9
FLASH_WPN
C332
C332
0.1uF/NC
0.1uF/NC
R325
R325
NC/100K
NC/100K
R224
R224
NC/10K
NC/10K
1.21
FLASH
R326
R326
FLASH_WP#
33K
33K
更改
写保护
I2C BUS
3.3VSTB_MCU
CN13
CN13
I2C_BUS
I2C_BUS
1
2
3
4
5
6
7
R481
R481
C173
C173
4.7K
4.7K
0.1uF
0.1uF
R482NCR482
NC
R210
R210
R211
R211
R479
R479
4.7K
4.7K
4.7K
4.7K
4.7K
4.7K
EEPWP
SCL
SDA
100R
的电阻!增加抗干扰能力!
MST6M69FL+MST6M20S LED
MST6M69FL+MST6M20S LED
MST6M69FL+MST6M20S LED
MST6M69FL 1.0
A2
MST6M69FL 1.0
A2
MST6M69FL 1.0
A2
1
R137 100RR137 100R
R136 100RR136 100R
R145 0RR145 0R
PM_RESET
STATUS
SCL
SDA
WP_HDCP
PM_RESET 1
314Wednesday, August 05, 2009
314Wednesday, August 05, 2009
314Wednesday, August 05, 2009
of
of
of
Page 19

5
D D
4
3
2
1
PWR-ON/OFF1,3
MADR[0..12]
MADR8
MADR9
MADR10
MADR11
MADR4
MADR5
MADR6
MADR7
MADR3
MADR2
MADR1
MADR0
MADR12
WEZ
DQS1
DQS0
DQM1
DQM0
CASZ
RASZ
BA0
BA1
MCLK+3
MCLK-3
DQS[0..3]3
DQM[0..3]3
PWR-ON/OFF
RP12 56RX4
RP12 56RX4
8642
8642
RP13 56RX4
RP13 56RX4
8642
8642
RP14 56RX4
RP14 56RX4
8642
8642
R312 56RR312 56R
R272 56RR272 56R
R263 56RR263 56R
R264 56RR264 56R
R281 56RR281 56R
R285 56RR285 56R
RP36 56RX4
RP36 56RX4
7531
7531
MCLK+
MCLKCKE
CKE3
DQS[0..3]
DQM[0..3]
BA1
BA13
BA0
BA03
WEZ
WEZ3
RASZ
RASZ3
CASZ
CASZ3
+3.3AVDD
R174
R174
4.7K
4.7K
R172 20KR172 20K
M1-MADR8
M1-MADR9
M1-MADR10
7531
7531
M1-MADR11
M1-MADR4
M1-MADR5
M1-MADR6
7531
7531
M1-MADR7
M1-MADR3
M1-MADR2
M1-MADR1
7531
7531
M1-MADR0
M1-MADR12
WEZM0 CASZM0
UDQS0
LDM0
UDM0
CASZM0
RASZM0
M1-BA0
M1-BA1
8642
8642
1
R173
R173
10K
10K
M1-MADR0
M1-MADR1
M1-MADR2
M1-MADR3
M1-MADR4
M1-MADR5
M1-MADR6
M1-MADR7
M1-MADR8
M1-MADR9
M1-MADR10
M1-MADR11
WEZM0
RASZM0LDQS0
LDQS0
UDQS0
LDM0
UDM0
M1-BA0
M1-BA1
R170
R170
100K
100K
R77 1KR77 1K
Q55
Q55
3904
3904
2 3
U21 DDR_128Mb_TSOP66U21 DDR_128Mb_TSOP66
29
A0
30
A1
31
A2
32
A3
35
A4
36
A5
37
A6
38
A7
39
A8
40
A9
28
A10/AP
41
A11
21
WE
22
CAS
23
RAS
16
LDQS
51
UDQS
20
LDM
47
UDM
26
BA0
27
BA1
24
CS
14
NC
17
NC
34
VSS
48
VSS
66
VSS
6
VSSQ
12
VSSQ
52
VSSQ
58
VSSQ
64
VSSQ
DQ0
DQ1
DQ2
DQ3
DQ4
DQ5
DQ6
DQ7
DQ8
DQ9
DQ10
DQ11
DQ12
DQ13
DQ14
DQ15
VREF
CLK
CLK
CKE
MVDD
MVDD
MVDD
VDDQ
VDDQ
VDDQ
VDDQ
VDDQ
2
4
5
7
8
10
11
13
54
56
57
59
60
62
63
65
49
46
45
44
19
NC
25
NC
42
NC
43
NC
50
NC
53
NC
1
18
33
3
9
15
55
61
2M X 16bit X 4BK
1
5VDDR+3.3AVDD
Q40
Q40
NC/AO3401
NC/AO3401
5VA
L9 FB/2AL9 FB/2A
2 3
R8
100KR8100K
R9 1KR9 1K
Q56
Q56
1
3904
3904
2 3
DATA8
RP17 22RX4
RP17 22RX4
DATA9
DATA10
DATA11
DATA12
RP18 22RX4
RP18 22RX4
DATA13
DATA14
DATA15
DATA0
RP19 22RX4
RP19 22RX4
DATA1
DATA2
DATA3
DATA4
RP24 22RX4
RP24 22RX4
DATA5
DATA6
DATA7
MVREF-1
CLKN0
CLK0
M1-CKE
M1-MADR12
+2.7V_VDD_DDR
R259
R259
75R_1%
75R_1%
R256
R256
C229
27K
27K
2.2uF
2.2uF
MDATA8
MDATA9
MDATA10
MDATA11
7531
8642
7531
8642
MDATA12
MDATA13
MDATA14
MDATA15
7531
8642
7531
8642
MDATA0
MDATA1
MDATA2
7531
7531
7531
7531
R297 300R_1%R297 300R_1%
MDATA3
8642
8642
MDATA4
MDATA5
MDATA6
MDATA7
8642
8642
Close to DRAM Close to DRAM
+2.7V_VDD_DDR
Place close to U21
R339
R339
1K_1%
1K_1%
MVREF-1
Place close to U27
C221
C221
R340
R340
0.1uF
0.1uF
1K_1%
1K_1%
MDATA[0..15] 3 MDATA[16..31] 3
C2531nC253
1n
CASZ
WEZ
MADR0
MADR1
MADR2
MADR3
MADR12
MADR11
MADR9
MADR8
MADR7
MADR6
MADR5
MADR4
MADR10
BA1
BA0
RASZ
DQS3
DQS2
DQM3
DQM2
R408 56RR408 56R
R409 56RR409 56R
RP25 56RX4
RP25 56RX4
8642
8642
RP27 56RX4
RP27 56RX4
8642
8642
RP28 56RX4
RP28 56RX4
8642
8642
RP26 56RX4
RP26 56RX4
RP29 22RX4
RP29 22RX4
RP30 22RX4
RP30 22RX4
R269 56RR269 56R
R271 56RR271 56R
R295 56RR295 56R
R298 56RR298 56R
CASZ_D
WEZ_D
M0-MADR0
M0-MADR1
M0-MADR2
7531
7531
M0-MADR3
M0-MADR12
M0-MADR11
M0-MADR9
7531
7531
M0-MADR8
M0-MADR7
M0-MADR6
M0-MADR5
7531
7531
M0-MADR4
M0-MADR10
BA1_D
BA0_D
RASZ_D
7531
8642
7531
8642
MCLK-CLKN0
MCLK+CLK0
AGNDAGND
CKEM1-CKE
7531
8642
7531
8642
MCLK+CLK1
MCLK-CLKN1
7531
8642
7531
8642
L_DQS2
H_DQS2
DQM3_D
DQM2_D
M0-MADR0
M0-MADR1
M0-MADR2
M0-MADR3
M0-MADR4
M0-MADR5
M0-MADR6
M0-MADR7
M0-MADR8
M0-MADR9
M0-MADR10
M0-MADR11
WEZ_D
CASZ_D
RASZ_D
L_DQS2
H_DQS2
DQM3_D
DQM2_D
BA0_D
BA1_D
U27 DDR_128Mb_TSOP66U27 DDR_128Mb_TSOP66
29
A0
30
A1
31
A2
32
A3
35
A4
36
A5
37
A6
38
A7
39
A8
40
A9
28
A10/AP
41
A11
21
WE
22
CAS
23
RAS
16
LDQS
51
UDQS
20
LDM
47
UDM
26
BA0
27
BA1
24
CS
14
NC
17
NC
34
VSS
48
VSS
66
VSS
6
VSSQ
12
VSSQ
52
VSSQ
58
VSSQ
64
VSSQ
DQ0
DQ1
DQ2
DQ3
DQ4
DQ5
DQ6
DQ7
DQ8
DQ9
DQ10
DQ11
DQ12
DQ13
DQ14
DQ15
VREF
CLK
CLK
CKE
MVDD
MVDD
MVDD
VDDQ
VDDQ
VDDQ
VDDQ
VDDQ
DATA24
RP20 22RX4
DATA25
DATA26
DATA27
DATA28
DATA29
DATA30
DATA31
DATA16
DATA17
DATA18
DATA19
DATA20
DATA21
DATA22
DATA23
MVREF-2
CLKN1
CLK1
M0-CKE
M0-MADR12
DMQC1
RP20 22RX4
RP21 22RX4
RP21 22RX4
RP22 22RX4
RP22 22RX4
RP23 22RX4
RP23 22RX4
DMQC1
2
4
5
7
8
10
11
13
54
56
57
59
60
62
63
65
49
46
45
44
19
NC
25
NC
42
NC
43
NC
50
NC
53
NC
1
18
33
3
9
15
55
61
2M X 16bit X 4BK
R255
R255
82R_1%
82R_1%
ADJ
ADJ
1
5VDDR
OUT
OUT
C423
C423
2.2uF
2.2uF
4
U28
U28
IN
IN
AMS1117-ADJ
AMS1117-ADJ
3
2
+2.7V
+
+
+
+
CA38
CA38
CA39
100uF/16V
100uF/16V
CA39
100uF/16V
100uF/16V
C226
C226
0.1uF
0.1uF
C227
C227
0.1uF
0.1uF
L54
L54
FB/2A
FB/2A
L64
L64
FB/2A
FB/2A
C222
C222
0.1uF
0.1uF
C325
C325
0.1uF
0.1uF
DMQC1
C223
C223
2.2uF
2.2uF
C336
C336
2.2uF
2.2uF
C205
C205
0.1uF
0.1uF
C210
C210
0.1uF
0.1uF
C206
C206
0.1uF
0.1uF
C211
C211
0.1uF
0.1uF
C207
C207
0.1uF
0.1uF
C214
C214
0.1uF
0.1uF
C309
C309
0.1uF
0.1uF
C307
C307
0.1uF
0.1uFC229
C208
C208
0.1uF
0.1uF
C216
C216
0.1uF
0.1uF
C212
C212
0.1uF
0.1uF
C217
C217
0.1uF
0.1uF
C213
C213
0.1uF
0.1uF
DMQC1
C218
C218
0.1uF
0.1uF
+2.7V_VDD_DDR+2.7V_VDD_DDR
C209
C209
0.1uF
0.1uF
C316
C316
0.1uF
0.1uF
7531
7531
7531
7531
7531
7531
7531
7531
R324 300R_1%R324 300R_1%
R331 56RR331 56R
R347
R347
1K_1%
1K_1%
MVREF-2
R354
R354
1K_1%
1K_1%
MDATA24
MDATA25
MDATA26
MDATA27
8642
8642
MDATA28
MDATA29
MDATA30
MDATA31
8642
8642
MDATA16
MDATA17
MDATA18
MDATA19
8642
8642
MDATA20
MDATA21
MDATA22
MDATA23
8642
8642
C264
C264
0.1uF
0.1uF
CKE
C2661nC266
1n
MADR[0..12]3
C C
B B
A A
Title
Title
Title
MST6M69FL+MST6M20S LED
MST6M69FL+MST6M20S LED
MST6M69FL+MST6M20S LED
Size Document Number Rev
Size Document Number Rev
Size Document Number Rev
DDR_RAM 1.0
A3
DDR_RAM 1.0
A3
DDR_RAM 1.0
A3
Date: Sheet of
Date: Sheet of
Date: Sheet of
5
4
3
2
414Wednesday, August 05, 2009
414Wednesday, August 05, 2009
414Wednesday, August 05, 2009
1
Page 20

5
4
3
2
1
D D
C C
U49
U49
TUNER_STM-6H/W236H
TUNER_STM-6H/W236H
VIDEO
GND
GND
GND
GND
AUDIO
AFT
AGC
SIF
+5V
SCL
SDA
AS
VT(33V)
IF(TP)
BT(TP)
13
14
15
16
TV1-V
12
TV-L/R
11
10
9
SIFPOUT
8
7
6
5
4
3
2
1
33V
5V_IF
C405
C405
22p
22p
R532 100RR532 100R
R533 100RR533 100R
C406
C406
22p
22p
SCL_TV
SDA_TV
C289 10uFC289 10uF
R440 9.1KR440 9.1K
SDA1,3,11,13
SCL1,3,11,13
R445 4.7KR445 4.7K
SDA
R364 NCR364 NC
SCL
R348 NCR348 NC
R289 0RR289 0R
C120
C119
C119
NC/220p
SIFPOUT
NC/220p
R535
R535
NC/2K
NC/2K
R317 NC/10KR317 NC/10K
12VA
PWM03
PWM0
R140 2.7KR140 2.7K
R129
R129
10R_0805
10R_0805
2009-07-25
L22
L22
100uH
100uH
Q44
Q44
2SC1815
2SC1815
D11
D11
1N4148
1N4148
+
+
C424
C424
10uF/50V
10uF/50V
C354
C354
0.1uF
0.1uF
R2931KR293
1K
R369
R369
100K
100K
33V40V
+
+
D12
D12
C425
C425
33V
33V
10uF/50V
10uF/50V
1 2
Place close to TUNER
B B
12VA
R287
R287
2.2R/2W
2.2R/2W
R291
R291
2.2R/2W
2.2R/2W
+
+
CA15
CA15
100uF/16V
100uF/16V
5VA 5V_IF
L2 10uHL2 10uH
U48 LM7805U48 LM7805
1
VIN
GND
2
VOUT
GND
4
3
+
+
C397
C397
CA19
CA19
0.1uF
0.1uF
470uF/16V
470uF/16V
C120
NC/220p
NC/220p
Place close to TUNER PIN9
5VA
1
Q52
Q52
32
2N7002
2N7002
5VA
1
Q53
Q53
32
2N7002
2N7002
R186 10RR186 10R
R18775R187
75
R188 10RR188 10R
R534 0R534 0
R536 0R/NCR536 0R/NC
TV1-L/RTV-L/R
R231
R231
NC/12K
NC/12K
R420
R420
4.7K
4.7K
SDA_TV
R258
R258
4.7K
4.7K
SCL_TV
C44 10nC44 10n
ATV-Vin+TV1-V
C Location near MST.IC
ATV-Vin-
TV-SIFP
TV-SIFM
C256
C256
NC/560pF
NC/560pF
C46 10nC46 10n
TV1-L/R 3
ATV-Vin+ 3
ATV-Vin- 3
TV-SIFP 3
TV-SIFM 3
Place close to TUNER
A A
Title
Title
Title
MST6M69FL+MST6M20S LED
MST6M69FL+MST6M20S LED
MST6M69FL+MST6M20S LED
Size Document Number Rev
Size Document Number Rev
Size Document Number Rev
TUNER 1.0
A4
TUNER 1.0
A4
TUNER 1.0
A4
Date: Sheet
Date: Sheet
5
4
3
Date: Sheet
2
of
514Wednesday, August 05, 2009
of
514Wednesday, August 05, 2009
of
514Wednesday, August 05, 2009
1
Page 21

5
4
3
2
1
RXB1N
21
GND
RX2B1P
RXB1P
20
Z3
VCC_HDMI5VA +3.3VHDMI
C290
Y3
19
VCC
C242
C242
0.1uF
0.1uF
RXB2P
RXB2N
18
17
Z4
RXBCLKP
RXBCLKN
EDID_WP
VCC_HDMI
Y4
Vsadj
GND
A34
B34
VCC
A33
B33
GND
A32
B32
VCC
A31
B31
GND
SCL3
SDA3
C290
0.1uF
0.1uF
RXB2P
RXB2N
RXB1P
RXB1N
RXB0P
RXB0N
C291
C291
0.1uF
0.1uF
VCC_HDMI
R223
R223
4.7K
4.7K
16
15
14
13
12
11
10
9
8
7
6
5
4
3
2
1
RXB2P 3
RXB2N 3
RXB1P 3
RXB1N 3
RXB0P 3
RXB0N 3
RXBCLKP 3
RXBCLKN 3
EDID_WP
R225
R225
4.7K
4.7K
R217
R217
3.9K
3.9K
C292
C292
0.1uF
0.1uF
DDCBSCL
DDCBSDA
RX3BCLKP
RX3BCLKN
DDC3BSCL
DDC3BSDA
C293
C293
0.1uF
0.1uF
DDCBSCL 3
DDCBSDA 3
RX3B2P
RX3B2N
RX3B1P
RX3B1N
RX3B0P
RX3B0N
C295
C295
0.1uF
0.1uF
C315
C315
0.1uF
0.1uF
64
VCC_HDMI
C257
U16 24C02U16 24C02
1
A0
VCC
2
A1
3
HOTPLUG3
RX2B2P
RX2B2N
Title
Title
Title
Size Document Number Rev
Size Document Number Rev
Size Document Number Rev
A3
A3
A3
Date: Sheet
Date: Sheet of
Date: Sheet of
WP
A2
SCL
GND4SDA
MST6M69FL+MST6M20S LED
MST6M69FL+MST6M20S LED
MST6M69FL+MST6M20S LED
HDMI_Switch 1.0
HDMI_Switch 1.0
HDMI_Switch 1.0
8
7
6
5
C257
0.1uF
0.1uF
EDID_WP
DDCBSCL
DDCBSDA
R486
R486
4.7K
4.7K
R483NCR483
NC
1
C371
C371
0.1uF
0.1uF
of
614Wednesday, August 05, 2009
614Wednesday, August 05, 2009
614Wednesday, August 05, 2009
L67
U40 AMS1117-ADJU40 AMS1117-ADJ
3
C426
C426
2.2uF
2.2uF
HOTPLUGO
HDMI_S13
HDMI_S23
VCC_HDMI
HOTPLUG1
DDC1BSDA
DDC1BSCL
RX1BCLKN
RX1BCLKP
RX1B0N
RX1B0P
RX1B1N
RX1B1P
RX1B2N
RX1B2P
VIN
HDMI_S1
HDMI_S2
L69 FB/2AL69 FB/2A
R216
R216
NC/0
NC/0
VCC_HDMI
5VA
HDMI1/5V
HDMI2/5V
HDMI3/5V
CN16 HDMI1CN16 HDMI1
20
20
DATA2 SHIELD
21
21
22
22
DATA1 SHIELD
D D
23
23
DATA0 SHIELD
CLK SHIELD
DDC/CEC GND
+5V POWER
C C
CN17 HDMI2CN17 HDMI2
21
21
DATA2 SHIELD
DATA1 SHIELD
DATA0 SHIELD
CLK SHIELD
22
22
23
23
DDC/CEC GND
+5V POWER
20
20
B B
CN18 HDMI3CN18 HDMI3
20
20
DATA2 SHIELD
21
21
22
22
DATA1 SHIELD
23
23
DATA0 SHIELD
CLK SHIELD
DDC/CEC GND
+5V POWER
A A
DATA2+
DATA2-
DATA1+
DAT1A-
DATA0+
DATA0-
CLK+
CLK-
CEC
SCL
SDA
HOT PLUG
DATA2+
DATA2-
DATA1+
DAT1A-
DATA0+
DATA0-
CLK+
CLK-
CEC
SCL
SDA
HOT PLUG
DATA2+
DATA2-
DATA1+
DAT1A-
DATA0+
DATA0-
CLK+
CLK-
CEC
SCL
SDA
HOT PLUG
1
2
3
4
5
6
7
8
9
10
11
12
CEC_INA
13
14
NC
15
16
17
HDMI1/5V
18
19
HOTPLUG1
12
1
2
3
4
5
6
7
8
9
10
11
12
CEC_INB
13
14
NC
15
16
17
HDMI2/5V
18
19
HOTPLUG2
12
1
2
3
4
5
6
7
8
9
10
11
12
CEC_INC
13
14
NC
15
16
17
HDMI3/5V
18
19
HOTPLUG3
12
DD72
DD72
R190
R190
NC/1K
NC/1K
DD107
DD107
ESD-0402
ESD-0402
DD60
DD60
ESD-0402
ESD-0402
ESD-0402
ESD-0402
R158
R158
NC/1K
NC/1K
R171
R171
NC/1K
NC/1K
RX1B2P
RX1B2N
RX1B1P
RX1B1N
RX1B0P
RX1B0N
RX1BCLKP
RX1BCLKN
DD110 ESD-0402DD110 ESD-0402
12
12
DD109
DD109
12
DD108
DD108
ESD-0402
ESD-0402
ESD-0402
ESD-0402
RX2B2P
RX2B2N
RX2B1P
RX2B1N
RX2B0P
RX2B0N
RX2BCLKP
RX2BCLKN
DD111 ESD-0402DD111 ESD-0402
12
DD68
DD68
12
DD67
DD67
ESD-0402
ESD-0402
ESD-0402
ESD-0402
RX3B2P
RX3B2N
RX3B1P
RX3B1N
RX3B0P
RX3B0N
RX3BCLKP
RX3BCLKN
DD112 ESD-0402DD112 ESD-0402
12
DD80
DD80
12
DD79
DD79
ESD-0402
ESD-0402
ESD-0402
ESD-0402
RX1BCLKN
DD103
DD103
ESD-HDMI
ESD-HDMI
1 2
HDMI1/5V
1
5VA
2
RX2BCLKN
DD63
DD63
ESD-HDMI
ESD-HDMI
1 2
HDMI2/5V
1
5VA
2
RX3BCLKN
DD75
DD75
ESD-HDMI
ESD-HDMI
1 2
HDMI3/5V
1
5VA
2
D13
D13
BAT54C
BAT54C
D14
D14
BAT54C
BAT54C
D17
D17
BAT54C
BAT54C
RX1BCLKP
DD104
DD104
ESD-HDMI
ESD-HDMI
1 2
RX2BCLKP
DD64
DD64
ESD-HDMI
ESD-HDMI
1 2
RX3BCLKP
DD76
DD76
ESD-HDMI
ESD-HDMI
1 2
RX1B0N
DD105
DD105
ESD-HDMI
ESD-HDMI
1 2
3
RX2B0N
DD66
DD66
ESD-HDMI
ESD-HDMI
1 2
5VHDMI2
3
RX3B0N
DD78
DD78
ESD-HDMI
ESD-HDMI
1 2
3
RX1B0P
DD94
DD94
ESD-HDMI
ESD-HDMI
1 2
R185 47KR185 47K
R196 47KR196 47K
RX2B0P
DD46
DD46
ESD-HDMI
ESD-HDMI
1 2
R191 47KR191 47K
R228
R228
RX3B0P
DD69
DD69
ESD-HDMI
ESD-HDMI
1 2
R189 47KR189 47K
R206 47KR206 47K
47K
47K
RX1B1N
DD100
DD100
ESD-HDMI
ESD-HDMI
1 2
DDC1BSCL
DDC1BSDA
RX2B1N
DD59
DD59
ESD-HDMI
ESD-HDMI
1 2
RX3B1N
DD71
DD71
ESD-HDMI
ESD-HDMI
1 2
DDC3BSDA
RX1B1P
DD101
DD101
ESD-HDMI
ESD-HDMI
1 2
RX2B1P
DD61
DD61
ESD-HDMI
ESD-HDMI
1 2
DDC2BSCL
DDC2BSDA
RX3B1P
DD73
DD73
ESD-HDMI
ESD-HDMI
1 2
DDC3BSCL
RX1B2N
DD102
DD102
ESD-HDMI
ESD-HDMI
1 2
RX2B2N
DD62
DD62
ESD-HDMI
ESD-HDMI
1 2
RX3B2N
DD74
DD74
ESD-HDMI
ESD-HDMI
1 2
RX1B2P
DD95
DD95
ESD-HDMI
ESD-HDMI
1 2
RX2B2P
DD47
DD47
ESD-HDMI
ESD-HDMI
1 2
RX3B2P
DD70
DD70
ESD-HDMI
ESD-HDMI
1 2
C220
C220
0.1uF
0.1uF
From HDMI connector
CEC_INA
R316 0RR316 0R
CEC_INB
R323 0RR323 0R
CEC_INC
R322 0RR322 0R
VOUT
Vout
GND
1
VCC_HDMI
Q20
Q20
3904
3904
R214
R214
4.7K
4.7K
R215
R215
4.7K
4.7K
1
D15
D15
BAT54C
BAT54C
2
1
D16
D16
BAT54C
BAT54C
2
+3.3AVDD
R86
R86
33K
33K
R2221KR222
1K
R207
R207
4.7K
4.7K
2
4
R537
R537
120R1%
120R1%
R176 10KR176 10K
33
34
35
36
37
38
39
40
41
42
43
44
45
46
47
48
R352 200RR352 200R
C427
C427
R538
R538
10uF
10uF
200R1%
200R1%
HOTPLUG
DDCBSDA
HOTPLUGO
30
31
32
U17
U17
S1
HPD_SINK
S2
EQ
HPD1
SDA1
SCL1
TMDS351
TMDS351
B11
A11
VCC
TSQFP64-1212-0.5
TSQFP64-1212-0.5
B12
A12
GND
B13
A13
VCC
B14
A14
VDD49HPD250SDA251SCL252B2153A2154VCC55B2256A2257GND58B2359A2360VCC61B2462A2463HPD3
VDD
3
DDC2BSDA
HOTPLUG2
3
L67
FB/2A
FB/2A
C294
C294
C179
C179
0.1uF
0.1uF
0.1uF
0.1uF
HOTPLUG 3
RXB0N
RXB0P
RXBCLKP
RXBCLKN
DDCBSCL
25
24
27
GND
22
23
26
Z2
Z1
Y2
Y1
VCC
RX2BCLKP
RX2B0N
RX2B0P
RX2B1N
SDA_SINK
29
SCL_SINK
DDC2BSCL
28
RX2BCLKN
To scaler
HDMI-CEC 3
For CEC Leakage Protect
5
4
3
2
Page 22

5
D D
VGA INPUT
CN19 VGACN19 VGA
15
14
13
C C
12
11
CN20 VGA-R/LCN20 VGA-R/L
1
1
2
2
3
B B
3
4
4
5
10
4
9
VGA-B
3
8
VGA-G
2
7
VGA-R
1
6
16
17
5
5
6
6
7
7
DD11
DD11
ESD-0402
ESD-0402
1 2
R101 10KR101 10K
R112 10KR112 10K
DD10
DD10
ESD-0402
ESD-0402
1 2
R124 NC/100RR124 NC/100R
R117 NC/1KR117 NC/1K
R126 NC/100RR126 NC/100R
DD113
DD113
ESD-0402
ESD-0402
1 2
R115
R115
12K
12K
4
2.4
号更改 接
VGA影响DSMB
R117、R118 有100R改为1K
ISP-TXD 3,8
ISP-RXD 3,8
DD9
DD9
DD8
DD8
ESD-0402
ESD-0402
ESD-0402
ESD-0402
1 2
1 2
VGA-HSVGA-HS
VGA-VSVGA-VS
DD16
DD16
ESD-0402
ESD-0402
1 2
1 2
R106
R106
C68
C68
12K
12K
560p
560p
R9875R98
75
DD14
DD14
ESD-0402
ESD-0402
VGA-Lin
VGA-Rin
C65
C65
560p
560p
的串口通信
R9975R99
75
R109
R109
22K
22K
R & C Location near MST.IC
100R
100R
R96
R96
R93
R93
R94
R94
R95
R95
R10075R100
75
R103 100RR103 100R
R105 100RR105 100R
R108
R108
22K
22K
C59 1nC59 1nR118 NC/1KR118 NC/1K
10R
10R
C60 47nC60 47n
10R
10R
C61 47nC61 47n
10R
10R
C62 47nC62 47n
R160 NC/1KR160 NC/1K
SOG 3
VGA-Bin+ 3
VGA-Gin+ 3
VGA-Rin+ 3
HS_RGB 3
VS_RGB 3
VGA_Detect 3
3
74HC4052
HD1-Lin8
HD2-Lin8
DSMB-Lin8
HD1-Rin8
HD2-Rin8
DSMB-Rin8
HD1-Lin
HD2-Lin
VGA-Lin
DSMB-Lin
HD1-Rin
HD2-Rin
VGA-Rin
DSMB-Rin
A-SW0
C429 2.2uFC429 2.2uF
C430 2.2uFC430 2.2uF
C431 2.2uFC431 2.2uF
C432 2.2uFC432 2.2uF
C434 2.2uFC434 2.2uF
C433 2.2uFC433 2.2uF
C435 2.2uFC435 2.2uF
R446
R446
4.7K
4.7K
R230 47KR230 47K
R199 47KR199 47K
1
C258
C258
0.1uF
0.1uF
R237 47KR237 47K
R198 47KR198 47K
5V_4052
Q45
Q45
3904
3904
2 3
2
R279
R279
10K
10K
R234 47KR234 47K
R194 47KR194 47K
R201 47KR201 47K
R235
R235
10K
10K
U20 74HC4052U20 74HC4052
R200 47KR200 47K
12
14
15
11
1
5
2
4
10
9
A-SW13A-SW03
X0
X1
X2
X3
Y0
Y1
Y2
Y3
A
B
A-SW1
R241 10KR241 10K
CA60
CA60
100uF/16V
100uF/16V
13
X
3
Y
16
VCC
8
GND
6
INH
7
VEE
5V_4052 5VA
L83 FB/2AL83 FB/2A
MUX-Lin
C331 2.2uFC331 2.2uFC428 2.2uFC428 2.2uF
MUX-Rin
C326 2.2uFC326 2.2uF
5V_4052
C192
C192
5V_4052
0.1uF
0.1uF
R280
R280
10K
10K
R447
R447
4.7K
4.7K
1
C262
C262
0.1uF
0.1uF
Q48
Q48
3904
3904
2 3
C143
C143
0.1uF
0.1uF
1
MUX-Lin 3
MUX-Rin 3
A A
Title
Title
Title
MST6M69FL+MST6M20S LED
MST6M69FL+MST6M20S LED
MST6M69FL+MST6M20S LED
Size Document Number Rev
Size Document Number Rev
Size Document Number Rev
VGA & Audio Switch 1.0
VGA & Audio Switch 1.0
VGA & Audio Switch 1.0
A3
A3
A3
Date: Sheet of
Date: Sheet of
5
4
3
2
Date: Sheet of
714Wednesday, August 05, 2009
714Wednesday, August 05, 2009
714Wednesday, August 05, 2009
1
Page 23

5
4
3
2
1
R43475R434
75
R25075R250
75
CN22 YUV2CN22 YUV2
1
1
2
2
3
3
4
4
C195 10uFC195 10uF
C194 10uFC194 10uF
C193 10uFC193 10uF
R43175R431
75
C158 10uFC158 10uF
C157 10uFC157 10uF
C156 10uFC156 10uF
R20575R205
75
R244
R244
12K
12K
R492
R492
12K
12K
Q58
Q58
3904
3904
2 3
DD93
DD93
ESD-0402
ESD-0402
DD98
DD98
ESD-0402
ESD-0402
R85 0R85 0
C82
C82
NC/220p
NC/220p
DATA2+
DATA2-
DATA1+
DAT1A-
DATA0+
DATA0-
CLK+
CLKCEC
NC
SCL
SDA
DD96
DD96
ESD-0402
ESD-0402
1 2
R125
R125
1
2
3
4
5
6
7
8
9
10
11
12
13
14
15
16
17
18
19
5VA
L45 FB/2AL45 FB/2A
U42 PI5V330U42 PI5V330
2
S1A
5
S1B
11
S1C
14
S1D
3
S2A
6
S2B
10
S2C
13
S2D
1
IN
R134
R134
22K
22K
22K
22K
C72
C72
NC/220p
NC/220p
DA
DB
DC
DD
VCC
GND
EN
R24775R247
R25275R252
75
75
R159 100RR159 100R
R122 100RR122 100R
R52 10RR52 10R
R7475R74
75
VGA_G/Y
CVBSIN
VGA_B/PB
VGA_R/PR
DSMB_CVBSO
LINEOUTL
DSMB-L
DSMB-R
LINEOUTR
VGA_H_SYNC
ISP-RXD
ISP-TXD
VGA_V_SYNC
DSMB_IR
5VPI
4
7
9
12
16
8
15
C170 10uFC170 10uF
C162 10uFC162 10uF
C163 10uFC163 10uF
R21875R218
75
C80 10nC80 10n
DSMB_CVBSO 9
LINEOUTL 9,11
LINEOUTR 9,11
5VA
5
6
7
R508
R508
33K
33K
R511
R511
33K
33K
R503
R503
33K
33K
R506
R506
33K
33K
C265
C265
560p
560p
C273
C273
560p
560p
6
7
5VPI
5VPI
R507
R507
33K
33K
R510
R510
33K
33K
R501
R501
33K
33K
R505
R505
33K
33K
R204
R204
12K
12K
R490
R490
12K
12K
PB2
R512
R512
33K
33K
HD1_YINY1
HD1_PBIN
HD1_PRIN
R509
R509
33K
33K
R500
R500
33K
33K
HD2_YINY2
HD2_PBIN
HD2_PRIN
R504
R504
33K
33K
HD1-Lin
HD1-Rin
C49
C49
560p
560p
HD2-Lin
HD2-Rin
C50
C50
560p
560p
HD_SW13
HD1-Lin 7
HD1-Rin 7
HD2-Lin 7
HD2-Rin 7
HD2_YIN
HD2_PBIN
HD2_PRIN
DSMB_Y
DSMB_Pb
DSMB_Pr
R303 10KR303 10K
5VPI 5VPI
HD_SW1
R243 10KR243 10K
1
VGA_G/Y
VGA_B/PB
VGA_R/PR
DD92
DD92
ESD-0402
ESD-0402
1 2
1 2
VGA_H_SYNC
VGA_V_SYNC
DD97
DD97
ESD-0402
ESD-0402
1 2
1 2
CVBSIN
DD24
DD24
ESD-0402
ESD-0402
1 2
CN25 DSMBCN25 DSMB
20
20
DATA2 SHIELD
21
21
22
22
DATA1 SHIELD
23
23
DATA0 SHIELD
Y2PR2
5
CLK SHIELD
DDC/CEC GND
+5V POWER
HOT PLUG
1 2
R349 47R349 47
C155
C155
0.1uF
0.1uF
1 2
HD_SW03
R522
R522
33K
33K
R525
R525
33K
33K
DSMB_HS 3
DSMB_VS 3
DD17
DD17
ESD-0402
ESD-0402
1 2
2009-07-25
R350 47R350 47
2009-07-25
DD99
DD99
ESD-0402
ESD-0402
HD_SW0
5VPI
R521
R521
33K
33K
R524
R524
33K
33K
DSMB_Vin+ 3
DSMB_IR
ISP-RXD 3,7
ISP-TXD 3,7
DD15
DD15
ESD-0402
ESD-0402
5VPI
R335 10KR335 10K
R336 10KR336 10K
R526
R526
33K
33K
DSMB_Y
DSMB_Pb
DSMB_Pr
R523
R523
33K
33K
5VA +3.3AVDD
R193
R193
10K
10K
Q28
Q28
3906
3906
U43 PI5V330U43 PI5V330
HD1_YIN
HD1_PBIN
HD1_PRIN
1
Q59
Q59
3904
3904
2 3
2
S1A
5
S1B
11
S1C
14
S1D
3
S2A
6
S2B
10
S2C
13
S2D
1
IN
PI5V330
VCC
GND
4
DA
7
DB
9
DC
12
DD
16
8
15
EN
DSMB AUDIO INPUT
DSMB-L
DSMB-R
R192NCR192
NC
1
3 2
1 2
IR-in
DD26
DD26
ESD-0402
ESD-0402
1 2
IR-in 1,3
R104 10KR104 10K
R133 10KR133 10K
DD25
DD25
ESD-0402
ESD-0402
R135
R135
12K
12K
C171
C171
0.1uF
0.1uF
C145
C145
560p
560p
R & C Location near MST.IC
C152 1nC152 1n
C150 47nC150 47n
C153 47nC153 47n
C154 47nC154 47n
C147 47nC147 47n
C148 47nC148 47n
C149 47nC149 47n
DD106
DD106
ESD-0402
ESD-0402
1 2
2009-07-25
R139
R139
12K
12K
Y
Pb
Pr
C124
C124
560p
560p
R142 470R142 470
R146 47R146 47
R141 47R141 47
R143 47R143 47
R426 47R426 47
R423 47R423 47
R427 47R427 47
DSMB-Lin 7
DSMB-Rin 7
SOY
Y+
PB+
PR+
YPBPR-
SOY 3
Y+ 3
PB+ 3
PR+ 3
Y- 3
PB- 3
PR- 3
CN21 YUV1CN21 YUV1
PR1
D D
1
1
5
2
2
6
3
3
7
4
4
Y1
5
PB1
6
7
BACK HD INPUT
PB1
PR1
DD86
DD86
DD85
DD85
DD84
DD84
ESD-0402
ESD-0402
1 2
C C
ESD-0402
ESD-0402
1 2
ESD-0402
ESD-0402
1 2
R43275R432
75
SIDE HD INPUT
PB2
PR2
DD89
DD89
DD88
DD88
DD87
DD87
ESD-0402
ESD-0402
1 2
CN23 YUV1_L/RCN23 YUV1_L/R
1
1
2
2
3
B B
A A
3
4
4
CN24 YUV2_L/RCN24 YUV2_L/R
1
1
2
2
3
3
4
4
ESD-0402
ESD-0402
1 2
5
6
7
5
6
7
ESD-0402
ESD-0402
R24575R245
HD1-L
HD1-R
DD58
DD58
ESD-0402
ESD-0402
1 2
HD2-L
HD2-R
DD83
DD83
ESD-0402
ESD-0402
1 2
75
R203 10KR203 10K
R242 10KR242 10K
DD32
DD32
ESD-0402
ESD-0402
1 2
R401 10KR401 10K
R491 10KR491 10K
DD33
DD33
ESD-0402
ESD-0402
1 2
1 2
5
6
7
5
6
7
Title
Title
Title
MST6M69FL+MST6M20S LED
MST6M69FL+MST6M20S LED
MST6M69FL+MST6M20S LED
Size Document Number Rev
Size Document Number Rev
Size Document Number Rev
HDTV 1.0
A3
HDTV 1.0
A3
HDTV 1.0
A3
Date: Sheet of
Date: Sheet of
5
4
3
2
Date: Sheet of
814Wednesday, August 05, 2009
814Wednesday, August 05, 2009
814Wednesday, August 05, 2009
1
Page 24

5
4
3
2
1
D D
CN7 AV1CN7 AV1
AV1-L
AV1-V
C C
1
2
3
4
DD29
DD29
ESD-0402
ESD-0402
1
2
3
4
R34 0R34 0
C20
C20
NC/220p
NC/220p
5
5
6
6
7
7
AV1-V
AV1-R
C30
C30
NC/220p
NC/220p
R28 10RR28 10R
R3075R30
75
C16 10nC16 10n
C Location near MST.IC
LINEOUTL8,11
AV1-Vin+ 3
1 2
CVBS_OUT3
AV1-L
AV1-R
1 2
B B
DD22
DD22
ESD-0402
ESD-0402
1 2
R42 10KR42 10K
R65 10KR65 10K
DD23
DD23
ESD-0402
ESD-0402
R97
R97
12K
12K
C38
C38
560p
560p
R43
R43
12K
12K
C35 2.2uFC35 2.2uF
C37 2.2uFC37 2.2uF
C34
C34
Keep AGND trace with signal
560p
560p
Keep spacing for L/R
AV1-Lin 3
AV1-Rin 3
Keep trace width(12mil+)
BACK VIDEO OUTPUTBACK VIDEO1 INPUT
CN6 AV_OUTCN6 AV_OUT
LINEOUTL AVOUT-V
R37 0RR37 0R
C51
C51
1uF
1uF
1
1
2
2
3
3
4
4
5
5
6
6
7
7
LINEOUTR
5VA
R56
R56
68R
R83
R83
13K
13K
R82
R82
4.7K
4.7K
R54
R54
10R
10R
68R
Q14
Q14
1
3904
3904
R70 220RR70 220R
2 3
R6375R63
75
LINEOUTR 8,11
3906
3906
Q13
Q13
R66 100RR66 100R
R71 100RR71 100R
R58
R58
100R
100R
CA66
CA66
220uF/16V
220uF/16V
Q22
Q22
1
3906
3906
3 2
R841KR84
1K
R67
R67
47R
47R
AVOUT-V
DD35
DD35
ESD-0402
ESD-0402
1 2
5VA
R61
R61
100R
100R
CA67
CA67
220uF/16V
220uF/16V
Q27
Q27
1
3906
3906
3 2
R871KR87
1K
R68
R68
47R
47R
DSMB_CVBSO
DD36
DD36
ESD-0402
ESD-0402
1 2
DSMB_CVBSO 8
A A
Title
Title
Title
MST6M69FL+MST6M20S LED
MST6M69FL+MST6M20S LED
MST6M69FL+MST6M20S LED
Size Document Number Rev
Size Document Number Rev
Size Document Number Rev
AV In & AV Out 1.0
A4
AV In & AV Out 1.0
A4
AV In & AV Out 1.0
A4
Date: Sheet
Date: Sheet
Date: Sheet
5
4
3
2
of
914Wednesday, August 05, 2009
of
914Wednesday, August 05, 2009
of
914Wednesday, August 05, 2009
1
Page 25

5
D D
4
3
2
1
SD_VCC
C407
11
18
SD_VDD
MS_VCC
MS_VSS
GND
20
22
C407
10uF
10uF
SD_DAT0
SD_DAT1
SD_DAT2
SD_DAT3
SD_CLK
SD_CMD
SD_CDn
SD_WPn
MS_BS
MS_CLK
MS_DAT0
MS_DAT1
MS_DAT2
MS_DAT3
MS_INS
GND28GND
5V_USB CARD_5V
L84 FB/2AL84 FB/2A
CARD_5V
C409
C409
2.2uF
C C
SD_PWRCTL3
B B
2.2uF
SD_PWRCTL
3
C233
C233
0.1uF
0.1uF
VDD33_SUB
C411
C411
0.1uF
0.1uF
U11 AMS1117-ADJU11 AMS1117-ADJ
VOUT
Vout
2
4
VIN
GND
1
R541
R541
4.7K
4.7K
R543 0RR543 0R
2 3
1
Q57
Q57
AO3401
AO3401
C413
C413
NC/0.1uF
NC/0.1uF
R520
R520
120R1%
120R1%
L86 FB/2AL86 FB/2A
C230
C230
0.1uF
0.1uF
R519
R519
200R1%
200R1%
200mA
F2
F2
SMD1206P050TF
SMD1206P050TF
12
R544
R544
100K
100K
C410
C410
2.2uF
2.2uF
SD_VCC
VDD33_SUB
C412
C412
0.1uF
0.1uF
CN26
CN26
4in1Card
4in1Card
27
NC
26
NC
25
NC
24
NC
GND
MS_VSS
SD_VSS
SD_VSS
2
5
6
14
C408
C408
0.1uF
0.1uF
SD_WPDZ
SD_CDZ
4
3
21
19
8
16
23
1
7
17
10
9
12
15
13
SD_DAT0
SD_DAT1
SD_DAT2
SD_DAT3
SD_CLK
SD_CMD
SD_CDZ
SD_WPDZ
SD_WPDZ 3
SD_CDZ 3
SD_DAT0 3
SD_DAT1 3
SD_DAT2 3
SD_DAT3 3
SD_CLK 3
SD_CMD 3
R539 100KR539 100K
R540 100KR540 100K
VDD33_SUB
R542
R542
100K
100K
MS_INS
C414
C414
0.1uF
0.1uF
VDD33_SUB
MS_INS 3
SD_VCC
29
A A
Title
Title
Title
MST6M69FL+MST6M20S LED
MST6M69FL+MST6M20S LED
MST6M69FL+MST6M20S LED
Size Document Number Rev
Size Document Number Rev
Size Document Number Rev
Card Reader 1.0
A4
Card Reader 1.0
A4
Card Reader 1.0
A4
Date: Sheet
Date: Sheet
5
4
3
Date: Sheet
2
of
10 14Wednesday, August 05, 2009
of
10 14Wednesday, August 05, 2009
of
10 14Wednesday, August 05, 2009
1
Page 26

5
4
3
2
1
R107 3.3RR107 3.3R
21
36
VDD_DIG
3
15
VCC1A
CONFIG
GND_Reg
NC18GND_Clean
37
R363
R363
39K
39K
Q39
Q39
3904
3904
+3.3AVDD
C106 10uFC106 10uF
C78 0.1uFC78 0.1uF
C160 0.1uFC160 0.1uF
24
OUT1A
VDD_DIG
VDD_PLL
OUT1B
OUT2A
OUT2B
OUT3A/DDX3A
OUT3B/DDX3B
TWARN/OUT4A
EAPD/OUT4B
SA2TEST_MODE
CONFIG
PAD
16
37
R121 10RR121 10R
C109 10uFC109 10uF
C95 0.1uFC95 0.1uF
23
VL
16
OUT1A
17
OUT1A
10
OUT1B
11
OUT1B
8
OUT2A
9
OUT2A
2
OUT2B
3
OUT2B
24
21
VDD
22
VDD
20
PAD
R365
R365
47K
47K
2
+3.3AVDD3.3V_AU
L31
Q43 3904
MUTE Circuit
R469 0RR469 0R
5Vstb
R476 NCR476 NC
12VA
D D
D18
D18
BAV99
BAV99
R456
R456
2.2M
2.2M
2
R467
R467
100R
100R
CA83
CA83
470uF/16V
470uF/16V
3
R4701MR470
1M
R471 47KR471 47K
1
C303
C303
2.2uF
2.2uF
MUTE_AMP3
MUTE_AMP
0: Normal
:
Mute
1
Q51 3906
Q51 3906
1
B
B
SOT
SOT
C
C
23
23
2
E
E
R477 10KR477 10K
5Vstb
2009-07-25
PWD_MT
3
1
2
R453 10KR453 10K
R472 1KR472 1K
R458
R458
22K
22K
Q43 3904
B
B
SOT
SOT
23
23
E
E
C
C
Q33 3904
Q33 3904
1
B
B
2
E
E
R457 100RR457 100R
3
SOT
SOT
C
C
23
23
12VA6VBuf1
R464 100RR464 100R
3
EN=HIGH: OPERATING
:
MUTE
HP_MUTE_AMP
C352
C352
NC/2.2uF
NC/2.2uF
EN=LOW
I2S_MCLK3
I2S_SCLK3
I2S_LRCLK3
I2S_SD03
SCL1,3,5,13
SDA1,3,5,13
C116 100pFC116 100pF
C146 4.7nFC146 4.7nF
I2S_MCLK
I2S_SCLK
I2S_LRCLK
I2S_SD0
HP_MUTE_AMP
L76 FB/2AL76 FB/2A
R345 22RR345 22R
R344 22RR344 22R
R334 22RR334 22R
R332 22RR332 22R
R330 22RR330 22R
R329 22RR329 22R
R253 2.2KR253 2.2K
C117 680pFC117 680pF
AUDIO OP
R437
C364
C364
0.1uF
0.1uF
AMP_LIN
AMP_RIN
R437
100R
100R
CA17
CA17
100uF/16V
100uF/16V
R375 0RR375 0R
Q16 NC/3906Q16 NC/3906
R443
R443
R321 4.7KR321 4.7K
47K
47K
R370 0RR370 0R
Q15 NC/3906Q15 NC/3906
R442
R442
R311 4.7KR311 4.7K
47K
47K
R376 0RR376 0R
Q17 3906Q17 3906
R305 4.7KR305 4.7K
R57
R57
10K
10K
R377 0RR377 0R
Q19 3906Q19 3906
R64
R64
10K
10K
R315 4.7KR315 4.7K
4
+
+
MUTE_OUT
+
+
MUTE_OUT
C311
C311
10uF
10uF
MUTE_OUT
C312
C312
10uF
10uF
MUTE_OUT
CA11
CA11
100uF/16V
100uF/16V
CA8
CA8
100uF/16V
100uF/16V
R355 1KR355 1K
R371 1KR371 1K
PH_L
PH_R
DD51
DD51
ESD-0402
ESD-0402
1 2
DD53
DD53
ESD-0402
ESD-0402
1 2
DD56
DD56
ESD-0402
ESD-0402
1 2
DD54
DD54
ESD-0402
ESD-0402
1 2
LINEOUTL 8,9
DD52
DD52
ESD-0402
ESD-0402
1 2
LINEOUTR 8,9
DD55
DD55
ESD-0402
ESD-0402
1 2
+3.3AVDD
R301 10KR301 10K
RST_AMP
RST_AMP3
3
R309 100RR309 100R
OUT3A
OUT3B
EAPD
3.3V_AU
R407 10KR407 10K
MUTE_DET3
MUTE_HP3
TW
C368 0.1uFC368 0.1uF
C261
C261
10n
10n
CA16 100uF/16VCA16 100uF/16V
R414 33KR414 33K
C366
C366
2.2uF
2.2uF
R288
R288
22K
22K
C367
C367
2.2uF
2.2uF
R299
R299
22K
22K
C241
C241
2.2uF
2.2uF
R302
R302
22K
22K
C247
C247
2.2uF
2.2uF
R304
R304
22K
22K
C3651nC365
1n
C3291nC329
1n
R313 10KR313 10K
C370
C370
0.1uF
0.1uF
R307 10KR307 10K
C C
R278 100RR278 100R
AUOUTL03
C236
C236
10n
10n
R294 100RR294 100R
AUOUTR03
C237
C237
10n
10n
B B
OUT_LINOUT_LIN
R306 100RR306 100R
AUOUTL13
A A
R318 100RR318 100R
AUOUTR13
Near MST.IC
OUT_LINOUT_LIN
OUT_RIN
C260
C260
10n
10n
Ground in the middle of the L/R
5
R439
R439
10K
10K
6VBuf1
R441
R441
10K
10K
6VBuf1
C369
C369
0.1uF
0.1uF
6VBuf1
R415
R415
33K
33K
84
RC4558
RC4558
U46A
U46A
3
+
+
2
-
-
R455 33KR455 33K
C415 100pC415 100p
OP_VCC1
84
5
+
+
6
-
-
R459 33KR459 33K
C416 100pC416 100p
OP_VCC1
84
U47A
U47A
RC4558
RC4558
3
+
+
2
-
-
R308 47KR308 47K
C246 100pC246 100p
OP_VCC1
RC4558
RC4558
84
U47B
U47B
5
+
+
6
-
-
R314 47KR314 47K
C263 100pC263 100p
OP_VCC1
1
RC4558
RC4558
U46B
U46B
7
1
7
12VA
C254 100nFC254 100nF
C161 100nFC161 100nF
12VA
C356
C356
100nF
100nF
R465 0R465 0
MUTE_HP
L31
600(4.5X3.2)
600(4.5X3.2)
C140 1uFC140 1uF
C131 0.1uFC131 0.1uF
27
28
29
30
34
33
23
25
26
5
4
15
14
32
31
C239
C239
2.2uF
2.2uF
L32
L32
600(4.5X3.2)
600(4.5X3.2)
C159 1uFC159 1uF
C110 0.1uFC110 0.1uF
29
30
31
32
25
26
27
C355
C355
100nF
100nF
28
33
34
35
36
C357
C357
100nF
100nF
U54
U54
XTI
BICKI
LRCKI
SDI
SCL
SDA
PDN
PLL_FILTER
PLL_GND
VCC_REG
VSS
VDD
GND_REG
INT_LINE
RST
U55
U55
IN1A
IN1B
IN2A
IN2B
PDN
TRI_STATE
FAULT
TH_WAR
VSS
VSS
VCC
VCC
MUTE_DECT
R374 4.7KR374 4.7K
CA84 470u/35VCA84 470u/35V
C118 1uFC118 1uF
C100 0.1uFC100 0.1uF
12
4
STA533WF
STA533WF
8
11
VCC2
VCC1
STA559BW
STA559BW
GND_SUB
GND2
GND1
GND_DIG
GND_DIG
1
7
22
35
CA85 470u/35VCA85 470u/35V
C151 1uFC151 1uF
C108 0.1uFC108 0.1uF
7
12
VCC2B
VCC2A
VCC1B
GND_SUB
GND2B5GND2A
GND1B13GND1A
1
6
14
19
12VA
MUTE_OUT
1
2 3
+3.3AVDD
L74 FB/2AL74 FB/2A
C107 10uFC107 10uF
C79 0.1uFC79 0.1uF
13
C240 330pF/25VC240 330pF/25V
R351 22R351 22
10
9
C276 330pF/25VC276 330pF/25V
R360 22R360 22
6
OUT3A
18
OUT3B
17
TW
20
EAPD
19
L38 22uHL38 22uH
C282
C282
330pF/25V
330pF/25V
R40522R405
22
L39 22uHL39 22uH
C353
C353
100nF
100nF
CN27
CN27
Speaker
Speaker
1
2
3
4
C243
C243
100nF/25V
100nF/25V
C248
C248
100nF/25V
100nF/25V
C278
C278
100nF/25V
100nF/25V
C279
C279
100nF/25V
100nF/25V
Woofer-
Woofer+
R410 12R410 12
R399 12R399 12
C310 100nF/25VC310 100nF/25V
C305 100nF/25VC305 100nF/25V
R406 12R406 12
R438 12R438 12
R466 12R466 12
R358 12R358 12
C275 100nF/25VC275 100nF/25V
C259 100nF/25VC259 100nF/25V
R357 12R357 12
R468 12R468 12
R454 12R454 12
R359 12R359 12
C281 100nF/25VC281 100nF/25V
C280 100nF/25VC280 100nF/25V
R398 12R398 12
R444 12R444 12
CN29
CN29
Woofer
Woofer
1
2
3
4
Woofer+
C129
C129
470nF
470nF
Woofer-
AMP-Rout+
C121
C121
470nF
470nF
AMP-Rout-
AMP-Lout+
C123
C123
470nF
470nF
AMP-Lout-
L34 22uHL34 22uH
L35 22uHL35 22uH
L37 22uHL37 22uH
L36 22uHL36 22uH
3
3
3
3
3
3
54
12
C283
C283
100nF/25V
100nF/25V
C288
C288
100nF/25V
100nF/25VR251 10KR251 10K
12
54
AMP-Lout+
AMP-LoutAMP-RoutAMP-Rout+
54
12
12
54
54
12
12
54
HEADPHONE OUTPUT
CN1 PHONEJACKCN1 PHONEJACK
MUTE_DECT
1 2
Title
Title
Title
MST6M69FL+MST6M20S LED
MST6M69FL+MST6M20S LED
MST6M69FL+MST6M20S LED
Size Document Number Rev
Size Document Number Rev
Size Document Number Rev
Audio Amplifier 1.0
A3
Audio Amplifier 1.0
A3
Audio Amplifier 1.0
A3
Date: Sheet of
Date: Sheet of
Date: Sheet of
DD57
DD57
ESD-0402
ESD-0402
1
1
5
2
2
6
3
3
7
4
4
1
PH_L
5
PH_R
6
7
11 14Wednesday, August 05, 2009
11 14Wednesday, August 05, 2009
11 14Wednesday, August 05, 2009
Page 27

5
4
3
2
1
12VA
D D
+
+
CA95
CA95
100uF/16V
100uF/16V
Ursa_VCC1.2V
R463 100KR463 100K
C225
C225
0.1uF
0.1uF
Ursa_VDDC
C3411nC341
1n
R460
R460
10K
10K
U15 MP1484U15 MP1484
2
7
6
8
C342
C342
0.1uF
0.1uF
4
9
VCC
EN
COMP
SS
GND
PAD
OUT
BST
FB
3
C343
C343
10n
1
5
10n
R462 4.87K_1%R462 4.87K_1%
R461 12.4K_1%R461 12.4K_1%
L15 22uHL15 22uH
D20
D20
NC/1N5822
NC/1N5822
3
54
12
Ursa_VCC1.2V
+
+
CA96
CA96
470uF/16V
470uF/16V
L16 NC/FB/3AL16 NC/FB/3A
1040mA
C224
C224
0.1uF
0.1uF
1040mA
C97
C97
10uF
C C
10uF
C101
C101
100nF
100nF
C98
100nF
100nF
100nF
100nF
100nF
100nF
100nF
100nF
C105
C105
100nF
100nF
C74
C74
100nF
100nF
C96
C96
100nF
100nF
C122
C122
C102
C102
C99
C99
C98
Ursa DDR2 +1.8V POWER
C296 2.2uFC296 2.2uF
R2
R246 1K_1%R246 1K_1%
1
R282
R282
5VA
2.2R/2W
B B
2.2R/2W
C287
C287
2.2uF
2.2uF
Vout=Vrefx(1+(R2/R1))+IadjxR2
=1.25x(1+(1k/2.4k))+55uAx1k=1.82V
3
C285
C285
0.1uF
0.1uF
R1
R283 2.43K_1%R283 2.43K_1%
U51 AP1084-ADJ
U51 AP1084-ADJ
ADJ
ADJ
IN
IN
Ursa_+1.8V
2
C286
C286
C284
C284
0.1uF
0.1uF
2.2uF
2.2uF
VDDC
+3.3AVDD
250mA
L13 FB/2AL13 FB/2A
L12 FB/2AL12 FB/2A
L10 FB/2AL10 FB/2A
L11 FB/2AL11 FB/2A
Ursa_+3.3V
C93
C93
100nF
100nF
Ursa_AVDD_LVDS
C32
C32
2.2uF
2.2uF
Ursa_AVDD_MPLL
C42
C42
2.2uF
2.2uF
Ursa_AVDD_MEMPLL
C47
C47
2.2uF
2.2uF
C91
C91
100nF
100nF
C31
C31
100nF
100nF
Ursa_+3.3V
C33
C33
100nF
100nF
C48
C48
100nF
100nF
C88
C88
100nF
100nF
C22
C22
100nF
100nF
L20
L20
FB/2A
FB/2A
C92
C92
100nF
100nF
C23
C23
100nF
100nF
C81
C81
C94
C94
100nF
100nF
100nF
100nF
C29
C29
100nF
100nF
Ursa_AVDD_LPLL
C36
C36
C40
C40
100nF
100nF
2.2uF
2.2uF
Ursa_AVDDUrsa_+3.3V Ursa_VDDP
C77
C77
C76
C76
100nF
100nF
100nF
100nF
Ursa_AVDD_DDRUrsa_+1.8V
L14
L14
FB/2A
FB/2A
+
A A
5
+
100uF/25V
100uF/25V
CA21
CA21
200mA
C128
C128
C144
C144
10uF
10uF
100nF
100nF
C142
C142
100nF
100nF
C132
C132
C200
C200
100nF
100nF
100nF
100nF
4
C215
C215
100nF
100nF
C199
C199
100nF
100nF
Title
Title
Title
MST6M69FL+MST6M20S LED
MST6M69FL+MST6M20S LED
MST6M69FL+MST6M20S LED
Size Document Number Rev
Size Document Number Rev
Size Document Number Rev
MST6M20S Power 1.0
MST6M20S Power 1.0
A4
A4
A4
3
MST6M20S Power 1.0
Date: Sheet
Date: Sheet
Date: Sheet
2
12 14Wednesday, August 05, 2009
12 14Wednesday, August 05, 2009
12 14Wednesday, August 05, 2009
1
of
of
of
Page 28

5
D D
C C
B B
Ursa_GPIO1
R81 NC/100R81 NC/100
A A
RP65 0RX4
RP65 0RX4
B4+3
B4-3
B3+3
B3-3
RP66 0RX4
RP66 0RX4
BC+3
BC-3
B2+3
B2-3
RP67 0RX4
RP67 0RX4
B1+3
B1-3
B0+3
B0-3
RP56 0RX4
RP56 0RX4
A4+3
A4-3
A3+3
A3-3
RP57 0RX4
RP57 0RX4
AC+3
AC-3
A2+3
A2-3
RP64 0RX4
RP64 0RX4
A1+3
A1-3
A0+3
A0-3
Ursa_GPIO8
R270 NC/10KR270 NC/10K
Ursa_PWM1
R275 NC/10KR275 NC/10K
Ursa_PWM0
Ursa_GPIO1
Chip Config
CHIP_CONF: {GPIO8, PWM1, PWM0}
CHIP_CONF= 3ˇd5: boot from internal SRAM
CHIP_CONF= 3ˇd6: boot from EEPROM
CHIP_CONF= 3ˇd7: boot from SPI
GPIO1 IS AWAYLS LOW
Debug Port
CN28
CN28
R130NCR130
Debug_Port
Debug_Port
NC
1
2
3
4
Ursa_+3.3V
3
D21
D21
BAV99
BAV99
2
R166
R166
100K
100K
R428 4.7KR428 4.7K
1
1
C346
C346
2.2uF
2.2uF
Ursa_+3.3V
Ursa_SPI_CZ
R421
R421
4.7K
4.7K
Ursa_SPI_DO
R424
R424
NC/4.7K
NC/4.7K
7531
7531
7531
7531
7531
7531
7531
7531
7531
7531
7531
7531
Ursa_+3.3V
R284
R284
4.7K
4.7K
Q18
Q18
3906
3906
3 2
R425
R425
22K
22K
R32 10RR32 10R
R80 10RR80 10R
R132 10KR132 10K
Close to 6M20
Ursa_RXE4+
Ursa_RXE4-
8642
8642
Ursa_RXE3+
Ursa_RXE3-
Ursa_RXEC+
Ursa_RXEC-
8642
8642
Ursa_RXE2+
Ursa_RXE2-
Ursa_RXE1+
Ursa_RXE1-
8642
8642
Ursa_RXE0+
Ursa_RXE0-
Close to 6M20
Ursa_RXO4+
Ursa_RXO4-
8642
8642
Ursa_RXO3+
Ursa_RXO3-
Ursa_RXOC+
Ursa_RXOC-
8642
8642
Ursa_RXO2+
Ursa_RXO2-
Ursa_RXO1+
Ursa_RXO1-
8642
8642
Ursa_RXO0+
Ursa_RXO0-
R79 10KR79 10K
R69 10KR69 10K
R50 10KR50 10K
R48 10KR48 10K
R286
R286
4.7K
4.7K
R45 100R45 100
R41 100R41 100
R59 NC/100R59 NC/100
R60 NC/100R60 NC/100
C345
C345
10uF
10uF
C85
C85
100nF
100nF
Ursa_+3.3V
I2CS_SCL
I2CS_SDA
SCL 1,3,5,11
SDA 1,3,5,11
2009-07-17
R273 NC/100R273 NC/100
R161 1KR161 1K
U44 EN25F40U44 EN25F40
1
CE#
2
SO
3
WP#
VSS4SI
R267 100R267 100
R328 100R328 100
R62 100R62 100
R178 100R178 100
R248 100R248 100
R254 100R254 100
R310 100R310 100
R300 100R300 100
R296 100R296 100
R277 100R277 100
R276 100R276 100
R274 100R274 100
RST_6M20
Ursa_RESET
C3441nC344
1n
VDD
HOLD#
SCK
8
7
6
5
RST_6M20 3
Ursa_+3.3V
R131 10RR131 10R
R51 10RR51 10R
Ursa_B_MDATA4
Ursa_B_MDATA3
Ursa_B_MDATA1
Ursa_B_MDATA6
Ursa_B_MDATA11
Ursa_B_MDATA12
Ursa_B_MDATA9
Ursa_B_MDATA14
Ursa_B_DQM1
Ursa_B_DQM0
Ursa_B_DQS0P
Ursa_B_DQS0M
Ursa_B_DQS1P
Ursa_B_DQS1M
Ursa_B_MDATA15
Ursa_B_MDATA8
Ursa_B_MDATA10
Ursa_B_MDATA13
Ursa_B_MDATA7
Ursa_B_MDATA0
Ursa_B_MDATA2
Ursa_B_MDATA5
Ursa_B_MCLK
Ursa_B_MCLKZ
Ursa_AVDD_MEMPLL
C84
C84
100nF
100nF
Ursa_SPI_CK
Ursa_SPI_DI
I2CS_SDA
I2CS_SCL
Ursa_GPIO8
4
R53 1MR53 1M
Y2 12MHz/DIPY2 12MHz/DIP
R46 0RR46 0R
Ursa_AVDD_DDR
Ursa_VDDP
Ursa_XTALIUrsa_XTALO
C86
C86
C87
C87
20p
20p
20p
20p
U52 6M20
U52 6M20
Ursa_VDDC
1
VSS
2
I2CS_SDA
3
I2CS_SCL
4
GPIO[8]
5
GPIO[9]
6
VSS
7
VDDC
8
GPIO[10]
9
GPIO[11]
10
GPIO[12]
11
GPIO[13]
12
PDI
13
BIST
14
GPIO[14]
15
VDDP
16
VSS
17
VDDC
18
DDR2_DQ[4]
19
DDR2_DQ[3]
20
VSS
21
DDR2_DQ[1]
22
DDR2_DQ[6]
23
AVDD_DDR
24
DDR2_DQ[11]
25
DDR2_DQ[12]
26
VSS
27
DDR2_DQ[9]
28
DDR2_DQ[14]
29
AVDD_DDR
30
DDR2_DQM[1]
31
DDR2_DQM[0]
32
VSS
33
DDR2_DQS[0]
34
DDR2_DQSB[0]
35
AVDD_DDR
36
VDDP
37
VSS
38
DDR2_DQS[1]
39
DDR2_DQSB[1]
40
AVDD_DDR
41
DDR2_DQ[15]
42
DDR2_DQ[8]
43
VSS
44
DDR2_DQ[10]
45
DDR2_DQ[13]
46
AVDD_DDR
47
DDR2_DQ[7]
48
DDR2_DQ[0]
49
DDR2_DQ[2]
50
DDR2_DQ[5]
51
DDR2_MCLK
52
DDR2_MCLKZ
53
VSS
54
AVDD_MEMPLL
Ursa_A4M
Ursa_A3M
Ursa_ACKM
Ursa_A2M
Ursa_A1M
ODSEL2
ODSEL23
Ursa_A0M
R238 NCR238 NC
SDA1,3,5,11 SCL 1,3,5,11
VCC-Panel
R547 NCR547 NC
BRI_IN1
Ursa_RXEC+
Ursa_RXE3-
Ursa_RXE3+
Ursa_RXE4-
Ursa_RXE4+
Ursa_RXE1+
Ursa_RXE2-
Ursa_RXE2+
Ursa_RXEC-
211
212
217
209
213
215
208
210
214
216
RE2P
RE3P
RE4P
RE2N
RE3N
RE4N
RECKP
RECKN
GND217
MST6M20S 216P
MST6M20S 216P
2-CH LVDS in / 4-CH LVDS out
2-CH LVDS in / 4-CH LVDS out
DDR2-16
DDR2-16
DDR2_ODT55DDR2_RASZ56DDR2_CASZ57DDR2_A058DDR2_A259DDR2_A460VSS61DDR2_A662DDR2_A863DDR2_A1164DDR2_WEZ65DDR2_BA166DDR2_BA067DDR2_A168DDR2_A1069AVDD_DDR70DDR2_A571DDR2_A972DDR2_A1273DDR2_A774DDR2_A375DDR2_CKE76VSS77VDDC78I2CM_SCL2_L79I2CM_SDA2_L80VDDP81VSS82LTD_DA0_R83LTD_CLK_R84LTD_DE_R85LTD_DA1_R86PLL_LOCK_R87OP_SYNC_R88SOFT_RST_R89S_M_PIF_DA190S_M_PIF_DA091VSS92S_M_PIF_CLK93S_M_PIF_FC94S_M_PIF_CS95I2CM_SDA2_R96I2CM_SCL2_R97GPIO[31]98GPIO[22]99GPIO[23]
Ursa_B_ODT
Ursa_B_RASZ
Ursa_B_MADR0
Ursa_B_MADR2
Ursa_B_MADR4
Ursa_B_MADR6
Ursa_B_MADR8
Ursa_B_CASZ
CN5 LVDS_1CN5 LVDS_1
1
2
1
2
3
4
3
4
5
6
5
6
7
8
7
8
9
10
9
10
11
12
11
12
13
14
13
14
15
16
15
16
17
18
17
18
19
20
19
20
21
22
21
22
23
24
23
24
25
26
25
26
27
28
27
28
29
30
29
30
32
313132
RE1P
Ursa_RXE1-
207
RE1N
Ursa_B_MADR11
Ursa_AVDD
Ursa_RXE0-
Ursa_RXE0+
204
205
206
RE0P
RE0N
Ursa_B_WEZ
Ursa_B_BA1
Ursa_B_BA0
Ursa_A4P
Ursa_A3P
Ursa_ACKP
Ursa_A2P
Ursa_A1P
ODSEL1
Ursa_A0P
R545 NCR545 NC
R546 NCR546 NC
AVDD
3
Ursa_ACKM
Ursa_A2P
Ursa_ACKP
Ursa_A2M
Ursa_A4P
Ursa_A4M
Ursa_A3P
Ursa_A3M
Ursa_A1P
Ursa_A0P
Ursa_A1M
Ursa_A0M
Ursa_XTALO
Ursa_XTALI
187
186
190
188
189
AVDD
VDDC
XTALO
AVDD_MPLL
LVDS OUT2
CN8 LVDS_2CN8 LVDS_2
1
3
5
7
9
11
13
15
XTALI
Ursa_AVDD_LPLL
7531
7531
7531
7531
8642
8642
8642
8642
RP39 RP22X4
RP39 RP22X4
181
184
185
VSS
1
3
5
7
9
11
13
15
VDDP
183
VDDC
10
12
14
16
182
2
4
6
8
180
VSS
AVDD_LPLL
2
4
6
8
10
12
14
16
175
177
179
176
178
A2P
A1P
A0P
A1M
A0M
Ursa_B4P
Ursa_B3P
Ursa_BCKP
Ursa_B2P
Ursa_B1P
Ursa_B0P
Ursa_AVDD_MPLL
Ursa_RXO0-
Ursa_RXO0+
Ursa_RXO1-
Ursa_RXO1+
Ursa_RXO2-
Ursa_RXO2+
Ursa_RXOC-
Ursa_RXOC+
Ursa_RXO3-
Ursa_RXO3+
Ursa_RXO4-
Ursa_RXO4+
191
193
195
199
201
202
203
VSS
RO4P
RO4N
Ursa_B_MADR10
Ursa_B_MADR1
C90
C90
0.1uF
0.1uF
200
Ursa_B_MADR5
RO3P
RO3N
Ursa_B_MADR9
+
+
196
197
198
ROCKP
ROCKN
Ursa_B_MADR12
Ursa_B_MADR7
Ursa_B_MADR3
ODSEL1 3
PB-ADJUST 1
VCC-Panel
CA26
CA26
100uF/16V
100uF/16V
RO2P
RO2N
Ursa_B_CKE
192
194
RO1P
RO1N
Ursa_B4M
Ursa_B3M
Ursa_BCKM
Ursa_B2M
Ursa_B1M
Ursa_B0M
RO0P
RO0N
Ursa_B0P
Ursa_B0M
Ursa_B1P
Ursa_B1M
Ursa_AVDD_LVDS
7531
7531
7531
7531
8642
8642
8642
8642
RP43 RP22X4
RP43 RP22X4
171
174
173
172
A3P
A2M
ACKP
ACKM
100
A3M
170
A4P
GPIO[24]
101
RP46 RP22X4
RP46 RP22X4
169
A4M
GPIO[25]
102
168
103
Ursa_D4M
Ursa_D3M
Ursa_DCKM
Ursa_D2M
Ursa_D1M
Ursa_D0M
Ursa_C4M
Ursa_C3M
Ursa_CCKM
Ursa_C2M
Ursa_C1M
Ursa_C0M
165
167
166
B0P
VSS
B0M
AVDD_LVDS
GPIO[26]
GPIO[27]
TESTPIN
RESET
104
105
106
163
164
B1P
VDDP
107
108
RP48 RP22X4
RP48 RP22X4
B1M
AVDD_LVDS
MOD_GPIO0
MOD_GPIO1
AVDD_LVDS
MOD_GPIO2
MOD_GPIO3
AVDD_LVDS
VDDC
Ursa_RESET
Ursa_VDDC
REXT
VSS
VDDC
B2P
B2M
BCKP
BCKM
B3P
B3M
B4P
B4M
VSS
C0P
C0M
C1P
C1M
C2P
C2M
CCKP
CCKM
C3P
C3M
C4P
C4M
D0P
D0M
D1P
D1M
VSS
D2P
D2M
DCKP
DCKM
D3P
D3M
D4P
D4M
VDDP
VDDC
GPIO[1]
PWM0
PWM1
SPI_CZ
SPI_DO
SPI_DI
SPI_CK
VSS
CN4 LVDS_3CN4 LVDS_3
1
1
3
3
5
5
7
7
9
9
11
11
13
13
15
15
17
17
19
19
21
21
23
23
25
25
27
27
29
29
313132
33
Ursa_VDDP
R167
R167
820R
820R
162
161
160
159
158
157
RP10 RP22X4
RP10 RP22X4
156
155
154
153
152
151
150
149
148
147
146
145
144
143
142
141
140
139
138
137
136
135
134
133
132
131
130
129
128
127
126
125
124
123
122
121
120
119
118
117
116
115
114
113
112
111
110
109
2
4
6
8
10
12
14
16
18
20
22
24
26
28
30
343433
7531
7531
RP42 RP22X4
RP42 RP22X4
7531
7531
RP44 RP22X4
RP44 RP22X4
7531
7531
RP45 RP22X4
RP45 RP22X4
7531
7531
RP47 RP22X4
RP47 RP22X4
7531
7531
RP49 RP22X4
RP49 RP22X4
7531
7531
RP53 RP22X4
RP53 RP22X4
7531
7531
RP38 RP22X4
RP38 RP22X4
7531
7531
Ursa_GPIO1
Ursa_PWM0
Ursa_PWM1
Ursa_SPI_CZ
Ursa_SPI_DO
Ursa_SPI_DI
Ursa_SPI_CK
2
VCC-Panel
4
Ursa_D4P
6
Ursa_D3P
8
Ursa_DCKP
10
12
Ursa_D2P
14
Ursa_D1P
16
Ursa_D0P
18
20
Ursa_C4P
22
Ursa_C3P
24
Ursa_CCKP
26
28
Ursa_C2P
30
Ursa_C1P
32
Ursa_C0P
8642
8642
8642
8642
8642
8642
8642
8642
8642
8642
8642
8642
8642
8642
8642
8642
Ursa_B2P
Ursa_B2M
Ursa_BCKP
Ursa_BCKM
Ursa_B3P
Ursa_B3M
Ursa_B4P
Ursa_B4M
Ursa_C0P
Ursa_C0M
Ursa_C1P
Ursa_C1M
Ursa_C2P
Ursa_C2M
Ursa_CCKP
Ursa_CCKM
Ursa_C3P
Ursa_C3M
Ursa_C4P
Ursa_C4M
Ursa_D0P
Ursa_D0M
Ursa_D1P
Ursa_D1M
Ursa_D2P
Ursa_D2M
Ursa_DCKP
Ursa_DCKM
Ursa_D3P
Ursa_D3M
Ursa_D4P
Ursa_D4M
2
L18
L18
FB/2A
FB/2A
Ursa_B-MADR0
Ursa_B-MADR1
Ursa_B-MADR2
Ursa_B-MADR3
Ursa_B-MADR4
Ursa_B-MADR5
Ursa_B-MADR6
Ursa_B-MADR7
Ursa_B-MADR8
Ursa_B-MADR9
Ursa_B-MADR10
Ursa_B-MADR11
Ursa_B-MADR12
Ursa_M1-BA0
Ursa_M1-BA1
Ursa_M1-BA2
Ursa_M1_CLK+
Ursa_M1_CLK-
R266 NCR266 NC
Ursa_M1-CKE
Ursa_B_RASZ
R261 56R261 56
Ursa_B_CASZ
R262 56R262 56
Ursa_B_WEZ
R265 56R265 56
Ursa_B_ODT
R268 56R268 56
Ursa_B_MDATA11
RP9 RP22X4
RP9 RP22X4
Ursa_B_MDATA12
Ursa_B_MDATA9
Ursa_B_MDATA14
Ursa_B_MDATA4
RP8 RP22X4
RP8 RP22X4
Ursa_B_MDATA3
Ursa_B_MDATA1
Ursa_B_MDATA6
Ursa_B_MDATA15
RP6 RP22X4
RP6 RP22X4
Ursa_B_MDATA8
Ursa_B_MDATA10
Ursa_B_MDATA13
Ursa_B_MDATA7
RP7 RP22X4
RP7 RP22X4
Ursa_B_MDATA0
Ursa_B_MDATA2
Ursa_B_MDATA5
RP50 RP56X4
RP50 RP56X4
Ursa_B_DQS0P
Ursa_B_DQS0M Ursa_B-DQS0M
RP52 RP56X4
RP52 RP56X4
Ursa_B_DQS1M
RP51 RP56X4
RP51 RP56X4
Ursa_B_MCLK
Ursa_B_MCLKZ Ursa_M1_CLK-
Ursa_DDR_1.8VUrsa_+1.8V
CA97
CA97
+
+
100uF/25V
100uF/25V
Ursa_DDR_1.8V
R260 10KR260 10K
R292 10KR292 10K
C351 100nFC351 100nF
Ursa_RASZM1
Ursa_CASZM1
Ursa_WEZM1
Ursa_B-ODT
7531
7531
7531
7531
7531
7531
7531
7531
7531
7531
7531
7531
7531
7531
M8
M3
M7
N2
N8
N3
N7
P2
P8
P3
M2
P7
R2
L2
L3
L1
J8
K8
K2
Ursa_B-MDATA11
Ursa_B-MDATA12
8642
8642
Ursa_B-MDATA9
Ursa_B-MDATA14
Ursa_B-MDATA4
Ursa_B-MDATA3
8642
8642
Ursa_B-MDATA1
Ursa_B-MDATA6
Ursa_B-MDATA15
Ursa_B-MDATA8
8642
8642
Ursa_B-MDATA10
Ursa_B-MDATA13
Ursa_B-MDATA7
Ursa_B-MDATA0
8642
8642
Ursa_B-MDATA2
Ursa_B-MDATA5
8642
8642
8642
8642
8642
8642
C198
C198
10uF
10uF
MVREF
Ursa_DDR_1.8V
A0
A1
A2
A3
A4
A5
A6
A7
A8
A9
A10
A11
A12
BA0
BA1
BA2/RFU2
CK
CK
CKE
RASK7CASL7WE
Ursa_B-DQS0P
Ursa_B-DQS1PUrsa_B_DQS1P
Ursa_B-DQS1M
Ursa_M1_CLK+
K3
C89
100nF
100nF
J9
VDD
100nF
100nF
100nF
100nF
A1
E1
M9
R1
A9
VDD
VDD
VDD
VDD
VDDQC1VDDQC7VDDQ
U53
U53
EDE5116AJBG-8E
EDE5116AJBG-8E
VDDQ
C3
100nF
100nF
C9
VDDQG1VDDQG3VDDQG7VDDQG9VDDQ
VDDQ
100nF
100nF
C313
C313
100nF
100nF
C175
C175
C297
C297
C176
C176
C308
C308
C89
EDE5116AJBG-8E
CS
VSSQB8VSSQ
VSSQD2VSSQ
VSSQE7VSSQF2VSSQ
VSSDL
ODT
J7
L8
K9
VSSQH2VSSQ
VSSQ
F8
B2
A7
D8
H8
Ursa_B_MADR0
R422 56R422 56
Ursa_B_MADR2
R338 56R338 56
Ursa_B_MADR4
R333 56R333 56
Ursa_B_MADR6 Ursa_B-MADR6
R513 56R513 56
Ursa_B_MADR8
R435 56R435 56
Ursa_B_MADR11
R436 56R436 56
Ursa_B_BA0
R341 56R341 56
Ursa_B_MADR1
R342 56R342 56
Ursa_B_MADR10
R343 56R343 56
Ursa_B_MADR5
R430 56R430 56
R433 56R433 56
Ursa_B_MADR12
R416 56R416 56
Ursa_B_MADR7
R417 56R417 56
Ursa_B_MADR3
R418 56R418 56
Ursa_B_CKE
R429 56R429 56
Ursa_B_DQM0
R449 56R449 56
Ursa_B_DQM1
R450 56R450 56
Ursa_B_BA1
R451 56R451 56
Ursa_B_BA2
R452 56R452 56
For 1G bits DRAM use only
Ursa_DDR_1.8V
R448 NCR448 NC
R413 NCR413 NC
C298
C298
100nF
100nF
C314
C314
100nF
100nF
MVREF
E9
VDDLJ1VREF
VSS
VSSN1VSS
J3
Ursa_B_BA2
J2
E3
P9
1
C300
C300
100nF
100nF
C348
C348
100nF
100nF
LDQS
LDQS
LDM
DQ0
DQ1
DQ2
DQ3
DQ4
DQ5
DQ6
DQ7
DQ8
DQ9
DQ10
DQ11
DQ12
DQ13
DQ14
DQ15
UDQS
UDQS
UDM
VSS
VSS
A3
Ursa_B-MADR7
Ursa_B-MADR3
Ursa_M1-CKE
Ursa_B-DQM0
Ursa_B-DQM1
Ursa_M1-BA1
Ursa_M1-BA2
C302
C302
C301
C301
100nF
100nF
100nF
100nF
C349
C349
C350
C350
100nF
100nF
100nF
100nF
F7
E8
F3
G8
G2
H7
H3
H1
H9
F1
F9
C8
C2
D7
D3
D1
D9
B1
B9
B7
A8
B3
Ursa_B-MADR0
Ursa_B-MADR2
Ursa_B-MADR4
Ursa_B-MADR8
Ursa_B-MADR11
Ursa_M1-BA0
Ursa_B-MADR1
Ursa_B-MADR10
Ursa_B-MADR5
Ursa_B-MADR9Ursa_B_MADR9
Ursa_B-MADR12
C299
C299
100nF
100nF
C347
C347
100nF
100nF
Ursa_B-DQS0P
Ursa_B-DQS0M
Ursa_B-DQM0
Ursa_B-MDATA0
Ursa_B-MDATA1
Ursa_B-MDATA2
Ursa_B-MDATA3
Ursa_B-MDATA4
Ursa_B-MDATA5
Ursa_B-MDATA6
Ursa_B-MDATA7
Ursa_B-MDATA8
Ursa_B-MDATA9
Ursa_B-MDATA10
Ursa_B-MDATA11
Ursa_B-MDATA12
Ursa_B-MDATA13
Ursa_B-MDATA14
Ursa_B-MDATA15
Ursa_B-DQS1P
Ursa_B-DQS1M
Ursa_B-DQM1
Title
Title
Title
MST6M69FL+MST6M20S LED
MST6M69FL+MST6M20S LED
MST6M69FL+MST6M20S LED
Size Document Number Rev
Size Document Number Rev
Size Document Number Rev
MST6M20S 1.0
A2
MST6M20S 1.0
A2
MST6M20S 1.0
A2
Date: Sheet
Date: Sheet
5
4
3
2
Date: Sheet
1
of
13 14Wednesday, August 05, 2009
of
13 14Wednesday, August 05, 2009
of
13 14Wednesday, August 05, 2009
Page 29

9.2 接线图
1
Page 30

序号
名称专用号
外接电源线
2
3
4
5
6
7
8
9
10
电源转接线
机芯供电线
LVDS
LVDS
喇叭线
J
C
本控线
遥控线
D
A
光感应线
A
指示灯连接线
线1
线2
液晶
屏
2
1
电源板
3
5
机
触
您正在使用
ZWCAD 2008i 试用版
摸
详情请查阅WWW.ZWCAD.COM
按
4
芯
7
键
板
音箱
6
9
8
LE40T3
接 线 图
板
遥控板
指示灯
A
10
W92JL-094-Q
青岛海尔电子有限公司
格式(3)
描图
幅面
Page 31

10、机器具体控制、工作原理及参数
电源板将220交流转为12V供给机芯板,同时机芯板控制电源板背光的开/关,从而控制屏的亮/不亮;机芯板
TV经高频头、声表、TDA9886解成图像和声音信号,图像进入主芯片MST6M69,其他信号AV、HDMI、YPbPr、
VGA的图像则是直接进入主芯片,经过A/D、内部图像处理后给液晶屏显示出图像;TV经过解调出来的声
音跟AV的声音、PC的声音经过音频开关进行选择,选择一路对应的音频信号给功放,经扬声器发出声音。
11、机器透视图与平面
12、各模块视图、接口定义
12.1 屏接口定义:
2
Page 32

3
Page 33

112、各模块视图、接口定义
12.1
.机芯板
CN27:扬声器输出
视图
CN29:重低音输出
CN10:机芯供电输入
CN28:6M20用debug
CN4:LVDS输出
CN8:LVDS输出
CN5:LVDS2输出
CN14:本控输入
CN13:MCU调试端口
4
升级接口
CNE3:感光输入 CN15:遥控信号输入
Page 34

12.2 机芯接口定义:
(详见原理图 9.1)
感光信号输入 CNE3 PH-4 3.3V GND SDA_ SCL_
遥控插座 CN15 PH-5 5V IR LED-R LED-B GND
声音输出 CN27 TJC3-4 L+ L- R- R+
机芯供电插 CN10 2*6 12V 12V GND 12V GNDG GND
机芯供电插 7-12 定 5v NC GND PW-ON ADJ PB-ON
重低音输出 CN29 TJC3-2 WOOFER- WOOFER+
本控插座 CN14 PH-4 3.3V GND K0 K1
12.3 电源模块
电源模块视图
CN1:220V输入
插座名 位号 规格 1脚 2脚 3脚 4脚 5脚 6脚 7脚
背光供电:130V~150V
机芯供电 12V
接口定义
Pin
Name
1 2
CN1 火线 零线
5
Page 35

12.4 .遥控板视图
遥控信号接口(CNE2)
1 2 3 4 5
5V IR LEDR LEDB GND
感光信号接口(CNE1)
1 2 3 4
12.5.本控板视图
3.3V GND SCL SDA
12.5触摸按键板视图
接口定义
1 2 3 4
GND KEY0 KEY1 3.3V
6
Page 36

12.6 装饰灯视图
接口定义
1 2
GND 5V
7
Page 37

13、典型故障及解决措施、常见问题咨询
13.1 简要故障判定(仅限于板级维修)
有图无声
扬声器是否异常
更换机芯板
13.2 常见故障现象及排除
现象1:显示屏不能点亮。
可能原因:
a. 主板电源是否插好。
是
更换扬声器
b. 主板是否正常工作。
c. 背光电源插座是否插好。
8
Page 38

d. 背光电源是否输出正常。
e. 主板上背光控制插座是否插好。
现象2:主板不正常工作
a. 主板上是否有虚焊或短路现象(主要 保证供电电路输出是正常)。
b. 主板上所有电源是否正常。
c. FLASH 芯片可能坏
d. 晶振是否起振,频率是否与晶振外壳标注相同
现象3:.显示屏没图象(无LOGO 画面)
a. 主板电源是否正常
b. 主板是否工作
现象4:有图象没声音
a.功放输入电源是否正常
b.扬声器是否插好
c.功放是否有虚焊或短路现象
d.是否在静音状态下
现象5:有声音没图象
a. 背光电源是否输出正常
b. 信号线是否插好
c. 信号线上的5V 是否正常
d. LVDS 芯片输出信号是否正常
现象6:无VGA 图象:
a. VGA 插座是否正常
b. VGA 信号源是否正常(PC 是否开机)
9
Page 39

14、安装和拆卸艺
10
Page 40

L40T3拆装图
1.1底座堵板拆卸 1.1底座堵板拆卸
4个螺钉GB818-85
M8x8(黑)
5个螺钉GB818-85
M4x8(黑)
1.2电源盖板拆卸 1.2电源盖板拆卸
1个螺钉GB818-85
M4x8 发黑
Page 41

1.3后盖拆卸 1.3后盖拆卸
4个螺钉GB81885 M4x8 发黑
3个螺钉GB81885 M3x6 发黑
10个自攻螺钉
SJ2824-87
ST4x12F镀黑锌
1.4音箱拆卸 1.4音箱拆卸
2个螺钉
(SJ2824-87
ST4x12F 带平垫
1
Page 42

1.5底座支撑的拆卸
1.5底座支撑的拆卸
2个螺钉(SJ2824-87
ST4x12F 黑色
4个螺钉GB818-85
M4x8 发黑
1.6机芯板、电源板及端子板的拆卸 1.6机芯板、电源板及端子板的拆卸
1个组合螺钉 M4x8白
锌
7个螺钉十字槽沉头螺
钉 ST2.5x6 黑锌
2个组合螺钉GB9074.4-88
M3X8 白锌
7个螺钉GB9074.488 M3x6 镀白锌
Page 43

1.7导光板、遥控板拆卸
1.7导光板、遥控板拆卸
向左搬动,将板拆下
1个自攻螺钉 (SJ2825-87
ST3*10F)
1.8液晶屏拆卸 1.8液晶屏拆卸
角落处4个自攻螺钉
SJ2824-87 ST4x12F
镀黑锌
Page 44

15、爆炸图及明细
11
Page 45

媒体编号
旧底图总号
底图总号
日期
格式(5)
签名
客户型号
海尔型号
整机号
特技单号
出口国家
客户名称
商标
1
LE42T3
Haier
15
5
4
3
6
7
2
您正在使用
ZWCAD 2008i 试用版
详情请查阅WWW.ZWCAD.COM
8
14
PC STILL
INPUT
AUTO
CLOCK
2
1
576
4
8
Q.VIEW/HOLD PIC/SI ZE
0
I/Ⅱ
MENU
CH
MIXTEXT
SUBTITLE
?
16
9
10
11
12
13
POWER
DISPLAYMUTE
3
9
EXIT
VOL
TIMEINDEX
拟制
谭永明 2009.10.28
审 核
17
曹文乐 2009.10.28
标 准 化
批 准
崔志龙 2009.10.28
娜 捷 2009.10.28
描图: 幅面:A
LE40T3国内机
爆炸图
参考号码
17
16
15
14
13
12
11
10
9
8
7
6
5
4
3
2
1
更 改 标 记
名称
说明书
遥控器
遥控板
发光板
电源开关
本控板
音箱
底座堵板
底座连接件
底座总成
电源线小压板
电源线盖板
后盖
机芯板
侧AV支架
LED
屏
前壳
阶 段 标 记
A
专用号 规格
0090509490D
0094001212A
0090718495D
0090721492
0094001656
0090723117
0094001676
0090204466
0090102663
0090800834
0090204435
0090204434
0090102659
0090723116
0090102664
0094001116AB
0090204425
更 改 单 号 签 名
数 量
HIPS
SGCC t:2.0
玻璃
HIPS
HIPS
SGCC t:0.6
SGCC t:0.6
ABS+PMMA
第 张
3
共 张
11
数量
1
1
1
1
1
1
2
1
1
1
1
1
1
1
1
1
1
Page 46

LE40T3 底座产品结构规格书(平板)
机芯:6M69+6M20 屏:LTA400HF05 00000317127
型号 规格 数据 尺寸图例
整机
净重(带底座)kg 18.4
净重(不带底座)kg 14.5
毛重(带底座)kg /
毛重(不带底座)kg 17.8kg
净尺寸(带底座)mm 989*280*689
净尺寸(不带底座)mm 989*31*631
包装尺寸(含底座包
装)mm
包装尺寸(不含底座) 1090*195*740
/
图一
底座型号 Z46T3-TS
净重 kg 4
毛重 kg 5.8
净尺寸(底座,高度指
至电视下沿距离)mm
580*280*59(玻璃底
座)
图二
170
530
底座
壁挂
支架
装箱量 半柜(台): 192 126(台)混装 普柜: 390 (280)混装 高柜:390(290)混装
特殊
附件
包装尺寸 mm 610*360*235
壁挂 VESA 孔位尺寸(mm):200*200 壁挂型号 ZBG09
注:装箱图见设计文件(仅主机装箱)
无
280
备注:1、若带分离音箱,应注明相应重量、尺寸信息。
2、若带机柜,应注明相应重量、尺寸信息。
12
Page 47

17、各主要检测点的电压
基板检查方法:
1、将主机板与 40 寸工装机连接,连接公司调试信号。
2、接通交流 220V 电源,整机进入待机状态,按遥控或本控开机键,开机进入标准状态。
3、按遥控器“节目+”“节目–”键检查各节目号的图像和伴音信号,应有彩卡、方格、竖卡、彩条、数码
照片、三基色信号等不同制式的图像和伴音信号,要求无漏台,如有漏台,请用自动搜索或手动搜索补齐
此信号;
5、接收 PAL 彩色测试卡信号,用遥控器调音量、平衡、对比度、亮度、色度、锐度控制,声音、画面应有
变化。
6、电视制式检查:接收 PAL-D/K、PAL-I、PAL-B/G、SECAM-BG、NTSC-M各制式的图像和伴音信号,在搜台
时可以自动识别图像制式和声音制式, 检查识别的图像和声音制式是否正确。
7、外端子输入输出检查:按“电视/视频”键,工装机上显示“信号源”菜单,包括:TV、AV、、YPbPr/YCbCr、
VGA,示波器上应可观察到相应的音、视频输入输出信号,工装机上图像和伴音信号应正常。
同时还需要检测 AV 输出信号是否正常。
LE40T3 整机调试说明
绝缘、耐压、接地电阻测试:
机芯安装完后,通电检查正常,上机壳前;测试设备的插头连到电视的电源入口,开始进行以下测试,高
压注意操作安全。
绝缘耐压:;测试电压:3.7kVDC;要求漏电流≤10mA。(交流电源线同地线)
绝缘电阻:仪器:安规自动测试机;测试电压:0.5KVDC;测试时间:3 秒;要求≥100MΩ。(交流电源线
同地线)
基本检查
整机装配完成后,经过常温老化工作后,进入稳定工作状态,进行以下调试
整机调试结束。
接通电源,打开电源开关,待机指示灯由亮白变为暗白。
实验各本机按键功能正常,然后用遥控器进行搜台,直至需要的信号全部搜索完。
整机装配完成后,经过常温老化工作后,进入稳定工作状态,进行以下调试
13
Page 48

同外设协同工作检查及图像声音检查:
1、接收 TV 猫头信号,查看图象的行场重显率≥93%,并且无漏边现象,行场中心基本正确。将声音达到最
大,内置和外置扬声器听觉上无明显失真。
2、 接收 TV 彩条信号,彩色正常,交界处无失真。
3、 转到 AV 状态,接收活动画面,图象正常,声音的左右平衡正常,再转到 Y Pb/Cb Pr/Cr 输入,图象和
声音正常。
4、 VGA,YPbPr 分别输入 64 灰阶信号,检查各灰阶,除最高和最低的各 3 个灰阶,其余基本可以分开。
5、 VGA 状态下,对电视功能进行基本操作:开关,大小,位置,并且图象正常。
6、 检查耳机输出是否正常,PC 状态下检查声音输出是否正常。
图象检查二:
7、 TV 信号,三基色信号,画面没有烙痕(BURN IN),图象无明显带状干扰物,不可有明显跳动亮点出现。
8、 DVD 输入活动画面无明显拖尾现象。
9、 VGA 输入计算机信号检查 1024×786/60Hz,显示正常。
基本功能检查:静音,TV/AV,回看,静止,浏览等各本机按键功能正常。
以上功能检查完毕,合格,将图象、声音模式设定为标准,声音置于 30 左右,语言:汉语,遥控关机。
18、机芯板主要元件功能
1. MST6M69:主芯片内含ADC和VIDEO解码器以及LVDS 输出,并有2D 梳状滤波,采用1.8、2.5 和3.3 供电;
3. MP1482:DC-DC类器件主要是将12V 稳压生成5V;
4. STA559BW,STA533WF:功放,可输出8W*2 伴音;
5. AP1084-3.3、LM1117-1.8、LM1117-2.5:高低电平转换芯片,主要提供其他芯片标准工作信号,保证正
常处理;
6. 24C02:EEPROM;
7. EN25B32:Flash程序存储器。
19、产品主要模块专用号
序号 名称 型号/规格 模块组件号
1 屏 LTA400HF05 0094001076AC
2 电源 屏自带 屏自带
3 机芯板 MST6M69FL 0090723316
14
Page 49

4 本控板 / 0090723117
5 遥控板 / 0090718495D
6 遥控器 HTR-D01A 0094001212A
20、机器软件升级调试说明
20.1、 进入/退出工厂模式的方法
进入工厂模式的方法:MENU->8->8->9->3;
退出工厂模式的方法:按 MENU 键退出工厂。
20.2、 工厂参数说明
20.2.1、在工厂模式下,按上下键上下选择项,确认或者右键进入子菜单,按 MENU 键返回上一级菜单。
Factory Menu
Input Source TV
White Balance ->
ADC Setting ->
Other Setting ->
Video Quality ->
NLC_CURVE ->
6M20 Download ->
6M69 Download ->
Panel Select SS_LED40HF05或SS_LED46HF07
58058
2008-10-17
L-M6M69FL-LG55-DSMB
Panel Select SS_LED40HF05或SS_LED46HF07 这一项为:升完级后必须选择对应的屏。
20.2.2、各子项说明:
15
Page 50

A)Input Source:工厂菜单中快速切换信号源。
选项为 TV、AV1、AV2、、YPbPr/YCbCr、HDMI、PC。
B)White Balance :白平衡调整
White Balance
Input Source TV
Color Mode Standard
Red.Gain 128
Green.Gain 128
Blue.Gain 128
Red.Offset 0
Green.Offset 0
Blue.Offset 0
Save to EEPROM
注:
1、Input Source 项显示当前调整的信号源,不可调整。
2、 Color Mode 项表示养眼调色板中的对应各项,选项为 Standard,6500K,7300K,8500K,
9300K,User
3、Red.Gain,Green.Gain,Blue.Gain 为调整当前信号源亮场的白平衡,范围为 0~255。
4、Red.Offset,Green.Offset,Blue.Offset 为调整当前信号源暗场的白平衡偏移量,范围为-50~50
5、Save to EEPROM 项:调整完亮场和暗场的白平衡后需要执行一下 Save to EEPROM,防止
通过其他通退出工厂菜单时调整的数值不保存。
C)ADC Setting :ADC 调整,此项只在 PC 和 YPbPr 下需要执行一下 ADC Auto
16
Page 51

ADC Setting
Input Source PC
ADC-R-Slope 111
ADC-G-Slope 109
ADC-B-Slope 109
ADC-R-DC 137
ADC-G-DC 129
ADC-B-DC 141
注:
ADC Auto
1、Input Source 项显示当前调整的信号源,不可调整。
2、ADC-R-Slope,ADC-G-Slope,ADC-B-Slope 为调整当前信号源亮场的 ADC,范围为 0~255。此项工厂调
试过程中不允许改动。
3、ADC-R-DC,ADC-G-DC,ADC-B-DC 为调整当前信号源暗场的ADC,范围为 0~255。
此项工厂调试过程中不允许改动。
4、ADC Auto 为自动调整 ADC,在 PC 下用 23291 中的 Pat.818 黑白窗口执行 ADC Auto,在 YPbPr 下用 23291
中的 Pat.37 彩条执行 ADC Auto。
D)Other Setting
Power On Mode On
Other Setting
AGING On
INIT EEPROM
Debug Mode Off
Bus Off Off
Init TV Channel
BackLight 220
IF AGC 16
EG Demo Mode Off
Curtain On
注:
17
Page 52

1、Power On Mode:交流上电时开机模式,默认为 On,出厂时需要设为Off。
On 表示交流上电直接开机;Memory 表示交流上电记忆上次断电前的状态;Off 表示交流上电处于待机
状态
2、 AGING 项表示老化模式,为 On 时无信号也不待机,交流上电时直接开机;为 Off 时无信号 15 分钟自
动待机。此项为 On 时调整 Power On Mode 项不起作用。默认为 On,出厂时需要设为 Off。
3、INIT EEPROM:初始化 EEPROM,将工厂菜单和用户菜单设置值恢复为默认状态
4、Debug Mode:Debug 开关,为 Off 时允许 Debug,为 On 时不允许 Debug。默认为 Off。此项工厂调试过
程中不允许
5、Bus Off:释放总线开关,即工程机中克隆功能选择开关,为 Off 时不起作用,为 On 时释放总线。默认
为 Off。
6、Init TV Channel:执行此项为会将工厂信号频点预置到 EEPROM 中,退出工厂菜单再换台时会重新刷新
7、BackLight:背光亮度控制,范围为 0~255。此项工厂调试过程中不允许改动。
8、IF AGC:中放的 AGC 调整。此项工厂调试过程中不允许改动。
9、EG Demo Mode:此项的增加是为了商场演示护眼的时候可以让用户看到功率的变化。设为 On 的时候观
看护眼不仅改变图像菜单中的亮度、对比度,还会改变背光亮度,此时按屏显键会在屏幕右侧呼出一个竖
向的进度条提示功耗从 0 到 100%,此功能只为商场演示模式,用户状态下不存在;设为 Off 时,观看护眼
只改变菜单中的亮度、对比度的数值。出厂默认为 Off。
10、Curtain:拉幕开关机的开关。设为 On 时,功能菜单中的开机护眼中有拉幕选项;设为 Off 时,功能菜
单中的开机护眼中无拉幕选项。默认为 On。
改动。
预置进去的频点。执行 INIT EEPROM 也会将工厂频点预置进去
11、DSMB: DSMB 接口功能开关。设为 On 时,支持 DSMB 相关功能;设为 Off,该功能关掉。默认为
On。
E)Video Quality:图像模式项调整,此项工厂调试过程中不允许改动。
Input Source PC
Picture Mode Standard
Contrast 50
Brightness 50
Sharpness 50
Chroma 50
Save to EEPROM
Video Quality
18
Page 53

注:
1、Input Source 项显示当前调整的信号源,不可调整。
2、Picture Mode 选中相应项(Standard/Bright/Soft/User/Eye Guard)后调整 Contrast、Brightness、Sharpness、Chroma
的值可以改变菜单中显示的具体数值和效果
3、Save to EEPROM 项:调整完图像模式后需要执行一下 Save to EEPROM,防止通过其他通道退出工厂菜
单时调整的数值不保存。
F)NLC_CURVE:亮度曲线,对比度曲线,色度曲线,清晰度曲线,声音曲线调整项,此项工厂调试过程
中不允许改动。
NLC_CURVE
Brighness ->
Contrast ->
Chroma ->
Sharpness ->
Volume ->
注:
1、亮度曲线调整
Brightness NLC_CURVE
Input Source PC
Brighness0 0
Brighness1 80
Brighness2 128
Brighness3 153
Brighness4 190
其中 Brighness0 代表实际亮度为 0 的情况,Brighness1 代表实际亮度为 25 的情况,Brighness2 代表实际亮度
为 50 的情况,Brighness3代表实际亮度为 75 的情况,Brighness4 代表实际亮度为 100 的情况。
19
Page 54

2、对比度曲线,色度曲线,清晰度曲线,声音曲线同亮度曲线一样都是均匀分布
6M69 机芯升级步骤(LE40T3 LE46T3)
1、将软件名为 AP.Bin 和 MFC.Bin 文件拷贝到 U 盘的根目录下(拷入同一 U 盘
即可),拔掉信号线或在 USB 状态(
建议在USB状态下升级
),把拷有软件U
盘插在机器 USB 接口上。
2、进入工厂菜单:按遥控器“菜单"键出现菜单,再依次按数字键“8、8、9、
3"即可进入工厂菜单。
首先对 6M69FL 进行升级
进入工厂菜单中选中“
键执行 USB 升级,
此时此项后面会提示 please wait……,升级完成后电视会自动
6M69FL Download"
此项后(如图 1),按“音量+"
待机重启(大概 3 分钟左右,有的机器不重启)。
再对 6M20 进行升级
步骤同 6M69FL 步骤,选中 6M20 Download.注意升完 6M20 可能出现图像闪
的现象,必须进行断电上电过程。
3、如果没有U盘中没有AP.Bin或MFC.Bin文件或没有插入U盘时,执行此项时会
提示Please Plug In USB Disk的信息。
4、升级成功后,需要对机器进行初始化,选中此项“OtherSetting",按“
+
"键(
键,进行初始化。初始化后,机器上电会自动开机,
如图1
)。出现如图2菜单,选中“INNT EEPROM"(如图2)按“
所以把 Power On Mod和AGING
音量
音量+
"
选项设置为OFF。上电即为待机状态。
5、以上操作完毕后要在工厂菜单中选择屏的型号(如图1中的最后选项“Panel
Select")可按机型选择SS_LED40HF05或SS_LED46HF07,也是说40寸选择40的,
46寸选项46的。
6、软件版本号识别方法: 2008-10-17 代表软件日期,请以最终下发的软件日期
为准。
20
Page 55

Factory Menu
Input Source TV
White Balance ->
ADC Setting ->
Other Setting ->
Video Quality ->
NLC_CURVE ->
6M20 Download ->
6M69 Download ->
Panel
58058
2008-10-17
图 1 图 2
Other Setting
Power On Mode On
AGING On
INIT EEPROM
Debug Mode Off
Bus Off Off
Init TV Channel
BackLight 220
IF AGC 16
EG Demo Mode Off
Curtain On
注意事项:
1、升级过程中不能断电,否则机器可能死机!
2、升级过程中不要插信号线,即选择无信号源状态或USB状态下。
3、将程序解压后存入U盘根目录下,程序名为AP.bin或MFC.Bin(如果已经命名
好的,就不用更改了);
4、根目录下只能存一个程序;
5、只能用U盘接口升级,SD卡槽和MP3\4等不能升级;
6、升级的优盘文件系统必须设置为 FAT32。
7、
如果升级过程中出现意外或没有菜单,可以盲操作。插入待有程序的 U 盘。按
菜单再按 8893 进入工厂菜单,然后按向上键三下再按向右键,重新升级。
21
Page 56

地 址:中国·山东·青岛市海尔路 1 号海尔工业园
邮 编:266101
E-mail:http://www.haier.com
22