Featuring "Electro-Proportional" Control System
Part No. 89-126302 • Initial Issue dated April, 1994 •
| Introduction | iii |
|---|---|
| Machine Specifications | iv |
| Machine Diagrams | v |
| Range Diagram | v |
| General Arrangement Diagram | vi |
| Gradeability Conversion Chart | vi |
| Safety Symbols | |
|---|---|
| Safety Rules and Precautions | 1-4 |
| Safety-Related Decals | |
| Safety and Control Decal Locations | |
| Safety and Control Decal Identification | 1-13 |
|
Unloading Procedures
Primary Machine Components |
. 2-3
. 2-7 |
|---|---|
| Ground Controls | . 2-8 |
| 2-12 | |
| Piallorin Conirois | 2-10 |
| Graphic Display | 2-24 |
| Sidii-up Piocedules | າ າຣ |
| Snill Checks | 2-20 |
| Muchine Siun-up | 2-27 |
| Axie Exicitia Procedule | 2-20 |
| Biouria Operation and Checks | 2-01 |
| Operation | 2-40 |
| Cold Weather Operation | 2-19 |
| Driving and Steering | 2-43 |
| Braking | 2-50 |
| Boom Superstructure and Diatform | 2-50 |
| 2-57 | |
| Dual Fuel Engine Operation | 2.52 |
| Diesel Engine Operation | 2-53 |
| Shut-down Procedures | 2-54 |
| Transporting The Unit | 201 |
| Towing Procedures | 2-55 |
| Truck or Trailer Transport | |
| Boom in STOW- N -GO ™ Mode | 2-56 |
| Boom in Conventional Mode | 2-61 |
| Emergency System and Procedures | |
| Emergency Electrical Pump | 2-63 |
| Unpowered Emergency Movement | 2-64 |
| Emergency Lowering | 2-65 |
TABLE OF CONTENTS
|
General Maintenance Tips
Shift Operational Checklist Weekly Operational Checklist Monthly Operational Checklist |
3-3
3-4 3-7 3-9 .3-11 |
|---|---|
| Troubleshooting | |
| What to check if unit will not start: | 3-13 |
| What to check if functions will not operate: | 3-13 |
| Lubrication Chart | 3-14 |
| oplicable Standards and Regulations | A-3 |
|---|---|
| NSI/SIA A92.5 - 1992 (Partial) | A-5 |
| 5. Responsibilities of Dealers | A-5 |
| 6. Responsibilities of Owners | A-7 |
| 7. Responsibilities of Users | A-10 |
| 8. Responsibilities of Operators | A-16 |
| 9. Responsibilities of Lessors | A-20 |
| 10. Responsibilities of Lessees | A-21 |
Simon Aerials "High Five" Limited Warranty Transfer of Ownership Notice (Business Reply Cards) Catalog Comment Card (Business Reply Cards)
TABLE OF CONTENTS
NTRODUCTION
This Operator's Manual has been designed to provide you with the instructions needed to properly and safely operate your Simon RP 120 Reach Plus Self-Propelled Aerial Work Platform featuring Electro-proportional controls.
THIS OPERATOR'S MANUAL MUST BE READ AND UNDERSTOOD PRIOR TO OPERATING YOUR SIMON SELF-PROPELLED AERIAL WORK PLATFORM.
OPERATORS MUST BE AWARE OF AND COMPLY WITH ALL MANUFAC-TURER'S INSTRUCTIONS AND APPLICABLE OSHA/ANSI SAFETY GUIDE-LINES.
FAILURE TO COMPLY WITH MANUFACTURER'S INSTRUCTIONS AND OSHA/ANSI SAFETY GUIDELINES WILL RESULT IN SERIOUS INJURY OR DEATH.
Your Simon RP 120 has been designed and built to provide many years of safe, dependable service. To obtain the full benefit of your RP, always follow the proper operating and maintenance procedures as outlined in this manual. Only trained, authorized personnel should be allowed to operate or service this machine. Service personnel should read and study this manual in order to gain a thorough understanding of the functions of the unit prior to making any repairs.
MODIFICATIONS OF THIS MACHINE FROM THE ORIGINAL DESIGN AND SPECIFICATION WITHOUT WRITTEN PERMISSION FROM SIMON AERIALS INC. ARE STRICTLY FORBIDDEN. A MODIFICATION MAY COMPROMISE THE SAFETY OF THE MACHINE, SUBJECTING USERS TO SERIOUS INJURY OR DEATH. ANY SUCH MODIFICATION WILL VOID ANY REMAINING WARRANTY.
Simon reserves the right to change, improve, modify or expand features of its equipment at any time. Specifications, models or equipment are subject to change without notice, and without incurring any obligations to change, improve, modify or expand features of previously delivered equipment.
All Simon manuals are periodically updated to reflect changes that occur in the equipment. Please contact the factory with any questions you may have regarding your machine, or the availability of more recent manuals.
| Working Height Platform Height Horizontal Reach Boom Angle O°) |
|
|---|---|
| Platform Capacity (Unrestricted) | 500 Lbs. / 225 Kg |
| Standard |
30 In. x 60 In. x 42 In.
/
.76 M x 1.52 M x 1.07 M |
| Optional | 36 In. x 96 In. x 42 In./ |
| Stowed Length (STOW- N -GO ™ Position) | 36 Ft 0 In. / 10.97 M |
| Stowed Height |
. 9 Ft 0 In./ 3.04 M
. 8 Ft 0 In./ 2.44 M |
| Machine Width: with axles extended |
11 Ft 8 In./ 3.56 M
12 Ft 0 In./ 3.66 M |
| . 11 in./ 27.9 cm | |
| Maximum Travel Speed: | 47,700 LDS./ 21,030 Kg |
| Boom Stowed (Note 1) |
2.8 MPH
/ 4.5 KPH
0.5 MPH / 0.8 KPH |
| Outside Turning Radius | 24 Ft 0 In. / 7.32 M |
|
. 180°
360° continuous, either direction |
|
| Tire Size | 15 x 22.5 (16 Ply) |
| Tire Pressure (not applicable to foam filled fires) | |
| Fuel Capacity: | |
| 30 Lbs. / 14 Kg | |
| Swing Bearing Bolt Torque |
280 Ff Lbs. / 380 Nm/ 38.7 Kg-m
220 Ff Lbs. / 298 Nm / 30.4 Kg-m 170 Ff Lbs. / 231 Nm / 23.5 Kg-m Two 12 Volt DC Batteries |
|
Engine Availability:
Standard Ford CSG-649, 110 HP (82 Kw), Liquid C Optional Ford CSG-649, 110 HP (82 Kw), Liquid C Deutz F4L912, 71 HP (53 Kw), Air Coole Perkins 4.236, 81 HP (60 Kw), Liquid co |
Cooled, Gasoline
Cooled, Dual Fuel d, Diesel Doled, Diesel |
Note 1: Weight and performance shown represent typical units, and should be used as a general guideline only. Many variables between machines can lead to significant differences in these factors. Accurate figures, when necessary for a particular application, can best be determined by testing of the specific unit.
MACHINE SPECIFICATIONS
Page iv
APRIL 1994
RP 120 REACH PLUS OPERATOR'S MANUAL
Page 1- 1
| Cafaty Symbols | 13 |
|---|---|
| Safety Rules and Precautions | 1-4 |
| Safetý-Related Decals | |
| Safety and Control Decal Locations | 1-12 |
| Safety and Control Decal Identification | 1-13 |
SAFETY SYMBOLS
This manual contains important information on the safe use of your SIMON Self-Propelled Aerial Work Platform. Your failure to read, understand and follow all safety rules, warnings and instructions will unnecessarily expose you and others to dangerous situations. For your safety and the safety of those around you, you must operate your aerial work platform as instructed in this manual.
You, the operator, are the single most important factor for safety when using any piece of equipment. Learn to operate your work platform in a safe manner.
To help you recognize important safety information, we have identified warnings and instructions that directly impact on safety with following signals:
"DANGER" INDICATES AN IMMINENTLY HAZARDOUS SITUATION WHICH, IF NOT AVOIDED, WILL RESULT IN DEATH OR SERIOUS INJURY. THIS SIGNAL WORD IS LIMITED TO THE MOST EXTREME SITUATIONS.
"WARNING" INDICATES A POTENTIALLY HAZARDOUS SITUATION WHICH, IF NOT AVOIDED, COULD RESULT IN DEATH OR SERIOUS INJURY.
"Caution" indicates a potentially hazardous situation which, if not avoided, may result in minor or moderate injury. It is also used to alert against unsafe practices, and for property-damage-only situations.
One final note: The best method to protect yourself and others from injury or death is to use common sense. If you are unsure of any operation, don't start until you are satisfied that it is safe to proceed.
• ELECTROCUTION HAZARD!! THIS MACHINE IS NOT INSULATED!! Maintain safe clearance from electrical lines and apparatus. You must allow for machine sway (side to side movement) when elevated, and electrical line movement. This machine does not provide protection from contact with or proximity to an electrically charged conductor.
You must AVOID CONTACT between any part of the machine, or its load, and any electrical line or apparatus carrying up to 300 volts.
You must maintain a CLEARANCE OF AT LEAST 10 FEET (3.05 M) between any part of the machine, or its load, and any electrical line or apparatus carrying over 300 volts up to 50,000 volts. One foot (30.5 cm) additional clearance is required for every additional 30,000 volts.
DEATH OR SERIOUS INJURY will result from contact with, or inadequate clearance from, any electrically charged conductor.
SAFETY RULES
SAFETY RULES
SAFETY RULES
SAFETY RULES
A CAUTION
SAFETY RELATED DECALS
10-142100 Decal, "DANGER" (Hazard listing at platform controls)
SAFETY RELATED DECALS
Page 1-10
SAFETY RELATED DECALS
TO ASSURE FULL AXLE EXTENSION, ALL FOUR 2" WHITE STRIPES MUST BE FULLY EXPOSED !
10-013100 Decal, "WARNING" ("To Assure Full Axle Extension...")
AT MAX SIDE REACH
WITHIN 4 FT. OF MAX REACH
AXLES EXTENDED
10-240700 Decal, Ground Indicator Lamps
10-145300 Decal, Platform Capacity [18-1/4" (464 mm) wide]
PLATFORM CAPACITY 500 LBs. (225 kg)
10-148300 Decal, Platform Capacity [4-1/2" (114 mm) wide]
|
ltem
No. |
Part Number | Description | Qty. |
|---|---|---|---|
| 1 | 10-144300 | Placard, Ground Electrical Controls | 1 |
| 2 | 10-240700 | Decal. Ground Indicator Lamps | 1 |
| 3 | 10-224900 | Placard, Remote Control Pendant | 1 |
| 4 | 10-130600 | Decal "DANGER" (Hazard listing at Ground Controls) | 1 |
| 5 | 10-012600 | Decal, "OPEN HYDRAULIC TANK VALVES " | 1 |
| 6 | 10-007200 | Decal, "DISENGAGE LOCK PIN " | 2 |
| 7 | 10-148300 | Decal, "PLATFORM CAPACITY 500 LBS (225 Kg)", | |
| [4-1/2" (114 mm) wide] | 4 | ||
| 8 | 10-145100 | Decal, "DANGER" ("Électrocution ") | 2 |
| 9 | 10-117900 | Placard, "GASOLINE ONLY" | |
| (for versions with gasoline engine) | 1 | ||
| 10-151100 | Placard, "DIESEL FUEL ONLY" | ||
| (for versions with optional Diesel engine) | 1 | ||
| 10 | 10-151300 | Placard, "HYDRAULIC FLUID ONLY " | 1 |
| 11 | 10-012900 | Decal, "FORWARD" with Arrow | 2 |
| 12 | 10-169100 | Placard, Platform Controls | 1 |
| 13 | 10-224500 | Decal, "DISPLAY CONTRAST " | 1 |
| 14 | 10-224600 a | Decal, Boom Function Speed Control | 1 |
| 15 | 10-224600 b | Decal, " ALL AXLES ARE EXTENDED" | 1 |
| 16 | 10-147400 | Decal, Platform Level and Rotate Controls | 1 |
| 17 | 10-142100 | Decal "DANGER" (Hazard listing at Platform Controls) | 1 |
| 18 | 10-013100 | Decal, "WARNING" | |
| ("To Assure Full Axle Extension ") | 2 | ||
| 19 | 2132070 | Decal, Axle Extend Instructions | 1 |
| 20 | 2132080 | Decal, "STEER OR AXLE " | 1 |
| 21 | 10-240400 | Decal, "DANGER, RP 120 RANGE DIAGRAM" | 2 |
| 22 | Call Service | Plate, Serial | 1 |
| 23 | 10-139800 | Decal, "OPERATOR'S MANUAL" | 1 |
| 24 | 10-145300 | Decal, "PLATFORM CAPACITY 500 LBS (225 Kg)", | _ |
| [18-1/4" (464 mm) wide] | 1 |
PLACARD LOCATIONS
RP 120 REACH PLUS OPERATOR'S MANUAL
OPERATION
| Unloading Procedures |
2-3
2-7 |
|---|---|
| Ground Controls | 2-8 |
| Remote Control Pendant | 2-12 |
| Platform Controls | 2-16 |
| Graphic Display | 2-24 |
| Start-up Procedures | |
| Shift Checks | 2-26 |
| Machine Start-up | 2-27 |
| Axle Extend Procedure | 2-28 |
| Ground Operation and Checks | 2-31 |
| Platform Operation and Checks | 2-40 |
| Operation | |
| Cold Weather Operation | 2-49 |
| Driving and Steering | 2-00 |
| Braking | 2-00 |
| Boom, Superstructure and Platform | 2-01 |
| Gasoline Engine Operation | 2-02 |
| Dual Fuel Engine Operation | 2-52 |
| Shut down Procedures | 2-50 |
| Transporting The Unit | - 07 |
| 2-55 | |
| Truck or Trailer Transport | - 00 |
| Boom in STOW- N -GO™ Mode | 2-56 |
| Boom in Conventional Mode | 2-61 |
| Emergency System and Procedures | |
| Emergency Electrical Pump | 2-63 |
| Unpowered Emergency Movement | 2-64 |
| Emergency Lowering | 2-65 |
OPERATION
JNLOADING PROCEDURES
TO AVOID SERIOUS PERSONAL INJURY OR DEATH, ENSURE THAT THE MACHINE IS IN "LOW" DRIVE SPEED WHILE UNLOADING FROM A TRUCK OR TRAILER.
ALWAYS USE A WINCH TO ASSIST LOADING OR UNLOADING THE UNIT FROM A TRUCK OR TRAILER. CONNECT WINCH CABLE TO THE TIE DOWN LUGS ON THE UNDERCARRIAGE. UNASSISTED LOADING OR UNLOAD-ING OF ANY MOBILE PLATFORM IS NOT RECOMMENDED.
READ AND UNDERSTAND ALL SAFETY, CONTROL AND OPERATING INFORMATION FOUND ON THE MACHINE AND IN THIS MANUAL BEFORE OPERATING THE UNIT.
APRIL 1994
UNLOADING PROCEDURES
10. Start engine, using the ground controls.
NOTE: Refer to Start-up Procedures and Operator Controls Descriptions in this section.
After a brief warm-up period, select the "HI" engine speed. On the remote control pendant, press and hold the "PUMP" toggle switch to the "MAIN" position, but do not operate any drive or boom function. This is called "deadheading", and will lead to maximum system pressure registering on the gauge at the ground control valve assembly. Refer to the "Machine Specifications" section of this manual for the "Maximum Hydraulic Pressure" for this unit.
Select the "LOW" engine speed and allow the engine to slow to idle speed.
Swing Jib Around to Operational Mode.
Raise Boom Support Stand.
19. Align hinge and main boom holes by moving the jib boom, and insert boom lock pins to secure hinge boom to main boom.
If hinge and main boom holes do not line up, slightly lower main boom onto ground to apply pressure on jib boom.
20. Secure hinge boom to main boom with both boom lock pins and hairpin clips.
21. Turn engine off.
UNLOADING PROCEDURES
Left Hand Side.
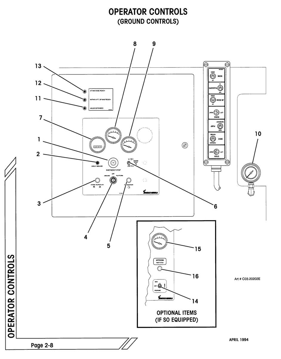
OPERATOR CONTROLS
| ltem | Control | Location | Description |
|---|---|---|---|
| 1. |
Emergency Stop
Button |
On Ground
Electrical Panel |
Used to stop all functions in an emergency. Push for emergency stop. Pull or rotate clockwise to reset, depending on style used. |
| 2. | Circuit Breaker |
On Ground
Electrical Panel |
Pops out when the 12 Volt electrical circuit is over-
loaded. Push in to reset. |
| 3. |
Choke/
Glow Plug Button |
On Ground
Electrical Panel |
Choke button for gas or dual fuel engines. Press and hold while starting a cold engine. |
| Glow plug button for some Diesels. Press and hold (if so equipped) to preheat combustion chamber before starting a cold engine. | |||
| 4. |
Main Power Key
Switch |
On Ground
Electrical Panel |
Three position main power "On/ Off" switch. Straight up position is "OFF". |
|
Turn key left (counterclockwise) one position to turn
power "ON" for ground control operation. Turn key right (clockwise) one position to turn power "ON" for plat- form control operation. |
|||
| With key switch "OFF", the key may be removed to prevent unauthorized operation. | |||
| 5. |
Engine Start
Button |
On Ground
Electrical Panel |
Press push button to engage engine starter. Release
button immediately upon engine start. If the engine does not start within 10 seconds, the main power key switch must be turned off and then on again to start. |
| NOTE: Main power key switch must be in "GROUND" position. | |||
| 6. |
Engine RPM
(Throttle) Switch |
On Ground
Electrical Panel |
Flip toggle down for "LO" (idle) engine speed. Flip toggle up for "HI" engine speed. |
| IMPORTANT: Engine should not be in "LO" speed while operating any hydraulic functions. | |||
| 7. | Hour Meter |
On Ground
Electrical Panel |
Indicates total elapsed time that the engine has been operated in hours and tenths. |
OPERATOR CONTROLS
| ltem | Control | Location | Description |
|---|---|---|---|
| 8. | Volt Meter |
On Ground
Electrical Panel |
Indicates electrical system voltage. |
| 9. |
Engine Oil Pres-
sure Gauge |
On Ground
Electrical Panel |
Indicates engine oil pressure. |
| 10. |
Hydraulic Fluid
Pressure Gauge |
Beneath Ground
Valves |
Indicates hydraulic fluid pressure. |
| 11. |
L.E.D. Indicator
(Green) |
On Ground
Electrical Panel |
When lit, indicates that front and rear axles are fully extended, and full range of boom operation is possible. |
| 12. |
L.E.D. Indicator
(Yellow) |
On Ground
Electrical Panel |
When lit, indicates that boom is within 4 Feet (1.22 M) of maximum outreach. Envelope Control System (ECS) will not allow boom functions (Main boom extend or lower, jib boom raise) to extend beyond the perimeter of the performance envelope. |
| 13. |
L.E.D. Indicator
(Red) |
On Ground
Electrical Panel |
When lit, indicates that boom has reached the perim-
eter of the performance envelope. |
| 14. |
Gas/ Off/ Propane
Switch (Optional) |
On Ground
Electrical Panel |
Flip toggle up to use gasoline, down to use propane. In "OFF" position, the engine is not supplied with fuel. |
| 15. |
Engine Coolant
Temperature Gauge (Optional) |
On Ground
Electrical Panel |
Indicates Engine coolant temperature. |
| 16. |
Intercom "Push-
To-Talk" Button (Optional) |
On Ground
Electrical Panel |
Press and hold to talk to operator in platform. Micro-
phone is located in speaker above electrical panel. |
| 17. |
Axle Extend Knob
(Not shown) |
On side of
undercarriage, behind left rear wheel |
Pull knob out to select Axle Extend function. Refer to Axle Extend Procedure in this section. |
| 18. |
Steer Wander
Control Valve (Not shown) |
Near Ground
Electrical Panel |
Available with optional tow package only. Pull valve knob out to allow the steering to be free wheeling Push valve knob in to engage steering. |
Control operation direction shown here in relation to "FORWARD" arrow on undercarriage. Superstructure and undercarriage lock pin holes line up when platform controls face "FORWARD" per arrow.
OPERATOR CONTROLS
DPERATOR CONTROLS
| ltem | Control | Location | Description |
|---|---|---|---|
| 1. |
Steer Toggle
Switch |
On Remote
Control Pendant |
Push to left and hold to turn steer wheels to left, right to turn to right. To straighten wheels, push and hold switch in opposite direction. |
WITH THE PLATFORM OVER THE STEERING WHEELS, USE CAUTION WHEN SELECTING THE STEERING DIRECTION. STEER DIRECTION WILL BE OPPOSITE SWITCH MOVEMENT. SEE DIAGRAM, FACING PAGE.
During axle extend procedure, the steer switch is used to extend and retract the axles.
2. Drive (Propel) On Remote Control Pendant On Remote Control Pendant On Remote Control Pendant On Remote Control Pendant On Remote Control Pendant On Remote Control Pendant On Remote Control Pendant On Remote Control Pendant On Remote Control Pendant On Remote Control Pendant On Remote Control Pendant On Remote Control Pendant On Remote Control Pendant On Remote Control Pendant On Remote Control Pendant On Remote Control Pendant On Remote Control Pendant On Remote Control Pendant On Remote Control Pendant On Remote Control Pendant On Remote Control Pendant On Remote Control Pendant On Remote Control Pendant On Remote Control Pendant On Remote Control Pendant On Remote Control Pendant On Remote Control Pendant On Remote Control Pendant On Remote Control Pendant On Remote Control Pendant On Remote Control Pendant On Remote Control Pendant On Remote Control Pendant On Remote Control Pendant On Remote Control Pendant On Remote Control Pendant On Remote Control Pendant On Remote Control Pendant On Remote Control Pendant On Remote Control Pendant On Remote Control Pendant On Remote Control Pendant On Remote Control Pendant On Remote Control Pendant On Remote Control Pendant On Remote Control Pendant On Remote Control Pendant On Remote Control Pendant On Remote Control Pendant On Remote Control Pendant On Remote Control Pendant On Remote Control Pendant On Remote Control Pendant On Remote Control Pendant On Remote Control Pendant On Remote Control Pendant On Remote Control Pendant On Remote Control Pendant On Remote Control Pendant On Remote Control Pendant On Remote Control Pendant On Remote Control Pendant On Remote Control Pendant On Remote Control Pendant On Remote Control Pendant On Remote Control Pendant On Remote Control Pendant On Remote Control Pendant On Remote Control Pendant On Remote Control Pendant On Remote Control Pendant On Remote Control Pendant On Remote Control Pendant On Remote Control Pendant On Remote Control Pendant On Remote Control Pendant On Remote Control Pendant On Remote Control Pendant
WHEN THE PLATFORM IS SWUNG OVER THE STEER-ING WHEELS, USE CAUTION WHEN SELECTING THE TRAVEL DIRECTION. TRAVEL DIRECTION WILL BE OPPOSITE SWITCH MOVEMENT. SEE DIAGRAM, FACING PAGE.
3. Pump Selector On Remote Push up and hold to activate main hydraulic pump, Toggle Switch Control Pendant enabling operation of any of the hydraulic functions (drive, steer, or boom movement) from the ground.
On Remote Push down and hold to activate battery powered emergency hydraulic pump, allowing operation of hydraulic functions (drive, steer or boom movement) from the ground should the engine powered hydraulic pump be disabled.
OPERATOR CONTROLS
Control operation direction shown here in relation to "FORWARD" arrow on undercarriage. Superstructure and undercarriage lock pin holes line up when platform controls face "FORWARD" per arrow.
OPERATOR CONTROLS
| tem | Control | Description | |
|---|---|---|---|
| 4. |
Swing Toggle
Switch |
On Remote
Control Pendant |
Push and hold left to swing the superstructure left (clockwise) and to the right to swing the superstructure right (counterclockwise). |
| 5. |
Jib Boom Toggle
Switch |
On Remote
Control Pendant |
Push up and hold to raise (hoist) jib boom, and down to lower jib boom. |
| 6. |
Boom Telescope
Toggle Switch |
On Remote
Control Pendant |
Push up and hold to extend main boom, and down to retract main boom. |
| 7. |
Main Boom
Toggle Switch |
On Remote
Control Pendant |
Push up and hold to raise (hoist) main boom, and down to lower main boom. |
| 8. |
Pendant Hanger
Knobs |
Back of Remote
Control Pendant |
Used to hang Remote Control Pendant on the panel to the right of the Ground Control Box when not in use. |
Page 2-16
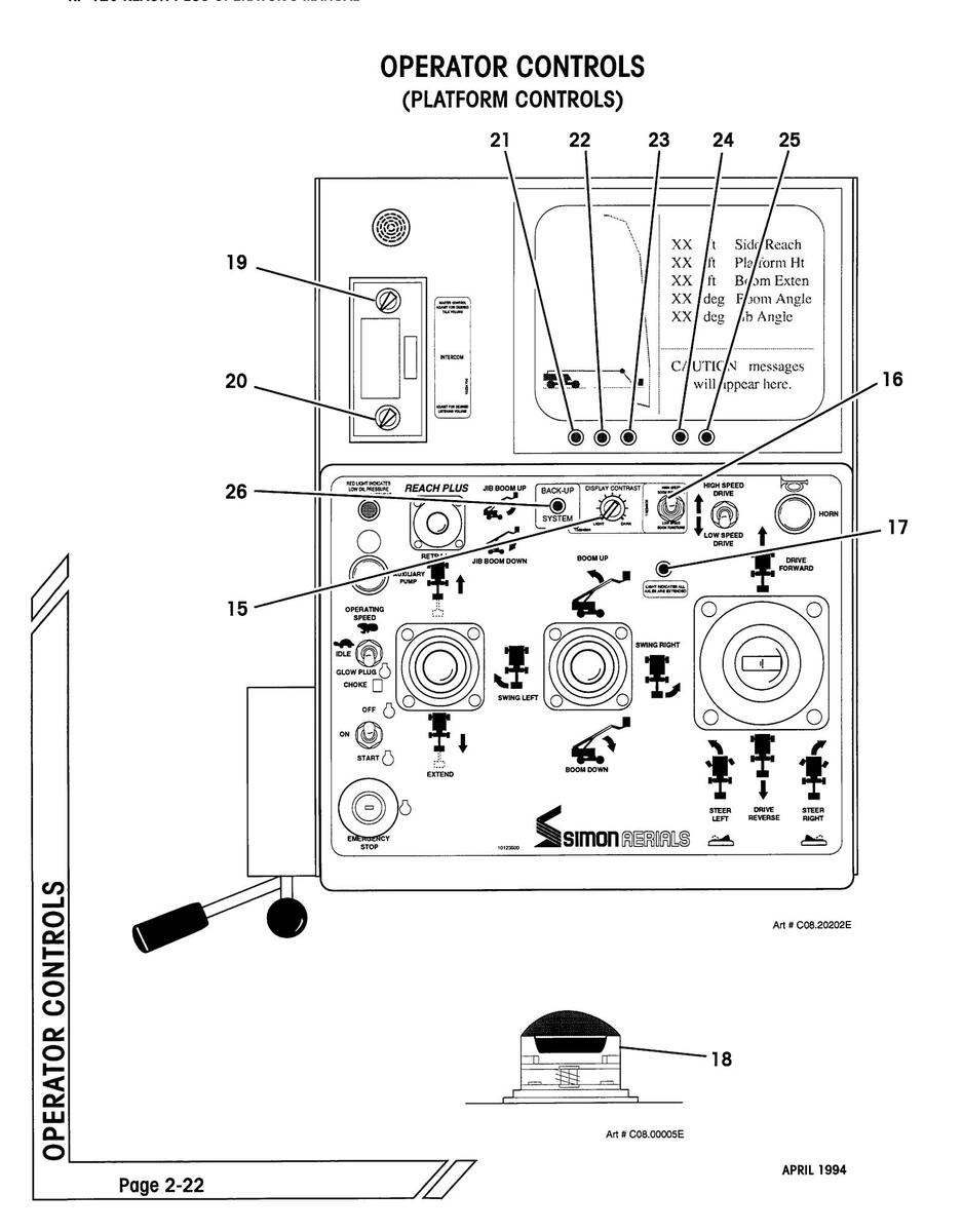
OPERATOR CONTROLS
(PLATFORM CONTROLS)
| item | Control | Location | Description |
|---|---|---|---|
| 1. |
Emergency Stop
Button |
On Platform
Console |
Used to stop all functions in an emergency. Push for emergency stop. Pull or rotate clockwise to reset, depending on style used. |
| 2. |
Off/ On/ Start
Switch |
On Platform
Console |
Three position toggle switch. Up is "OFF". Move to center position to turn ignition "ON", down to engage starter. If the engine does not start within 10 seconds, switch must be turned off and then on again to start. |
| IMPORTANT: Engine will not start with foot pedal depressed. | |||
|
On Platform
Console |
For gasoline engines, press toggle to down position and hold when starting a cold engine. | |
| For some Diesel engines (equipped with glow plugs), press and hold to preheat combustion chamber before starting a cold engine. | |||
| Flip toggle to center position for low (idle) engine speed, up for high (operating) engine speed | |||
| IMPORTANT: Machine should not be in low (idle) speed while operating any hydraulic functions. | |||
| 4. |
Auxiliary Pump
Push Button |
On Platform
Console |
Press and hold to activate battery powered emergency hydraulic pump, allowing operation of drive, steer, boom or platform movement should the engine powered hydraulic pump be disabled. |
| 5. |
Engine Warning
Indicator |
On Platform
Console |
Red light that illuminates to indicate low engine oil pressure or high engine coolant temperature. Engine will shut down automatically if condition does not correct itself in approximately 10 seconds. |
Page 2-18
OPERATOR CONTROLS
| ltem | Control | Location | Description |
|---|---|---|---|
| 6. |
Boom Telescope
Lever |
On Platform
Console |
Lever controls the boom telescope function. Pull back to extend boom. Push forward to retract boom. Boom speed will be proportional to handle movement. |
| 7. |
Main Boom Lift
and Swing Control Lever |
On Platform
Console |
Push lever forward to raise main boom. Pull lever back to lower main boom. Boom speed will be proportional to handle movement. |
|
Push lever to right to swing superstructure to right
(counterclockwise). Push lever to left to swing left (clockwise). Superstructure can rotate 360° continu- ously in either direction. Swing speed will be propor- tional to handle movement. |
|||
| 8. |
Platform Rotate
Lever |
On Platform
Console |
Operate lever in direction of desired platform rotation.
Pull lever counterclockwise to rotate the platform coun- terclockwise. Push lever clockwise to rotate platform clockwise. |
| 9. |
Platform Leveling
Lever |
On Platform
Console |
Push lever forward to tilt platform forward. Pull lever back to tilt platform back. |
| 10. |
"Reach Plus"
Jib Boom Lever |
On Platform
Console |
Push lever forward to raise jib boom. Pull lever back to lower jib boom. Boom speed will be proportional to handle movement. |
| 11. |
Drive Control
Lever |
On Platform
Console |
Controls forward and reverse machine travel at a speed proportional to handle movement. |
WHEN PLATFORM IS SWUNG OVER THE STEERING WHEELS, USE CAUTION WHEN SELECTING THE TRAVEL DIRECTION.
TRAVEL DIRECTION WILL BE OPPOSITE DRIVE CONTROL LEVER MOVEMENT.
SEE DIAGRAM, FACING PAGE.
Page 2-20
FROLS
| ltem | Control | Location | Description | 00 | |||
|---|---|---|---|---|---|---|---|
| 12. | Steer Switch |
On end of Drive
Control Lever |
Move switch left and hold to turn steer wheels to left, and right to turn steer wheels to right. To straighten wheels, push and hold in opposite direction. | RATOR | |||
| OPE | |||||||
|
WHEN PLATFORM IS SWUNG OVER THE
STEERING WHEELS, USE CAUTION WHEN SELECTING THE STEERING DIRECTION. |
|||||||
|
STEERING DIRECTION WILL BE OPPOSITE
STEER SWITCH MOVEMENT. |
|||||||
| SEE DIAGRAM, FACING PAGE. | |||||||
| During axle extend procedure, the steer switch is used to extend and retract the axles. | |||||||
| 13. |
Drive Speed
Switch |
On Platform
Console |
Press switch up for "HIGH" machine travel speed, down
for "LOW" speed. "High" or "Iow" speed travel are available only while main boom is below horizontal and extended less than 9 feet (2.7 Meters). With main boom raised or extended, machine travels only at slowest "creep" speed. |
||||
14. Horn Button On Platform Press button to sound warning horn. Console
OPERATOR CONTROLS
| ltem | Control | Location | Description |
|---|---|---|---|
| 15. |
Display Screen
Contrast Knob |
On Platform
Console |
Allows adjustment of the brightness and contrast of the image on the display screen. |
| 16. |
Boom Speed
Selector (Opt.) |
On Platform
Console |
Allows selection of "HIGH" or "LOW" boom raise, lower, extend or retract speed. |
| 17. |
Axle Extend
L.E.D. (Green) |
On Platform
Console |
When lit, indicates that front and rear axles are fully extended, and full range of boom operation is possible. |
| 18. | Foot Pedal Switch |
On Platform
Floor |
Must be depressed to activate main hydraulic pump,
allowing operation of any hydraulic function (drive, steer, boom or platform movement) from the platform. Depress pedal before selecting function. |
| 19. |
"Talk" Volume
Control Switch |
On Intercom
(Optional) |
Allows adjustment of the volume for "SEND" intercom function. |
| 20. |
"Listen" Volume
Control Switch |
On Intercom
(Optional) |
Allows adjustment of the volume for "RECEIVE" inter-
com function. |
| 21. |
"Power" L.E.D.
Indicator |
Below Display
Screen |
When lit, indicates that computerized Envelope Control System (ECS) is on. |
| 22. |
"OK" L.E.D.
Indicator |
Below Display
Screen |
When lit, indicates that Envelope Control System (ECS) has performed self tests and is functioning properly. |
| 23. |
"Fail" L.E.D.
Indicator |
Below Display
Screen |
When lit, indicates a failure in the Envelope Control System (ECS). |
| 24. |
"Warning" L.E.D.
Indicator |
Below Display
Screen |
When lit, indicates that boom is within 4 Ft (1.22 M) of maximum outreach. |
| 25. |
"Stop" L.E.D.
Indicator |
Below Display
Screen |
When lit, indicates that boom has reached maximum extension. Further outreach is blocked. |
| 26. |
L.E.D. Indicator
(Green) |
On Platform
Console |
When lit, indicates that Envelope Control System (ECS) backup computer is functioning properly. |
| 27. |
Light Switches
(Optional) |
On Lights
(Not Shown) |
Flip switch to turn head lights on and off. Lights are
powered by gel cell battery located on the right side of platform console. Lights blink when battery is close to discharge (approximately 45 minutes). |
OPERATOR CONTROLS
DPERATOR CONTROLS
"Jib Function Only" indicates that the main boom tip has reached the boom side reach limit. The platform can still be extended out further, but only by using the jib boom control.
"Low Speed Boom Down" indicates that, for safety reasons, the ECS (Envelope Control System) has reduced the boom lowering speed.
"Caution: Approaching side reach limit" indicates that the platform is within 4 Ft (1.22 M) of maximum outreach.
"Caution: Maximum side reach" indicates that platform has reached maximum extension. Further outreach is blocked.
"Caution: Chassis Tilted" indicates that chassis (undercarriage) of machine has exceeded the 5 degree maximum angle for safe operation. MACHINE CAN TIP OVER!
Driving in the opposite direction to straighten the chassis angle or retracting the main boom will normally eliminate the danger. HOWEVER, reversing the function that prompted the warning MAY NOT be the safest action. PROCEED WITH EXTREME CAUTION.
NOTE: For safety reasons, the boom "EXTEND" and boom "DOWN" functions are disabled as long as the "Chassis Tilted" caution is displayed.
Before the Simon RP 120 Work Platform is put into use each shift, the following checks should be completed to make sure that the machine is safe and in good condition.
Refer to check lists at back of this manual for periodic maintenance requirements and additional procedures for severe duty applications:
The shutoff values on the hydraulic tank must be left open at all times, except during repairs or transport. If one or more of these values are closed when the unit is running, extensive pump damage will occur.
Page 2-26
START-UP PROCEDURES
APRIL 1994
MACHINE START-UP
ALL OPERATORS MUST THOROUGHLY READ AND UNDERSTAND THE "SAFETY RULES AND PRECAUTIONS" SECTION OF THIS MANUAL PRIOR TO OPERATING THE MACHINE.
A COMPLETE VISUAL INSPECTION OF THE MACHINE MUST BE PER-FORMED PRIOR TO OPERATIONAL CHECKS.
for some optional Diesel engines, press glow plug button, and hold it there for 30 to 45 seconds prior to engaging starter motor.
The RP 120 Aerial Work Platform is equipped with extendable front and rear axles.
Interlocks at each axle will prevent the boom from extending beyond a short distance or raising above horizontal unless the axles have been extended.
THE RP 120 MODEL IS EQUIPPED WITH INTERLOCKS WHICH LIMIT OPERATION OF THE UNIT WITH RETRACTED AXLES BEYOND SPECIFIC BOOM LENGTH AND ANGLE RANGES.
IT IS THE RESPONSIBILITY OF THE OPERATOR TO VERIFY THAT ALL OF THESE INTERLOCKS ARE FUNCTIONING CORRECTLY.
FAILURE TO FOLLOW THESE INSTRUCTIONS MAY RESULT IN DEATH OR SERIOUS INJURY.
To test for proper interlock operation:
• Press and hold the "PUMP" toggle on the remote pendant to the "MAIN" position.
IMPORTANT: The "PUMP" toggle must be pressed to operate any of the machine functions.
Note: do not lower the boom at this point.
To extend the axles, make sure unit is on a firm, level surface:
Pull the pin holding the boom support stand strut to the underside of the base boom, and swing the boom support column down. The main boom may have to be raised slightly to allow the support column to swing down completely. Pin the strut to the column.
Raise Boom Support Stand.
SUPERSTRUCTURE WILL BE ROTATED 180 DEGREES. BE SURE BOOM TRAVEL AREA IS CLEAR OF OBSTRUCTIONS.
IMPORTANT: Axle extend procedure using ground controls is described below. Boom should not be in "STOW-N-GO" mode. Extend procedure using platform controls is not recommended.
IMPORTANT: The "PUMP" toggle must be pressed to operate any of the machine functions.
• Press and hold the "PUMP" toggle. Press the "STEER" toggle to the "LEFT" position and hold to extend the steer axles.
IMPORTANT: Make sure that both left and right steer axles extend completely. Axles are fully extended when 2" (50 mm) wide white stripe is fully exposed.
IMPORTANT: Make sure that both left and right drive axles extend completely. Axles are fully extended when 2" (50 mm) wide white stripe is fully exposed.
With boom in operational mode:
DO NOT OPERATE THE MACHINE IF THE FOLLOWING CHECKS REVEAL A DEFECT.
Simon Model RP 120 Aerial Lift Platforms are equipped with various safeguards that prevent the boom from attaining a long horizontal reach. The effect of an overloaded platform or an overextended horizontal reach will cause the unit to tip. Maximum horizontal outreach is 60 feet (18.3 M).
RP 120 MODELS ARE EQUIPPED WITH INTERLOCKS WHICH LIMIT OPERATION OF THE UNIT BEYOND SPECIFIC BOOM LENGTH AND ANGLE RANGES.
IT IS THE RESPONSIBILITY OF THE OPERATOR TO VERIFY THAT ALL OF THESE INTERLOCKS ARE FUNCTIONING CORRECTLY.
• See diagram on next page for specific boom range. This diagram duplicates those found near the ground and platform controls on the RP 120.
Diagrams mounted near the ground and platform controls of each unit indicate the correct boom angle and length cutoff points for that machine, and shall supersede the information found in this manual.
This is a summary of the ground function operations that must be checked daily prior to operation of the unit. Detailed procedures will be found on the following pages.
• Press and hold the "PUMP" togale on the remote pendant to the "MAIN" position.
IMPORTANT: If the "PUMP" toggle is released, all machine movement will stop.
The boom will extend out only until the specified distance, then will not extend any further.
START-UP PROCEDURES
The boom will lower only a short distance, then will not lower any further.
TAKE EXTREME CARE WHEN SELECTING ANY OF THE TRAVEL FUNCTIONS FROM THE GROUND.
WITH THE PLATFORM SWUNG OVER THE STEERING WHEELS, TRAVEL AND STEERING DIRECTION WILL BE OPPOSITE TO DIRECTIONS INDI-CATED ON PLACARD.
Control operation direction shown here in relation to "FORWARD" arrow on undercarriage. Superstructure and undercarriage lock pin holes line up
START-UP PROCEDURES
Page 2-38
NOTE: All machine operations should stop upon release of the "PUMP" toggle.
WITH BOOM OUT OF "OPERATIONAL MODE" POSITION, DO NOT PLACE ANY LOAD IN THE PLATFORM.
NOTE: To operate from platform, jib boom must not be in STOW- N -GO™ storage mode (see illustration). If boom is in STOW- N -GO™ storage mode, refer to instructions in "Ground Operation and Checks" section, earlier in this manual.
This is a summary of the platform function operations that must be checked daily prior to operation of the unit. Detailed procedures will be found on the following pages.
DO NOT OPERATE THE MACHINE IF THESE CHECKS REVEAL ANY DEFECT OR ABNORMALITY.
• Display screen should be functioning (turns on automatically when machine is "on").
NOTE: In cold weather, it may take several minutes for the computer screen display to warm up enough to be seen clearly.
• "Power" and "OK" L.E.D. indicator should be on. If "FAIL" indicator is lit, system servicing is required.
DO NOT OPERATE MACHINE FURTHER UNTIL PROBLEM HAS BEEN CORRECTED.
IMPORTANT: The foot pedal must be activated to operate any of the machine functions.
• Slowly move the middle lever forward to the "BOOM UP" position. The main boom will start to rise. Note that visual display on screen shows main boom rising. Function speed is proportional to the distance the lever is moved. Raise the boom to the horizontal position or slightly above. Slowly return the control lever to the center position.
START-UP PROCEDURES
• Slowly move the Reach Plus lever forward to the "JIB BOOM UP" position. The jib boom will start to rise. Note that visual display on screen shows jib boom rising. Function speed is proportional to the distance the lever is moved.
Raise the jib boom slightly, then lower to the fully down position (approximately 90° below the main boom).
Slowly return the control lever to the center position.
• Slowly move the left lever back to the "EXTEND" position. Extend boom out to the end of its movement. Note that visual display on screen shows boom extending. Extend speed is proportional to the distance the lever is moved.
Note that when the boom reaches approximately 56 Ft (17.1 M) extension (indicated on upper right of display screen),
A black line on the side of the tip boom will be exposed. If the black line is more than 6" (152 mm) out from the outer mid boom, the system needs recalibration. Report the situation to your supervisor. Machine shall be removed from service until recalibration has been completed.
START-UP PROCEDURES
Control operation direction shown here in relation to "FORWARD" arrow on undercarriage. Superstructure and undercarriage lock pin holes line up
• Switch the drive speed toggle switch to "LOW".
IMPORTANT: Jib should be raised for sufficient ground clearance.
WITH THE PLATFORM SWUNG OVER THE STEERING WHEELS, USE CAUTION WHEN SELECTING THE TRAVEL DIRECTION. TRAVEL AND STEERING DIRECTION WILL BE OPPOSITE CONTROL OPERATION.
• Slowly move the drive control lever forward. The machine should smoothly accelerate in the direction of control lever movement.
Movement alarm sounds whenever the vehicle is in motion.
Movement alarm sounds whenever the vehicle is in motion.
• Press emergency stop button. All functions (including engine) should stop immediately.
BRACE YOURSELF FOR UNEXPECTED PLATFORM MOVEMENT AS THE MACHINE COMES TO A SUDDEN STOP.
ACTUATION OF THE RED "EMERGENCY STOP BUTTON" WILL APPLY BRAKES IMMEDIATELY!
NOTE: At "creep speed", a tire makes one complete revolution in approximately twenty (20) seconds. If one revolution takes less than fifteen (15) or more than twenty-five (25) seconds, the machine must be adjusted to bring the "creep speed" back to 0.5 M.P.H (0.8 K.P.H.).
NOTE: All machine motion should stop upon release of the foot pedal.
• Flip off/ on/ start switch to the "OFF" position to shut off the engine.
Page 2-48
DPERATION
DUE TO THE DESIGN OF THE SIMON RP 120 IT IS POSSIBLE TO DRIVE THROUGH LOCATIONS IN WHICH IT WOULD BE UNSAFE TO RAISE THE PLATFORM.
THE OPERATOR MUST BE AWARE OF THE ENVIRONMENT. DO NOT RAISE THE PLATFORM IF THE MACHINE IS NOT ON A FIRM LEVEL SURFACE!
DO NOT RELY ONLY ON THE TILT ALARM TO WARN YOU OF AN UNSAFE CONDITION.
SAFE OPERATION BEGINS WITH A SAFE OPERATOR.
Perform Start-Up Procedures. Remember to place the ground/ platform control switch in the "PLATFORM CONTROLS" position before going to the platform for operation.
Enter platform, close and secure safety gate, and attach safety belt.
A CAUTION
Avoid sudden braking or steering, go slow and leave more maneuvering room during cold weather operation.
NOTE: In cold weather, it may take several minutes for the computer screen display to warm up enough to be seen clearly.
ENSURE THAT THE ROUTE OF TRAVEL IS CLEAR OF PERSONNEL AND DEBRIS.
Press the foot switch. Slowly push the drive control lever "FORWARD" to provide forward travel, or pull the lever back for reverse travel.
NOTE: The speed of the unit is proportional to the distance the lever is moved.
To steer, press the steer switch on the end of the drive control lever to the left or right as required.
Although the unit can be driven with the platform positioned at either end of the unit, the operator may find driving easier when the platform is over the non-steering axle.
The stowed position can be identified by the large "Forward" arrows on the undercarriage, or by the line up of the lock pin holes. When driving with the platform over the opposite axle, remember that all directions given to the steer and drive controls will be reversed.
When descending a ramp (incline), it is necessary to control the speed of the unit. To slow the unit, move the drive control lever slowly toward the center "neutral" position.
For parking, the brakes are automatically applied when the drive control lever is in the center "neutral" position.
RELEASE OF THE DRIVE CONTROL LEVER OR ACTUATION OF THE RED "EMERGENCY STOP" BUTTON WILL APPLY BRAKES IMMEDIATELY!
BRACE YOURSELF FOR UNEXPECTED PLATFORM MOVEMENT AS THE MACHINE COMES TO A SUDDEN STOP.
OPERATION
OPERATION
ALL SIMON MODELS WITH EXTENDIBLE AXLES ARE EQUIPPED WITH INTERLOCKS WHICH LIMIT OPERATION OF THE UNIT BEYOND SPECIFIC BOOM LENGTH AND ANGLE RANGES.
IT IS THE RESPONSIBILITY OF THE OPERATOR TO VERIFY THAT ALL OF THESE INTERLOCKS ARE FUNCTIONING CORRECTLY.
REFER TO "AXLE EXTEND PROCEDURE" AND "GROUND OPERATION AND CHECKS" SECTIONS OF THIS MANUAL FOR INSTRUCTIONS REGARDING PRE-OPERATION TESTING OF THESE INTERLOCKS.
FAILURE TO FOLLOW THESE INSTRUCTIONS MAY RESULT IN DEATH OR SERIOUS INJURY.
Press the foot pedal, then select the required function. Available functions are:
Each function can be selected by moving the appropriate lever in the proper direction.
NOTE: Function speeds are proportional to the distance levers are moved.
Multiple control operation is possible by selecting more than one function at a time.
• Press the "START" button and press the "CHOKE" button (at ground station) or operate the start and choke toggles (at platform). As soon as the engine starts, release both switches.
• Operate the machine as normal.
This switching can only be done using the ground controls. The machine should only be switched to propane while the engine is running.
OPERATION
DPERATION
This switching can only be done using the ground controls. The machine should only be switched to agsoline while the engine is running.
NOTE: When operating on propane, the engine will run for several seconds after the ignition is shut off. This allows the propane to clear the intake manifold.
• Close valve on propane tank.
• Press the glow plug button (at platform or ground control cabinet), and hold for 30 to 45 seconds (when the engine is cold) prior to engaging the starter motor.
DPERATION
• If optional towing package is not installed, refer to "UNPOWERED EMERGENCY MOVEMENT" in this section.
• Securely attach the RP 120 to a tow vehicle with the tow bar provided.
The tow vehicle must have sufficient braking capability in order to safely stop itself as well as the RP 120. Tow speed shall not exceed 3 MPH (4.8 KPH).
1. Enter the platform, and start the engine using the platform controls. Select the "OPERATING" engine speed.
Stow- N -Go™ Operational Mode.
LOWER MAIN BOOM UNTIL JIB IS JUST ABOVE GROUND
Page 2-56
FRANSPORTING THE UNIT
FRANSPORTING THE UNI
2. To place the boom in the Stow- N -Go™ position (continued):
Removal of hinge boom lock pins will disable platform electrical controls.
With boom lock pins out of "Operational Mode" position (see illustration previous page), do not place any load in the unsupported platform.
e. Remove the hitch pins, and the two lock pins from the hinge boom Stow- N -Go™ connection.
If lock pins do not readily come out, lower main boom (from ground controls) so that slight pressure is applied to the jib boom tip by contact with the truck or trailer bed. Tap the lock pins out with a hammer.
f. Pull the pin holding the boom support stand strut to the underside of the base boom, and swing the boom support column down. The main boom may have to be raised slightly to allow the support column to swing down completely. Pin the strut to the column.
Preparation for Stow- N -Go™ Mode Tie Down of Unit.
2. To place the boom in the Stow- N -Go™ position (continued):
Stow- N -Go™ Storage Mode.
TRANSPORTING THE UNIT
TRANSPORTING THE UNIT
2. To place the boom in the Stow- N -Go™ position (continued):
ALWAYS ATTACH THE UNIT TO A WINCH WHEN LOADING OR UNLOADING FROM A TRUCK OR TRAILER. CONNECT WINCH CABLE TO THE TIE DOWN LUGS ON THE UNDERCARRIAGE.
UNASSISTED LOADING OR UNLOADING OF ANY MOBILE PLATFORM IS NOT RECOMMENDED.
A CAUTION
The jib boom should not be raised once the unit is in the STOW- N -GO™ position.
Stow- N -Go™ Mode Tie Down of Unit (Recommended Method).
To avoid damaging the unit, the platform MUST NOT be tied to the trailer bed in any way unless firmly supported on blocks.
Strap (do not chain) the platform to the truck or trailer bed. Avoid overtightening straps.
Ratchet type load binders are recommended. If using lever type load binders, wire or strap them shut, or wrap chains around them to prevent opening.
5. With machine anchored securely and with lock pin in place, further secure the unit with two (2) 4 inch straps: one wrapped over the front of the undercarriage, and the other over the rear. See illustration below.
IRANSPORTING THE UNIT
NOTE: Due to the length of the RP 120, transporting without first placing the jib boom in Stow- N -GoTM Mode is normally not practical.
ALWAYS ATTACH THE UNIT TO A WINCH WHEN LOADING OR UNLOADING FROM A TRUCK OR TRAILER. CONNECT WINCH CABLE TO THE TIE DOWN LUGS ON THE UNDERCARRIAGE.
UNASSISTED LOADING OR UNLOADING OF ANY MOBILE PLATFORM IS NOT RECOMMENDED.
Pull the pin holding the boom support stand strut to the underside of the base boom, and swing the boom support column down. The main boom may have to be raised slightly to allow the support column to swing down completely. Pin the strut to the column.
Lower the main boom until boom support stand rests firmly on the truck or trailer bed. Lower the jib boom so the tip rests on the truck or trailer bed. Then, use the platform level lever to rest the platform base on the bed of the truck or trailer.
To avoid damaging the unit, the platform MUST NOT be tied to the trailer bed in any way and should only REST on the bed.
Ratchet type load binders are recommended. If using lever type load binders, wire or strap them shut, or wrap chains around them to prevent opening.
8. With machine anchored securely and with lock pin in place, further secure the unit with two (2) 4 inch straps: one wrapped over the front of the undercarriage, and the other over the rear. See illustration below.
The RP 120 Mobile Platform has two emergency pumps connected in tandem which can be operated from the platform or ground control station to briefly operate the machine when the unit has lost engine power.
• Press and hold the emergency pump button on the remote control pendant, or
Press and hold the auxiliary pump button on the platform control console.
• Select the proper function as desired to fit the situation.
If attempting to both lower and retract the boom from near maximum reach, battery power can be conserved by using the "RETRACT" function to bring the boom in to less than 60 Ft (18.3 M) extension BEFORE selecting the boom "LOWER" function.
To prevent the batteries from completely discharging and the emergency pumps from overheating, release the emergency pump button to allow a 30 second rest period after every 30 seconds of operation. Once the unit has been safely positioned, correct the cause of the failure before returning the unit to service.
Every attempt should be made to restore primary power to the unit before using this procedure.
THIS PROCEDURE REQUIRES RELEASING THE VEHICLE TORQUE HUBS, WHICH RESULTS IN THERE BEING NO MEANS TO STOP THE UNIT'S TRAVEL. SIMON RECOMMENDS USING THIS PROCEDURE ONLY IN CASES OF EMERGENCY, AND ONLY FOR A SHORT DISTANCE.
BE ON GUARD AGAINST UNIT RUNAWAY ON SLOPING SURFACES. MOVEMENT SPEED SHALL NOT EXCEED 1 M.P.H. (1.6 K.P.H.).
After unblocking the wheels, the unit will be ready to be moved.
After primary power has been restored to the vehicle, engage the torque hubs, reset the brake circuit needle valve, and connect steer cylinder. The machine is now ready for normal operation.
It is not possible for us to foresee every emergency situation that could arise during operation of this machine. Information on the following pages describes three typical emergency situations, and lists appropriate actions that can be taken.
When faced with an emergency, above all please remember:
SITUATION: Platform elevated, operator not incapacitated, but unit will not respond to platform controls.
HAVE AN EXPERIENCED OPERATOR USE THE EMERGENCY PUMPS TO SAFELY LOWER THE PLATFORM.
5. Report the incident to your supervisor immediately.
Page 2-66
EMERGENCY SYSTEM AND PROCEDURES
SITUATION: Unit elevated, with operator incapacitated at platform controls.
DETERMINE THE CAUSE OF THE PROBLEM BEFORE YOU TOUCH THE MACHINE.
IMPORTANT: Any incident involving personal injury must be immediately reported to the local Simon Aerials Distributorship as well as to Simon Aerials Inc.
SITUATION: Platform in contact with live power lines and operator incapacitated.
IMPORTANT: Any incident involving personal injury must be immediately reported to the local Simon Aerials Distributorship as well as to Simon Aerials Inc.
RP 120 REACH PLUS OPERATOR'S MANUAL
MAINTENANCE
| General Maintenance Tips | 3-3 |
|---|---|
| Shift Operational Checklist | 3-4 |
| Weekly Operational Checklist | 3-7 |
| Monthly Operational Checklist | 3-9 |
| Semi-annual Operational Checklist | 3-11 |
| Troubleshooting | |
| What to check if unit will not start: | 3-13 |
| What to check if functions will not operate: | 3-13 |
| Lubrication Chart | 3-14 |
MAINTENANCE
All checks must be completed before operation of the unit.
These checklists can be copied as needed to aid in performing these inspections.
| DATE: | INSPECTED BY: |
|---|---|
| SERIAL NUMBER: |
THIS CHECKLIST MUST BE USED AT DAILY INTERVALS OR AFTER EVERY 6 TO 8 HOURS OF USE, WHICHEVER IS SOONER. FAILURE TO DO SO COULD ENDANGER THE LIFE OF THE OPERATOR. ALWAYS REMEMBER, A LITTLE PREVENTIVE MAINTENANCE CAN SAVE MUCH MORE THAN IT COSTS.
INITIAL
Continued on following page .
Page 3-4
CHECKLIST
| INITIAL | DESCRIPTION | |||
|---|---|---|---|---|
|
6. Check battery electrolyte level. Check battery terminals for tight connec-
tions and cleanliness. |
||||
| 7. Check hydraulic fluid level. The level should be at the line marked on the sight gauge with the unit in stowed position. Inspect condition of hydraulic fluid in the reservoir. Fluid should be a clear amber color. | ||||
|
||||
| 9. Check tires for cracks or other damage, and proper inflation pressure (see specifications). | ||||
| O. Check if wheel lug nuts are tight. | ||||
|
||||
| 2. Check hose carrier to verify that it is not bent or sagging. | ||||
| 3. Inspect safety belt connections, and check for worn areas on the belts. | ||||
|
||||
| 5. Check pivot pins and STOW- N -GO ™ hinge and lock pins for security. | ||||
| 6. Check that no attempt had been made to override the drive interlock system by a previous operator. | ||||
| 7. Check that all warning and instructional labels are legible and secure. | ||||
| 8. Start engine. Check that hydraulic pressure is as stated in the machine specifications. | ||||
| 9. Check that the tilt alarm is working properly. | ||||
| 20. When all pre-inspection checks have been completed, test the ground controls for proper operation. | ||||
Continued on following page .
CHECKLIST
| INITIAL | DESCRIPTION | ||
|---|---|---|---|
| 21. | Check emergency pumps for operation and that pressure is as stated in the specifications. | ||
| 22. | Check platform controls and graphic display for proper operation. | ||
| 23. | With the platform raised, check for the smooth operation of creep speed drive. | ||
| 24. |
Follow engine daily service requirements. Refer to the Engine Mainte-
nance Manual supplied with your RP 120. |
||
NOTE: Do not lubricate wear pads or boom cables in dusty or sandblast environments. There are boots and guards available to extend unit life in these applications. Consult Simon Aerials Service Department.
| INITIAL | DESCRIPTION | |
|---|---|---|
|
cuts or other damage
place if necessary. |
|
|
t (8) hours of | |
|
• Follow engine severe usage service requirements.
Maintenance Manual supplied with your RP 120. |
Refer to the Engine | |
| Page 3-6 | APRIL 1994 |
| 00 100 | ODEDATODIC | BRANITAL |
| UPERATUR 3 |
CHECKLIST
DATE: INSPECTED BY:
MODEL NUMBER: SERIAL NUMBER:
These checklists can be copied as needed to aid in performing these inspections
THIS CHECKLIST MUST BE USED AT WEEKLY INTERVALS OR EVERY 25 HOURS WHICHEVER OCCURS FIRST. FAILURE TO DO SO COULD ENDANGER THE LIFE OF THE OPERATOR. ALWAYS REMEMBER. A LITTI F PREVENTIVE MAINTENANCE CAN SAVE MUCH MORE THAN IT COSTS.
| INITIAL DESCRIPTION | ||
|---|---|---|
| 1. | Perform all checks listed on Shift Operational Checklist. | |
| 2. | Check wheel lug nut torque (see specifications). | |
| 3. | Check electrical connections at the hinge boom for tightness and corrosion. Check hydraulic connections for leaks, corrosion and wear. | |
| 4. | Lubricate swing bearing and drive pinion gear. | |
| 5. | Apply lubricant to standard open swing bearing and drive pinion gear (see Lubrication Chart). | |
|
Check lubricant in optional oil bath swing bearing case, if so equipped, for proper level, and check for dirt or metal contamination (see Lubrica-
tion Chart). |
||
| 6. | Lubricate the hinge boom hinge and lock pins. | |
Continued on following page .
NOTE: Do not lubricate wear pads or boom cables in dusty or sandblast environments. There are boots and guards available to extend unit life in these applications. Consult Simon Aerials Service Department.
| INITIAL | DESCRIPTION |
|---|---|
| Lubricate all grease fittings (see Lubrication Chart). | |
| Check oil level in swing drive (see Lubrication Chart). | |
| • Check oil level in power hubs (see Lubrication Chart). | |
|
CHECKLIST
CHECKLIST
DATE: INSPECTED BY:
MODEL NUMBER: SERIAL NUMBER:
These checklists can be copied as needed to aid in performing these inspections.
THIS CHECKLIST MUST BE USED AT MONTHLY INTERVALS OR EVERY 100 HOURS, WHICHEVER OCCURS FIRST. FAILURE TO DO SO COULD ENDANGER THE LIFE OF THE OPERATOR. AI WAYS REMEMBER, A LITTLE PREVENTIVE MAINTENANCE CAN SAVE MUCH MORE THAN IT COSTS.
| INITIAL | DESCRIPTION |
|---|---|
| 1. Perform all checks listed on Shift and Weekly Operational Checklists. | |
| 2. Lubricate all grease fittings (see Lubrication Chart). | |
| 3. Lubricate all hydraulic valve spool linkages. | |
|
|
|
|
|
|
| 7. Check torque of swing bearing bolts (see "Machine Specifications"). |
Continued on following page .
| INITIAL | DESC | RIPTION | ||
|---|---|---|---|---|
|
||||
| 9. | Check oil level in swing drive gear box (see Lubric | ation Chart). | ||
| 10. | Check oil level in power hubs (see Lubrication Che | art). | ||
| 11. | Check that tires are not leaning in or out. | |||
| 12. | Check that wheel spindles turn freely, with no end | play. | ||
| 13. | Check drive wheel power hub mounting bolt torque Specifications"). | e (see "Machine | ||
| 15. |
Check that neither the main boom nor jib boom dr
hydraulic pressure (engine off) and the controls in position. |
ift with a full load, no
the "BOOM DOWN" |
||
| 16. | Inspect boom cables. | |||
| 17. Check to make sure boom sections are not dented or bent. | ||||
| 18. | Check that all adjustable flow valves are locked. Check settings if any are not locked. | |||
| 19. | Check fuel shutoff rack for proper operation. Loos lubricate with WD-40 or equivalent. | en lever arm and | ||
| 20. |
Follow engine monthly service requirements. Refe
Maintenance Manual supplied with your RP 120. |
r to the Engine | ||
| AINTENAN | ITS | |||
| EVERY 90 DAYS | ||||
| INITIAL | DESC | RIPTION | ||
| ٠ | Replace high pressure filter element. | |||
| ٠ |
Follow engine severe usage service requirements.
Maintenance Manual supplied with your RP 120. |
Refer to the Engine | ||
| age 3-10 | APRIL 1994 | |||
Page 3-10
CHECKLIST
| DD ' | 120 | DEACH | DIIIC | ODEDATODIC | MANITAL |
| NE | 20 | NLAUI | FLUG | OF LKAIVK J | INIANUAL |
CHECKLIST
DATE: INSPECTED BY:
MODEL NUMBER: SERIAL NUMBER:
These checklists can be copied as needed to aid in performing these inspections.
THIS CHECKLIST MUST BE USED AT SIX MONTH INTERVALS OR EVERY 500 HOURS, WHICHEVER IS SOONER. FAILURE TO DO SO COULD ENDANGER THE LIFE OF THE OPERATOR. ALWAYS REMEMBER, A LITTLE PREVENTIVE MAINTENANCE CAN SAVE MUCH MORE THAN IT COSTS.
| INITIAL | DESC | SCRIPTION | |
|---|---|---|---|
| 1. | Perform all checks listed on Shift, Weekly and Monthly operational checklists. | ||
| 2. | Have hydraulic fluid sample analyzed at a test laboratory. Comply with test results and recommendations to ensure long, trouble free operation. | ||
| NOTE: If hydraulic fluid has been regularly maintained, it should only require changing once every year, depending on maintenance, temperature, application, duty cycle, and atmospheric conditions. | |||
| 3. | Inspect the entire machine for signs of structural damage and broken welds, and worn or damaged components. Replace as necessary. | ||
| 4. | Clean and lubricate all electrical switches with an electrical contact cleaner and ensure that the switches operate freely in all positions. | ||
| 5. | Check the electrical mounting and hardware connections for security. | ||
Continued on following page .
| INITIAL | DESCRIPTION | |||
|---|---|---|---|---|
| 6. | Replace high pressure filter elements. | |||
| 7. | Clean and lubricate the standard open swing bearing gear teeth with dry moly lube spray (not required for oil bath swing bearing). | |||
| 8. | Repack front wheel bearings. | |||
| 9. | Check that engine RPM is as stated in the specifications. | |||
| 10. | Follow engine semi-annual service requirements. Refer to the Engine Maintenance Manual supplied with your RP 120. | |||
| EVER | RY YEAR | |||
| 11. | Drain and replace fluid from hydraulic reservoir. Drain and replace fluid from drive wheel power hubs. If badly contaminated, it may be necessary to disassemble and inspect components. | |||
| EVERY TWO YEARS | ||||
| 12. | Drain and replace fluid from swing drive. If badly contaminated, it may be necessary to disassemble and inspect components. | |||
| MAINTENAN | CE REQUIREMENTS FOR HARSH ENVIRONMENTS | |||
| EVER | RY SIX MONTHS | |||
| ٠ | Drain and replace fluid from swing drive and drive wheel power hubs. | |||
| • | Follow engine severe duty service requirements. Refer to the Engine Maintenance Manual supplied with your RP 120. | |||
|
|
||||
| Page 3-12 | APRIL 1994 | |||
CHECKLIST




































































































Loading...