 
   
| Serienummerintervall | ||
|---|---|---|
| FAST KROK på PLATTA | Från serienr: 61606 | |
| KRANARM 4 000mm/900 kg | Från serienr: 61902 | |
| KRANARM 2 000mm/2 000 kg | Från serienr: 61903 | |
| VINSCH 3 000 kg | Från serienr: 61958 | Innehåller information om Underhåll | 
| Första Upplaga Första omtryck Kod 57.0303.5169 | 
Läs, förstå och följ säkerhetsföreskrifterna och driftanvisningarna innan maskinen används. Endast kvalificerad och behörig personal ska arbeta med maskinen. Denna handbok ska förvaras i maskinen under hela dess livslängd.
Om du har frågor kan du kontakta Terexlift.
| Inledning sid. | 3 | 
|---|---|
| Identifikation Av Tillbehör sid. | 5 | 
| Etiketter Och Märkplåtar sid. | 7 | 
| Säkerhetsföreskrifter sid. | 9 | 
| Beskrivning Av Tillbehör sid. | 17 | 
| Kontroller sid. | 23 | 
| Funktion Och Användning sid. | 27 | 
| Underhåll sid. | 49 | 
| Felfunktion Och Felsökning sid. | 55 | 
| Tekniska Data sid. | 57 | 
| Lasttabellersid. | 61 | 
| Scheman sid. | 83 | 
| Beauforts Vindtabell sid. | 85 | 
| Materialtabellersid. | 87 | 
| EG-Försäkran Om Överensstämmelse . sid. | 89 | 
| Kontrolltabellsid. | 91 | 
ZONA INDUSTRIALE I-06019 UMBERTIDE (PG) - ITALIEN Telefon +39 075 941811 Fax +39 075 9415382
| e-mail: UI | MB.Service@terex.com | 
|---|---|
| +39 075 9418175 | |
| Telefon: | +39 075 9418129 | 
Översättning av bruksanvisning i original Första upplaga - Första omtryck, Maj 2011 För att konsultera den elektroniska versionen av denna handbok hänvisas till webbplatsen www.genielift.com/operator_manuals.asp
Copyright © 2011 TEREXLIFT srl - Alla rättigheter är reserverade.
Utförd av: Avdelningen för teknisk dokumentation TEREXLIFT Umbertide (PG) Italien
     
   
Symboler för fara: Används för att upplysa personalen om en potentiell risk för personskador. Respektera alla säkerhetsföreskrifter somföregås av denna symbol för att undvika allvarliga personskador eller dödsfall.
     
   
Grön färg: För att rikta uppmärksamheten mot viktig information för att värna om miljön.
     
   
Sidan har lämnats blank med avsikt
     
   
Kontrolleraattbruksanvisningenöverensstämmer med tillbehör som den hänvisar till.
✓ FAST KROK PÅ PLATTA ✓ KRANARM ✓ VINSCH
Zona Industriale - I-06019 UMBERTIDE (PG) -ITALIEN Reg. domstolen i Perugia nr. 4823 CCIAA Perugia nr. 102886 Skattekod och momspr. 00249210543
Efter riskanalyser av teleskoptrucken har följande standarder tillämpats för att värna om operatörens säkerhet:
| Direktiv | Titel | 
|---|---|
| 2006/42/EG | Maskindirektiv | 
| Standard | Titel | 
| EN 1459:1988/A | 2:2009 Säkerhetskrav på | 
| industritruckar. | 
Motordrivna truckar med variabe räckvidd.
På tillbehören sitter märkskylten som visas nedan.
På märkskylten finns följande information ingraverad: modell, benämning, serienummer, vikt, kapacitet och tillverkningsår för tillbehöret.
     
   
     
   
Sidan har lämnats blank med avsikt
     
   
Kontrollera att alla etiketter som anges i tabellen nedan sitter på plats och är läsbara. Tabellen anger även mängden och ger en kort beskrivning.
| Ref. | Märkplåt | Kod | Beskrivning | Ant. | 
|---|---|---|---|---|
| 1 | 900 kg | / | MÄRKPLÅT_Max. kapacitet. ENDAST för KRANARM 4 000 mm/900 kg | 1 | 
| 2 | 09.4618.1346 | Risk för fasthakning | 1 | |
| А | / | MÄRKSKYLT | 1 | 
     
   
     
   
Sidan har lämnats blank med avsikt
     
   
     
   
På maskinen har säkerhetsanordningar monterats och dessa får inte modifieras eller nedmonteras.
Kontrollera regelbundet att dessa fungerar korrekt.
Avbryt arbetet och byt ut dem om de inte fungerar på ett korrekt sätt.
Angående procedurer för kontroll av säkerhetsanordningar hänvisas till avsnittet "Underhåll" i lyftdonets operatörshandbok.
Lastbegränsningssystemet har tagits fram för att hjälpa operatören att upprätthålla maskinens stabilitet i längdled. När stabiliteten i längdled hotas informeras operatören med ljud- och ljussignaler.
Denna anordning kan dock inte ersätta operatörens erfarenhet: operatören har ansvaret för att åtgärderna utförs under säkra förhållanden och att alla föreskrivna säkerhetsnormer jakttas.
     
   
Försummelse av instruktionerna och säkerhetsföreskrifternaidenna handbok kan leda till dödsfall eller allvarliga personskador.
De flesta olyckor som orsakas av arbetsmaskiner och i samband med underhållsarbeten eller reparationer sker till följd av att man har försummat de mest grundläggande säkerhetsföreskrifterna.
Därför är det nödvändigt att man är uppmärksam på de potentiella risker som maskinens användning innebär och riktar konstant uppmärksamhet till de effekter som maskinens olika rörelser kan orsaka.
Genom att i förväg upptäcka de potentiellt farliga situationerna kan man undvika en olycka!
     
   
Anvisningarna som beskrivs i denna handbok är samma som föreskrivs av TEREXLIFT: Det är möjligt att det finns enklare sätt (som är lika säkra) för att starta maskinen och/eller tillbehöret, arbeta med och reparera tillbehöret, även med hänsyn till utrymmen och tillgängliga hjälpmedel.
Om man vill göra på ett annorlunda sätt än vad som anges i den här handboken måste man tänka på följande:
Det är nödvändigt att operatören som regelbundet eller tillfälligtvis använder maskinen och/eller tillbehöret ska uppfylla följande krav:
han får inte ha intagit alkoholdrycker. läkemedel eller andra ämnen som kan försämra det fysiska och psykiska tillståndet innan arbetet och inte under arbetets gång, eftersom sättet att köra maskinen med tillbobör skullo försämras
god syn, god hörsel, god samordning och kapacitet att på ett säkert sätt utföra alla de funktioner som användningen kräver och som beskrivs i den här handhokon
kapabel att förstå och tillämpa de fastställda normerna, reglerna och säkerhetsvarningarna: vara uppmärksam mot och visa omdöme för sin egen och andras säkerhet: ska utföra arbetet korrekt och anevarefullt
ska vara lugn och kunna hålla igen stressymptom; ska kunna värdera korrekt sina egna fysiska och mentala tillstånd
Operatören ska noggrant ha läst igenom och studerat denna handbok diagram och bifogade scheman samt etiketter angående varning och fara. Operatören ska vara specialiserad och kompetent inom alla områden som rör funktion och användning av maskinen och/eller tillbehöret
Det kan hända att lagarna i vissa länder kräver att operatören ska tillhandahålla en licens (eller körkort) för att kunna använda en sådan här tvp av maskin. Användaren är skyldig att informera sig om detta. I Italien måste operatören vara mvndia.
Personalen som har i uppdrag att underhålla maskinen och/eller tillbehöret ska ha nödvändig mekanisk behörighet för underhåll av jordförflyttningsmaskiner i allmänhet och ska uppfylla följande obligatoriska krav: fvsiska:
god syn, god hörsel, god samordning och kapabel att på ett säkert sätt utföra alla de funktioner som underhållsarbetet kräver och som beskrivs i den här handboken
kapabel att förstå och tillämpa de fastställda normerna, reglerna och säkerhetsvarningarna; vara uppmärksam mot och visa omdöme för sin egen och andras säkerhet: ska utföra arbetet korrekt och ansvarsfullt
ska ha läst och noggrant studerat den här handboken. de bifogade diagrammen och ritningarna, etiketterna och dekalerna för anvisningar och faror; ska vara specialiserad och kompetent inom alla aspekter som rör maskinens funktion
Det löpande underhållet av maskinen och/eller tillbehöret omfattar inga svåra tekniska ingrepp, och därför är det vanligt att det är operatören som sköter om det. förutsett att denna innehar det nödvändiga mekaniska kunnandet.
Man ska alltid använda följande klädsel och material för olycksskydd under arbetet, under underhållet eller reparationen.
     
   
     
   
Använd endast typgodkänd utrustning och som är i gott skick.
Man ska tillhandahålla följande personliga skyddsutrustning och använda den i de fall det krävs av arbetsförhållandet:
Ha alltid i åtanke egenskaperna till arbetsområdet som man arbetar i:
• Studera arbetsområdet noggrant: jämför det med de olika maskinkonfigurationernas dimensioner.
     
   
Maskinen är inte elektriskt isolerad och ger inget skydd mot kontakt med eller närhet till elektriska . Iedningar.
Håll alltid minsta säkerhetsavstånd (5 meter i Italien) till elektriska ledningar: både till teleskopbommen och till eventuell upplyft last. Fara för elchock från elstötar.
den elektriska ledningen har kopplats från.
| RISK SKAD FÖRA | FÖR OR V NDE | DÖD E ID KO ELLEI | LLEI NAK DNIN | R ALLVAR T MED SPA GAR. | LIGA ÄNNI | NGS | - | 
|---|---|---|---|---|---|---|---|
| KONT ARBE POTE SPÄN ARBE | AKTA TE UI NTIEL NING TET I | ALLTI TFÖRS .LA FA SFÖRA MED MA | ID EL I OM ROR. NDE ASKII | BOLAGET I RÅDEN ME KOPPLA F KABLAR IN IEN PÅBÖI | INNA D RÂN INAN RJAS | N ET | Т | 
| LEDN | INGEI | VS SPÄ | NNIN | g minima | LTA | VSTÁ | ND | 
| 0 | til | 50 | kV | 3.00 | т | 10 | ft | 
| 50 | til | 200 | kV | 4.60 | т | 15 | ft | 
| 200 | til | 350 | kV | 6.10 | т | 20 | ft | 
| 350 | til | 500 | kV | 7.62 | т | 25 | ft | 
| 500 | til | 750 | kV | 10.67 | т | 35 | ft | 
| 750 | til | 1000 | kV | 13.72 | т | 45 | ft | 
     
   
Maskinen får inte användas under åskväder
     
   
Operatören ska kontrollera siktfältet när gaffeltrucken används.
Innan arbetet påbörjas ska man förbereda sig:
• Först av allt ska man kontrollera att allt underhållsarbete har utförts noggrant och i enlighet med de förutsedda intervallerna.
     
   
Placera maskinen i arbetsställning och var noggrann med att placera den korrekt med hjälp av det avsedda instrumentet med vattenpass till höger om förarsätet.
När man arbetar, underhåller eller reparerar ska man alltid vidta största möiliga försiktighet:
     
   
• För att gå upp eller ner från hytten eller från andra höga delar ska man alltid ha näsan mot maskinen och aldrig ha ryggen vänd mot den.
     
   
     
   
Ingrepp på hydraulsystemet får enbart utföras av auktoriserad personal.
Hydraulsystemet på den här maskinen är försett med tryckackumulatorer som kan sätta personalens säkerhet i fara om de inte tömts helt från tryck innan ingreppet på systemet ifråga
påbörjas. För att tömma ackumulatorerna från trvck räcker
det att man trycker ned bromspedalen 8-10 gånger med stillastående maskin.
     
   
     
   
Det är absolut nödvändigt att undvika följande arbetssituationer:
     
   
     
   
Detta tillbehör används för att flytta laster som hänger i vajersystem.
Tillbehöret består i huvudsak av en fackverkskonstruktion som utgörs av svetsade stålbalkar och två sidokopplingsanordningar med mekaniska slitsöppningar (ovantill) och hål (nedantill) för en sammankoppling av standardtyp till teleskopiska lyftdon av typ GTH.
De två kopplingsanordningarna är sammankopplade (svetsade) med en mittenplatta av stål, som i sin tur är fastsvetsad i fackverket.
På den svetsade fackverkskonstruktionen finns fyra stödben nedtill som stödjer tillbehöret när det står på marken och inte är sammankopplat med lvftdonet.
Den hydrauliska vinschen som sitter monterad framtill på mittenplattan av stål drivs hydrauliskt med den extra ledningen som finns på teleskopbommens ände.
Den hydrauliska anslutningen mellan ledningen och vinschen garanteras av de två snabbkopplingarna. Vinschen är försedd med en trumma som drivs mekaniskt på vilken stålvajern lindas upp.
Stålvajerns ände sitter fast direkt eller via ett block av stål (beroende på vinschmodell) på en krok som är godkänd för lyft av max. tillåten last.
Kroken är godkänd för lyft av last som kan lyftas av tillbehöret (krokens hållfasthet är lika med eller högre än max. kapacitet som anges på den kompletta
lyftutrustningen). Intill vinschen finns en särskild hydraulisk
ändlägesbrytare som känner av förhållandet när kroken är fullständigt upplyft.
När kroken är fullständigt upplyft utövas inte något hydrauliskt tryck på tillbehöret. På detta sätt undviks onödiga överbelastningar på dess konstruktionsdelar.
Detta tillbehör används för att flytta laster som hänger i vajersystem.
Tillbehöret består i huvudsak av en fackverkskonstruktion som utgörs av svetsade stålbalkar och två sidokopplingsanordningar med mekaniska slitsöppningar (ovantill) och hål (nedantill) för en sammankoppling av standardtyp till teleskopiska lyftdon av typ GTH.
De två kopplingsanordningarna är sammankopplade (svetsade) med en mittenplatta av stål, som i sin tur är fastsvetsad i fackverket.
På den svetsade fackverkskonstruktionen finns framtill ett mekaniskt fäste för montering av en typgodkänd stålkrok.
Kroken är godkänd för lyft av last som kan lyftas av tillbehöret (krokens hållfasthet är lika med eller högre än max. kapacitet som anges på den kompletta lyftutrustningen).
På den hydrauliska versionen av kranarmen finns en hydraulisk vinsch som sitter inuti fackverkskonstruktionen, direkt framför mittenplattan av stål.
Den vinschen drivs hydrauliskt med den extra ledningen som finns på teleskopbommens ände.
Den hydrauliska anslutningen mellan ledningen och vinschen garanteras av de två snabbkopplingarna.
Vinschen är försedd med en trumma som drivs mekaniskt på vilken stålvajern lindas upp.
Stålvajerns ände sitter fast i den typgodkända kroken som sitter i änden på fackverkskonstruktionen. I banan mellan trumman och kroken löför vajern i stålblock som sitter inuti och i änden på fackverkskonstruktionen. I
änden på fackverkskonstruktionen finns dessutom en särskild hydraulisk ändlägesbrytare som känner av om kroken är fullständigt upphöjd.
När kroken är fullständigt upplyft utövas inte något hydrauliskt tryck på tillbehöret. På detta sätt undviks onödiga överbelastningar på dess konstruktionsdelar.
     
   
Detta tillbehör används för att flytta laster som hänger i vajersystem.
Kroken består i huvudsak av en svetsad stålkonstruktion med två sidokopplingsanordningar med mekaniska slitsöppningar (ovantill) och hål (nedantill) för en sammankoppling av standardtyp till teleskopiska lyftdon av typ GTH.
I mitten på den svetsade konstruktionen finns en utskjutande balk och på dess främre ände sitter en mekanisk fästanordning för montering av en typgodkänd krok av stål.
Kroken är godkänd för lyft av last som kan lyftas av tillbehöret (krokens hållfasthet är lika med eller högre än max. kapacitet som anges på den kompletta lyftutrustningen).
Vinscharna och kranarmarna är projekterade och konstruerade för en vertikal förflyttning (lyftning/ sänkning) av laster genom att vajern på trumman lindas upp eller ut.
Alla annan användning betraktas som felaktig användning och därmed olämplig.
En rigorös respekt för tillverkarens föreskrifter angående användning, underhåll och reparation är grundläggande för att använda tillbehöret på ett korrekt sätt.
Användning, underhåll och reparation av tillbehöret ska endast utföras av personer som känner till dess egenskaper och respektive säkerhetsprocedurer.
Det är dessutom nödvändigt att respektera alla olycksförebyggande föreskrifter, säkerhetsföreskrifter och arbetsmedicin, samt alla trafikregler för körning på allmän väg.
Det är förbjudet att utföra ändringar eller någon typ av ingrepp på maskinen eller tillbehören, förutom de ingrepp som omfattas av normalt underhåll. Alla modifieringar som utförs på maskinen och/ eller tillbehören som inte utförs av TEREXLIFT eller auktoriserade serviceverkstäder, leder automatiskt till att överensstämmelsen med maskindirektiv 2006/42/EG upphör att gälla.
Med olämplig användning avses användning av tillbehöret på ett sådant sätt som inte överensstämmer med instruktionerna i denna handbok och som är farlig för dig och andra.
     
   
Nedan följer en lista över de vanligaste och farligaste exemplen på olämplig användning av kranarmar och vinschar.
     
   
I tabellen som följer visas de olika lyftdonsmodellerna av märket Terexlift på vilka det går att montera tillbehören som tas upp i denna handbok:
| Fast Krok på Platta 2 500 kg | Fast Krok på Platta 5 000 kg | Hydraulisk och mekanisk kranarm 4 000 mm / 900kg | Kranarm 2 000 mm / 2 000 kg | Vinsch 3 000 kg | |
|---|---|---|---|---|---|
| GTH-2506 | × | × | |||
| GTH-3007 | × | × | × | ||
| GTH-4013SX GTH-4017SX | × | × | × | × | |
| GTH-4013EX GTH-4017EX | × | × | × | × | |
| GTH-4016SR GTH-4018SR | × | × | × | × | 
     
   
Sidan har lämnats blank med avsikt
     
   
     
   
Läs igenom och försäkra dig om att du har förstått den föreberedande kontrollen innan du går vidare till nästa kapitel.
Förberedande kontroll och löpande underhåll av maskinen ska utföras av operatören.
Den förberedande kontrollen är en okulärbesiktning som utförs av operatören före varje arbetspass för att fastställa om det förekommer felfunktioner på lyftdonet och/eller tillbehöret innan funktionstestet utförs.
Syftet med den förberedande kontrollen är dessutom att fastställa om det är nödvändigt att utföra ingrepp för löpande underhåll. Operatören ska endast utföra de löpande underhållsingrepp som specificeras i denna handbok.
Vid skada eller någon typ av ej auktoriserad modifiering i förhållande till de ursprungliga förhållandena ska en skylt sättas upp på lyftdonet och/eller tillbehöret, samt ska dessa sättas ur funktion.
Reparationer på lyftdonet och/eller tillbehöret ska endast utföras av behörig teknisk personal och baserat på tillverkarens tekniska specifikationer. Efter att reparationerna har slutförts ska operatören åter utföra den förberedande kontrollen innan funktionstestet utförs.
Ingreppen för det löpande underhållet ska endast utföras av tekniskt kvalificerad personal, baserat på tillverkarens tekniska specifikationer.
     
   
För underhåll och förberedande kontroll på lyftdonet hänvisas till respektive operatörshandbok som finns inuti förarhytten.
Kontrollera följande komponenter eller områden för att upptäcka eventuella skador, saknade eller felaktigt monterade komponenter och icke auktoriserade modifieringar:
Kontrollera hela strukturen för att upptäcka eventuella:
     
   
Ett däck som exploderar kan leda till allvarliga olyckor; använd inte maskinen om däcken är förstörda, inte korrekt uppumpade eller utslitna.
     
   
Om maskinen ska användas i en marin miljö eller liknande, ska den skyddas med en lämplig saltskyddsbehandling för att undvika att den rostar.
Funktionstestet har tagits fram med syfte att upptäcka eventuella fel innan maskinen används. Operatören ska följa respektive anvisningar för att testa maskinens alla funktioner.
Använd aldrig maskinen om något fel förekommer. Om något fel förekommer ska detta markeras och maskinen sättas ur funktion. Reparationer ska endast utföras av tekniskt kvalificerad personal, baserat på tillverkarens tekniska specifikationer.
Efter att reparationerna har slutförts ska operatören åter utföra den förberedande kontrollen och funktionstestet innan maskinen används.
Läs igenom och försäkra dig om att du har förstått den föreberedande kontrollen innan du går vidare till nästa kapitel.
Gällande lyftdonet:
     
   
Utför alla erforderliga tester för lyftdonet och som listas i respektive operatörshandbok.
Genom att inspektera arbetsområdet kan operatören fastställa om maskinen kan användas på platsen under säkra förhållanden. Kontrollen ska göras innan maskinen flyttas till arbetsområdet.
Det är operatörens ansvar att informera sig om och komma ihåg vilka faror som kan förekomma på arbetsområdet och därefter vara beredd att undvika dem vid förflyttning, förberedelse och användning av maskinen.
Var uppmärksam på och undvik följande farliga situationer:
     
   
Syftet med detta avsnitt är att steg för steg beskriva för operatören och personal på marken hur maskinen utrustad med krok, kranarm eller vinsch används.
Både operatören och personal på marken ska uppfylla alla kraven för att manövrera lyftdonet med tillbehör och ha god kännedom om dess funktion före användning.
Denna kunskap är mycket viktig för att använda utrustningen på ett korrekt sätt under arbetet.
     
   
Innan maskinen används ska man undersöka arbetsområdet för att säkerställa att inga risker förekommer. Kontrollera att inga gropar, ostadiga vägbankar eller skräp som kan utgöra en risk för maskinens styrning förekommer.
     
   
Var särskild uppmärksam mot elektriska kablar. Kontrollera var de finns och säkerställ att ingen
del av maskinen arbetar på ett avstånd som är mindre än 6 meter från dessa kablar.
     
   
För att använda maskinen med tillbehör under fullständigt säkra förhållanden är det alltid nödvändigt att kontrollera lastens vikt innan den lyfts.
Gör på följande sätt för att byta tillbehöret:
     
   
     
   
När man har bytt tillbehö ska man okulärt kontrollera att det är korrekt fastkopplat på bommen innan maskinen används. Ett redskap som inte är korrekt fastkopplat är en fara både för operatören och för eventuella personer eller föremål som befinner sig i närheten.
Gör på följande sätt för att byta tillbehöret:
     
   
ANSLUTNING AV TILLBEHÖR
Hydraulisk anslutning (om det är nödvändigt)
För att använda vinschen eller den hydrauliska kranarmen, är det nödvändigt att utföra den hydrauliska anslutningen enligt anvisningarna som följer nedan:
     
   
Denna hydrauliska anslutning gör det möjligt att linda ut eller upp vajern på vinschen med hjälp av kommandokombinationerna som normalt används för att blockera eller lossa tillbehören. Detta beskrivs i respektive avsnitt.
Alla lyftdon är försedda med ett automatiskt system för stabilitetskontroll. Detta system signalerar en gradvis variation av stabiliteten och blockerar maskinen innan läget blir kritiskt. En display som sitter inuti förarhytten visar stabilitetsförhållandet för maskinen och respektive tillbehör.
LLMI/LLMC fungerar enligt gällande specifikationer, under förutsättning att:
LLMI är begränsat till att signalera instabila förhållanden till operatören längs det främre längsgående planet.
I följande fall varnar inte LLMI/LLMC operatören vid tippningsrisk:
Regleringar som påverkare inställningarna av LLMI/ LLMC ska endast utföras av auktoriserad personal.
Systemet för stabilitetskontroll skiljer sig åt beroende på lyftdonets modell och kan enkelt identifieras med typen av display som sitter monterad i förarhytten.
     
   
Vid start tänds kontrollampa 3, lysdiodsstapel 2 och knapparna 4 och 5.
Kontrollsystemet utför en felsökning. När maskinen används tänds lysdiodsstapeln 2
gradvis beroende på stabilitetsförhållandena.
     
   
Gröna lysdioder (L1 och L2): Dessa lyser under normala arbetsförhållanden, d.v.s. när procentsatsen tippningsrisk i förhållande till gränsvärdet varierar mellan 0 och 89. Maskinen är stabil.
Orange lysdioder (L3 och L4): Dessa tänds när maskinen är i närheten av det instabila gränsvärdet: Procentsatsen tippningsrisk i förhållande till gränsvärdet varierar mellan 90 och 99. Systemet växlar över till förlarmsläge: Det hörs upprepade signaler och rörelserna för utdragning och sänkning av bommen och tippning av gafflarna framåt bromsas ned.
Röda lysdioder (L5 och L6): Tippningsrisk! Procentsatsen tippningsrisk i förhållande till gränsvärdet är över 100.
Maskinen försätts i larmläge . En oavbruten ljudsignal hörs och alla farliga rörelser blockeras: Lyft av bommen, sänkning av bommen, utdragning samt tippning framåt med gafflarna. Endast manövrer som hämtar in lasten inom säkerhetsgränsvärdena är tillåtna.
Lastbegränsaren ärförseddmed ettfelsökningssystem som upptäcker fel på omvandlaren, brott på kablar och fel på elektroniska system. När ett fel upptäcks försätts lastbegränsaren i ett säkerhetsläge och blockerar farliga manövrer. Lysdioden L6 börjar att blinka för att indikera en larmkod. Koderna för eventuella fel som påträffas beskrivs i avsnittet Felfunktion och felsökning " i lyftdonets operatörshandbok.
     
   
Innan maskinen används ska du försäkra dig om att den första gröna stabilitetslampan är tänd.
     
   
Stabilt förhållande. Lasten som lyft överstiger inte 90 % av tillåten last enligt tabellen i respektive arbetsposition.
Förlarmsläge. Lasten som lyfts överstiger 90 % av max. tillåten last, men är under 100 %. Bommens rörelser bromsas in och en rad korta pipljud signaleras.
Larmsituation. Lasten som lyfts väger mer än max. tillåten last. Ett långt pipljud hörs och maskinens rörelser blockeras, förutom rörelserna som drar tillbaka lasten till ett stabilt läge för maskinen.
Lastbegränsarens panel är uppdelad i tre sektioner:
Sektion för lysdioder: Det finns tre lysdioder som indikerar de olika driftförhållandena:
ESC Gå tillbaka till föregående skärmbild
Genîe
| 1 | 55% | % | 
|---|---|---|
| 2- | FORKS | |
| 3- | -OUTRIGGERS LATERAL | |
| 4 | -MAX LOAD 50.3 | t | | 
| 5- | RAISED LOAD 10.2 | t | | 
| 6 | ANGLE 12.3 | ۶ | 
| 7 | -EXTENSION 12.3r | n | | 
| 8 | RADIUS 7n | n | | 
| fig. | A | 
Tryck samtidigt på de två knapparna PLUS (+) och MINUS (-) för att öppna felsökningssidan. Dessa sidor kan endast konsulteras. Använd PIL -knapparna för att bläddra sida.
     
   
Innan maskinen används ska du kontrollera att den första gröna lysdioden lyser, samt att driftläget som anges på rad 3 och typen av tillbehör som anges på rad 2 motsvarar de som för tillfället används.
Lasttabellen 1 indikerar max. tillåten last i förhållande till boomens utdragning och typen av påmonterat redskap som används. För att arbeta under säkra förhållanden hänvisas alltid till dessa tabeller.
Längden utdragen bom markeras med bokstäverna (A, B, C, D och E) som har målats på själva bommen
(pos.3), medan armens lutningsvinkel visas på vinkelmätaren 2.
Alla lasttabeller sitter på en specifik hållare ovanför instrumentpanelen i förarhytten.
Fliken 4 som sitter högst upp på varje lasttabell anger typen av redskap som används.
     
   
Tabellerna som visas här är endast exempel. För att fastställa lastgränser hänvisas endast till de tabeller som finns i maskinens förarhytt.
     
   
Tabellerna som sitter i förarhytten gäller en stillastående maskin som står på stadig och nivellerad mark
Lyft upp lasten några centimeter och kontrollera stabiliteten innan det verkliga lyftet görs.
     
   
Varje upphängd last har en viss dynamisk effekt och kan därför inte förutses för maskinens stabilitet. Var mycket försiktig.
     
   
     
   
SLINGFÖRANKRING AV LASTEN
Operatören ska vidta alla nödvändiga åtgärder för att fastställa vikten och tyngdpunkten för alla tyför av laster. Operatören ska ha tillgång till en ritning som anger vikten eller göra en noggrann beräkning av vikten. I detta kapitel beskrivs hur operatören på olika sätt kan komma fram till sådan information.
     
   
Kontrollera att lasten som ska lyftas inte överstiger max. kapacitet för tillbehöret och lyftdonet. Ta hänsyn till respektive lasttabeller.
Tyngdpunkten är den punkt där lasten, upphängd i kroken, befinner sig i fullständig balans.
Kroken ska befinna sig exakt ovanför tyngdpunkten som anges i fig. A för att lasten ska vara stabil.
     
   
Om lasten lyfts vid sidan om tyngdpunkten lasten flyttas på ett sådant sätt att balansen äventyras. Om du är osäker på lastens stabilitet kan du lyfta upp lasten endast några centimeter. Om lasten svänger ska lyftslingorna fästas på ett mer stabilt sätt.
Under lyftet är det mycket viktigt att försäkra sig om, med upplyft last, att lasten rör sig som förväntat och sitter fast ordentligt i lyftslingorna utan att lyftdonet överbelastas på något sätt. Sammanfattningsvis kan sägas att lasten ska vara ordentligt balanserad och stabil.
Vid de flesta lyft ska lasten förbli balanserad efter att den har lyfts från marken. Av den anledningen är det nödvändigt att placera lyftdonets krok längs lastens vertikala linje ovanför tyngdpunkten.
Lyftslingans armar ska fördelas jämnt med hänsyn till lastens fästpunkter. Den övre vinkeln mellan den
enskilda lyftslingan och den vertikala linjen inverkar på belastningen som tynger på respektive slingarm. Vid en balanserad last ska därför alla armar ha samma lutningsvinkel.
Om lasten börjar luta under lyftet är inte belastningen på lyftslingans armar jämn. Denna effekt är särskilt stor vid mycket små vinklar mellan armarna.
Vid stela laster där lyftslingor med en eller flera armar används ska du kontrollera hur många armar som verkligen bär upp lasten. Det kan hända att endast två eller tre armar bär upp den största delen av lasten och de övriga endast har en balanserande funktion. I sådant fall är det nödvändigt att använda ett lyftdon som har en högre kapacitet.
Med stabilitet menas i detta sammanhang "motstånd till att tippa". För ett föremål med smal bas och hög tyngdpunkt krävs en mindre kraft för att tippa, i förhållande till ett föremål med bred bas och låg tyngdpunkt.
Eftersom tyngdpunktens höjd ökar i förhållande till basens bredd, nås en punkt där föremålet tippar om det inte stöds av yttre hjälpmedel. I detta läge betraktas föremålet som instabilt och ju instabilare
     
   
föremålet är, desto större måste stödet vara. Samma villkor gäller för upphängda laster. Eftersom en upphängd last oundvikligen utsätts för krafter som kan tippa lasten (såsom t.ex. vind, acceleration, bromsning) är det nödvändigt att kontrollera vid slingförankringen att lasten är tillräckligt stabil för att motstå dessa tippande krafter.
En last är stabil i sig själv om lyftanordningen sitter fast OVANFÖR tyngdpunkten och är korrekt fördelad runt lasten.
En god förankring mellan lyftslingan och lasten är mycket viktig. Respektera följande anvisningar:
     
   
     
   
Skydda fingrar och händer! När en lyftslinga spänns ska du hålla händer och fingrar på ett säkert avstånd från kontaktpunken mellan lasten och lyftslingan för att undvika att fastna och klämmas. Avlägsna dig innan lasten lyfts.
     
   
Krokarna är tillverkade för att lyfta i fördjupning A. Användarna ska försäkra sig om att lyftslingans krok kan röra sig fritt vid lyftpunkten så att lastens vikt bärs upp vid fördjupningen.
Placering av kilar eller forcering av krokens låstunga A vid lyftpunkterna, genererar belastningar som kan deformera eller skada kroken i förtid.
     
   
Genîe
Manöverdon GTH-2506 och GTH-3007
     
   
Innan vinschen manövreras ska du försäkra dig om att inga åskådare finns inom lyftdonets aktionsradie.
Höja eller sänka vinschens vajer:
     
   
Eftersom höjnings- och sänkningshastigheten för vinschens vajer bestäms av oljeflödet, rekommenderas att manövrera manöverspaken mjukt vid lyft- och sänkningsmomenten för att undvika häftiga ryck för lasten. I annat fall utsätts konstruktionsdelarna för hårda påfrestningar och maskinens stabilitet kan äventyras.
     
   
     
   
Innan vinschen manövreras ska du försäkra dig om att inga åskådare finns inom lyftdonets aktionsradie.
Höja eller sänka vinschens vajer:
     
   
Eftersom höjnings- och sänkningshastigheten för vinschens vajer bestäms av oljeflödet, rekommenderas att manövrera manöverspaken mjukt vid lyft- och sänkningsmomenten för att undvika häftiga ryck för lasten. I annat fall utsätts konstruktionsdelarna för hårda påfrestningar och maskinens stabilitet kan äventyras.
     
   
Manöverdon GTH-4013EX och GTH-4017EX
     
   
Innan vinschen manövreras ska du försäkra dig om att inga åskådare finns inom lyftdonets aktionsradie.
Höja eller sänka vinschens vajer:
     
   
Eftersom höjnings- och sänkningshastigheten för vinschens vajer bestäms av oljeflödet, rekommenderas att manövrera manöverspaken mjukt vid lyft- och sänkningsmomenten för att undvika häftiga ryck för lasten. I annat fall utsätts konstruktionsdelarna för hårda påfrestningar och maskinens stabilitet kan äventyras.
     
   
KROK - KRANARM - VINSCH
     
   
Innan vinschen manövreras ska du försäkra dig om att inga åskådare finns inom lyftdonets aktionsradie.
Höja eller sänka vinschens vajer:
     
   
Eftersom höjnings- och sänkningshastigheten för vinschens vajer bestäms av oljeflödet, rekommenderas att manövrera manöverspaken mjukt vid lyft- och sänkningsmomenten för att undvika häftiga ryck för lasten. I annat fall utsätts konstruktionsdelarna för hårda påfrestningar och maskinens stabilitet kan äventyras.
     
   
     
   
     
   
Kroken på plattan är projekterad för den kapacitet som beskrivs i denna operatörshandbok. Den maximala lyftkapaciteten överensstämmer med den nominella kapaciteten på teleskoptrucken som den är fastkopplad på och anges i lasttabellerna som medföljer redskapet.
KRANARM 2000 KG
     
   
     
   
Efter att du har kopplat från redskapets snabbkopplingar från kopplingarna på armen, ska du komma ihåg att ansluta dem till de simulerade kopplingarna på redskapet för att undvika att det kommer in smuts i systemet. När de simulerade kopplingarna inte används ska de skyddas med de medföljande pluggarna.
     
   
     
   
Efter att du har kopplat från redskapets snabbkopplingar från kopplingarna på armen, ska du komma ihåg att ansluta dem till de simulerade kopplingarna på redskapet för att undvika att det kommer in smuts i systemet. När de simulerade kopplingarna inte används ska de skyddas med de medföljande pluggarna.
     
   
När lasten har hakats fast ska du ta hänsyn till följande anvisningar:
     
   
     
   
När sikten är dålig ska nödvändiga alternativa/ extra åtgärder tillämpas. Be om hjälp av personal på marken för att handleda operatören vid förflyttningen av lasten samt omgivande trafik.
Innan en last lyfts upp ska du välja en plats där den ska ställas ned. Iordningställandet av denna plats beror på typen av last, men normalt ska lasten ställas på träbalkar. Försäkra dig om att lyftslingan kan tas bort utan problem. Ställ aldrig en last direkt på lyftkedjan.
PARKERING och URDRIFTSÄTTNING av TILLBEHÖR och LYFTDON
     
   
Ställ tillbehöret på en torr och ordentligt nivellerad mark.
Lossa tillbehöret från lyftdonet på följande sätt:
Kontrollera vajern när tillbehöret är i viloläge. Vajern ska vara spänd, korrekt lindad runt vinschens trumma och inte tvinnad för att undvika eventuella nötskador och brott på vajern.
     
   
Tillbehöret kan flyttas med respektive lyftdon eller med lyftdon med gafflar av lämplig kapacitet.
Flytt av tillbehöret
     
   
Använd lämpliga lyfthjälpmedel för att flytta tillbehöret. Tekniska specifikationer anges i särskilt kapitel i den här bruksanvisningen och på märkplåten.
Beroende på tillbehöret som ska flyttas, följ anvisningarna nedan:
• Kranarm på 900 kg: sätt in gafflarna i de fyra därtill avsedda fickorna 1.
     
   
• Kranarm på 2 000 kg: sätt in gafflarna i de två därtill avsedda fickorna 2.
     
   
• Vinsch: sätt in gafflarna i de därtill avsedda fickorna 3.
     
   
Krok: dra två slingförankringar runt hålen på ramen, se figuren nedan.
     
   
Vid slutet av varje arbetsdag, varje skift eller i varje fall inför nattens avbrott ska maskinen parkeras på ett sätt så att den inte utgör en fara.
Vidta alla försiktighetsåtgärder för att undvika faror för de personer som närmar sig den när den inte är i drift:
Om maskinen och/eller tillbehöret inte ska användas under en längre tid, förutom anvisningarna vid kortare stopp, ska även följande rekommendationer följas:
Tvätta maskinen noggrant. Till detta ändamål rekommenderas att avlägsna skyddsgaller och huvar för att erhålla ett bättre resultat.
     
   
Använd inte bensin, lösningsmedel eller andra lättantändliga vätskor som rengöringsmedel. Använd i stället rekommenderade giftfria och flamsäkra lösningsmedel som säljs i handeln. Om tryckluft används, bär skyddsglasögon och andningsmask för att skydda luftvägarna. Om en vattenstråle används ska denna inte riktas mot elektriska delar.
     
   
Kom ihåg att det löpande underhållet ska utföras regelbundet även när maskinen och/ eller tillbehöret står stilla för ett långvarigt uppehåll med särskild uppmärksamhet till vätskorna och alla förslitningskomponenter. Innan maskinens och/eller tillbehörets drift återupptas rekommenderas det att utföra ett extra underhållsingrepp och noggrant kontrollera alla mekaniska, hydrauliska och elektriska komponenter.
     
   
När maskinen eller tillbehöret inte längre ska användas får inga delar lämnas i miljön. Vänd dig i stället till specialiserade företag för kassering av delarna i enlighet med gällande bestämmelser.
Bortskaffning av batteri
     
   
Förbrukade blybatterier ska inte slängas tillsammans med det normala fasta industriavfallet eftersom de är sammansatta av giftigt materia. Dessa ska i stället sorteras, deponeras och/eller återvinnas i enlighet med medlemsstaternas lagar.
Det använda batteriet ska placeras på en torr och isolerad plats. Kontrollera att även batteriet är torrt och att elementens lock är ordentligt slutna. Sätt en varningsskylt på batteriet som upplyser om att användningen är förbjuden. Om batteriet lämnas utomhus innan det deponeras ska detta torkas och man ska stryka ett lager fett på boxen och på elementen och stänga locken på själva elementen. Låt det inte ligga direkt på marken; det bästa är att förvara det på träbrädor eller på ett bord och att eventuellt täcka över det. Deponeringen av batteriet ska ske så snart som möiligt.
     
   
Sidan har lämnats blank med avsikt
     
   
     
   
Denna symbol indikerar intervallet för underhållsingreppen i drifttimmar.
     
   
Ett noggrant och periodiskt underhåll kan garantera operatören en alltid pålitlig och säker maskin.
Därför rekommenderas det att tvätta, smörja och utföra ett korrekt underhåll på maskinen efter att den har arbetat under särskilt svåra förhållanden (lerig eller dammig mark, kraftigt arbete etc.).
Kontrollera alltid att alla delar är i gott skick, att inga oljeläckor förekommer, att skydden och säkerhetsanordningarna är funktionsdugliga och vid behov sök efter felet och återgärda det.
Det löpande underhållet baseras även på maskinens arbetstimmar; kontrollera därför timmätaren och håll den funktionsduglig för att kunna fastställa underhållsintervallen.
Vid försummelse av dessa regler rörande det löpande underhållet som anges i den här handboken upphävs automatiskt garantin från TEREXLIFT.
Det är förbjudet att utföra ändringar eller någon typ av ingrepp på maskinen eller tillbehören, förutom de ingrepp som omfattas av normalt underhåll. Alla modifieringar som utförs på maskinen och/ eller tillbehören som inte utförs av TEREXLIFT eller auktoriserade serviceverkstäder, leder automatiskt till att överensstämmelsen med maskindirektiv 2006/42/EG upphör att gälla.
En långvarig kontakt med olior kan orsaka hudirritationer. Därför rekommenderas det att använda gummihandskar och skyddsglasögon. Efter att man har hanterat olior rekommenderas det att noggrant tvätta händerna med tvål och vatten.
Förvara alltid smörjmedlen på en stängd plats och utom räckhåll för barn. Förvara aldrig smörimedlen på öppen plats och utan en etikett som anger innehållet
Olia som hälls ut i naturen oavsett om ny eller använd, är mycket förorenande!
Konservera den nya olian noggrant, och den slutanvända olian ska konserveras i för ändamålet avsedda behållare för att sedan denoneras till de specifika återvinningsplatserna.
Om man oavsiktligt skulle spilla ut olia ska man låta den sugas upp med hjälp av sand eller en godkänd typ av granulat.
Samla in den massa som erhålls och deponera den som kemiskt avfall
Vid brand ska man använda kolsvresläckare med pulver eller skum. Använd inte vatten.
Ett felaktigt eller bristfälligt underhåll kan göra maskinen och tillbehöret farligt för operatören och personer som befinner sig i dess närhet Underhåll och smörjning ska utföras regelbundet enligt tillverkarens anvisningar för att upprätthålla maskinen och tillbehöret effektivt och säkert Underhållsingreppen ska utföras i förhållande till maskinens och tillbehörets drifttimmar. Kontrollera timmätaren och håll den funktionsduglig för att kunna fastställa underhållsintervallen korrekt. Säkerställ att alla fel som upptäckts under underhållsarbetet åtgärdats innan maskinen tas i bruk på nytt
1. Utför en komplett smörining av delar som är i rörelse
     
   
Alla underhållsingrepp ska utföras med avstängd motor, ilagd parkeringsbroms, arbetskomponenter helt sänkta till marken och växeln i friläge.
     
   
Ingrepp på hydraulsystemet får enbart utföras av auktoriserad personal.
Hydraulsystemet på den här maskinen är försett med tryckackumulatorer som kan sätta personalens säkerhet i fara om de inte tömts helt från tryck innan ingreppet på systemet ifråga påbörias.
För att tömma ackumulatorerna från tryck räcker det att trycka ned bromspedalen 8-10 gånger med avstängd motor.
     
   
Innan ingrepp på ledningar eller på hydrauliska komponenter påbörjas ska man vara säker på att inget tryck finns kvar i anläggningen. För att säkerställa detta ska man, efter att motorns stängts av och parkeringsbromsen aktiverats, manövrera fördelarnas styrspakar (omväxlande i de olika körriktningarna) för att avlägsna allt tryck ur den hydrauliska kretsen.
     
   
Högtrycksledningarna får enbart bytas ut av särskilt kvalificerad personal.
Smuts som kommer in i den slutna kretsens cirkulation kan orsaka att transmissionen plötsligt förstörs.
     
   
Den kvalificerade personalen som ingriper på hydraulkretsen ska utföra en mycket noggrann rengöring av de närliggande områdena innan ingreppet påbörjas.
     
   
Manipulering och deponering av använda oljor kan vara förordnade av nationella och regionala normer eller lagar. Vänd er till auktoriserade deponeringsanläggningar.
När någon typ av reparations- eller underhållsingrepp ska utföras, och i synnerhet om svetsningar ska utföras på maskinen, är det nödvändigt att koppla från batteriets huvudströmbrvtare som sitter i motorrummet.
     
   
Det är mycket farligt att använda slitna eller skadade vairar. En skadad vaier ska bytas ut omedelbart. TEREXLIFT avsäger sig allt ansvar för skador på personer eller föremål som beror på försummelse av denna föreskrift.
Utföra dagligen en grundlig kontroll där alla tyför av felfunktioner kan upptäckas. Vairarna ska bytas ut när någon av följande tecken på förfall upptäcks:
| Modell | Ø vajer | Längd | 
|---|---|---|
| Kranarm 4 000mm / 900kg | 8 mm | 37 m | 
| Vinsch 3 000 kg | 12 mm | 70 m | 
| SINTERVALL | |
|---|---|
| Inkörningsperiod | Ingen | 
| Ordinarie drift | _ Vid varje användning | 
Varie gång som lyftkroken används ska du kontrollera skicket på låstungan A.
     
   
     
   
STABILITETSKONTROLL (vid varje användning) När maskinen startas utför systemet för stabilitetskontroll automatisk en funktionskontroll. När ett fel upptäcks tänds den röda lysdioden och summern börjar att ljuda. Lyftdonet går i larmläge och rörelserna blockeras.
För en manuell kontroll av kontrollsystemet:
Denna anordning avbryter flytten av lasten, stoppar motorn och blockerar rörledningarna i händelse av brott.
Kontroll av korrekt funktion:
Denna anordning blockerar trumman vid upphängd last.
Kontroll av korrekt funktion:
Denna anordning ska upprätthålla lastens rörelser inom fastställda gränser.
Kontroll av korrekt funktion:
Denna anordning förhindrar att lyfta laster över vinschens max. kapacitet.
Kontroll av korrekt funktion:
Se avsnittet "Kontrolltabell" av säkerhetsanordningar för att anteckna resultaten från den dagliga kontrollen av dessa anordningar.
     
   
     
   
Innan man sprutar in smörjfett i smörjnipplarna ska dessa noggrant rengöras för att undvika att lera, damm eller andra främmande föremål kan blandas med fettet med följd att smörjeffekten minskar eller rent av annulleras.
Teleskoparmarna ska först noggrant rengöras från rester med hjälp av avfettningsmedel innan det nya fettet appliceras.
Tillbehöret ska smörjas regelbundet för att hålla den funktionsduglig och för att förlänga dess livslängd. Smörjfettet ska sprutas in genom de avsiktliga smörjnipplarna med hjälp av en pump. Sluta att spruta in fett när man ser att fettet sipprar ut från öppningarna.
Vid smörjning av vajern ska du ta hjälp av en operatör som är redo att nödstoppa maskinen i händelse av fara. Smörj in vajern med fett med hjälp av en pensel medan vajern lindas ut med minsta möjliga hastighet.
I följande figurer visas de olika smörjningspunkterna med följande symboler:
| SINTERVALL | |
|---|---|
| Inkörningsperiod | Ingen | 
| Ordinarie drift | Var 10:e drifttimme | 
     
   
Det här kapitlet utgör en riktlinje för operatören för reparation av enkla fel, men samtidigt också en tydlig angivelse av vilka ingrepp som enbart får utföras av specialiserade tekniker.
Vid tvivel ska ingen handling inledas utan att först ha rådfrågat en specialiserad tekniker.
     
   
Tillbehören som tas upp i denna handbok är verktyg som sitter monterade på ett lyftdon och kan därmed påverkas av fel på själva lyftdonet. Se därför lyftdonets operatörshandbok för fel som inte tas upp i detta kapitel.
| PROBLEM | ORSAKER | ÅTGÄRDER | 
|---|---|---|
| TIPPNINGSSKYDDETS LARMAR | Tillbehöret har överbelastats. | 
 | 
| MISSLJUD I HYDRAULSYSTEMET | Det förekommer luft i systemet. | Avlufta systemet. | 
| MISSLJUD VID LYFT TILLSAMMANS MED STÖTVIS ROTATION | Otillräckligt oljeflöde i systemet. | 
 | 
| MED FÖRDELAREN I MITTEN HAR LASTEN EN TENDENS ATT SJUNKA | 
 | • Byt ut fjädrarna. | 
| TILLBEHÖRET LYCKAS INTE LYFTA LASTEN | 
 | 
 | 
Om andra fel än de som är listade i detta kapitel upptäcks ska man rådfråga Teknisk service, den närmast belägna auktoriserade verkstaden eller TEREXLIFT-återförsäljaren.
     
   
Sidan har lämnats blank med avsikt
     
   
• kod 59.0700.9004 för GTH-2506
     
   
     
   
| TEKNISKA DATA | ||||
|---|---|---|---|---|
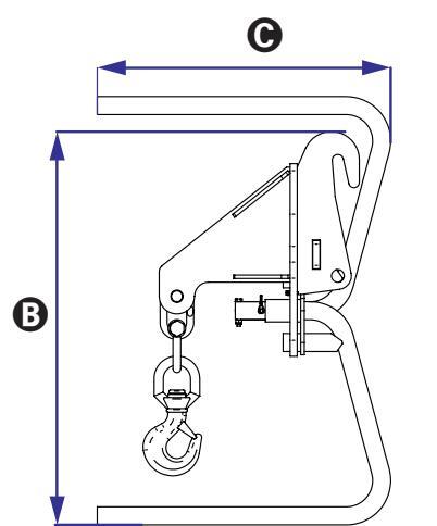
| Bredd | 1335 mm | |||
| 6 | Höjd i viloläge | 1110 mm | ||
| Θ | Längd | 830 mm | ||
| D | Höjd i arbetsläge | 910 mm | ||
| Vikt | 120 kg | |||
| Lyftkapacitet | 2500 kg | |||
| Tyngdpunkt | 150 mm | |||
     
   
     
   
| TEKNISKA DATA | ||||
|---|---|---|---|---|
| Bredd | 1335 mm | |||
| ₿ | Höjd i viloläge | 1110 mm | ||
| Θ | Längd | 830 mm | ||
| D | Höjd i arbetsläge | 1070 mm | ||
| Vikt | 160 kg | |||
| Lyftkapacitet | 5000 kg | |||
| Tyngdpunkt | 180 mm | |||
Genî
     
   
     
   
     
   
     
   
| TEKNISKA DATA | |||
|---|---|---|---|
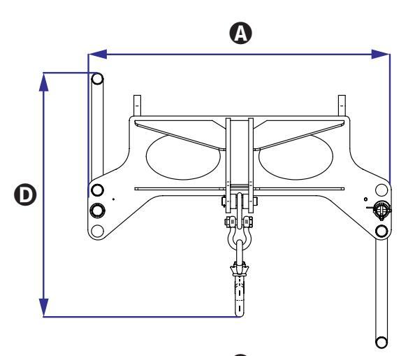
| Bredd | 1190 mm | ||
| ₿ | Höjd i viloläge | 1220 mm | |
| 0 | Längd | 4485 mm | |
| D | Höjd i arbetsläge | 1610 mm | |
| Vikt | 320 kg | ||
| Lyftkapacitet | 900 kg | ||
| Tyngdpunkt | 1400 mm | ||
| TEKNISKA DATA | |||
|---|---|---|---|
| Bredd | 1190 mm | ||
| 6 | Höjd i viloläge | 1220 mm | |
| Θ | Längd | 4450 mm | |
| D | Höjd i arbetsläge | 980 mm | |
| Vikt | 245 kg | ||
| Lyftkapacitet | 900 kg | ||
| Tyngdpunkt | 1340 mm | ||
• kod 59.0802.3007 för GTH-2506, GTH-3007, GTH-4013SX, GTH-4017SX, GTH-4013EX, GTH-4017EX, GTH-4016SR. GTH-4018SR
• kod 59.0901.9002 för GTH-4013SX. GTH-4017SX. GTH-4013EX. GTH-4017EX. GTH-4016SR. GTH-4018SR
     
   
     
   
     
   
     
   
| TEKNISKA DATA | |||
|---|---|---|---|
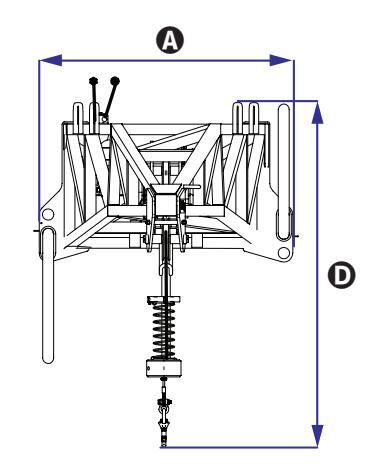
| Bredd | 1335 mm | ||
| ₿ | Höjd i viloläge | 1080 mm | |
| Θ | Längd | 2290 mm | |
| D | Höjd i arbetsläge | 800 mm | |
| Vikt | 255 kg | ||
| Lyftkapacitet | 2000 kg | ||
| Tyngdpunkt | 490 mm | ||
| TEKNISKA DATA | ||||
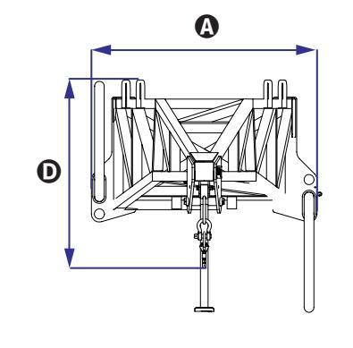
|---|---|---|---|---|
| Bredd | 1335 mm | |||
| ₿ | Höjd i viloläge | 1260 mm | ||
| 0 | Längd | 830 mm | ||
| D | Höjd i arbetsläge | 1840 mm | ||
| Vikt | 350 kg | |||
| Lyftkapacitet | 3000 kg | |||
| Tyngdpunkt | 260 mm | |||
     
   
Sidan har lämnats blank med avsikt
     
   
     
   
■ FAST KROK PÅ PLATTA FÖR GTH-3007
     
   
     
   
■ FAST KROK PÅ PLATTA FÖR GTH-4017 SX och GTH-4017 EX
     
   
     
   
     
   
Kod 57.0303.5169
■ FAST KROK PÅ PLATTA FÖR GTH-4018 SR
     
   
     
   
67
■ HYDRAULISK OCH MEKANISK KRANARM 4 000 mm/900 kg för GTH-4013 SX och GTH-4013 EX
     
   
     
   
■ HYDRAULISK OCH MEKANISK KRANARM 4 000 mm/900 kg för GTH-4017 SX och GTH-4017 EX
     
   
HYDRAULISK OCH MEKANISK KRANARM 4 000 mm/900 kg för GTH-4016 SR
     
   
     
   
     
   
■ KRANARM 2 000 mm/2 000 kg för GTH-2506
     
   
KRANARM 2 000 mm/2 000 kg för GTH-3007
     
   
■ KRANARM 2 000 mm/2 000 kg för GTH-4013 SX och GTH-4013 EX
     
   
     
   
KRANARM 2 000 mm/2 000 kg för GTH-4017 SX och GTH-4017 EX
     
   
     
   
■ KRANARM 2 000 mm/2 000 kg för GTH-4016 SR
     
   
KRANARM 2 000 mm/2 000 kg för GTH-4018 SR
     
   
VINSCH 3 000 kg för GTH-4013 SX och GTH-4013 EX
     
   
■ VINSCH 3 000 kg för GTH-4017 SX och GTH-4017 EX
     
   
     
   
■ VINSCH 3 000 kg för GTH-4016 SR
     
   
KROK - KRANARM - VINSCH
VINSCH 3 000 kg för GTH-4018 SR
     
   
     
   
Sidan har lämnats blank med avsikt
     
   
(Rev.0, Cod.: 57.2500.0001)
     
   
(Rev.0, Cod.: 57.2500.0000)
     
   
| Vind- styrka | Vind- beskrivning | Vind- hastighet m/sek | Effekter på mark | 
|---|---|---|---|
| 0 | Lugnt | < 0,3 | Lugnt. Röken stiger nästan rakt upp. | 
| 1 | Svag vind | 0,3 - 1,5 | Märkbar för känseln. | 
| 2 | Svag vind | 1,6 - 3,4 | Lyfter en vimpel. Sätter små löv i rörelse. | 
| 3 | Måttlig vind | 3,5 - 5,4 | Sträcker en vimpel. Sätter blad och tunna kvistar i oavbruten rörelse. | 
| 4 | Måttlig vind | 5,5 - 7,9 | Sträcker en flagga. Sätter kvistar och tunnare grenar i rörelse. | 
| 5 | Frisk vind | 8,0 - 10,7 | Mindre lövträd börjar svaja. Grenar sätts i rörelse. | 
| 6 | Frisk vind | 10,8 - 13,8 | Sätter stora trädgrenar i rörelse. Viner i telegraf- och telefonstolpar. Svårt att använda paraply. Plastbehållare för sopor välter. | 
| 7 | Hård vind | 13,9 - 17,1 | Hela träd svajar, man går ej obehindrat mot vinden. Svängande skyskrapor kan noteras, särskilt de översta våningarna. | 
| 8 | Hård vind | 17,2 - 20,7 | Bryter kvistar från träden. Besvärligt att behålla kursen för bilar. Besvärligt att gå i det fria. | 
| 9 | Halv storm | 20,8 - 24,4 | Grenar rycks av från träd och buskage blåser iväg. Signaleringar och spärr temporär dragare via. Mindre skador på hus, t ex taktegel kan blåsa ned. | 
| 10 | Storm | 24,5 - 28,4 | Träd rycks upp med roten. Betydande skador. Mindre träd böjs eller deformeras. Betydande skador på hus. | 
| 11 | Svår storm | 28,5 - 32,6 | Omfattande skador på vegetationen. Skadade tak. Gamla spruckna eller skadade asfaltsvägar lyfts upp fullständigt. | 
| 12 | Orkan | 32,7 > | Omfattande skador på vegetation. Vissa fönster går sönder. Skador på hus och lador som är i dåligt skick. Skräp kastas iväg längre avstånd. | 
     
   
Sidan har lämnats blank med avsikt
     
   
| Material | Vikt i kg per m 3 | 
|---|---|
| Aluminium | 2700 | 
| Mässing | 8500 | 
| Tegel | 2100 | 
| Kol | 1450 | 
| Koppar | 8800 | 
| Cement | 2400 | 
| Olegerat stål | 7700 | 
| Bly | 11200 | 
| Olja | 800 | 
| Papper | 1120 | 
| Vatten | 1000 | 
| Trä | 800 | 
VANLIGT FÖREKOMMANDE FORMER
| L W | Pyramid ¼ x L x I x H | 
|---|---|
| Massiv cylinder ϖr² x L | |
| L | Rör med tjock vägg ϖ(r1² - r2²) x L | 
| H | Massiv rektangel L x I x H | 
| R | Kula 4ϖ x R³ | 
87
     
   
Sidan har lämnats blank med avsikt
     
   
Tillverkare och person som är behörig att sammanställa den tekniska dokumentationen TEREXLIFT s.r.I. Zona Industriale Buzzacchero 06019 Umbertide (PG) Italia Vi förklarar att följande maskin Benämning: Höjningsbar och rörlig arbetsplattform (PLE) Funktion: Lyfta av personer och föremål Modell: XXXXX Serienummer: XXXXX Överensstämmer med alla bestämmelser i Maskindirektiv 2006/42/EG bilaga IV Har erhållit certifikat typ CE nr. XXXXXXXXXXX utfärdat av följande erkänd myndighet XXXXX Överensstämmer dessutom med följande europeiska standard, nationell lagstiftning och tekniska specifikationer:
EN 280/A2:2009
     
   
     
   
Sidan har lämnats blank med avsikt
     
   
DATUM_____
| KOMPONENT | RESULTAT | NOTERINGAR | UNDERSKRIFT | 
|---|---|---|---|
| Lyftdonets system för stabilitetskontroll | 
 | ||
| Vinschens låsventil med hydrauliskt kommando | 
 | ||
| Vinschens trumbroms | 
 | ||
| Vinschens ändlägesbrytare | 
 | ||
| Vinschens lyftbegränsar- mekanism | 
 | ||
| Krokens låstunga | 
 | 




























































































 Loading...
 Loading...