 
   
| Výrobní číslo | |||
|---|---|---|---|
| PEVNÝ HÁK NA DESCE | Od výr. č.: 61606 | ||
| ŽEBŘÍKOVÁ NÁSTAVBA 4000 mm/900 kg | Od výr. č.: 61902 | ||
| ŽEBŘÍKOVÁ NÁSTAVBA 2000 mm/2000 kg | Od výr. č.: 61903 | Obsahuje informace | |
| NAVIJÁK 3000 kg | Od výr. č.: 61958 | o Údržbě | |
| První Vydání První Dotisk Kód 57.0303.5168 | 
Před použitím strojního zařízení si přečtěte, seznamte se a řiďte se bezpečnostními předpisy a provozními pokyny obsaženými v tomto návodu. Strojní zařízení mohou obsluhovat pouze kvalifikovaní a autorizovaní pracovníci. Tento návod je nutné uschovat společně se strojním zařízením.
Pro objasňující informace se obraťte na Terexlift.
| ÚvodStr. | 3 | 
|---|---|
| Označení Přídavných ZařízeníStr. | 5 | 
| Použité Štítky A Značkové TabulkyStr. | 7 | 
| Bezpečnostní PředpisyStr. | 9 | 
| Popis Přídavných ZařízeníStr. | 17 | 
| KontrolyStr. | 23 | 
| Provoz A PoužíváníStr. | 27 | 
| ÚdržbaStr. | 49 | 
| Funkční Poruchy A Hledání PoruchStr. | 55 | 
| Technické ÚdajeStr. | 57 | 
| Tabulky ZatíženíStr. | 61 | 
| SchémataStr. | 83 | 
| Beaufortova Stupnice Síly VětruStr. | 85 | 
| Tabulka MateriálůStr. | 87 | 
| ES Prohlášení O ShoděStr. | 89 | 
| Kontrolní TabulkaStr. | 91 | 
ZONA INDUSTRIALE I-06019 UMBERTIDE (PG) - ITALIA Telefon +39 075 941811 Telefax +39 075 9415382
Telefon : +39 075 9418129 +39 075 9418175 e-mail: UMB.Service@terex.com
Překlad původního návodu První Vydání - První Dotisk, Květen 2011
Elektronická verze tohoto návodu je k dispozici na webových stránkách www.genielift.com/operator_manuals.asp
© Copyright 2011 TEREXLIFT srl - Všechna práva vyhrazena. Zhotovilo: Ufficio Documentazione Tecnica TEREXLIFT Umbertide (PG) Itálie
     
   
Značka nebezpečí: používá se pro upozornění pracovníků na možné riziko poranění osob. Je nutné dodržovat veškeré bezpečnostní upozornění a výstrahy uvedené u této značky, aby nedošlo k vážným poraněním nebo smrtelným úrazům osob.
🗼 NEBEZPEČÍ červená barva: značí přítomnost nebezpečné situace, která může způsobit, iestliže ií nebude zabráněno. vážná poranění nebo smrtelné úrazy osob.
POZOR Modrá barva: značí přítomnost potenciálně nebezpečné , situace. která může způsobit. iestliže ií nebude zabráněno. škody na strojním zařízení a linkách
RESPEKT K ZIVOTNÍMU PROSTŘEDÍ Zelená barva: upozorňuje na důležité informace týkající se ochrany životního prostředí.
     
   
Úmyslně prázdná stránka
     
   
Zkontrolujte, jestli návod pro obsluhu odpovídá příslušnému přídavnému zařízení.
Na přídavných zařízeních je umístěný níže zobrazený identifikační štítek.
Na identifikačním štítku je uvedený model, název, výrobní číslo, hmotnost, nosnost a rok výroby přídavného zařízení.
Zona Industriale - I-06019 UMBERTIDE (PG) - ITÁLIE Společnost zapsaná u soudu v Perugii pod č. 4823 CCIAA (Obchodní komora) v Perugii č. 102886 IČO a DIČ 00249210543
Pro zajištění bezpečnosti obsluhy byla při analýze rizik zdvihacího zařízení s proměnným vyložením zvážena příslušná nařízení následujících právních předpisů:
| Směrnice | Název | |
|---|---|---|
| 2006/42/ES | týkající se strojních zařízení | |
| Norma | Název | |
| EN 1459:1988 /A2:2009 | Bezpečnost manipulačních vozíků. Vozíky s proměnným vyložením a vlastním pohonem. | |
     
   
Genî
     
   
Úmyslně prázdná stránka
     
   
Zkontrolujte, jestli jsou všechny nálepky uvedené v následující tabulce přítomné na zařízení a dobře čitelné. V tabulce je uvedený také jejich počet a popis.
| Ref. | Štítek | Kód | Popis | Poč. | 
|---|---|---|---|---|
| 1 | 900 kg | 1 | ŠTÍTEK_Maximální nosnost. POUZE pro ŽEBŘÍKOVOU NÁSTAVBU 4000 mm/900 kg | 1 | 
| 2 | 09.4618.1346 | Nebezpečí uchycení. | 1 | |
| А |  | / | IDENTIFIKAČNÍ ŠTÍTEK | 1 | 
     
   
     
   
Úmyslně prázdná stránka
     
   
     
   
Na stroji jsou namontovaná bezpečnostní zařízení, která nesmíte nijak upravovat či demontovat.
Provádějte pravidelné kontroly jejich stavu a funkčnosti.
Jestliže bezpečnostní zařízení nejsou zcela funkční, zastavte pracovní proces a vyměňte je. Co se týče kontroly bezpečnostních zařízení, odkazujeme na kapitolu "Údržba" návodu pro obsluhu zdvihacího zařízení.
Systém omezující zatížení byl navržen proto, aby pomohl obsluze zajistit podélnou stabilitu strojního zařízení a aby ji upozornil pomocí vizuálních a akustických signálů na to, když zařízení dosáhne limitu podélné stability.
V každém případě toto zařízení nemůže nahradit zkušenost obsluhy: odpovědnost za bezpečné provádění operací nese obsluha stroje, která musí postupovat v souladu s veškerými bezpečnostními předpisy a nařízeními.
     
   
Nedodržování bezpečnostních předpisů a pokynů obsažených v tomto návodu může způsobit vážná poranění či smrtelné úrazy.
Většina nehod při obsluze pracovních strojů a jejich údržbě a opravách je způsobena nedodržováním základních bezpečnostních opatření a nařízení.
Proto je vždy nutné vzít v potaz a uvědomit si potenciální rizika spojená s obsluhou strojního zařízení a dávat neustále pozor na dopady jednotlivých činností a úkonů prováděných na strojním zařízení.
Včasným poznáním potenciálně nebezpečných situací můžete předejít nehodám!
     
   
Pokyny obsažené v tomto návodu vypracovala společnost TEREXLIFT: není vyloučeno, že existují lepší a stejně bezpečné způsoby, jak uvést strojní zařízení a/nebo přídavné zařízení do provozu, pracovat na nich a opravovat je, a to i v závislosti na prostoru a pomocných prostředcích, které máte k dispozici.
Jestliže se rozhodnete postupovat odlišným způsobem, než jak je to uvedené v tomto návodu, je nezbytně nutné:
Pracovníci, kteří běžně nebo občas obsluhují strojní zařízení a/nebo přídavné zařízení musí splňovat následující požadavky:
před a během práce nesmí požít alkohol, léky či jiné látky, které mohou vyvolat změny psychického a fyzického stavu a tím i chování při obsluze strojního zařízení s připevněným přídavným zařízením.
dobrý zrak, dobrý sluch, dobrá koordinace a schopnost bezpečně provádět veškeré požadované provozní funkce, jak je to uvedené v tomto návodu. duševní:
schopnost pochopit a provádět stanovená nařízení a předpisy, pravidla a bezpečnostní opatření; pozornost a soudnost pro zajištění bezpečnosti nejenom sebe samého, ale i třetích osob; správné a odpovědné provádění práce.
pracovníci obsluhy musí být klidní a schopní snést stresové situace; musí být schopní správně zhodnotit vlastní fyzický a duševní strav.
musí si přečíst a pečlivě si prostudovat tento návod, přiložené grafy a schémata, štítky a obtisky značící nebezpečí a upozornění; musí být specializovaní a kompetentní ohledně veškerých aspektů spojených s provozem a používáním strojního zařízení a/nebo přídavného zařízení.
V některých zemích může být zákonem stanoveno, že pro obsluhu tohoto strojního zařízení musí mít příslušná osoba licenci či řidičský průkaz. Ohledně tohoto požadavku se informujte na příslušném úřadě.
Údržbu strojního zařízení a/nebo přídavného zařízení mohou provádět pouze mechanici způsobilí k údržbě strojů pro zemní práce, jenž musí splňovat následující požadavky:
dobrý zrak, dobrý sluch, dobrá koordinace a schopnost bezpečně provádět veškeré požadované údržbářské zásahy, jak je to uvedené v tomto návodu.
schopnost pochopit a provádět stanovená nařízení a předpisy, pravidla a bezpečnostní opatření; pozornost a soudnost pro zajištění bezpečnosti nejenom sebe samého, ale i třetích osob; správné a odpovědné provádění práce.
musí si přečíst a pečlivě si prostudovat tento návod, přiložené grafy a schémata, štítky a obtisky značící nebezpečí; musí být specializovaní a kompetentní ohledně veškerých aspektů spojených s provozem strojního zařízení.
Běžná údržba strojního zařízení a/nebo přídavného zařízení nepředpokládá velmi složité
operace z technického hlediska, a proto ji může zajistit i obsluha zařízení, jestliže má základní znalosti mechaniky.
Při provádění pracovních úkonů, údržbářských zásahů a oprav musí všichni pracovníci používat následující bezpečnostní oděvy a pomůcky.
     
   
     
   
Používejte pouze schválené ochranné pomůcky, které jsou v dobrém stavu.
Jestliže si to vyžadují pracovní podmínky, používejte následující osobní ochranné prostředky:
Vždy vezměte v potaz charakteristiku pracovního prostředí, ve kterém strojní zařízení pracuje:
Pracovní prostor si řádně prostudujte: zvažte, jestli odpovídá rozměrům stroje v různých konfiguracích.
Zařízení není elektricky odizolované a neposkytuje ochranu před dotykem anebo v případě blízkosti elektrických vedení.
Vždy udržujte bezpečnou vzdálenost od elektrických vedení: jak od ramena, tak od případně nadzvednutého břemena. Nebezpečí zásahu elektrickým proudem.
V případě kontaktu s elektrickým vedením se vzdalte od stroje. Jestliže nedojde k přerušení přívodu elektrické energie, pracovníci na zemi či na stroji se ho nesmí dotýkat či pokusit se ho znovu uvést do provozu.
| NEBEZI PŘÍPAD | PEČÍ SN Ě Koni | IRTELNÉ TAKTU S | HO ÚR Eleki | AZU ČI VÁŽI Rickým vei | NÝCH Dení | I PORANĚN M POD PRO | IÍ V Dudem. | 
|---|---|---|---|---|---|---|---|
| PŘEL NEBE ZKON PŘEL ZAHA PROL | ) ZAJ ZPE NTAK ) SPU (JENÍ JDEM | ÁJENÍ ČNÉM TUJTE ŠTĚNÍ M PRÁ | M PR PRO DOL M S1 CE ( | RÁCE V P STŘEDÍ V DAVATEL ROJNÍHO DDPOJTE | OTI /ŽD E E O Z E K/ | ENCIÁLI Y NEJDI LEKTŘI AŘÍZENI ABELY F | VĚ ŘÍVE NY. Í A POD | 
| ELEK | TRIC | KÉ VEĽ | ΕNÍ | MINIMA | ίLΝ | Í VZDÁLE | NOST | 
| 0 | do | 50 | kV | 10 | ft | 3.00 | т | 
| 50 | do | 200 | kV | 15 | ft | 4.60 | т | 
| 200 | do | 350 | kV | 20 | ft | 6.10 | т | 
| 350 | do | 500 | kV | 25 | ft | 7.62 | т | 
| 500 | do | 750 | kV | 35 | ft | 10.67 | т | 
| 750 | do | 1000 | kV | 45 | ft | 13.72 | т | 
     
   
Je zakázáno používat strojní zařízení při bouřce.
     
   
Při používání teleskopického zdvižného vozíku musí obsluha prozkoumat pole dohledu.
Před zahájením jakékoliv práce je nutné se příslušně připravit:
Ujistěte se, že došlo k řádnému provedení údržbářských prací ve stanovených časových intervalech.
     
   
Uveďte strojní zařízení pro pracovní polohy a řádně ho vyrovnejte pomocí příslušného nivelačního přístroje umístěného napravo od sedadla řidiče.
Při provádění práce, údržby a oprav se vyžaduje maximální opatrnost:
     
   
Pro nastoupení či vystoupení z kabiny či jiných vyšších částí strojního zařízení je nutné stát vždy čelem ke stroji a neobracet se k němu zády.
Bezpečnostní Předpisv
     
   
     
   
Jsou zakázány jakékoliv zásahy na hydraulické soustavě provedené neautorizovanými pracovníky.
Hydraulická soustava tohoto zařízení je vybavená akumulátory tlaku, které představují vážné rizika poranění osob, jestliže nedojde k jejich vypuštění před provedením zásahů na hydraulickém rozvodu.
Pro vypuštění tlaku z těchto akumulátorů stačí sešlápnout 8-10x pedál brzdy (strojní zařízení musí být v klidu).
     
   
     
   
komponenty nebo tam, kde proudí vzduch pro sání a chlazení, nezůstaly odložené nějaké nástroje, hadry či jiné cizí materiály.
Je nutné vždy se vyhnout následujícím pracovním situacím:
     
   
     
   
Toto přídavné zařízení se používá pro manipulaci se zavěšenými břemeny pomocí lanového systému. Má svařovanou mřížovou nosnou strukturu osazenou dvěma bočními přírubami s mechanickými očnicemi (v horní části) a otvory (ve spodní části) pro standardní připojení k teleskopickým zdvihacím
Příruby jsou spojené (svařené) pomocí středové ocelové desky, která je přivařená k mřížové struktuře. Svařovaná mřížová struktura je ve spodní části osazená opěrnými nohami, o které se přídavné zařízení opírá v případě, že je položené na zem a není připojené ke zdvihacímu zařízení.
Hydraulický naviják, namontovaný na přední ploše středové ocelové desky, je aktivovaný hydraulicky pomocí pomocného vedení přítomného na konci teleskopického ramena. Hydraulické propojení mezi vedením a navijákem je provedeno pomocí dvou hydraulických rychlospojek. Naviják je osazený bubnem s mechanickým pohonem pro navíjení ocelového lana.
Zakončení ocelového lana je uchycené přímo nebo pomocí ocelové kladky (podle modelu navijáku) k háku schválenému pro zvedání přípustného břemena.
Hák je certifikovaný pro manipulaci s břemenem určeným pro dané přídavné zařízení (jeho konstrukční odolnost se rovná anebo je vyšší než maximální nosnost stanovená pro celý pracovní adaptér).
Vedle prostoru s navijákem je umístěný speciální koncový vypínač, který zaznamená stav maximálního zdvihu háku.
Se zcela zvednutým hákem nebude do přídavného zařízení dodáván žádný hydraulický tlak, aby nedošlo ke zbytečnému přetížení jeho konstrukčních částí.
Toto přídavné zařízení se používá pro manipulaci se zavěšenými břemeny pomocí lanového systému. Má svařovanou mřížovou nosnou strukturu osazenou dvěma bočními přírubami s mechanickými očnicemi (v horní části) a otvory (ve spodní části) pro standardní připojení k teleskopickým zdvihacím zařízením GTH.
Příruby jsou spojené (svařené) pomocí středové ocelové desky, která je přivařená k mřížové struktuře. Svařovaná mřížová struktura je v přední části osazená mechanickým úchytem pro připojení ocelového háku schváleného typu.
Hák je certifikovaný pro manipulaci s břemenem určeným pro dané přídavné zařízení (jeho konstrukční odolnost se rovná anebo je vyšší než maximální nosnost stanovená pro celý pracovní adaptér).
Hydraulická verze žebříkové nástavby předpokládá hydraulický naviják nainstalovaný uvnitř mřížové struktury, těsně před středovou ocelovou deskou.
Naviják je aktivovaný hydraulicky pomocí pomocného vedení přítomného na konci teleskopického ramena. Hydraulické propojení mezi vedením a navijákem je provedeno pomocí dvou hydraulických rychlospojek.
Naviják je osazený bubnem s mechanickým pohonem pro navíjení ocelového lana.
Zakončení ocelového lana je uchycené ke schválenému háku, který je umístěný na konci mřížové struktury. Na dráze mezi bubnem a hákem je lano vedeno ocelovými kladkami umístěnými uvnitř a na konci mřížové struktury. Na konci mřížové struktury je také umístěný speciální koncový vypínač, který zaznamená stav maximálního zdvihu háku.
Se zcela zvednutým hákem nebude do přídavného zařízení dodáván žádný hydraulický tlak, aby nedošlo ke zbytečnému přetížení jeho konstrukčních částí.
     
   
Toto přídavné zařízení se používá pro manipulaci se zavěšenými břemeny pomocí lanového systému. Má svařovanou mřížovou nosnou strukturu osazenou dvěma bočními přírubami s mechanickými očnicemi (v horní části) a otvory (ve spodní části) pro standardní připojení k teleskopickým zdvihacím zařízením GTH.
Hlavní část háku tvoří ocelová svařená struktura osazená dvěma bočními přírubami.
Ve středové části této struktury je umístěný nosný rám, na jehož předním konci se nachází mechanický úchyt pro připevnění ocelového háku schváleného typu.
Hák je certifikovaný pro manipulaci s břemenem určeným pro dané přídavné zařízení (jeho konstrukční odolnost se rovná anebo je vyšší než maximální nosnost stanovená pro celý pracovní adaptér).
Navijáky a žebříkové nástavby jsou navrženy a konstruovány pro účely svislé manipulace (zvedání/ spouštění) břemen prostřednictvím navíjení a
odvíjení příslušného lana na buben.
Jakékoliv jiné použití je považováno v rozporu se stanoveným použitím a je nevhodné.
Soulad a přísné dodržování podmínek používání, údržby a oprav stanovených výrobcem jsou dílčí součástí stanoveného použití.
Používání, údržba a opravy těchto přídavných zařízení jsou vyhrazené pouze osobám, které se seznámily s jejich specifičnostmi a s příslušnými bezpečnostními postupy.
Dále je nutné dodržovať veškeré předpisy zajišťující bezpečnost práce, obecně uznávané bezpečnostní předpisy, předpisy týkající se hygieny práce a také předpisy silničního provozu.
Je zakázáno provádět na stroji a jeho přídavném zařízení zásahy jakéhokoliv typu, s výjimkou zásahů běžné údržby. Jakékoliv úpravy či změny provedené na stroji a/nebo přídavném zařízení osobou jinou než jsou pracovníci společnosti TEREXLIFT a/nebo autorizovaných servisních středisek s sebou automaticky nese ztrátu shody strojního zařízení se směrnicí 2006/42/ES.
Nevhodným používáním se rozumí používání přídavného zařízení na základě pracovních kritérií, která neodpovídají pokynům obsaženým v tomto návodu a která jsou nicméně nebezpečná jak pro obsluhu, tak pro třetí osoby.
     
   
Níže jsou uvedené nejčastější a nejnebezpečnější příklady nevhodného používání žebříkových nástaveb a navijáků:
V následující tabulce jsou uvedené modely zdvihacích zařízení Terexlift, u kterých je možné použít přídavná zařízení popsaná v tomto návodu:
| Pevný Hák na Desce 2500 kg | Pevný Hák na Desce 5000 kg | Hydraulická a mechanická žebříková nástavba 4000 mm / 900 kg | Žebříková nástavba 2000 mm / 2000 kg | Naviják 3000 kg | |
|---|---|---|---|---|---|
| GTH-2506 | × | × | |||
| GTH-3007 | × | × | × | ||
| GTH-4013SX GTH-4017SX | × | × | × | × | |
| GTH-4013EX GTH-4017EX | × | × | × | × | |
| GTH-4016SR GTH-4018SR | × | × | × | × | 
     
   
Úmyslně prázdná stránka
     
   
     
   
Před přechodem k následující kapitole si přečtěte a seznamte se s kontrolami, které je nutné provést před zahájením práce.
Předběžnou kontrolu a běžnou údržbu strojního zařízení zajistí obsluha.
Předběžnou kontrolou se rozumí vizuální kontrola zařízení, kterou obsluha provede před každou pracovní směnou pro zjištění případných anomálií na zdvihacím zařízení a/nebo přídavném zařízení, před zkouškou jednotlivých funkcí.
Předběžná kontrola slouží také k tomu, aby bylo možné určit, je-li nutné provést zásahy běžné údržby. Obsluha může provádět pouze zásahy běžné údržby uvedené v tomto návodu.
Jestliže zjistíte poškození anebo jakoukoliv neschválenou úpravu vzhledem k původnímu stavu, proveďte příslušné označení a uveďte zdvihací zařízení a/nebo přídavné zařízení mimo provoz.
Opravy na zdvihacím zařízení a/nebo přídavném zařízení mohou provádět pouze kvalifikovaní technici, v souladu s technickými specifikacemi výrobce. Po dokončení oprav obsluha musí opět provést předběžnou kontrolu a poté zkoušku jednotlivých funkcí.
Zásahy naplánované údržby mohou provádět pouze kvalifikovaní technici v souladu s technickými specifikacemi výrobce.
     
   
Pro údržbu a předběžnou kontrolu zdvihacího zařízení odkazujeme na příslušný návod pro obsluhu. který naleznete uvnitř kabiny.
Co se týče přídavného zařízení:
Zkontrolujte následující komponenty a prostory pro zjištění případných poškození, chybějících nebo nesprávně namontovaných komponentů a neoprávněných úprav:
Zkontrolujte celou strukturu zařízení, abyste zjistili případný výskyt:
     
   
Jestliže i pouze jedna z kontrol bude mít negativní výsledek, nezačněte pracovat, zastavte strojní zařízení a zajistěte příslušnou opravu.
Jestliže budete strojní zařízení používat v přímořském nebo podobném prostředí, ošetřete ho ochranným nátěrem proti působení slané vody, aby se na něm nevytvářela rez.
Zkouška funkcí se provádí za účelem zjištění případných poruch před používáním strojního zařízení. Obsluha se musí řídit pokyny poskytnutými pro provádění zkoušek všech funkcí strojního zařízení. Nikdy strojní zařízení nepoužívejte, je-li porouchané. V případě zjištění poruch příslušně označte strojní zařízení a uveďte ho mimo provoz. Opravy mohou provádět pouze kvalifikovaní technici, v souladu s technickými specifikacemi výrobce. Po ukončení oprav musí obsluha znovu provést předběžnou kontrolu a také zkoušku funkcí a teprve poté může uvést strojní zařízení do provozu.
Před přechodem k následující kapitole si přečtěte a seznamte se s kontrolami, které je nutné provést před zahájením práce.
Týkající se zdvihacího zařízení:
     
   
Proveďte všechny zkoušky stanovené pro zdvihací zařízení a vyjmenované v příslušném návodu pro obsluhu.
Kontrola pracovního prostoru umožňuje obsluze zjistit, jestli je kompatibilní s bezpečným provozem strojního zařízení. Kontrola musí být provedená před přesunutím strojního zařízení do pracovního prostoru.
Obsluha je zodpovědná za to, aby se seznámila a zapamatovala si rizika, která představuje pracovní prostor, a aby jim následovně uměla, během přesunu, přípravy a provozu strojního zařízení, předcházet.
Obsluha musí poznat a zabránit následujícím nebezpečným situacím:
Účelem této části návodu je poskytnout obsluze a pracovníkům na zemi podporu pro postupné se seznámení s používáním zdvihacího zařízení osazeného hákem, žebříkovou nástavbou nebo navijákem.
Obsluha zařízení a pracovníci na zemi musí splňovat všechny požadavky stanovené pro manipulaci se zdvihacím zařízením osazeným přídavným zařízením a musí se seznámit s jejich provozem před tím, než je začnou používat.
Tato znalost je nezbytná pro správné používání zařízení během pracovní fáze.
     
   
Před použitím strojního zařízení prozkoumejte pracovní prostor, abyste zjistili, jestli nepředstavuje nějaká nebezpečí. Zkontrolujte případnou přítomnost děr, nezpevněné násypy a říční štěrk, které mohou ohrozit kontrolu strojního zařízení.
     
   
Dávejte pozor na přítomnost elektrických kabelů. Zkontrolujte jejich umístění a zajistěte, aby žádná část strojního zařízení nepracovala ve vzdálenosti menší než 6 metrů od těchto kabelů.
     
   
Pro zajištění maximální bezpečnosti při provozu stroje osazeného přídavným zařízením vždy zkontrolujte hmotnost břemen určených k manipulaci před tím, než je začnete zvedat.
Pro výměnu pracovních adaptérů postupujte následovně:
     
   
     
   
Po výměně pracovního adaptéru, před uvedením strojního zařízení do provozu, vizuálně zkontrolujte, jestli je adaptér správně uchycený na rameni. Nesprávně upevněný adaptér představuje riziko nejenom pro obsluhu, ale i pro třetí osoby nebo věci nacházející se v daném prostoru.
Pro výměnu pracovních adaptérů postupujte následovně:
     
   
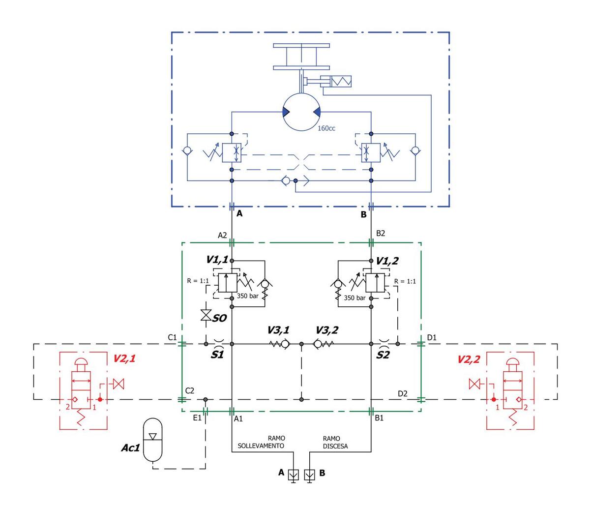
HYDRAULICKÉ ZAPOJENÍ (je-li nezbytné)
Pro použití hydraulického navijáku nebo žebříkové nástavby je nezbytné provést hydraulické zapojení podle níže uvedených pokynů:
     
   
Toto hydraulické zapojení umožňuje navíjet nebo odvíjet lano z navijáku pomocí kombinace příkazů, které se běžně používají pro upnutí nebo uvolnění pracovních adaptérů, jak je to popsané v příslušných odstavcích.
Všechnazdvihací zařízení jsou osazená automatickým systémem zajištují cím kontrolu stability, který signalizuje mění cí se stupeň stability a zablokujte strojní zařízení před tím, než se dostane do kritického stavu. Na displeji, který je umístěný uvnitř kabiny, je zobrazený stav stability stroje a použitého přídavného zařízení.
Systém LLMI/LLMC bude fungovat podle projekčních specifikací pouze v případě, že:
Systém LLMI upozorňuje obsluhu na to, že podél čelní strany (roviny) nejsou nastoleny podmínky požadované pro zajištění stability.
Systém LLMI/LLMC není navržený pro to, aby upozornil obsluhu na riziko převrácení v případě::
Seřízení, která mají dopad na nastavení systému LLMI/LLMC, mohou provádět pouze oprávnění pracovníci.
Použitý systém pro kontrolu stability závisí na modelu zdvihacího zařízení a je snadno identifikovatelný podle typu displeje nainstalovaného v kabině.
     
   
Při zapnutí se rozsvítí kontrolka 3 , stupnice LED 2 a tlačítka 4 a 5 .
Zařízení provede diagnostickou kontrolu. Během používání strojního zařízení se stupnice LED 2 bude rozsvěcovat v závislosti na stavu stability.
     
   
Zelené kontrolky LED (L1 a L2): tyto kontrolky svítí za normálních pracovních podmínek, jestliže se procentní hodnota klopného momentu pohybuje v rozmezí 0-89 vzhledem k mezníchodnotě. Strojní zařízení je stabilní.
Oranžové kontrolky LED (L3 a L4): rozsvítí se, jestliže je strojní zařízení téměř ve stavu nestability: procentní hodnota klopného momentu se pohybuje v rozmezí 90-99 vzhledem k mezní hodnotě. Systém přejde do předběžného nouzového stavu : bzučák vydá přerušovaný zvukový signál a dojde ke zpomalení pohybů spojených se spouštěním a vysunováním ramena a posouváním vidlic dopředu.
Červené kontrolky LED (L5 a L6): riziko převrácení: procentní hodnota klopného momentu vzhledem k mezní hodnotě je vyšší než 100. Strojní zařízení přejde do nouzového stavu : akustický alarm vydá nepřetržitý signál a dojde k zablokování veškerých nebezpečných pohybů: zvedání ramena, spouštění ramena, vysunování ramena, posuv vidlic dopředu. Je možné provádět pouze manévry umožňující přesun ramena do bezpečného stavu.
Omezovač zatížení je osazený automatickým diagnostickým systémem, který umožňuje zaznamenat poruchy snímačů, poškození kabelů nebo elektronického systému. Jestliže dojde k zaznamenání nějaké poruchy, omezovač nastolí bezpečné podmínky tak, že zablokuje veškeré nebezpečné manévry. Kontrolka LED L6 začne blikat pro označení kódu alarmu. Kódy týkající se zjištěné poruchy jsou uvedené v části "Funkční poruchy a hledání poruch" návodu pro obsluhu zdvihacího zařízení.
     
   
Před použitím strojního zařízení se ujistěte, že je první zelená kontrolka LED omezovače zatížení rozsvícená.
     
   
Stav stability - Zvedané břemeno nepřekračuje v dané pracovní poloze 90% přípustného zatížení.
Předběžný nouzový stav - Zvedané břemeno překračuje 90% přípustného zatížení, ale je nižší než maximální přípustné zatížení. Pohyby ramena jsou zpomalené a bzučák vydá několik krátkých "bip".
Nouzový stav - Zvedané břemeno překračuje maximální přípustné zatížení. Bzučák vydá několik dlouhých "bip" a dojde k zablokování pohybu strojního zařízení, s výjimkou pohybů pro přesun do stabilní polohy.
Panel omezovače zatížení je rozdělený do tří částí:
Část LED: V této části jsou umístěné tři kontrolky
LED značící změnu pracovních podmínek:
     
   
Pro přístup na Stránky diagnostiky stiskněte současně obě tlačítka PLUS (+) a MINUS (-). Tyto stránky jsou určené pouze ke čtení; pro přechod z jedné stránky na druhou použijte tlačítka ŠIPKA.
     
   
Před použitím strojního zařízení se ujistěte, že je první kontrolka LED zelené barvy rozsvícená a že pracovní režim uvedený na řádku 3 a typ přídavného zařízení uvedený na řádku 2 odpovídají těm, které jsou použity.
Tabulky zatížení 1 udávají maximální přípustné zatížení v závislosti na vysunutí ramena a na typu použitého pracovního adaptéru.
Pro zajištění bezpečného provozu se musíte s těmi tabulkami seznámit.
Rozsah vysunutí ramena zjistíte pomocí čísel (A, B,
C , D , E ) vyznačených na rameni (pol.3). Skutečný sklon ramena je zase možné zjistit pomocí úhlového indikátoru 2.
Všechny tabulky zatížení jsou umístěné na zvláštním držáku v kabině.
Štítek 4 umístěný ve horní části tabulky zatížení značí typ použitého přídavného zařízení.
     
   
Tabulky, které jsou znázorněné v tomto návodu, mají pouze informační charakter. Pro stanovení mezního zatížení odkazujeme na tabulky umístěné uvnitř kabiny strojního zařízení.
     
   
Tabulky umístěné v kabině se vztahují na strojní zařízení zastavené na pevném a dobře vyrovnaném povrchu.Zvedejte břemena po několika málo centimetrech a před provedením skutečného zdvihu zkontroluite jejich stabilitu.
     
   
Každé zavěšené břemeno má dynamické účinky, které mohou mít dopad na stabilitu strojního zařízení. Postupujte velmi opatrně.
     
   
     
   
ZAJIŠTĚNÍ BŘEMENA POPRUHY
Obsluha musí provést všechny operace potřebné pro stanovení hmotnosti a polohy těžiště veškerých břemen. Obsluha by měla mít k dispozici schéma, na kterém je uvedena hmotnost; v opačném případě musí tuto hmotnost vypočítat. V této kapitole je uvedeno více způsobů pro získání těchto informací.
     
   
Zkontrolujte, jestli břemeno určeno ke zvedání nepřesahuje maximální nosnost přídavného nebo zdvihacího zařízení. Pro tuto informaci odkazujeme na tabulky zatížení.
"Těžiště" je bod, ve kterém se břemeno, nesené hákem, nachází ve stavu naprosté rovnováhy. Pro zajištění stability břemena se musí hák nacházet přímo nad těžištěm, jak je to uvedené na obrázku A .
     
   
V případě zvedání břemena vychýleného z polohy těžiště může dojít k posunu břemena, dokud nebude obnovený stav rovnováhy.
V případě pochybností ohledně stability břemena ho nadzvedněte od země o pouze několik málo centimetrů. Jestliže se břemeno kývá, upevněte vázací prostředky ve stabilnější poloze.
Během zvedání se musíte ujistit, s břemenem nadzvednutým od země, jestli se břemeno chová tak, jak je to stanoveno a jestli zůstane pevně upevněno k popruhům bez toho, aby docházelo k jakémukoliv přetížení zdvihacího zařízení. To znamená, jinými slovy, že břemeno musí být dokonale vyvážené a stabilní.
Ve většině případů musí břemeno, po nadzvednutí ze země, zůstat vyvážené. Za tímto účelem je nutné umístit hák zdvihacího zařízení podél svislé osy, nad těžiště břemena.
Ramena vázacího prostředku musí být rozmístěna rovnoměrně vzhledem k přítomným úchytným bodům.
Vrcholový úhel tvořený jedním ramenem se svislou osou má dopad na břemeno, které bude na toto rameno působit; pro zajištění správného vyvážení břemena by měla mít všechna ramena stejný úhel sklonu.
Jestliže se během zvedání břemeno naklání, znamená to, že zatížení ramen vázacího prostředku není rovnoměrné. Tento efekt je silnější především v případě velmi malých úhlů mezi rameny.
V případě tuhých břemen, s použitím vázacího prostředku s třemi nebo více rameny, je nutné zhodnotit, kolik ramen bude skutečně nést břemeno,
protože může dojít k tomu, že pouze dvě nebo tři ramena budou nést téměř celé břemeno, zatímco ostatní budou fungovat jako "vyvažovací síla". V tomto případě je nutné použít zdvihací zařízení s vyšší kapacitou.
Goolo
V tomto kontextu se poimem stabilita rozumí "odolnost proti převrácení". Předmět s úzkou základnou a vysokým těžištěm si vyžaduje menší sílu k překlopení než předmět s širokou základnou a nízkým těžištěm. Vzhledem k tomu, že se výška těžiště zvyšuje v závislosti na šířce základny, v určitém bodě předmět spadne, není-li podepírán externími prostředky. V tomto případě se předmět považuje za nestabilní a čím více je nestabilní, tím větší podporu si vyžaduje. Ke steiné situaci dochází i u zavěšených břemen. Vzhledem k tomu, že na břemeno téměř ijstě budou působit síly, které mohou způsobit jeho převrácení (např. vítř. zrvchlování, brzdění atd.), je nutné zkontrolovat, ve chvíli zajištění břemena popruhy. jestli je dostatečně stabilní a schopné odolat těmto silám.
Břemeno je stabilní, jestliže je zdvihací zařízení upevněné NAD jeho těžištěm a správně umístěné.
Správné upevnění mezi popruhy a břemenem je velmi důležité. Říďte se níže uvedenými pokyny:
     
   
     
   
Háky jsou navržené pro nesení břemen v krčku A. Uživatelé se musí ujistit, že hák popruhů se bez problémů zasune do místa určeného ke zvedání tak, aby byla hmotnost břemene nesená krčkem.
Klínování nebo zatěžování bezpečnostního jazýčku háku B v místech pro zvedání způsobuje namáhání s možností následující deformace nebo poškození háku.
     
   
Ovládání GTH-2506 a GTH-3007
     
   
Před aktivací navijáku se ujistěte, že v pracovním prostoru nejsou žádné překážky.
Pro zvedání nebo spouštění lana navijáku:
     
   
     
   
Ovládání GTH-4013SX a GTH-4017SX
     
   
Před aktivací navijáku se ujistěte, že v pracovním prostoru nejsou žádné překážky.
Pro zvedání nebo spouštění lana navijáku:
     
   
     
   
Ovládání GTH-4013EX a GTH-4017EX
     
   
Před aktivací navijáku se ujistěte, že v pracovním prostoru nejsou žádné překážky.
Pro zvedání nebo spouštění lana navijáku:
     
   
     
   
     
   
Před aktivací navijáku se ujistěte, že v pracovním prostoru nejsou žádné překážky.
Pro zvedání nebo spouštění lana navijáku:
     
   
     
   
     
   
     
   
Hák na desce je navržený pro břemena uvedená. Maximální nosnost háku odpovídá jmenovité nosnosti zdvihacího zařízení, na kterém je použitý, a je uvedená v tabulkách zatížení dodaných společně s tímto pracovním adaptérem.
     
   
     
   
Po odpojení rychlospojek přídavného zařízení od ramene je připojte ke spojkám na přídavném zařízení, aby se do obvodu nedostala žádná nečistota. Jestliže tyto spojky nepoužíváte, chraňte je pomocí dodaných uzávěrů.
     
   
     
   
Po odpojení rychlospojek přídavného zařízení od ramene je připojte ke spojkám na přídavném zařízení, aby se do obvodu nedostala žádná nečistota. Jestliže tyto spojky nepoužíváte, chraňte je pomocí dodaných uzávěrů.
Po uchycení břemena postupujte podle níže uvedených pokynů:
     
   
     
   
V případě snížené viditelnosti použijte alternativní/doplňkové prostředky. Pro řízení obsluhy zdvihacího prostředku a řízení provozu ostatních dopravních prostředků využijte pomoci pracovníků na zemi.
Před zvedáním břemena si zvolte prostor, kam ho uložíte. Příprava tohoto prostoru závisí na typu břemena; obecně by se měla břemena pokládat na dřevěné desky. Ujistěte se, že popruhy mohou být snadno sejmutelné. Nikdy nepokládejte břemeno přímo na řetězový vázací prostředek.
     
   
Umístěte přídavné zařízení na suchý a vyrovnaný povrch.
Pro odpoiení přídavného zařízení:
     
   
Jestliže je přídavné zařízení v klidu, zkontrolujte lano. Lano musí být napnuté, správně navinuté na bubnu a nezamotané, aby nemohlo dojít jeho porušení nebo roztržení.
     
   
Přídavným zařízením je možné pohybovat pomocí zdvihacího zařízení, na kterém je namontované, anebo pomocí zařízení s vidlicemi příslušné nosnosti.
     
   
Umístěte přídavné zařízení na suchý a vyrovnaný povrch.
Pro odpojení přídavného zařízení:
Jestliže je přídavné zařízení v klidu, zkontrolujte lano. Lano musí být napnuté, správně navinuté na bubnu a nezamotané, aby nemohlo dojít jeho porušení nebo roztržení.
     
   
Přídavným zařízením je možné pohybovat pomocí zdvihacího zařízení, na kterém je namontované, anebo pomocí zařízení s vidlicemi příslušné nosnosti.
     
   
Pro manipulaci s přídavným zařízením použijte prostředky s odpovídající kapacitou. Charakteristické údaje naleznete ve specifické kapitole tohoto návodu a na identifikačním štítku.
Postupujte podle následujících pokynů podle typu přídavného zařízení, se kterým se má manipulovat:
ŽEBŘÍKOVÁ NÁSTAVBA 900 kg, vsuňte vidlice do čtyř příslušných kapes 1
     
   
ŽEBŘÍKOVÁ NÁSTAVBA 2000 kg, vsuňte vidlice do dva příslušných kapes 2.
     
   
NAVIJÁK, vsuňte vidlice do příslušných kapes 3.
     
   
HÁK, obtočte dva popruhy kolem otvorů na rámu, jak je to zobrazeno na níže uvedeném obrázku.
     
   
Na konci každého pracovního dne, každé směny a během nočního odstavení zaparkujte strojní zařízení
tak, aby nepředstavovalo žádné nebezpečí. Přijměte veškerá bezpečnostní opatření, abyste se vyhnuli všem rizikům, které hrozí osobám, které se přiblíží ke strojnímu zařízení, je-li mimo provoz:
Jestliže potřebujete strojní zařízení a/nebo přídavné zařízení zaparkovat na delší dobu, kromě dodržování nařízení pro krátkodobé odstavení doporučujeme:
Pečlivě umýt strojní zařízení. Pro dokonalé provedení této operace doporučujeme odmontovat ochranné kryty a mřížky.
     
   
Nepoužívat jako čistící prostředky benzín, rozpouštědla nebo jiné hořlavé kapaliny; použijte schválená komerční rozpouštědla, která nejsou hořlavá a toxická. V případě použití stlačeného vzduchu noste ochranné brýle a masku pro ochranu dýchacích cost. V případě použití
ochranu dýchacích cest. V případě použití proudící vody nesměřujte proud na elektrické části.
     
   
Nezapomeňte, že i během dlouhodobého odstavení strojního zařízení je nutné provádět pravidelnou údržbu a dbát zvláštní ohled na kapaliny a všechny prvky podléhající stárnutí. V každém případě před opětovném zprovozněním
strojního zařízení a/nebo přídavného zařízení proveďte mimořádnou údržbu a řádně zkontrolujte všechny mechanické, hydraulické a elektrické části.
     
   
Po ukončení životnosti strojního zařízení a/nebo přídavného zařízení doporučujeme neodhazovat jeho části do okolního prostředí, ale obrátit se na specializované firmy, které jsou schopné zajistit
tyto operace v souladu s platnými právními předpisy.
Likvidace baterií
     
   
Je zakázáno vyhazovat vybité olovnaté baterie do normálních pevných průmyslových odpadů, ale je nutné baterie, vzhledem k obsahu škodlivých materiálu, sesbírat, zlikvidovat a/nebo recyklovat
v souladu se zákony členských států. Vybitou baterii je nutné uložit na suchém a izolovaném místě. Dále se ujistěte, že je baterie suchá a žejsou zátky jednotlivých elementů řádně zavřené. Umístěte na baterii výstražnou ceduli značící, že je zakázáno baterii používat. Jestliže necháte baterii, před její likvidací, venku, bude ji nutné vysušit, nanést na krabici a elementy malou
vrstvu maziva a poté zavřít zátky jednotlivých elementů. Nepokládejte baterii přímo na zem; je vhodnější baterii umístit na dřevěné rámy anebo na paletu a případně ji zakrýt. Likvidaci baterie je nutné provést co nejrychleji je to možné.
Obsluha může provést pouze zásahy běžné údržby uvedené v tomto návodu.
     
   
Zásahy naplánované údržby mohou provádět pouze kvalifikovaní technici, v souladu s technickými specifikacemi výrobce.
Následující symbol značí časový interval pro provádění údržby, vyjádřený v provozních hodinách.
     
   
Pečlivá a pravidelná údržba zajišťuje bezpečnost a spolehlivost strojního zařízení.
Z tohoto důvodu doporučujeme, po práci strojního zařízení ve zvláštních podmínkách (bahnité nebo prašné prostředí, náročné práce atd.), stroj umýt, namazat a provést řádnou údržbu.
Vždy zkontrolujte, jsou-li všechny části v dobrém stavu, nedochází-li k únikům oleje a jsou-li všechna ochranná a bezpečnostní zařízení funkční; v opačném případě zjistěte příčiny problémů a problémy odstraňte.
Nedodržení předpisů týkajících se běžné údržby, které jsou obsažené v tomto návodu, s sebou nese automatickou ztrátu záruky poskytované společností TEREXLIFT.
Je zakázáno provádět na stroji a jeho přídavném zařízení zásahy jakéhokoliv typu, s výjimkou zásahů běžné údržby. Jakékoliv úpravy či změny provedené na stroji a/nebo přídavném zařízení osobou jinou než jsou pracovníci společnosti TEREXLIFT a/nebo autorizovaných servisních středisek s sebou automaticky nese ztrátu shody strojního zařízení se směrnicí 2006/42/ES.
Dlouhodobý kontakt olejů s pokožkou může způsobit podráždění. Z tohoto důvodu doporučujeme používat ochranné gumové rukavice a ochranné brýle. Pro práci s oleji doporučujeme umýt si pečlivě ruce vodou a mýdlem.
Vždy skladujte maziva v zavřeném prostoru, daleko od dosahu dětí. Nikdy neskladujte maziva v otevřeném prostoru anebo bez štítku s označením obsahu maziva.
Nový či použitý olej, který se dostane do prostředí, má velmi znečišťující účinky!
Pečlivě uschovávejte nový olej a použitý olej uschovávejte v příslušných nádobách, které umožňují jeho následující odstranění ve specifických sběrných střediscích.
V případě náhodného úniku oleje použijte písek nebo štěrk schváleného typu, abyste zabránili jeho absorpci. Seškrabte takto vytvořenou směs a zajistěte její odstranění jako chemický odpad.
Pokožka: V případě přílišného a dlouhodobého kontaktu s pokožkou umyjte poškozené místo vodou a mýdlem.
V případě požáru použijte hasící přístroje CO2, práškové nebo pěnové hasící přístroje. Nepoužívejte vodu.
Chybná nebo vůbec neprovedená údržba může způsobit, že se strojní zařízení a přídavné zařízení stanou pro obsluhu a osoby nacházející se kolem nich nebezpečnými. Zajistěte, aby docházelo k pravidelnému provádění údržby a mazání v souladu s pokyny výrobce, díky čemuž strojní zařízení a přídavné zařízení zůstanou zcela funkční a bezpečná. Údržbářské zásahy se provádí v závislosti na pracovních hodinách strojního zařízení a přídavného zařízení. Zkontrolujte a zajistěte funkčnost počítadla provozních hodin, abyste mohli správně stanovit časové intervaly údržby. Ujistěte se, že všechny vady a poruchy zjištěné během provádění údržby budou včasně odstraněny před následujícím použitím strojního zařízení.
1. Proveďte celkové namazání pohybujících se částí.
     
   
Při provádění všech údržbářských zásahů musí být motor vypnutý, parkovací brzda zabrzděná a pracovní adaptéry se musí zcela opírat o zem a řadící páka musí být vyřazená na neutrál.
     
   
Jsou přísně zakázány zásahy na hydraulickém rozvodu provedené neautorizovanými pracovníky.
Hydraulický rozvod tohoto zařízení je vybavený akumulátory tlaku, které představují vážná rizika poranění osob, jestliže nedojde k jejich vypuštění před provedením zásahů na hydraulickém rozvodu.
Pro vypuštění tlaku z těchto akumulátorů stačí sešlápnout, je-li stroj v klidu, 8-10x pedál brzdy.
     
   
Před provedením jakýchkoliv zásahů na hydraulických komponentech nebo potrubích se ujistěte, že v zařízení není žádný zbylý tlak. Pro provedení této kontroly nejdříve vypněte motor, zabrzděte parkovací brzdu a pomocí ovládacích pák rozdělovačů (ve směru opačném vzhledem ke směru práce) vypusťte z hydraulického okruhu tlak.
     
   
Vysokotlaká potrubí mohou vyměnit pouze kvalifikovaní odborní pracovníci. Jakékoliv nečistotv. které se dostanou do
zavřeného okruhu, způsobí poškození převodu.
     
   
Kvalifikovaní pracovníci, kteří provedou zásahy na hydraulickém okruhu, musí maximálně dbát na čistotu okolních prostorů před provedením zásahů.
     
   
Manipulace a likvidace použitých olejů může být upravena regionálními a národními právními předpisy či nařízeními. Pro jejich likvidaci se obraťte na autorizovaná střediska.
     
   
Před provedením jakéhokoliv údržbářského zásahu či opravy a především před svařováním na stroji je nutné vypnout hlavní vypínač baterie umístěný uvnitř motorového prostoru.
     
   
Používání opotřebených a/nebo poškozených lan je velmi nebezpečné. Poškozené lano je nutné okamžitě vyměnit. TEREXLIFT odmítá veškerou odpovědnost za škody na osobách a věcech způsobené nedodržováním tohoto pravidla.
Každý den proveďte vizuální kontrolu pro zjištění všech případných anomálií. Lano je v každém případě nutné vyměnit, jestliže vykazuje stopy poškození:
| Model | Ø lana | Délka | 
|---|---|---|
| Žebříková nástavba 4000mm / 900kg | 8 mm | 37 m | 
| Naviják 3000 kg | 12 mm | 70 m | 
     
   
Při každém použití zdvihacího háku zkontrolujte stav bezpečnostního jazýčku A .
     
   
     
   
Při spuštění strojního zařízení tento systém provede automatickou kontrolu funkčnosti. V případě zjištění poruchy se rozsvítí červená kontrolka LED a rozezní se bzučák. Zdvihací zařízení přejde do pohotovostního stavu a dojde k zablokování všech pohybů.
Pro provedení manuální kontroly kontrolního systému:
Toto zařízení přeruší pohyb břemena, zastaví motor a zablokuje potrubí v případě prasknutí. Pro kontrolu jeho funkčnosti:
■ Kontrola BRZDY NAVIJÁKU (při každém použití) Toto zařízení zablokuje buben v případě přítomnosti zavěšených břemen.
Pro kontrolu jeho funkčnosti:
Tato zařízení udržují pohyb břemena v předem definovaném rozmezí.
Pro kontrolu jeho funkčnosti:
Toto zařízení znemožňuje zvedání břemen s hmotností vyšší než je maximální nosnost navijáku. Pro kontrolu jeho funkčnosti:
Pro zápis výsledků každodenní kontroly těchto zařízení odkazujeme na část "Tabulka kontroly bezpečnostních zařízení".
     
   
MAZÁNÍ
     
   
Před nastříkáním mazacího oleje do maznic je řádně vyčistěte, aby v nich nezůstal žádný kal, prach či jiná cizí tělesa, která by se mohla smíchat s mazivem, což by mohlo snížit či vůbec vynulovat potřebný mazací efekt.
Pře nanesením nového maziva na teleskopická ramena je řádně vyčistěte a odstraňte z nich zbytky maziva za použití odmašťovacích přípravků.
Pravidelně mažte přídavné zařízení pro zajištění jeho funkčnosti a prodloužení jeho životnosti. Vstřikujte mazivo pomocí příslušných maznic, za použití pumpičky. Jakmile začne ze štěrbin vytékat čerstvé mazivo, mazání přerušte.
Pro mazání lana si vyžádejte asistenci dalšího pracovníka, připraveného k provedení nouzového zastavení v případě nebezpečné situace, a nanášejte mazací tuk pomocí štětce, zatímco se lano odvíjí při minimální přípustné rychlosti.
Na následujících obrázcích jsou vyznačená místa pro mazání, kde:
     
   
značka představuje všechny body, které je nutné namazat pomocí štětce.
| ÚDRŽBY | |
|---|---|
| Zaběhnutí | Ne | 
| Běžná údržba | _Každých 10 hodin | 
     
   
Tato kapitola představuje pro obsluhu pomocníka při opravě těch nejbanálnějších poruch a také jasně uvádí, jaké zásahy mohou být provedeny pouze specializovanými techniky.
V případě pochybností neprovádějte na stroji žádné zásahy, ale vždy se obraťte na specializovaného technika.
     
   
Přídavná zařízení popsaná v tomto návodu jsou pracovní adaptéry upnuté ke zdvihacímu zařízení, a proto na ně mohou mít dopad poruchy zdvihacího zařízení. Pro poruchy nevyjmenované v této kapitole odkazujeme na návod pro obsluhu zdvihacího zařízení.
| PROBLÉMY | PŘÍČINY | ŘEŠENÍ | 
|---|---|---|
| ALARM SYSTÉMU ZABRAŇUJÍCÍHO PŘEVRÁCENÍ | 
 | 
 | 
| HLUČNOST HYDRAULICKÉHO OBVODU | Přítomnost vzduchu v obvodu | Vyčistěte obvod. | 
| HLUČNOST BĚHEM ZVEDÁNÍ DOPROVEZENÁ NEPRAVIDELNOU ROTACÍ | 
 | 
 | 
| S ROZVADĚČEM VE STŘEDU MÁ BŘEMENO TENDENCI KLESAT | 
 | Vyměňte pružiny. | 
| PŘÍDAVNÉ ZAŘÍZENÍ NENÍ SCHOPNO ZVEDNOUT BŘEMENO | 
 | 
 | 
Jestliže narazíte na problémy nebo poruchy, které nejsou uvedené v této kapitole, obraťte se na oddělení technické podpory anebo na nejbližší autorizovanou opravnu či prodejce: TEREXLIFT.
     
   
Úmyslně prázdná stránka
     
   
     
   
     
   
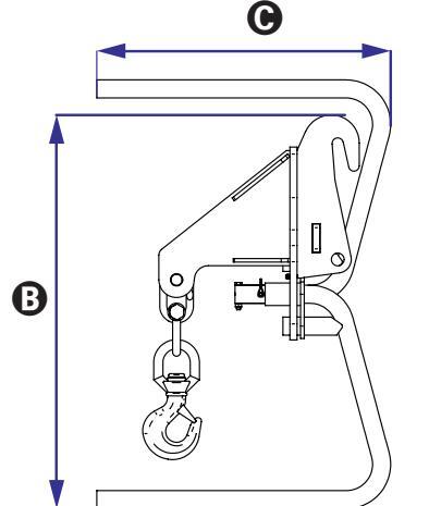
| TECHNICKÉ ÚDAJE | ||||||
|---|---|---|---|---|---|---|
| Šířka | 1335 mm | |||||
| ₿ | Výška (klidová poloha) | 1110 mm | ||||
| Θ | Délka | 830 mm | ||||
| D | Výška (pracovní poloha) | 910 mm | ||||
| Hmotnost | 120 kg | |||||
| Nosnost | 2500 kg | |||||
| Těžiště | 150 mm | |||||
     
   
     
   
| TECHNICKÉ ÚDAJE | ||||
|---|---|---|---|---|
| A | Šířka | 1335 mm | ||
| ₿ | Výška (klidová poloha) | 1110 mm | ||
| Θ | Délka | 830 mm | ||
| D | Výška (pracovní poloha) | 1070 mm | ||
| Hmotnost | 160 kg | |||
| Nosnost | 5000 kg | |||
| Těžiště | 180 mm | |||
     
   
     
   
     
   
     
   
| TECHNICKÉ ÚDAJE | ||||
|---|---|---|---|---|
| Šířka | 1190 mm | |||
| ₿ | Výška (klidová poloha) | 1220 mm | ||
| Θ | Délka | 4485 mm | ||
| D | Výška (pracovní poloha) | 1610 mm | ||
| Hmotnost | 320 kg | |||
| Nosnost | 900 kg | |||
| Těžiště | 1400 mm | |||
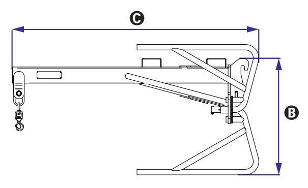
| TECHNICKÉ ÚDAJE | ||||||
|---|---|---|---|---|---|---|
| Šířka | 1190 mm | |||||
| ₿ | Výška (klidová poloha) | 1220 mm | ||||
| 0 | Délka | 4450 mm | ||||
| D | Výška (pracovní poloha) | 980 mm | ||||
| Hmotnost | 245 kg | |||||
| Nosnost | 900 kg | |||||
| Těžiště | 1340 mm | |||||
     
   
     
   
| TECHNICKÉ ÚDAJE | ||||
|---|---|---|---|---|
| Šířka | 1335 mm | |||
| ₿ | Výška (klidová poloha) | 1080 mm | ||
| Θ | Délka | 2290 mm | ||
| D | Výška (pracovní poloha) | 800 mm | ||
| Hmotnost | 255 kg | |||
| Nosnost | 2000 kg | |||
| Těžiště | 490 mm | |||
     
   
     
   
     
   
Úmyslně prázdná stránka
     
   
     
   
■ PEVNÝ HÁK NA DESCE PRO GTH-3007
     
   
     
   
■ PEVNÝ HÁK NA DESCE PRO GTH-4017SX a GTH-4017EX
     
   
     
   
     
   
Kód 57.0303.5168
■ PEVNÝ HÁK NA DESCE PRO GTH-4018 SR
     
   
Genîe ____
     
   
67
HYDRAULICKÁ a MECHANICKÁ ŽEBŘÍKOVÁ NÁSTAVBA 4000 mm/900 kg PRO GTH-4013SX a GTH-4013EX
     
   
     
   
1401/ JA 1
HYDRAULICKÁ a MECHANICKÁ ŽEBŘÍKOVÁ NÁSTAVBA 4000 mm/900 kg PRO GTH-4017SX a GTH-4017EX
■ HYDRAULICKÁ a MECHANICKÁ ŽEBŘÍKOVÁ NÁSTAVBA 4000 mm/900 kg PRO GTH-4016 SR
     
   
HÁK - ŽEBŘÍKOVÁ NÁSTAVBA - NAVIJÁK
■ HYDRAULICKÁ a MECHANICKÁ ŽEBŘÍKOVÁ NÁSTAVBA 4000 mm/900 kg PRO GTH-4018 SR
     
   
■ ŽEBŘÍKOVÁ NÁSTAVBA 2000 mm/2000 kg PRO GTH-2506
     
   
     
   
■ ŽEBŘÍKOVÁ NÁSTAVBA 2000 mm/2000 kg PRO GTH-4013 SX a GTH-4013 EX
     
   
     
   
■ ŽEBŘÍKOVÁ NÁSTAVBA 2000 mm/2000 kg PRO GTH-4017 SX a GTH-4017 EX
     
   
     
   
■ ŽEBŘÍKOVÁ NÁSTAVBA 2000 mm/2000 kg PRO GTH-4016 SR
     
   
HÁK - ŽEBŘÍKOVÁ NÁSTAVBA - NAVIJÁK
     
   
NAVIJÁK 3000 kg PRO GTH-4013 SX a GTH-4013 EX
     
   
     
   
     
   
NAVIJÁK 3000 kg PRO GTH-4016 SR
     
   
_____ Genîe. _____ HÁK - ŽEBŘÍKOVÁ NÁSTAVBA - NAVIJÁK
■ NAVIJÁK 3000 kg PRO GTH-4018 SR
     
   
     
   
Úmyslně prázdná stránka
     
   
(Rev.0, Kód: 57.2500.0001)
     
   
(Rev.0, Kód: 57.2500.0000)
     
   
| Síla větru | Popis větru | Rychlost větru | Na souši | |
|---|---|---|---|---|
| m/s | Na souši | < 0,3 | Bezvětří. Kouř stoupá svisle vzhůru. | |
| 1 | Vánek | 0,3 - 1,5 | Kouř už nestoupá úplně svisle. | |
| 2 | Slabý vítr | 1,6 - 3,4 | Vítr je cítit ve tváři. Listí šelestí. | |
| 3 | Mírný vítr | 3,5 - 5,4 | Listy stromů a větvičky v trvalém pohybu. | |
| 4 | Dosti čerstvý vítr | 5,5 - 7,9 | Vítr zvedá prach a papíry. Pohybuje větvičkami. | |
| 5 | Čerstvý vítr | 8,0 - 10,7 | Hýbe listnatými keři. Malé stromky se ohýbají. | |
| 6 | Silný vítr | 10,8 - 13,8 | Pohybuje silnějšími větvemi. Telegrafní dráty sviští. Používání deštníků je nesnadné. Převrací plastové nádoby na odpad. | |
| 7 | Prudký vítr | 13,9 - 17,1 | Pohybuje celými stromy. Chůze proti větru obtížná. Kývají se mrakodrapy, především vyšší patra. | |
| 8 | Bouřlivý vítr | 17,2 - 20,7 | Láme menší větve. Automobilová vozidla nejsou schopna udržet dráhu. Chůze proti větru je normálně nemožná. | |
| 9 | Vichřice | 20,8 - 24,4 | Láme větve a vytrhává keře. Odnáší provizorní značky a bariéry. Škody na cirkusových plachtách a střešních krytinách. | |
| 10 | Silná vichřice | 24,5 - 28,4 | Polámané nebo vytržené stromy. Ohnuté nebo deformované stromečky. Vítr strhává ze střech nesprávně upevněné nebo poškozené asfaltové krytiny. | |
| 11 | Mohutná vichřice | 28,5 - 32,6 | Vítr působí rozsáhlá pustošení vegetace. Poškozené střechy. Zcela nadzvedává staré popraskané a/nebo poškozené asfaltové silnice. | |
| 12 | Orkán | 32,7 > | Ničivé pustošení vegetace. Rozbíjí okna. Škody na mobilních domech a obilnicích ve špatném stavu. Zbytky odnášené do velké vzdálenosti. | |
     
   
Úmyslně prázdná stránka
     
   
| Materiál | Hmotnost v kg na m 3 | |
|---|---|---|
| Hliník | 2700 | |
| Mosaz | 8500 | |
| Cihly | 2100 | |
| Uhlí | 1450 | |
| Měď | 8800 | |
| Cement | 2400 | |
| Nelegovaná ocel | 7700 | |
| Olovo | 11200 | |
| Olej | 800 | |
| Papír | 1120 | |
| Voda | 1000 | |
| Dřevo | 800 | |
OBJEM NEJPOUŽÍVANĚJŠÍCH TVARŮ
| L | Jehlan ¼ x L x I x H | |
|---|---|---|
| Plný válec πr² x L | ||
| L | Tlustostěnná trubka π(r1² - r2²) x L | |
| H | Pevný obdélník L x I x H | |
| R | Koule 4π x R³ | |
     
   
Úmyslně prázdná stránka
     
   
Výrobce a osoba pověřená sestavením technické dokumentace: TEREXLIFT s.r.I. Zona Industriale Buzzacchero 06019 Umbertide (PG) Itálie Tímto prohlašuje, že níže popsané strojní zařízení Název: Mobilní zdvižná pracovní plošina Funkce: zvedání osob a věcí Model XXXXX Výrobní číslo XXXXX Je v souladu s příslušnými ustanoveními směrnice pro strojní zařízení 2006/42/ES příloha IV Získal certifikát CE typu XXXXXXXXX vydaný níže uvedeným notifikovaným orgánem XXXXX Odpovídá ustanovením následujících harmonizovaných norem: EN 280/A2:2009
PŘÍKLAD
     
   
     
   
Úmyslně prázdná stránka
     
   
DATUM
| KOMPONENT | VÝSLEDEK | POZNÁMKY | PODPIS | 
|---|---|---|---|
| Řídící jednotka LMI zdvihacího zařízení | □ kladný □ záporný | ||
| Blokovací ventil s hydraulickým pohonem navijáku | kladný | ||
| Brzda bubnu navijáku | kladný | ||
| Koncový vypínač navijáku | □ kladný □ záporný | ||
| Omezovač zvedání navijáku | ☐ kladný ☐ záporný | ||
| Bezpečnostní jazýček háku | □ kladný □ záporný | 




























































































 Loading...
 Loading...