
GaAlAs HIGH POWER T-1 3/4 PACKAGE
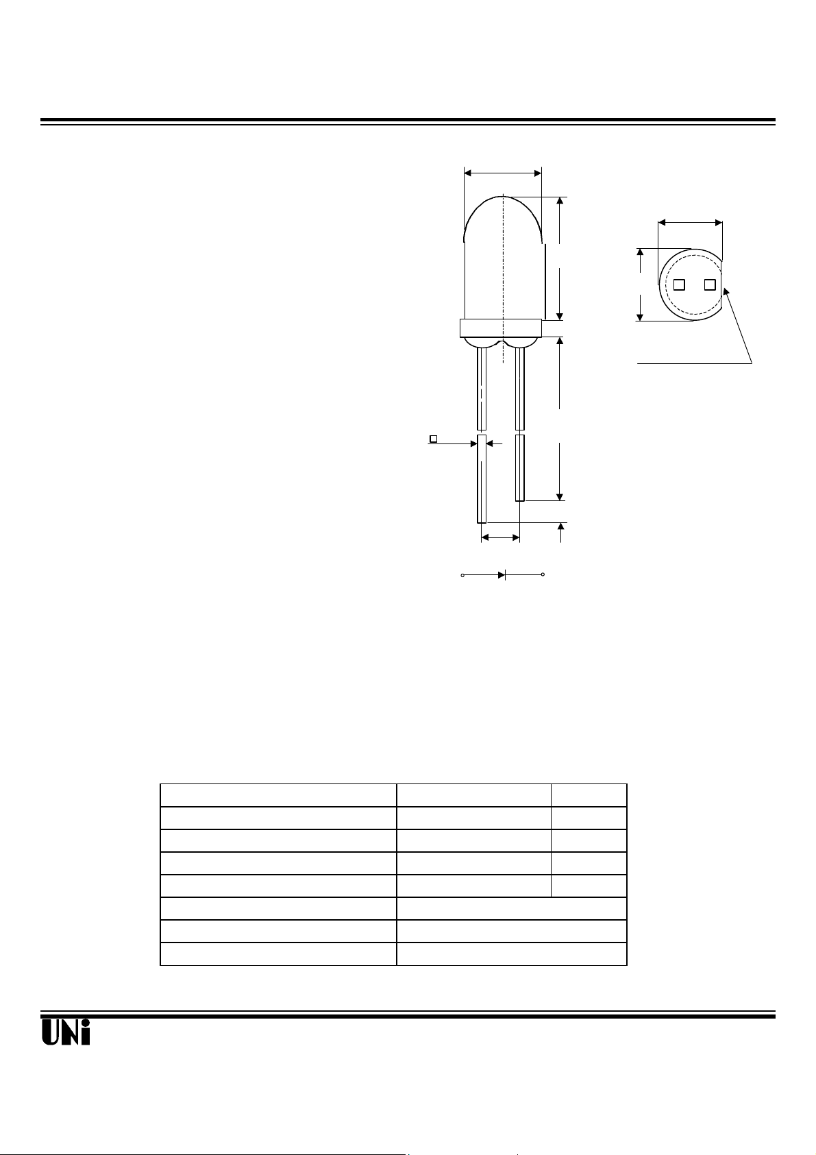
Description Package Dimensions
φ5.05
The MIE-544L3 is an infrared emitting diode in GaAlAs
(.200)
Unit : mm (inches )
on GaAlAs technology molded in water clear plastic package.
Features
l High radiant power and high radiant intesity
l Suitable for DC and high pulse current operation
l Standard T-1 3/4 (φ 5mm) package
l Peak wavelength λ
l Good spectral matching to Si-Photodetecto
=880 nm
0.50 TYP.
(.020)
2.54
(.100)
7.62
(.300)
1.00
(.040)
23.40 MIN.
(.920)
1.00MIN
(.040)
C
5.47
(.215)
5.90
l Radiant angle : 40°
Absolute Maximum Ratings
Parameter Maximum Rating Unit
Power Dissipation 120 mW
Peak Forward Current(300pps,10µ
Continuos Forward Current 100 mA
Reverse Voltage 5 V
Operating Temperature Range
Storage Temperature Range
Lead Soldering Temperature
Notes :
1. Tolerance is ± 0.25 mm (.010") unless otherwise noted.
2. Protruded resin under flange is 1.5 mm (.059") max.
3. Lead spacing is measured where the leads emerge from the package.
'@ TA=25oC
1 A
o
C to +100oC
o
C to +100oC
o
C for 5 seconds
Unity Opto Technology Co., Ltd.
11/17/2000

Optical-Electrical Characteristics
Relative Radiant Intensity
Parameter Test Conditions Symbol Min. Typ . Max. Unit
Radiant Intensity IF=20mA
Forward Voltage IF=50mA
Reverse Current VR=5V
Peak Wavelength IF=20mA
Spectral Bandwidth IF=20mA
View Angle IF=20mA
2 θ
Typical Optical-Electrical Characteristic Curves
1
0.5
0
780 880 980
FIG.1 SPECTRAL DISTRIBUTION
Wavelength (nm)
Ie 1.8
V
I
λ
∆λ
F
R
1/2
100
90
80
70
60
50
Forward Current I F (mA)
0
-55 -25 0 25 50 75 100 125
FIG.2 FORWARD CURRENT VS.
1.4 1.7
880
80
40
Ambient Temperature TA (oC)
@ TA=25oC
100
mW/sr
V
µA
nm
nm
deg .
100
80
60
40
20
Forward Current (mA)
0
0 1.2 1.6 2.0 2.4 2.8
Forward Voltage (V)
FIG.3 FORWARD CURRENT VS.
FORWARD VOLTAGE
5
4
=20mA
3
F
2
1
Value at I
Output Power Relative To
0
0 20 40 60 80 100
Forward Current (mA)
FIG.5 RELATIVE RADIANT INTENSITY
VS. FORWARD CURRENT
3
2.5
2
1.5
1
0.5
0
-40 -20 0 20 40 60
Output Power To Value IF=20mA
Ambient Temperature TA (oC)
FIG.4 RELATIVE RADIANT INTENSITY
1.0
0.9
0.8
Relative Radiant Intensity
0.5 0.3 0.1 0.2 0.4 0.6
FIG.6 RADIATION DIAGRAM
30°
40°
50°
70°
80°
90°
Unity Opto Technology Co., Ltd.
11/17/2000