
1/7June 2003
■ HIGH SPEED: t
PD
= 4.8ns (TYP.) at VCC=5V
■ LOW POWER DISSIPATION:
I
CC
=1µA(MAX.) atTA=25°C
■ HIGH NOISE IMMUNITY:
V
NIH=VNIL
= 28% VCC(MIN.)
■ POWER DOWN PROTECTION ON INPUTS
■ SYMMETRICAL OUTPUT IMPEDANCE:
|I
OH
|=IOL=8mA(MIN)atVCC=4.5V
■ BALANCED PROPAGATION DELAYS:
t
PLH
≅ t
PHL
■ OPERATING VOLTAGE RANG E:
V
CC
(OPR) = 2V to 5.5V
■ IMPROVED LATCH-UP IMMUNITY
DESCRIPTION
The 74V2G86 is an advanced high-speed CMOS
DUAL 2-INPUT EXCLUSIVE OR GATE fabricated
with sub-micron silicon gate and double-layer
metal wiring C
2
MOS technology.
Power down protection is provided on all inputs
and 0 to 7V can be ac c ept ed on inputs with no
regard to the supply voltage. This device can be
usedto interface 5V to 3V.
74V2G86
DUAL 2-INPUT EXCLUSIVE OR GATE
PIN CONNECTION AND IEC LOGIC SYMBOLS
ORDER CODES
PACKAGE T & R
SOT23-8L 74V2G86STR
SOT23-8L

74V2G86
2/7
INPUT EQUIVALENT CIRCUIT PIN DESCRIPTION
TRUTH TABLE
ABSOLUTE MAXIMUM RATINGS
Absolute Maximum Ratings are those values beyond which damage to the device may occur. Functional operation under these conditions is
not implied.
RECOMMENDED OPERATING CONDITIONS
1) VINfrom30% to 70% of V
CC
PIN No SYMBOL NAME AND FUNCTION
1, 5 1A, 2A Data Input
2, 6 1B, 2B Data Input
7, 3 1Y, 2Y Data Output
4 GND Ground (0V)
8
V
CC
Positive Supply Voltage
ABY
LLL
LHH
HLH
HHL
Symbol Parameter Value Unit
V
CC
Supply Voltage
-0.5 to +7.0 V
V
I
DC Input Voltage
-0.5 to +7.0 V
V
O
DC Output Voltage -0.5 to VCC+ 0.5
V
I
IK
DC Input Diode Current
-20 mA
I
OK
DC Output Diode Current
± 20 mA
I
O
DC Output Current
± 25 mA
I
CC
or I
GND
DC VCCor Ground Current
± 50 mA
T
stg
Storage Temperature
-65 to +150 °C
T
L
Lead Temperature (10 sec)
260 °C
Symbol Parameter Value Unit
V
CC
Supply Voltage
2 to 5.5 V
V
I
Input Voltage
0 to 5.5 V
V
O
Output Voltage 0 to V
CC
V
T
op
Operating Temperature
-55 to 125 °C
dt/dv
Input Rise and Fall Time (note 1) (V
CC
=3.3±0.3V)
(V
CC
= 5.0 ± 0.5V)
0 to 100
0to20
ns/V
ns/V

74V2G86
3/7
DC SPECIFICATIONS
AC ELECTRICAL CHARACTERISTICS (Input t
r=tf
=3ns)
(*) Voltage range is3.3V ± 0.3V
(**) Voltage range is 5.0V ± 0.5V
CAPACITIVE CHARACTERISTICS
1) CPDis defined as the value of the IC’s internal equivalent capacitance which is calculated from the operating current consumption without
load. (Refer to Test Circuit). Average operating current can be obtained by the following equation. I
CC(opr)=CPDxVCCxfIN+ICC
Symbol Parameter
Test Condition Value
Unit
V
CC
(V)
T
A
= 25°C
-40 to 85°C -55 to 125°C
Min. Typ. Max. Min. Max. Min. Max.
V
IH
High Level Input
Voltage
2.0 1.5 1.5 1.5
V
3.0to
5.5
0.7V
CC
0.7V
CC
0.7V
CC
V
IL
Low Level Input
Voltage
2.0 0.5 0.5 0.5
V
3.0to
5.5
0.3V
CC
0.3V
CC
0.3V
CC
V
OH
High Level Output
Voltage
2.0
IO=-50 µA
1.9 2.0 1.9 1.9
V
3.0
I
O
=-50 µA
2.9 3.0 2.9 2.9
4.5
I
O
=-50 µA
4.4 4.5 4.4 4.4
3.0
I
O
=-4 mA
2.58 2.48 2.4
4.5
I
O
=-8 mA
3.94 3.8 3.7
V
OL
Low Level Output
Voltage
2.0
IO=50 µA
0.0 0.1 0.1 0.1
V
3.0
I
O
=50 µA
0.0 0.1 0.1 0.1
4.5
I
O
=50 µA
0.0 0.1 0.1 0.1
3.0
I
O
=4 mA
0.36 0.44 0.55
4.5
I
O
=8 mA
0.36 0.44 0.55
I
I
Input Leakage
Current
0to
5.5
V
I
= 5.5V or GND
± 0.1 ± 1 ± 1 µA
I
CC
Quiescent Supply
Current
5.5
V
I=VCC
or GND
11020µA
Symbol Parameter
Test Condition Value
Unit
V
CC
(V)
C
L
(pF)
T
A
= 25°C
-40 to 85°C -55 to 125°C
Min. Typ. Max. Min. Max. Min. Max.
t
PLHtPHL
Propagation Delay
Time
3.3
(*)
15 6.6 9.5 1.0 11.0 1.0 12.5
ns
3.3
(*)
50 7.3 10.5 1.0 12.0 1.0 13.5
5.0
(**)
15 4.8 6.8 1.0 8.0 1.0 9.0
5.0
(**)
50 5.3 7.5 1.0 9.0 1.0 10.0
Symbol Parameter
Test Condition Value
Unit
T
A
= 25°C
-40 to 85°C -55 to 125°C
Min. Typ. Max. Min. Max. Min. Max.
C
IN
Input Capacitance
410 10 10pF
C
PD
Power Dissipation
Capacitance
(note 1)
12 pF

74V2G86
4/7
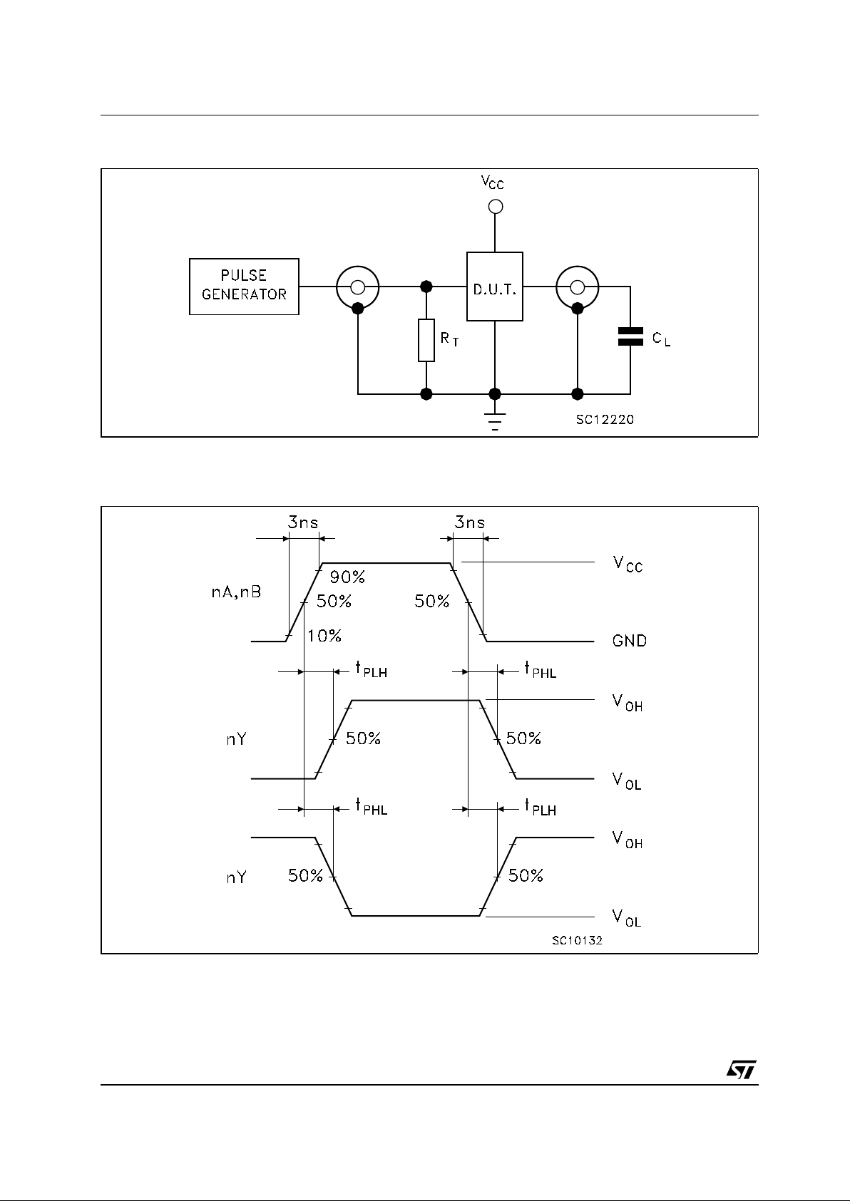
TEST CIRCUIT
CL= 15/50pF or equivalent (includes jig and probe capacitance)
R
T=ZOUT
of pulse generator (typically 50Ω)
WAVEFORM: PROPAGATION DELAY (f=1MHz; 50% duty cycle)

74V2G86
5/7
DIM.
mm. mils
MIN. TYP MAX. MIN. TYP. MAX.
A 0.90 1.45 35.4 57.1
A1 0.00 0.15 0.0 5.9
A2 0.90 1.30 35.4 51.2
b 0.22 0.38 8.6 14.9
C 0.09 0.20 3.5 7.8
D 2.80 3.00 110.2 118.1
E 2.60 3.00 102.3 118.1
E1 1.50 1.75 59.0 68.8
e0.65 25.6
e1 1.95 76.7
L 0.35 0.55 13.7 21.6
SOT23-8L MECHANICAL DATA

74V2G86
6/7
DIM.
mm. inch
MIN. TYP MAX. MIN. TYP. MAX.
A 180 7.086
C 12.8 13.0 13.2 0.504 0.512 0.519
D 20.2 0.795
N 60 2.362
T 14.4 0.567
Ao 3.13 3.23 3.33 0.123 0.127 0.131
Bo 3.07 3.17 3.27 0.120 0.124 0.128
Ko 1.27 1.37 1.47 0.050 0.054 0.0.58
Po 3.9 4.0 4.1 0.153 0.157 0.161
P 3.9 4.0 4.1 0.153 0.157 0.161
Tape & Reel SOT23-xL MECHANICAL DATA

74V2G86
7/7
Information furnished is believed to be accurate and reliable. However, STMicroelectronics assumes no responsibility for the
consequences of use o f suc h inf ormat ion n or f or an y infr ingeme nt of paten ts or oth er ri gh ts of third part ies whic h may resul t f rom
its use. No license is granted by implication or otherwise under any patent or patent rights of STMicroelectronics. Specifications
mentioned in this publication are subject to change without notice. This publication supersedes and replaces all information
previously supplied. STMicroelectronics products are not authorized for use as critical components in life support devices or
systems without express written approval of STMicroelectronics.
© The ST logo is a registered trademark of STMicroelectronics
© 2003 STMicroelectronics - Printed in Italy - All Rights Reserved
STMicroelectronics GROUP OF COMPANIES
Australia - Brazil - Canada - China - Finland - France - Germany - Hong Kong - India - Israel - Italy - Japan - Malaysia - Malta - Morocco
Singapore - Spain - Sweden - Switzerland - United Kingdom - United States.
© http://www.st.com