Page 1

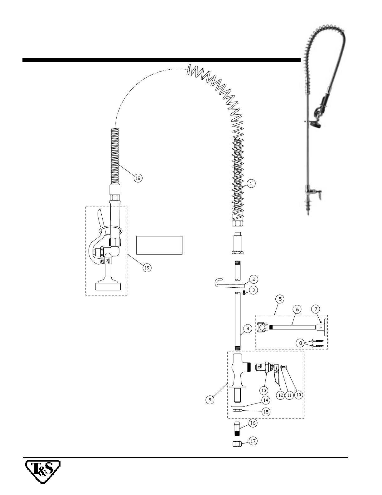
B-2261, B-2261-B
Model B-2261-B includes wall
mount bracket (B-0109-01)
See page 11 for
exploded view
Pre-Rinse Unit
1 Spring, Overhead 000888-45
2 Finger Hook 000021-40
3 Screw, Finger Hook 000916-45
4 Nipple, 3/8" x 18" 000369-40
5 Screw, Handle 000922-45
6 Index, Button, Blue/Cold 001660-45
Index, Button, Red/Hot 001661-45
7 Handle, Lever 001638-45
8 Asm, Spindle Eterna - Cold 002711-40
Asm, Spindle Eterna - Hot 002712-40
9 Asm, Spray Valve B-0107
10 Asm, Bracket, Wall Mount, 6" (B-2261-B) B-0109-01
11 Nipple 000346-40
12 Set Screw 001584-45
13 Screw, Wall Mount 000915-45
T&S Brass and Bronze Works, Inc. • Travelers Rest, South Carolina • 1-800-476-4103
Page 2

B-2271
Service Sink Faucet Assembly
1 Asm, Faucet, Service Sink B-0674-RGH
2 Spout, Out 000270-25
3 Nipple 002534-25
4 Screw, Handle 000922-45
5 Index, Button, Cold 001660-45
Index, Button, Hot 001661-45
6 Handle, Lever, Blank 001638-45
7 Asm, Spindle Eterna - Cold 005959-40
Asm, Spindle Eterna - Hot 005960-40
8 Asm, Couping Flange 002893-45
9 Asm, Supply Nipple Unit B-0425
10 Socket, Quick Connect 001371-45
T&S Brass and Bronze Works, Inc. • Travelers Rest, South Carolina • 1-800-476-4103
Page 3

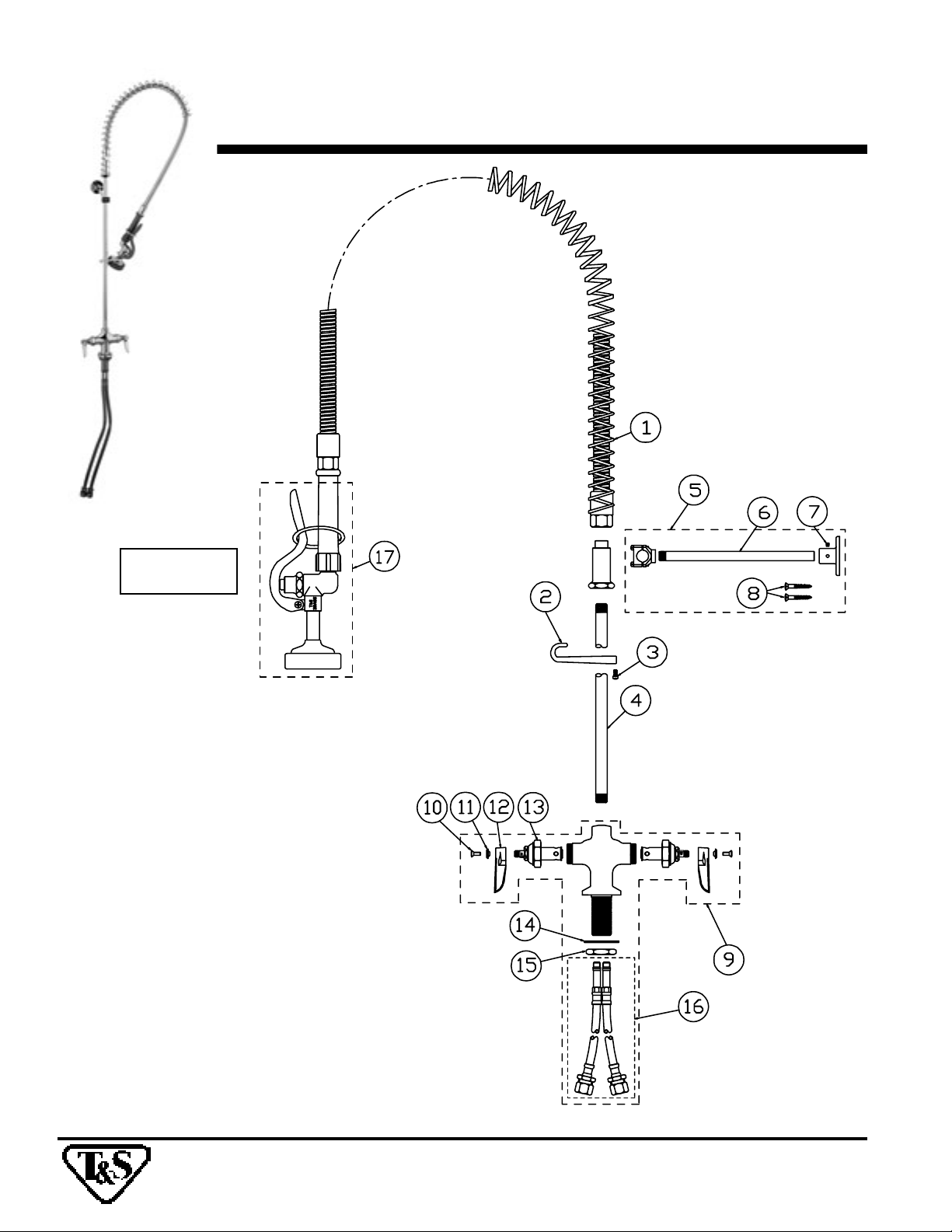
B-2278
Pre-Rinse Unit
*
1Asm, Base Faucet 002832-40
2 Handle, Lever 001638-45
3 Index, Button, Blue/Cold 001660-45
Index, Button, Red/Hot 001661-45
4 Screw, Handle 000922-45
5 Asm, Spindle Eterna - Cold 002711-40
Asm, Spindle Eterna - Hot 002712-40
6 Asm, Coupling Flange 002893-40
7 Asm, Supply Nipple B-0425
8 Locknut 002954-45
9 Nipple 000422-20
10 Asm, Bracket, Wall Mount, 6" B-0109-01
11 Nipple 000346-40
12 Set Screw 001584-45
13 Screw, Wall Mount 000915-45
14 Nipple, 3/8" x 18" 000369-40
15 Screw, Finger Hook 000916-45
16 Finger Hook 000021-40
17 Spring, Overhead 000888-45
18 Asm, Hose, Stainless Steel, 44" B-0044-V9
19 Asm, Spray Valve B-0107
See page 11 for
exploded view
T&S Brass and Bronze Works, Inc. • Travelers Rest, South Carolina • 1-800-476-4103
Page 4

B-2280
Faucet Assembly
1 Asm, Base Faucet B-0220-LN 7 Asm, Swing Nozzle, 12" 062X
2 Screw, Handle 000922-45 8 Washer 009538-45
3 Index, Button, Blue/Cold 001660-45 9 Sleeve 011429-45
Index, Button, Red/Hot 001661-45 10 O-Ring 001074-45
4 Handle, Lever 001638-45 11 Asm, Supply Nipple B-0425
5 Asm, Spindle Eterna - Col 005959-40 12 Nipple, Supply 000422-20
Asm, Spindle Eterna - Hot 005960-40 13 Locknut, Supply 002954-45
6 Asm, Coupling Flange 002893-40
T&S Brass and Bronze Works, Inc. • Travelers Rest, South Carolina • 1-800-476-4103
Page 5

B-2283
Faucet Assembly
1 Asm,Base Faucet B-0225-LN
2 Screw, Handle 000922-45
3 Index, Button, Blue/Cold 001660-45
Index, Button, Red/Hot 001661-45
4 Handle, Lever 001638-45
5 Asm, Spindle Eterna - Cold 005959-40
Asm, Spindle Eterna - Hot 005960-40
6 Asm, Coupling Flange 002893-40
7 Asm, Supply Nipple B-0425
8 Nipple 000422-20
9 Locknut 002954-45
10 Asm, Swing Nozzle, 6" 059X
11 Washer 009538-45
12 Sleeve 011429-45
13 O-Ring 001074-45
T&S Brass and Bronze Works, Inc. • Travelers Rest, South Carolina • 1-800-476-4103
Page 6

B-2285-B
See page 11 for
exploded view
Pre Rinse Unit
1 Spring, Overhead 000888-45
2 Finger Hook 000021-40
3 Screw, Finger Hook 000916-45
4 Nipple, 3/8" x 24" 000372-40
5 Asm, Bracket, Wall Mount, 6" B-0109-01
6 Nipple 000346-40
7 Set Screw 001584-45
8 Screw, Wall Mount 000915-45
9 Asm, Base Faucet B-0305-LN
10 Screw, Handle 000922-45
11 Index, Button, Blue/Cold 001660-45
12 Handle, Lever 001638-45
13 Asm, Spindle Eterna - Hot 005960-40
14 Washer 002290-45
15 Locknut 002954-45
16 Tailpiece 001592-20
17 Nut 000958-20
18 Asm, Hose, Stainless Steel, 44"B-0044-H
19 Asm, Spray Valve B-0107
T&S Brass and Bronze Works, Inc. • Travelers Rest, South Carolina • 1-800-476-4103
Page 7

B-2289
Faucet Assembly
1 Screw, Handle 000922-45
2 Index, Button, Blue/Cold 001660-45
Index, Button, Red/Hot 001661-45
3 Handle, Kitchen 4-Arm 002521-45
4 Asm, Spindle NSF - Cold 009753-25
Asm, Spindle NSF - Hot 009754-25
5 Seat 000763-20
6 Locknut, Cover Plate 000712-25
7 Escutcheon 001259-40
8 Washer 000999-45
9 Locknut 002954-45
10 Knob 000082-40
T&S Brass and Bronze Works, Inc. • Travelers Rest, South Carolina • 1-800-476-4103
Page 8

B-2290
See page 11 for
exploded view
Pre Rinse Unit
1 Spring, Overhead 000888-45
2 Asm, Bracket, Wall Mount, 6" B-0109-01
3 Nipple 000346-40
4 Screw, Wall Mount 000915-45
5 Screw Set, Wall Mount 001584-45
6 Finger Hook 000021-40
7 Screw, Finger Hook 000916-45
8 Nipple, 3/8" x 24" 000372-40
9 Asm, Base Faucet B-0326
10 Screw, Handle 000922-45
11 Index, Button - Blue/Cold 001660-45
Index, Button - Red/Hot 001661-45
12 Handle, Lever 001638-45
13 Asm, Spindle Eterna - Cold 002711-40
Asm, Spindle Eterna - Hot 002712-40
14 Asm, Coupling Flange 002893-40
15 Asm, Supply Unit B-0426
16 Locknut 002954-45
17 Asm, Hose, Stainless Steel, 44"B-0044-H
18 Asm, Spray Valve B-0107
T&S Brass and Bronze Works, Inc. • Travelers Rest, South Carolina • 1-800-476-4103
Page 9

B-2291
Workboard Faucet Assembly
1 Asm, Swing Nozzle, 14" 063X 9 Handle, Lever 001638-45
2 Aerator B-0199-01 10 Asm, Spindle NSF - RH/Cold 009753-25
3Washer, Swivel 009538-45 Asm, Spindle NSF - LH/Hot 009754-25
4 Sleeve 011429-45 11 Seat 000763-20
5 O-Ring 001074-45 12 Knob 000082-40
6 Asm, Base Faucet B-1125-LN 13 Escutcheon 001259-40
7 Screw, Handle 000922-45 14 Washer 000999-45
8 Index, Button, Blue/Cold 001660-45 15 Locknut 002954-45
T&S Brass and Bronze Works, Inc. • Travelers Rest, South Carolina • 1-800-476-4103
Page 10

B-2294
Double Pantry Faucet Assembly
1Asm, BaseFaucet B-0300-LN
2 Screw, Handle 000922-45
3 Index, Button - Blue/Cold 001660-45
Index, Button - Red/Hot 001661-45
4 Handle, Lever 001638-45
5 Asm, Spindle Eterna - LH/Col 005959-40
Asm, Spindle Eterna - RH/Hot 005960-40
6 Washer 002290-45
7 Locknut, Shank 000965-45
8 Asm, Spreader Unit 002898-40
9 Asm, Swing Nozzle, 14" 063X
10 Washer 009538-45
11 Sleeve 011429-45
12 O-Ring 001074-45
13 Faucet, Body, Swing 000585-25
14 Tailpiece 001592-20
15 Nut 000958-20
T&S Brass and Bronze Works, Inc. • Travelers Rest, South Carolina • 1-800-476-4103
Page 11

B-2297
Mixing Faucet Assembly
1 Screw, Handle 000922-45
2 Index, Button, Blue/Cold 001660-45
Index, Button, Red/Hot 001661-45
3 Handle, Kitchen 4-Arm 002521-45
4 Asm, Spindle - Hot 006020-40
T&S Brass and Bronze Works, Inc. • Travelers Rest, South Carolina • 1-800-476-4103
Page 12

B-2338
See page 11 for
exploded view
Pre-Rinse with Add-On Faucet
1Asm, BaseFaucet 002824-40
2 Asm, Spindle Eterna - Cold 002711-40
3 Handle, Lever Zinc 001638-45
4 Index, Button, Blue/Cold 001660-45
5 Screw, Handle 000922-45
6 Washer 002290-45
7 Locknut 002954-45
8 Asm, Spreader Unit 002898-40
9 Asm, Add-On Faucet B-0155-LN
10 Nipple, 3/8" x 3" 000358-40
11 Asm, Spindle, Quarter Turn 007947-40
12 Handle, Lever 001638-45
13 Screw, Handle 000922-45
14 Asm, Swing Nozzle, 12" 062X
15 O-Ring, Swivel 001074-45
16 Sleeve, Swivel 011429-45
17 Washer, Swivel 009538-45
18 Nipple, 3/8" x 18" 000369-40
19 Screw, Finger Hook 000916-45
20 Finger Hook 000021-40
*
21 Spring, Overhead 000888-45
22 Asm, Bracket, Wall Mount B-0109-01
23 Nipple 000346-40
24 Set Screw 001584-45
25 Screw, Wall Mount 000915-45
26 Asm, Hose, Stainless Steel, 44" B-0044-H
27 Asm, Spray Valve B-0107
28 Tailpiece 001592-20
29 Nut 000958-20
Asm, Spindle Eterna - Hot 002712-40
Index, Button, Red/Hot 001661-45
T&S Brass and Bronze Works, Inc. • Travelers Rest, South Carolina • 1-800-476-4103
Page 13

B-2347
Commercial Faucet with Sidespray
1 Asm, Body, Cold 161A
Asm, Body, Hot 162A
2 Screw, Handle 000925-45
3 Index, Snap-In, Blue/Cold 001686-45
Index, Snap-In, Red/Hot 001194-45
4 Handle, Wrist Action, 4" B-WH4
5 Escutcheon 001257-40
6 Asm, Spindle, Eterna - LH/Col 006477-40
Asm, Spindle, Eterna - RH/Hot 006478-40
7 Locknut, Body, Top 000959-20
8Washer, Body 002290-45
9Washer, Nipple 001006-45
10 Locknut, Body, Bottom 000960-20
11 Washer 000981-45
12 Nut, Coupling 000958-20
13 Screw, Diverter 001486-45
14 O-Ring, Body, Center 001069-45
15 Adapter, Diverter 001484-20
16 Diverter, Piston 009433-20
17 Washer, Shank 000999-45
18 Locknut 002954-45
19 Washer 003367-45
20 Insert 003700-45
21 Coupling 003701-45
22 Nipple 000342-20
23 Nozzle, Gooseneck 135X
24 Asm, Spray Head B-0103
25 Hose, Guide 001496-45
26 Diverter, Hose, Spray 001495-45
T&S Brass and Bronze Works, Inc. • Travelers Rest, South Carolina • 1-800-476-4103
Page 14

See page 11 for
exploded view
B-2349
Pre-Rinse Unit with Flex Center Hoses
1 Spring, Overhead 000888-45
2 Finger Hook 000021-40
3 Screw, Finger Hook 000916-45
4 Nipple, 3/8" x 24" 000372-40
5 Asm, Bracket, Wall Mount, 12" B-0109-03
6 Nipple, 12" 000348-40
7 Set Screw 001584-45
8 Screw, Wall Mount 000915-45
9 Asm, Base Faucet 009505-40
10 Screw, Handle 000922-45
11 Index, Button, Blue/Cold 001660-45
Index, Button, Red/Hot 001661-45
12 Handle, Lever 001638-45
13 Asm, Spindle Eterna - Cold 002711-40
Asm, Spindle Eterna - Hot 002712-40
14 Washer 002290-45
15 Locknut 000965-45
16 Asm, Connectors, Flexible B-2348
17 Asm, Spray Valve B-0107
T&S Brass and Bronze Works, Inc. • Travelers Rest, South Carolina • 1-800-476-4103
Page 15

B-2360, B-2360-01
Model B-2360 includes bubbler valve
(009610-40) and Model B-2360-01 includes
meter valve (010942-40)
Bubbler Assembly
1 Asm, Bubbler Valve (B-2360) 009610-40
2 Asm, Meter Valve (B-2360-01) 010942-40
3Washer, Rosette 001000-45
4 Washer 000999-45
5 Locknut 002954-45
6 Nut, Nipple Coupling 000958-20
7 Spout Guard, Flex 009595-45
8 Screw, Spout Guard 009598-45
9 Holder, Spout Guard 009596-40
10 Flow Straightener 009594-45
11 Spout, Bubbler 012680-40
12 Adjustment Screw, Flow Control 012697-45
13 Seal, Stem Bottom, Slow-Self-Closing 012596-45
T&S Brass and Bronze Works, Inc. • Travelers Rest, South Carolina • 1-800-476-4103
Page 16

B-2360-02, B-2360-03
Model B-2360-02 includes bubbler valve (009610-40)
and Model B-2360-03 includes meter valve (010942-40)
Bubbler Assembly
1 Asm, Bubbler Valve (B-2360-02) 009610-40
2 Asm, Meter Valve (B-2360-03) 010942-40
3 Set Screw 012698-45
4Washer, Brass 012701-20
5 Locknut 002954-45
6 Nut, Coupling 000958-20
7 Bubbler Guard, Brass 011299-40
8 Screw, Bubbler Guard 009598-45
9Straightener, Flow 009594-45
10 Spout 012680-40
11 Screw, Adjustable 012697-45
12 Seal, Stem Bottom 012596-45
T&S Brass and Bronze Works, Inc. • Travelers Rest, South Carolina • 1-800-476-4103