Page 1

For Discount Tecumseh Engine Parts Call 606-678-9623 or 606-561-4983
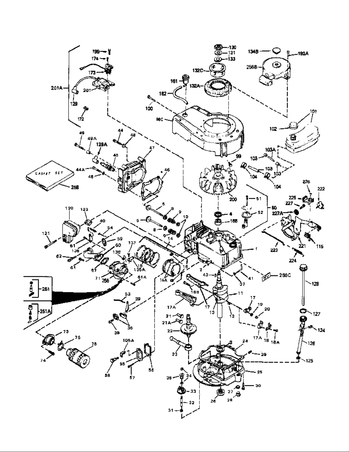
ECV100-145215F Page 1 of 9
Engine Parts List #1
www.mymowerparts.com
Page 2

For Discount Tecumseh Engine Parts Call 606-678-9623 or 606-561-4983
ECV100-145215F Page 2 of 9
Engine Parts List #1
Ref # Part Number Qty Description
1 34959 Cylinder Assy. (2-5/8" Bore)0
2 26727 Pin, Dowel0
4 32600 Seal, Oil0
5 29313C Valve, Exhaust (Standard) (Conventional0
5 29315C Valve, Exhaust (1/32" oversize)0
6 29314B Valve, Intake (Standard) (Conventional0
6 29315C Valve, Exhaust (1/32" oversize)0
8 31671 Cap, Upper valve spring0
9 31672 Spring, Valve0
10 31673 Cap, Lower valve spring0
11 34441 Crankshaft Assy.0
12 29783 Pin, Crankshaft gear0
13 27613 Gear, Crankshaft0
14A 32603B Piston & Pin Assy. (Std.) (2-5/8")0
14A 32604B Piston & Pin Assy. (.010 oversize)0
14A 32605B Piston & Pin Assy. (.020 oversize)0
14 34851 Piston, Pin & Ring Assy. (Std.) (2-5/8")0
14 34852 Piston, Pin & Ring Assy. (.010 oversize)0
14 34853 Piston, Pin & Ring Assy. (.020 oversize)0
15 34854 Ring Set, Piston (Standard) (2-5/8")0
15 34855 Ring Set, Piston (.010 oversize)0
15 34856 Ring Set, Piston (.020 oversize)0
16 20381 Ring, Piston pin retaining0
17 30963B Rod Assy., Connecting0
18A 32610A Bolt, Connecting rod0
21A 27241 Lifter, Valve0
21 27241 Lifter, Valve0
22 33553 Camshaft (Mechanical Compression Release)0
23 29914 Pump Assy., Oil0
24 35261 Gasket, Mounting flange0
25 34831 Flange Assy., Mounting0
26 26208 Seal, Oil0
27 28833 Gasket, Oil drain0
28 30572 Plug, Drain (Hex hd. 3/8-18)0
30 650488 Screw0
31 30590A Washer, Flat0
32 30574 Shaft, Mechanical governor0
33 30591 Gear Assy., Governor0
34 29193 Ring, Retaining0
35 30588A Spool, Governor0
36 31335 Clamp, Governor lever0
37 28277 Washer, Flat0
38 650548 Screw, Hex washer hd., 8-32 x 5/160
39 31383A Lever, Governor0
40 31361 Spring, Governor0
41 30589 Rod, Governor0
43 611004 Key, Flywheel (External Solid State -Gold)0
44 650694A Screw, Hex flange hd., 5/16-18 x 20
44A 6021A Screw, Hex flange hd., 5/16-18 x 1-1/20
45 35395 Plug, Spark (Champion RJ-19LM or equivalent)0
46 32643 Gasket, Cylinder head0
47 34335 Head, Cylinder0
48 26073 Washer, Connecting rod bolt0
50 34215 Breather Assy.0
51 30200 Screw0
52 32760 Gasket, Breather0
53 34336 Link, Governor-to-throttle0
54 34337 Link, Governor spring0
www.mymowerparts.com
Page 3

For Discount Tecumseh Engine Parts Call 606-678-9623 or 606-561-4983
ECV100-145215F Page 3 of 9
Engine Parts List #1
Ref # Part Number Qty Description
55 32755 Cover, Valve spring box0
56 27234 Gasket, Breather cover0
57 650128 Screw0
59 34690 Gasket, Intake0
60 31384A Pipe, Intake0
61 6201 Screw0
62 650451 Screw0
67 26756 Gasket, Carburetor0
71 29752 Nut0
75 32972 Cleaner, Air0
76 33168 Clamp, Corbin0
98C 34996 Housing, Blower (5.56 dia. starter mtg. bolt0
99 650831 Screw, Hex washer hd. Powerlok thread,0
100 30200 Screw0
102 34118 Cap, Fuel filler (Red Plastic) (Spurt0
102 410144B Cap, Fuel filler (White Plastic) (Std.)0
103 29774 Line, Fuel (Braided 8.25")0
103 30705 Line, Fuel (Braided 16")0
103 34357 Line, Fuel (Epichlorohydrin 6-3/4")0
104 26460 Clamp, Fuel line0
105A 30593 Clip, Magneto wire0
115 610973 Terminal Assy.0
121 650795 Screw, Hex hd. cap, Sems, 1/4-20 x 2-5/160
124 650562 Screw0
125 34265 Gasket, Oil fill tube0
125 34282 "O" Ring (.612 I.D. x .812 O.D. x .1030
126 34264 Tube Assy., Oil fill (Plastic)0
127 33590 "O" Ring0
128 34267 Dipstick, Oil (Twist Lock)0
129 610118 Cover, Spark plug0
130 650816 Nut, Flywheel0
131 650815 Washer, Belleville0
132A 34999 Screen, Starter cup0
132C 35000 Hub, Starter0
161 34353 Primer Assy.0
162 32180C Line, Primer0
165 34080 Spacer, Flywheel key0
192A 0 Rivet, Pop (3/16" Dia.)0
199 650814 Screw, Hex hd. Sems, 10-24 x 10
200 611046A Flywheel0
201 34443A Solid State Assy.0
201 730207 Magneto-to-Solid State Conversion Kit0
221 35015A Bracket Assy., S.E. Brake0
223 34966 Link, Control0
224 34965 Spring, Extension0
225 34968 Lever, Brake0
226 32309 Ring, Retainer0
227 650839 Screw, Hex washer hd. Powerlok, 1/4-20 x 3/80
251 631021 Inlet Needle, Seat & Clip Assy.0
255 632086 Carburetor0
258 33238C Gasket Set0
www.mymowerparts.com
Page 4

For Discount Tecumseh Engine Parts Call 606-678-9623 or 606-561-4983
ECV100-145215F Page 4 of 9
Engine Parts List #2
www.mymowerparts.com
Page 5

For Discount Tecumseh Engine Parts Call 606-678-9623 or 606-561-4983
ECV100-145215F Page 5 of 9
Engine Parts List #2
Ref # Part Number Qty Description
1 34959 Cylinder Assy. (2-5/8" Bore)0
2 26727 Pin, Dowel0
50 34215 Breather Assy.0
51 30200 Screw0
52 32760 Gasket, Breather0
63 650506 Screw0
64 631036 Shutter, Throttle0
65 631530 Shaft Assy., Throttle0
66 631066 Spring, Return0
92A 34961 Wire, Ground (One female & one male fitting)0
105B 29443 Clip, Fuel line0
115 610973 Terminal Assy.0
165 34080 Spacer, Flywheel key0
192A 0 Rivet, Pop (3/16" Dia.)0
192 650802 Screw, Hex washer hd. taptite, 1/4-20 x 5/80
228 34985 Rope Stop & Staple Assy.0
229 35025 Staple, Rope retainer0
256A 590531 Starter, Side mount rewind0
www.mymowerparts.com
Page 6

For Discount Tecumseh Engine Parts Call 606-678-9623 or 606-561-4983
ECV100-145215F Page 6 of 9
Engine Parts List #3
www.mymowerparts.com
Page 7

For Discount Tecumseh Engine Parts Call 606-678-9623 or 606-561-4983
ECV100-145215F Page 7 of 9
Engine Parts List #3
Ref # Part Number Qty Description
97 28763 Screw, Hex washer hd. thread-forming, 10-240
99 650831 Screw, Hex washer hd. Powerlok thread,0
100 30200 Screw0
101A 34369A Tank Assy., Fuel (Charcoal Poly) (1-1/20
102 34118 Cap, Fuel filler (Red Plastic) (Spurt0
102 410144B Cap, Fuel filler (White Plastic) (Std.)0
130 650816 Nut, Flywheel0
131 650815 Washer, Belleville0
192 650802 Screw, Hex washer hd. taptite, 1/4-20 x 5/80
250A 34993 Decal, Instruction0
www.mymowerparts.com
Page 8

For Discount Tecumseh Engine Parts Call 606-678-9623 or 606-561-4983
ECV100-145215F Page 8 of 9
Engine Parts List #4
www.mymowerparts.com
Page 9

For Discount Tecumseh Engine Parts Call 606-678-9623 or 606-561-4983
ECV100-145215F Page 9 of 9
Engine Parts List #4
Ref # Part Number Qty Description
108A 33971 Knob, Control0
109 33970A Control Assy., Speed0
110 33802 Spring Compression0
111 650777 Screw, Slotted fil. hd. mach., 6-32 x 7/160
112 650549 Screw0
113 31342 Spring, Compression0
114 30200 Screw0
115 610973 Terminal Assy.0
118 34995 Cover, Speed control0
119 650807 Screw, Hex washer hd. shoulder, 10-32 x 7/160
122 33753 Plate, Lock0
239 35435 Filter, Pre-Air (Poly)0
www.mymowerparts.com