Page 1

For Discount Tecumseh Engine Parts Call 606-678-9623 or 606-561-4983
ECV100-145075A Page 1 of 9
Engine Parts List #1
www.mymowerparts.com
Page 2

For Discount Tecumseh Engine Parts Call 606-678-9623 or 606-561-4983
ECV100-145075A Page 2 of 9
Engine Parts List #1
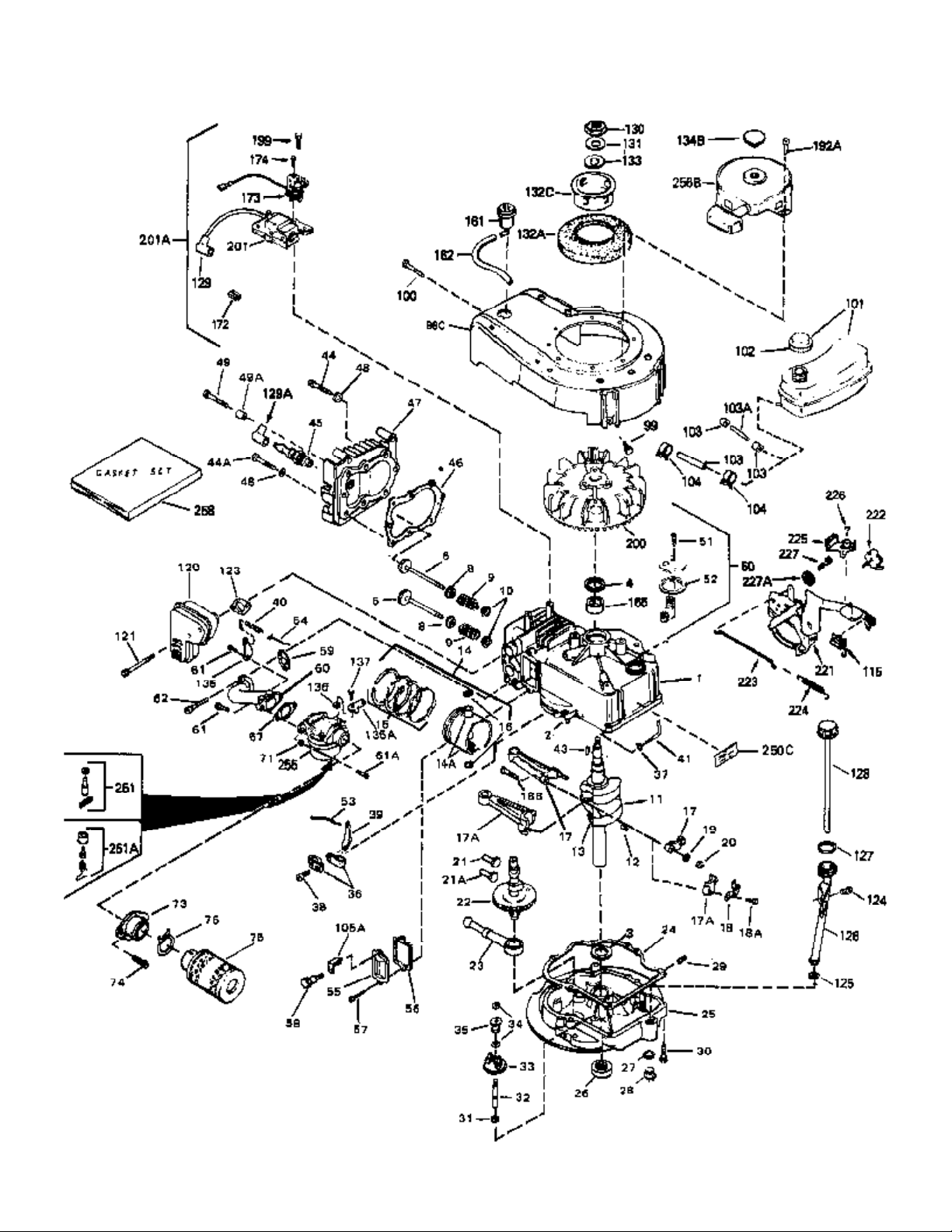
Ref # Part Number Qty Description
1 33404A Cylinder Assy. (2-5/8" Bore)0
2 26727 Pin, Dowel0
4 29183 Seal, Oil0
5 29313C Valve, Exhaust (Standard) (Conventional0
5 29315C Valve, Exhaust (1/32" oversize)0
6 29314B Valve, Intake (Standard) (Conventional0
6 29315C Valve, Exhaust (1/32" oversize)0
8 31671 Cap, Upper valve spring0
9 31672 Spring, Valve0
10 31673 Cap, Lower valve spring0
11 33298 Crankshaft Assy.0
12 29783 Pin, Crankshaft gear0
13 27613 Gear, Crankshaft0
14 34851 Piston, Pin & Ring Assy. (Std.) (2-5/8")0
14 34852 Piston, Pin & Ring Assy. (.010 oversize)0
14 34853 Piston, Pin & Ring Assy. (.020 oversize)0
14A 32603B Piston & Pin Assy. (Std.) (2-5/8")0
14A 32604B Piston & Pin Assy. (.010 oversize)0
14A 32605B Piston & Pin Assy. (.020 oversize)0
15 34854 Ring Set, Piston (Standard) (2-5/8")0
15 34855 Ring Set, Piston (.010 oversize)0
15 34856 Ring Set, Piston (.020 oversize)0
16 20381 Ring, Piston pin retaining0
17 30963B Rod Assy., Connecting0
18B 26706 Bolt, Connecting rod0
19 20747 Washer, Connecting rod bolt0
20 27573 Nut, Connecting rod bolt0
21A 27241 Lifter, Valve0
21 27241 Lifter, Valve0
22 33148A Camshaft (Compression Release)0
23 29914 Pump Assy., Oil0
24 35261 Gasket, Mounting flange0
25 33146 Flange Assy., Mounting0
26 26208 Seal, Oil0
27 28833 Gasket, Oil drain0
28 27244 Plug, Oil drain0
30 650488 Screw0
31 30590A Washer, Flat0
32 30574 Shaft, Mechanical governor0
33 30591 Gear Assy., Governor0
34 29193 Ring, Retaining0
35 30588A Spool, Governor0
36 31335 Clamp, Governor lever0
37 28277 Washer, Flat0
38 650548 Screw, Hex washer hd., 8-32 x 5/160
39 31383A Lever, Governor0
40 31386 Spring, Governor0
41 30589 Rod, Governor0
43 610961 Key, Flywheel (Std. Pt. Ign.)0
44A 6021A Screw, Hex flange hd., 5/16-18 x 1-1/20
44 650694A Screw, Hex flange hd., 5/16-18 x 20
45 33636 Plug, Spark (Champion J-8 or equivalent)0
45 34251 Resistor Spark Plug0
46 32643 Gasket, Cylinder head0
47 30579A Head, Cylinder0
48 26073 Washer, Connecting rod bolt0
50 34215 Breather Assy.0
51 30200 Screw0
www.mymowerparts.com
Page 3

For Discount Tecumseh Engine Parts Call 606-678-9623 or 606-561-4983
ECV100-145075A Page 3 of 9
Engine Parts List #1
Ref # Part Number Qty Description
52 32760 Gasket, Breather0
54 33151 Link, Governor spring0
55 32755 Cover, Valve spring box0
56 27234 Gasket, Breather cover0
57 30063 Screw0
59 32649 Gasket, Intake0
60 31384A Pipe, Intake0
61 6201 Screw0
62 650451 Screw0
67 26756 Gasket, Carburetor0
71 29752 Nut0
73 32971 Adapter, Air cleaner0
74 650709 Screw0
99 650831 Screw, Hex washer hd. Powerlok thread,0
102 34118 Cap, Fuel filler (Red Plastic) (Spurt0
102 410144B Cap, Fuel filler (White Plastic) (Std.)0
103 29774 Line, Fuel (Braided 8.25")0
103 30705 Line, Fuel (Braided 16")0
103 34357 Line, Fuel (Epichlorohydrin 6-3/4")0
104 26460 Clamp, Fuel line0
115 610973 Terminal Assy.0
121 650795 Screw, Hex hd. cap, Sems, 1/4-20 x 2-5/160
124 650562 Screw0
125 30139 "O" Ring0
125 34282 "O" Ring (.612 I.D. x .812 O.D. x .1030
126 32799 Tube, Oil filler0
127 29985 "O" Ring0
128 30140 Dipstick, Oil (Screw In)0
129 610118 Cover, Spark plug0
129A 27276 Cover, Spark plug0
130 650607 Nut, Flywheel0
131 650815 Washer, Belleville0
192A 0 Rivet, Pop (3/16" Dia.)0
201 730207 Magneto-to-Solid State Conversion Kit0
251 631021 Inlet Needle, Seat & Clip Assy.0
255 631597 Carburetor0
258 33238C Gasket Set0
www.mymowerparts.com
Page 4

For Discount Tecumseh Engine Parts Call 606-678-9623 or 606-561-4983
ECV100-145075A Page 4 of 9
Engine Parts List #2
www.mymowerparts.com
Page 5

For Discount Tecumseh Engine Parts Call 606-678-9623 or 606-561-4983
ECV100-145075A Page 5 of 9
Engine Parts List #2
Ref # Part Number Qty Description
1 33404A Cylinder Assy. (2-5/8" Bore)0
2 26727 Pin, Dowel0
50 34215 Breather Assy.0
51 30200 Screw0
52 32760 Gasket, Breather0
63 650506 Screw0
64 631036 Shutter, Throttle0
65 631530 Shaft Assy., Throttle0
66 631066 Spring, Return0
72 650489 Screw0
92A 34231 Wire, Ground (One female fitting & one0
115 610973 Terminal Assy.0
192A 0 Rivet, Pop (3/16" Dia.)0
192 650737 Screw, Hex washer hd. taptite, 1/4-20 x 1/20
252 30548B Condenser0
253 30547A Contact Assy., Breaker0
254 610793 Magneto, Tecumseh (w/ring gear)0
256 590450A Starter, Side mount rewind0
www.mymowerparts.com
Page 6

For Discount Tecumseh Engine Parts Call 606-678-9623 or 606-561-4983
ECV100-145075A Page 6 of 9
Engine Parts List #3
www.mymowerparts.com
Page 7

For Discount Tecumseh Engine Parts Call 606-678-9623 or 606-561-4983
ECV100-145075A Page 7 of 9
Engine Parts List #3
Ref # Part Number Qty Description
97 28763 Screw, Hex washer hd. thread-forming, 10-240
98B 33558A Housing, Blower0
99 650831 Screw, Hex washer hd. Powerlok thread,0
101A 33082A Tank Assy., Fuel (Charcoal Poly) (1.5 qt.)0
102 34118 Cap, Fuel filler (Red Plastic) (Spurt0
102 410144B Cap, Fuel filler (White Plastic) (Std.)0
105 27275 Clip, Hi-tension wire0
130 650607 Nut, Flywheel0
131 650815 Washer, Belleville0
132 32237 Screen, Flywheel0
134A 32236 Plug, Screen0
192 650737 Screw, Hex washer hd. taptite, 1/4-20 x 1/20
250D 32850 Decal, Speed control0
250 33144 Decal, Instruction0
www.mymowerparts.com
Page 8

For Discount Tecumseh Engine Parts Call 606-678-9623 or 606-561-4983
ECV100-145075A Page 8 of 9
Engine Parts List #4
www.mymowerparts.com
Page 9

For Discount Tecumseh Engine Parts Call 606-678-9623 or 606-561-4983
ECV100-145075A Page 9 of 9
Engine Parts List #4
Ref # Part Number Qty Description
53A 33133 Link, Throttle0
77 27272 Gasket, Air cleaner0
86A 33143 Clamp, Corbin0
87 32796 Filter, Air cleaner0
88 33142 Tube, Air intake0
89 32797 Retainer, Air cleaner0
90 650665 Screw0
108 32410 Knob, Speed control0
109A 32264A Control Assy., Speed0
112 650549 Screw0
113 31342 Spring, Compression0
114 30200 Screw0
115 610973 Terminal Assy.0
120A 27181B Muffler0
239 35435 Filter, Pre-Air (Poly)0
252 30548B Condenser0
253 30547A Contact Assy., Breaker0
www.mymowerparts.com