Page 1

State Water Heater Parts Fulfillment
125 Southeast Parkway • Franklin, TN 37068
www.statewaterheaters.com • 1-800-433-2545
COMMERCIAL GAS SERVICE PARTS LIST
MODELS:
SUF 119300
SUF 119400
SUF 119500
Series:
200/201
BLOWER/BURNER ASSEMBLY
See Page 5
OPERATING CONTROL
See Page 3
GAS VALVE
See Page 4
EXHAUST ELBOW, VENT KIT & BLOWER INTAKE PARTS
See Page 6
PRINTED 0514
State Water Heater Parts Fulfillment • 1-800-433-2545 • www.statewaterheaters.com
327734-001
1
Page 2

ULTRA FORCE SUF 119-300/400/500 - Cleanout Assembly/T&P/Drain Valve Parts
Item Description
1
..........
Cleanout Gasket..........................................................................9004099215
2
.......
Cover, Cleanout
3
.......
Temperature and Pressure Relief Valve
4
.......
DrainValve
5
.......
Lower Temperature Probe
..........................................................................
..................................
...................................................................................
.........................................................
Standard hardware items may be purchased locally.
SUF 119300
200/201
9005797205
9005903205
9003906015
9006242015
...........................
...........................
...........................
...........................
...........................
SUF 119400
200/201
9004099215........................9004099215
9005797205........................9005797205
9005903205........................9005903205
9003906015........................9003906015
9006242015........................9006242015
SUF 119500
200/201
2
Page 3

ULTRA FORCE SUF 119-300/400/500 - OPERATING CONTROLS & WIRING
SUF 119300 SUF 119400 SUF 119500
Item Description 200/201 200/201 200/201
1 .... Switch, Enable/Disable........................................
2 .... Display Overlay
3
.....
Display Board (UIM)
4 .... Communications Cable (UIM).............................
5 .... CCB Board - Programmed
6 .... Power Supply Board
7 .... Transformer
8 .... Blower Prover Switch...........................................
9 .... Blocked Intake Switch
10 ... Blocked Outlet Switch..........................................
11
....
Variable Frequency Drive....................................
12 ... Upper Temperature/ECO Probe.........................
13 ... Powered Anode - Short
14 ... .Powered Anode - Long
15 ... .Ignition Transformer
16 ... .Junction Box Assembly w/Harness......................
....................................................
............................................
..................................
............................................
..........................................................
.........................................
.......................................
.........................................
..............................................
..........
..........
..........
..........
..........
..........
..........
..........
..........
..........
..........
..........
..........
..........
..........
..........
193243-001
9008902005
9008460005
9006541015
9008907015
9008872005
9008874005
9008904015
9008996015
9008905015
9006245005
9008906015
9008936005
9006246005
9008875005
325118-001
...................
.................
.................
.................
.................
.................
.................
.................
.................
.................
.................
.................
.................
.................
.................
..................
..............
..............
..............
..............
..............
..............
..............
..............
..............
..............
..............
..............
..............
..............
..............
..............
193243-001
9008902005
9008460005
9006541015
9008907015
9008872005
9008874005
9008904015
9008996015
9008905015
9006245005
9008906015
9008936005
9006246005
9008875005
325118-001
..................
................
................
................
................
................
................
................
................
................
................
................
................
................
................
.................
...........
193243-001
...........
9008902005
...........
9008460005
...........
9006541015
...........
9008907015
...........
9008872005
...........
9008874005
...........
9008904015
...........
9008996015
...........
9008905015
...........
9006245005
...........
9008906015
...........
9008936005
.............9006246005
.............9008875005
..............
325118-001
41
CONFIGURATION KEY
5
13 & 14
3
Page 4

ULTRA FORCE SUF 119-300/400/500 - GAS VALVE ASSEMBLY
Item Description
1
2
3
Switch, Low Gas Pressure , Natural Gas.................................9006256015
LP Gas.........................................................................................9006255015
Valve, Gas Natural & LP............................................................9008922005
Wire Plug Assembly....................................................................317069-000..........................317069-000.
Standard hardware items may be purchased locaMy.
SUF 119300
200/201
.........................
.........................
.........................
SUF 119400
200/201
9006256015
9006255015
9008922005
SUF 119500
200/201
9006256015
9006255015
9008922005
317069-000
2
4
Page 5

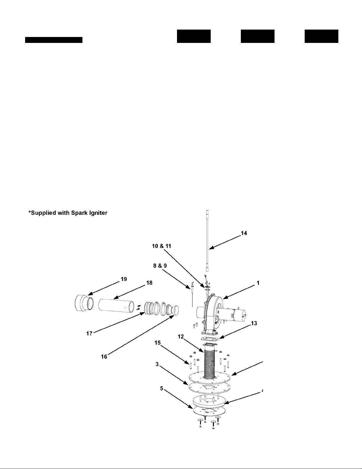
ULTRA FORCE SUF 119-300/400/500 BLOWER/BURNER ASSEMBLY
SUF 119300
Item Description
1
..........
Blower Assembly w/ Hall Effect Sensor....................................9008923005
2
.......
Burner Mounting Plate.................................................................320713-000
3
.......
Burner Plate Gasket
4
.......
Insulation Disk -Pyrolite..............................................................9008925015
5
.......
SS Heat Shield............................................................................9008926015
6
.......
View Port - Glass (Not Shown)..................................................9006102215
7
.......
View Port Gasket (Not Shown)..................................................9006103215
8
.......
Flame Sensor Rod......................................................................9008928015
9
.......
Flame Sensor Rod Gasket..........................................................318532-000
10
......
Spark Igniter................................................................................9008927015
11 ......Spark Igniter Gasket....................................................................321781-000
12
......
Burner...........................................................................................9008929005
13
......
Burner/Blower Gasket
14
......
Spark Ignition Cable *..............................................................
15
......
Stud - 5/16-18 x 1-3/4"
16
......
Blower Intake Venturi
17
......
Rubber Coupling ....................................................................... 9006107205
18
......
Intake Tube 3" PVC.....................................................................194923-006 194923-006
19
......
Blower Intake Reducer Assembly
...................................................................
................................................................
................................................................
.................................................................
.............................................
200/201
9008924005
9008930015
.....................
196881-000 196881-000
9008931015
9008932005
SUF 119400
200/201
............................
.............................
............................
............................
............................
............................
............................
............................
.............................
............................
.............................
............................
............................
................................................................................................
............................
.............................
............................
9008923005
320713-000........................320713-000
9008924005
9008925015
9008926015
9006102215
9006103215
9008928015
318532-000........................318532-000
9008927015
321781-000........................321781-000
9008929005
9008930015
9008931015
9006107205
9008932005
.......................
.......................
.......................
.......................
.......................
.......................
.......................
.......................
.......................
.......................
..........................
.......................
.......................
..........................
.......................
SUF 119500
200/201
9008923005
9008924005
9008925015
9008926015
9006102215
9006103215
9008928015
9008927015
9008929005
9008930015
196881-000
9008931015
9006107205
194923-006
9008932005
Standard hardware items may be purchased locaMy.
2
5
Page 6

ULTRA FORCE SUF 119-300/400/500 BLOWER INTAKE AND EXHAUST PARTS
Item Description
EXHAUST ELBOW AND FITTINGS
1
.......
... Exhaust/Condensate Elbow Assembly
2
.......
... Connector, Exhaust
VENT KIT PARTS
3
.......
... Intake/Exhaust Vent Terminal.............................................9006112205
4
.......
... Wall Plates (2 required)
5
.......
... Silicone Sealer, 2 oz. tube...................................................9004365105
....................................................
2
.....................
..............................................
SUF 119300
200/201
........
9008909005
......... 9006111205
.........9006113205
................
...............
................
................
................
..........
..........
..........
..........
..........
SUF 119400
200/201
9008909005
9006111205
9006112205
9006113205
9004365105
................
...............
................
................
................
1
..........
..........
..........
..........
..........
SUF 119500
200/201
9008909005
9006111205
9006112205
9006113205
9004365105
A
6
Page 7

NOTES:
7
Page 8

State water Heater Parts Fulfillment
125 Southeast Parkway
Franklin, TN 37068
www.statewaterheaters.com
Copyright © 2014 State Water Heaters, All rights reserved.