Page 1

罗斯蒙特™ 2555 固体物位开关
电容探头
快速安装指南
00825-0106-2555, Rev AC
2020 年 10 月
Page 2

快速安装指南 2020 年 10 月
内容
简介............................................................................................................................................. 3
机械安装...................................................................................................................................... 9
电气安装.................................................................................................................................... 14
组态........................................................................................................................................... 20
故障排除.................................................................................................................................... 39
维护........................................................................................................................................... 43
2
快速安装指南
Page 3

2020 年 10 月 快速安装指南
1
1.1
简介
检查物位开关在其安装点是否存在过程介质,并将其报告为开关电气输
出。
注
本《快速安装指南》的其他语言版本可从 Emerson.com/Rosemount 获得。
安全信息
注意
使用产品前请阅读本手册。为保证人身及系统安全以及获得最佳的产品性
能,安装、使用或维护本产品前请务必确保完全了解手册内容。
技术支援的联系信息如下:
客户中心
技术支持、报价及订购相关问题。
• 美国 - 1-800-999-9307(中部标准时间上午 7:00 到下午 7:00)
•
亚太地区 - 65 777 8211
北美响应中心
设备维修需求。
• 1-800-654-7768(全天 24 小时 — 包括加拿大)
• 若处于这些区域之外的地区,请与您当地的艾默生代表联系。
物理接触
未经授权的人员可能会对最终用户的设备造成明显受损和/或误组态。这可
能是有意或无意的,需要采取相应的防护措施。
物理安全措施是任何安全计划的重要部分,是保护您的系统的基础。限制
未经授权人员进行物理接触,以保护最终用户的资产。这对于设施中使用
的所有系统均是如此。
快速安装指南
警告
3
Page 4

快速安装指南 2020 年 10 月
警告
不遵守安全安装与检修准则,可能导致死亡或严重受伤。
• 请确保由取得相关资质人员按照相应的操作规程安装物位开关。
• 只能使用本手册中规定的物位开关。未按照指南或手册操作设备,可能
削弱物位开关的防护能力。
爆炸可能会导致死亡或严重伤害。
• 在防爆/防燃、增安型和防尘燃安装中,当物位开关通电时切勿取下壳
体外罩。
• 为满足阻燃/隔爆要求,壳体盖子必须完全盖上。
触电可能导致死亡或严重受伤。
• 不得接触引线或接线端子。引线上可能存在的高压会导致触电。
• 在进行物位开关接线时,请确保物位开关的电源处于关闭状态,并且与
任何其他外部电源连接的线路均处于断开状态,或者没有通电。
• 确保接线符合电流要求,且绝缘符合电压、温度和环境要求。
过程泄漏可能导致死亡或严重受伤。
• 请务必轻拿轻放物位开关。如果过程密封件受损,气体或灰尘可能会从
筒仓(或其他容器)中逸出。
使用任何非认可的部件可能危害安全。修理(例如更换组件等)也可能危
害安全性,且在任何情况下均不允许。
• 严禁未经授权随意更改产品,这可能意外或不可预料地改变性能并危害
安全。影响焊缝或法兰完整性的未经授权的更改(例如额外钻孔)会损
害产品完整性和安全性。对于因未经艾默生的事先书面许可进行修改而
发生损坏的任何产品,设备的额定性能和认证不再有效。若继续使用无
书面授权进行修改而损坏的产品,则客户应完全承担风险和损失。
4
快速安装指南
Page 5

2020 年 10 月 快速安装指南
小心
本文档描述的产品不是专为核工业级应用而设计的。
• 在需要核工业级硬件或产品的应用场合,若使用非核工业级产品会导致
读数不精确。
• 有关罗斯蒙特核工业级产品的信息,请与本地艾默生销售代表联系。
对于处理接触危险物质的产品的人员,若知悉并了解危险,则可以避免伤
害。
• 若退回的产品曾接触过职业安全与健康管理局 (OSHA) 所定义的危险物
质,则在退回的物位开关中必须随附各危险物质的安全数据表 (SDS) 复
印件。
1.2
应用
罗斯蒙特™ 2555 固体物位开关用于监控所有类型的容器或筒仓中的散装物
料的物位。
物位开关可用于所有粉状和颗粒状散装物料、泥浆和液体。
有四种不同的外壳选项可用:
• 标准本地
— 用于非危险区域(普通场所)的安装
— 用于危险区域的防尘燃安装
• “D”型本地
— 用于危险区域(分类场所)的防燃/防爆/防尘燃安装
• “DE”型本地
— 与“D”型相同,但带有接线盒(安全性更高)
• 标准远程
— 分体安装的电子部件通过电缆连接到导波杆
典型应用包括:
• 建筑材料
— 石灰、挤塑苯乙烯泡沫 (XPS)、型砂,等等
• 食品饮料行业
— 奶粉、面粉、盐,等等
• 塑料
快速安装指南
— 塑料颗粒,等等
5
Page 6

快速安装指南 2020 年 10 月
• 木材
• 化工产品
物位开关可通过螺纹、法兰或三夹钳过程连接件安装到筒仓(或其他容
器)。您可以将其安装在筒仓侧壁上,使其与待监控的填充限相平。或
者,如果是加长型,可将其垂直安装在筒仓顶部以监控最大填充限。
电容导波杆的长度可达 98.4in. (2.5m) 并配有杆延长管,或者长达 787in.
(20m) 并配有延长索。
建议使用滑动套管,以便在物位开关实时运行期间能够轻松地更改切换
点。
注
罗斯蒙特 2555 产品数据表包含所有尺寸图。
6
快速安装指南
Page 7

2020 年 10 月 快速安装指南
图 1-1: 典型安装示例
A.
与筒仓壁之间的伸展距离所需的无效长度
B.
长安装喷嘴产生的无效长度
C.
短长度(满仓检测)
D.
短长度(按需检测)
E.
短长度(空仓检测)
F.
旁通管中的应用
G.
使活动导波杆伸到要求的高度所需的无效长度
H.
用于调节高度的无效长度和滑动套管
I.
索式(满仓检测)
J.
索式(空仓检测)
K.
可选滑动套管
有效和无效导波杆长度
有效长度始终在筒仓内部,并在导波杆和筒仓壁之间产生电场以形成屏
蔽。采用主动屏蔽技术,RF 测量不会受到导波杆上累积的产品影响。无效
长度用于延长导波杆总长度。
注
请参阅罗斯蒙特 2555 产品数据表以了解延长长度选项。
快速安装指南
7
Page 8

快速安装指南 2020 年 10 月
1.3
测量原理
利用通过 RF(射频)测量电容的原理,监控导波杆与筒仓底部之间的电容
变化以检测是否存在固体介质。
当容器(筒仓)中的固体介质离开导波杆时,会导致电容降低,电子部件
检测到这种变化,输出切换以指示“未覆盖”状态。
当容器(筒仓)中的固体介质升高并覆盖杆时,会导致电容升高,电子部
件检测到这种变化,输出切换以指示“覆盖”状态。
电气输出将因订购罗斯蒙特 2555 时所选的电子部件而异。
8
快速安装指南
Page 9

2020 年 10 月 快速安装指南
2
2.1
2.1.1
机械安装
安装注意事项
在筒仓(或其他容器)上安装物位开关之前,请查阅安全性和安装前准备
部分。
安全
一般安全
1. 此设备的安装应由经过相应培训的人员按照适用的操作规程进行。
2. 如果设备有可能与腐蚀性物质接触,则由用户负责采取合适的预防
措施来防止对其产生不利影响,从而确保不会削弱保护类型。
a. 腐蚀性物质: 腐蚀金属的酸性液体或酸性气体或者是可能影
响聚合材料的溶剂。
b. 适当预防措施: 作为例行检查的一部分进行定期检查,或者
根据材料数据表确定其能够耐受特定化学品。
3. 安装人员负责:
a. 存在高机械力时,采取保护措施,例如在筒仓上安装成角的
屏蔽装置(倒 V 形)或选择延长管选件。
b. 确保过程连接件紧固到正确的扭矩值并已密封,以防止过程
介质渗漏。
危险区域安全性
罗斯蒙特 2555 产品认证文档提供了适用于危险区域安装的安全说明和控制
图纸。请浏览 Emerson.com/Rosemount 以获得其他语言版本。
2.1.2
2.1.3
快速安装指南
卫生应用
如需了解卫生认证与合规性要求,请见罗斯蒙特 2555 产品认证文档(参阅
Emerson.com/Rosemount 以查看其他语言版本)。
拧紧螺纹式过程连接件
拧紧 Rosemount 2555 的螺纹式过程连接件时:
4. 技术数据
a. 罗斯蒙特 2555 产品数据表包含所有技术规格。请浏览
Emerson.com/Rosemount 以获得其他语言版本。
9
Page 10

快速安装指南 2020 年 10 月
• 使用物位开关六角凸台上的开口扳手或滑动套筒。
• 切勿通过外壳拧紧。
• 切勿超出最大 80 Nm 的扭矩。
2.1.4
2.1.5
滑动套管
将两个 M8 螺钉的扭矩调整至 20Nm,以形成密封并保持过程压力。
机械负载
不得超过点 A 和 B(图 2-1)的负载。 所有额定值的温度条件均为 104°F
(40°C)。
图 2-1: 最大机械负载
表 2-1: 最大机械负载
罗斯蒙特 2555S
罗斯蒙特 2555R
罗斯蒙特 2555M
罗斯蒙特 2555P
罗斯蒙特 2555E
罗斯蒙特 2555V
杆式:
索式:
杆式:
索式:
杆式:
索式:
A:125Nm
4kN 拉伸载荷
A:525Nm
40kN 拉伸载荷
A:525Nm
10kN 拉伸载荷
B:20Nm
B:90Nm
B:20Nm
2.1.6
2.1.7
10
电缆格兰方向
当物位开关水平安装时,确保电缆格兰向下以避免水进入壳体内部。不使
用的导线管入口必须 使用合适等级的阻塞(阻挡)堵头完全密封。
未来维护
建议存在腐蚀性环境时润滑壳体罩(盖子)的螺钉。 这样将有助于防止在
未来的维护任务中需要拆下罩时遇到难题。
快速安装指南
Page 11

> 2 (50)
> 3.9
(100)
> 3.9
(100)
> 7.9
(200)
> 7.9 (200)
> 19.7 (500)
2020 年 10 月 快速安装指南
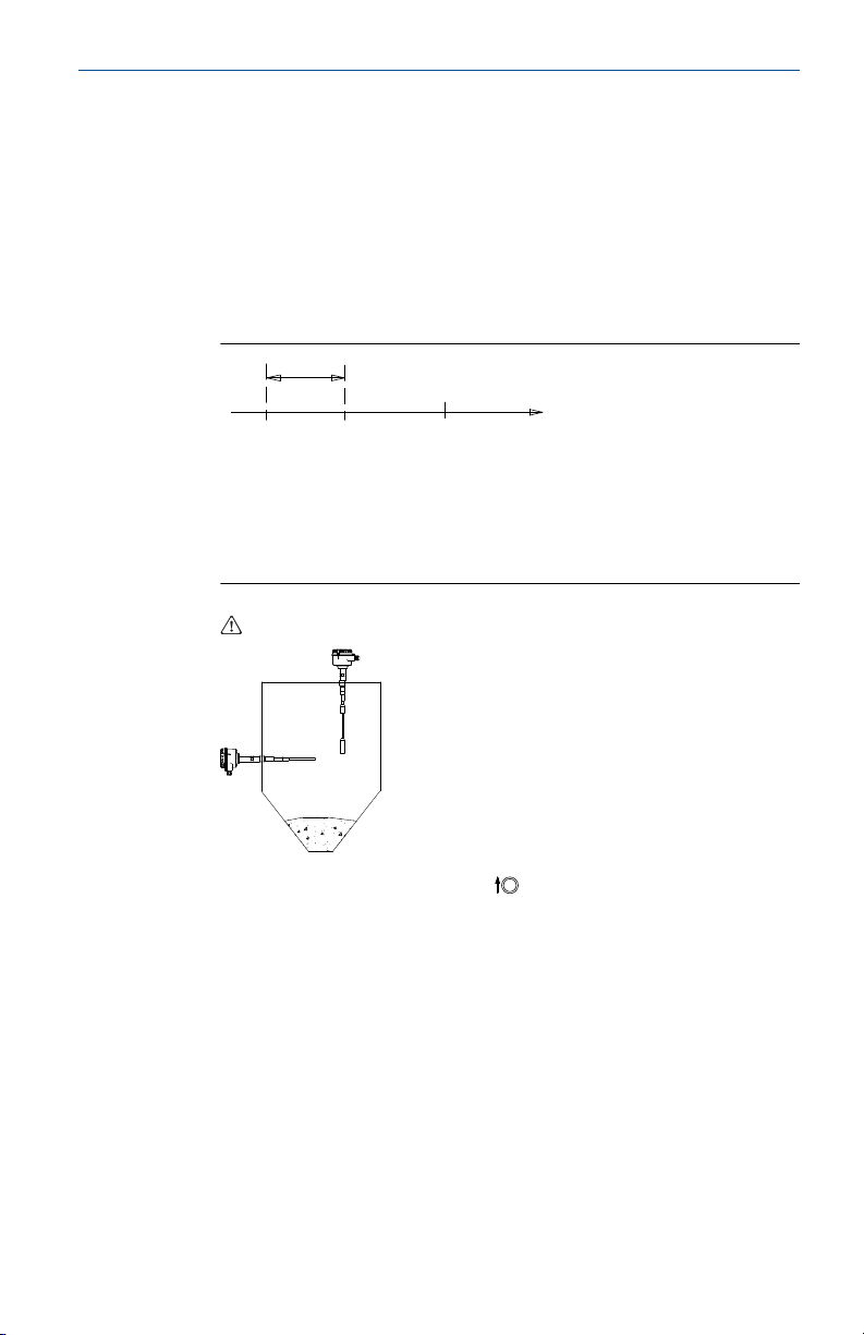
2.1.8
最短距离
图 2-2 表示已安装物位开关、筒仓壁以及保护屏之间所需的最短距离。 建
议根据散装固体类型在物位开关上方安装防护性带角度屏蔽层。
图 2-2: 最短距离
注
避免将物位开关直接安装在固体物料流量下方(填充点)。
2.2
安装物位开关
图 2-3 和图 2-4 显示了应如何安装罗斯蒙特 2555。
快速安装指南
11
Page 12

> 1.8
(50)
A
> 1.8
(50)
A
> 1.8
(50)
A
> 1.8
(50)
A
正确
正确 正确
正确
E
F
G
C
D
B
快速安装指南 2020 年 10 月
图 2-3: 正确和错误的安装(杆式)
A.
12
有源探头
B.
以一定角度安装物位开关有助于固体物料掉落并防止堆积
C.
正确安装:通过长插槽正确使用无源长度
D.
正确安装:即便出现固体物料积聚,无源长度也可以正确使用
E.
错误安装:有源探头位于插槽内
F.
错误安装:有源探头被积聚的物料覆盖,未能检测正确物位
G.
错误安装:有源探头位于会残留固体物料的位置,甚至是空仓内
快速安装指南
Page 13

> 1.8 (50) > 1.8 (50)
A A
正确
正确
B C D E
2020 年 10 月 快速安装指南
图 2-4: 正确和错误的安装(索式)
A.
有源探头
B.
正确安装:插槽高度低
C.
正确安装:长插槽中的无效长度被正确使用。
D.
错误安装:有源探头位于插槽内
E.
错误安装:有源探头被堆积的物料覆盖,可能无法检测真正的物位
快速安装指南
13
Page 14

快速安装指南 2020 年 10 月
3
3.1
3.1.1
3.1.2
3.1.3
3.1.4
电气安装
接线考虑因素
注
完整电气规格请参阅 Rosemount 2555 产品数据表。
搬运
如果搬运方式不当或不合规范,则无法保证设备的电气安全性。
接地
在进行任何电气安装前,若罗斯蒙特 2555 被安装在非金属筒仓或其他贮存
容器上,连接内部或外部电位接地 (PE) 端子至安装位置的接地点。
注
参阅物位开关的接线以了解 PE 端子的位置。
安装法规
必须遵守当地法规或 VDE 0100(德国电工工程师法规)。
使用 24 V 电源时,需要与市电之间采取了增强绝缘措施的 获准电源。
保险丝
按照连接图所述的方式使用保险丝。
有关详情,请参阅物位开关的接线。
3.1.5
3.1.6
3.1.7
14
漏电断路器 (RCCB) 保护
发生故障时,配电电压必须通过 RCCB 保护开关自动切断,以防止间接地
接触到危险电压。
电源
电源开关
必须在设备附近提供电压断开开关。
供电电压
接通设备之前,比较应用的供电电压与电子模块和铭牌上 所示的规格。
接线
现场接线电缆
直径必须匹配所用电缆格兰的夹紧范围。
快速安装指南
Page 15

2020 年 10 月 快速安装指南
横截面积必须匹配连接端子的夹紧范围,并且必须考虑到最大电流。
所有现场接线的绝缘层都至少必须适合 250Vac 的电压。
温度等级至少必须为 194°F (90°C)。
当存在高于 EMC 标准声明值的电气干扰时,应使用屏蔽电缆。 或者,也可
使用无屏蔽的仪表电缆。
引导电缆进入接线盒
现场接线电缆必须修剪到合适的长度,以便正确地装入接线盒。
连接端子
准备用于连接到标准或“D”型外壳内端子的电缆时,剥去绝缘层而露出铜线
束的长度不得超过 0.31in. (8mm)。 对于“DE”型外壳,剥去绝缘层的长度不
得超过 0.35in. (9mm)。 始终要检查电源是否已断开或关闭,以免接触危险
的带电部件。
3.1.8
电缆入口
螺纹电缆格兰和阻塞堵头必须达到下述规格:
• 入口防护等级 IP67
• 温度范围为 -40 °C 至 +80 °C
• 危险区域认证(取决于设备的安装位置)
• 拉力减轻
确保螺纹电缆格兰安全地密封电缆,且严密度足以防止进水。 未使用的导
线管或缆线入口必须使用合适的阻塞(阻挡)堵头密封。
使用工厂提供的电缆格兰安装设备时,必须为 现场接线电缆提供应力释放
装置。
ATEX 或 IECEx 的电缆格兰和导线管系统
安装必须符合物位开关安装地点所在国家/地区的法规。
不使用的入口必须使用合适等级的阻塞(阻挡)堵头封闭。
在可用时,必须使用工厂提供的部件。
现场接线电缆的直径必须匹配缆线夹 的夹紧范围。
如果不使用工厂提供的部件,则必须确保:
• 部件的认证必须足以适应物位传感器的认证等级 (证书和保护类
型)。
• 批准的温度范围必须在物位传感器的最低 环境温度与物位传感器的最
快速安装指南
高环境温度之间, 增量为 10 K。
15
Page 16

快速安装指南 2020 年 10 月
• 部件必须按照制造商的说明 安装。
3.1.9
3.1.10
导线管系统
使用螺纹导线管系统而非电缆格兰时,必须遵守 所在国家/地区的法规。导
线管必须有 ½-in. NPT 锥形螺纹,以匹配物位开关的 NPT 螺纹导线管入口
并符合 ANSI B 1.20.1 要求。 不使用的导线管入口必须使用金属阻塞(阻
挡)堵头严实密封。
FM 的导线管系统
必须遵守所在国家/地区的法规。阻燃密封件和 阻塞(阻挡)堵头必须获得
适当的型式认证,且温度范围至少为 -40 至 176 °F(-40 至 +80 °C)。此
外,它们还必须适合具体条件 并正确安装。在可用时,必须使用制造商提
供的 原厂部件。
在危险区域中使用导管系统安装
导管系统中,单导电体安装在经认证的管道系统内。该管道系统还必须具
有防火或隔爆结构。
对于 ATEX 和 IECEx 认证,物位开关与管道系统的外壳需要使用认证的防火
或隔爆密封件相互隔开。 密封件必须直接装入或装在物位开关的导线管入
口。不使用的导线管入口必须使用经适当认证的堵封件(堵头)进行密
封。。
对于 FM 认证,物位开关与管道系统的外壳需要使用认证的防火密封件相互
隔开。 在外壳 18 英寸范围内安装密封件。不使用的导线管入口必须使用
经适当认证的堵封件(堵头)进行密封。。
分体式外壳
分体式电缆必须独立于电源线安装以避免抗干扰。必须遵循 2 in. (50 mm)
的最低弯曲半径。
3.1.11
3.1.12
3.1.13
16
继电器和晶体管保护
为继电器触点和输出晶体管提供保护,使设备不受电感负载浪涌的影响。
静电
罗斯蒙特 2555 必须接地,以避免静电荷积聚。 这对于使用气动输送装置
和非金属容器的 应用特别重要。
开盖
开盖前,确保没有尘土沉积、浮尘以及危险环境暴露。
危险区域中,电路带电时切勿取下盖子(外盖)。
快速安装指南
Page 17

2020 年 10 月 快速安装指南
3.2
物位开关的接线
图 3-1: 标准型外壳的连接概述
A.
连接端子
B.
内部保护接地
C.
外部保护接地
图 3-2: “D”型外壳的连接概述
(PE)
(PE)
端子
端子
快速安装指南
A.
连接端子
B.
内部保护接地
(PE)
端子
17
Page 18

快速安装指南 2020 年 10 月
图 3-3: “DE”型外壳的连接概述
A.
连接端子(在接线盒内,安全性更高)。
固定扭矩为
B.
内部保护接地
C.
外部保护接地
0.5 - 0.6Nm
(PE)
端子
(PE)
端子
18
快速安装指南
Page 19

1 1
2 3 456 7 8
PE
+
-
L N
A
B
2020 年 10 月 快速安装指南
3.2.1
电源和 DPDT 继电器的接线
电源
• 21 至 230Vac (50/60Hz) ±10%,1.5VA
• 21 至 230Vdc ±10%,1.5W
• 电源上的保险丝:最大 10A,250V,HBC,快断型或慢断型
信号输出(浮动中继器 DPDT)
• 最大 250Vac,8A(非感应式)
• 最大 30Vdc,5A(非感应式)
• 信号输出上的保险丝:最大 10A,250V,HBC,快断型或慢断型
图 3-4: 电源和信号输出
快速安装指南
A.
电源
B.
信号输出
19
Page 20

1 1 2 6 7 8 3 4 5
CAL
TEST
MENU
LED
显示器
(菜单)
(标定)
(测试)
快速安装指南 2020 年 10 月
4
4.1
4.2
组态
用户界面
图 4-1: 用户界面功能
表 4-1: LED
绿色 继电器已通电
黄色 继电器已断电
红色 维护(闪烁)或错误(不闪烁)
首次通电(标定)
当罗斯蒙特 2555 第一次通电时,标定将自动开始。若物位开关断电,然
后再次通电,此标定步骤不会在启动时重复。
先决条件
• 物位开关的安装与接线必须正确。
• 固体物料物位必须低于探头。
过程
20
1. 确保固体物料物位不会覆盖探头。
快速安装指南
Page 21

2020 年 10 月 快速安装指南
2. 给物位开关通电。
a) 若显示屏显示 CAL,而且 LED 闪烁红灯,这说明正在进行标
定。
b) 大约 45 秒后完成标定并指示实际测量电容以及表示未覆盖
探头状态的字母 u。
3. 检查快速启动设定。
a) 使用快速启动菜单(参见快速启动菜单)审核和更改高与低
故障防护、信号输出继电器以及灵敏度的出厂设置。
补充条件
罗斯蒙特 2555 现已完成标定,可随时对其进行组态。
4.3
测量模式
物位开关表示实际测量的电容和信号输出的状态。
显示屏
*** u
*** c
(1)
LED
绿灯或黄灯
说明
(2)
pF 单位的实际测量电
(3)
容
。
实际信号输出:表示未覆
盖探头 u 或已覆盖探头
c。
(1)
(2)
(3)
注
若实际测量的电容高于电子部件可以测量的范围(即,> 400pF 且灵敏度设
置 >= 2pF 或 > 100pF 且灵敏度设置 <= 1pF),物位开关将显示 400c 或
100c。由于实际电容远高于标定转换点,测量值有效。另外,输出信号将
通过显示 c 指示探头被覆盖。
快速安装指南
如果显示意外信息,请参阅维护和错误消息。
根据
FSH 和 FSL
分辨率为
数点表示
设定显示绿灯或黄灯。
0.1pF (< 100pF) 或 0.5pF (> 100pF)。
0.5pF
(例如,
100. 表示 100.5pF
)
如果值
> 100pF
,数字后的小
21
Page 22

快速安装指南 2020 年 10 月
4.4
快速启动菜单
注
快速启动菜单显示时 LED 为红灯闪烁。 如果在 5 分钟内未按下任何按钮,
装置将自动返回到测量模式。 所有更改的菜单设置会被保存。
表 4-2: 处于测量模式
当物位开关处于测量模式时,按住 MENU(菜单)按钮 3 秒钟以进入
快速启动菜单。如果显示 Code,则需要使用锁定代码。使用箭头按
钮设置代码,然后使用 Menu(菜单)按钮进行确认。接着按住
MENU(菜单)按钮 3 秒进入快速启动菜单。
在快速启动菜单时,按住 Menu(菜单)按钮 3 秒钟以返回至测试模
式。
按 Menu(菜单)按钮不到 1 秒钟,可以储存新的设置并继续转到下
一个菜单项。
使用箭头按钮、CAL(标定)以及 TEST(测试)提高或降低设定值。
表 4-3: 快速启动菜单
显示屏 说明 菜单项
FSL
全部
C-U
U-C
2
5
至 60
(1)
故障防护高
信号输出、故障防护设置
故障防护低
(1)
已覆盖转为未覆盖再转为已覆
信号输出、延迟方向
盖探头
已覆盖转为未覆盖探头
未覆盖转为已覆盖探头
(1)
秒 信号输出、延迟时间
可分步调节(5 秒的增量)。
A. FSH
B.
C. 0.5
22
快速安装指南
Page 23

6 7 8 3 4 5 6 7 8 3 4 5 6 7 8 3 4 5 6 7 8 3 4 5 6 7 8 3 4 5
FSL FSH FSL FSH
黄色 LED 黄色 LED 电源故障绿色 LED 绿色 LED
2020 年 10 月 快速安装指南
表 4-3: 快速启动菜单 (续)
显示屏 说明 菜单项
D. 0.5
1
2
4
10
15
25
35
(1)
工厂默认设置。
(2)
标准出厂设定为
pF
(2)
2pF
。订购可选配标准设定。
灵敏度
未覆盖探头(标定后)和转换为输
出已覆盖探头间的必需电容增
量。
仅在应用需要时更改预设值。请参
见按钮式标定指南。
D 菜单项无效,而且如果手动标定
(G 菜单项)被设置为 ON(开
启),则不显示。
4.4.1
FSH 和 FSL 设定
• FSH:
— 对满仓检测应用使用 FSH 设定。
— 电子部件会将电源故障或线路断开视为满仓信号(防止溢出)。
• FSL:
— 对空仓检测应用使用 FSL 设定。
— 电子部件会将电源故障或线路断开视为空仓信号(防止干转)。
图 4-2: FSH 和 FSL 设定
快速安装指南
23
Page 24

快速安装指南 2020 年 10 月
4.5
按钮式标定指南
若首次操作的通电标定失败,或转至被移动其他位置或更改物料后 DK 发生
显著变化,则需要进行按钮式标定。
仅标定未覆盖探头 此为最简单的方法,因此建议使用。
如果未覆盖和覆盖探头间的电容变化过
小,可以选择更高的灵敏度(1pF 或
0.5pf)。
对于较高电容变化和过多积聚,可降低
灵敏度(4pF 或以上)。
有关标定程序,参见首次通电(标
定)。
标定未覆盖和已覆盖探头 在未覆盖和已覆盖探头电容的中间位置
设置转换点。这样做可以确保与未覆盖
和已覆盖探头电容保持最大转换距离,
并且有助于防止物料堆积。
对于 DK 值较低的物料以及因此产生已
覆盖和未覆盖状态的较小电容差,建议
使用此方法。不需要知道 DK 值。
有关标定程序,参见首次通电(标
定)。
24
快速安装指南
Page 25

2020 年 10 月 快速安装指南
4.5.1
仅用于未覆盖探头的按钮式标定
先决条件
• 物位开关的安装与接线必须正确。
• 固体物料物位必须低于探头。
过程
1. 检查标定程序的步骤。
A.
未覆盖探头电容
B.
灵敏度
C.
转换点
D.
已覆盖探头电容
2. 确保固体物料不会覆盖探头。
快速安装指南
3. 设置灵敏度。
仅特定环境需要此操作。请参见按钮式标定指南。
使用快速启动菜单项 D 设置灵敏度。请参见快速启动菜单。
4.
按住 CAL(标定)按钮三秒钟。
标定启动时 LED 显示为红灯闪烁。
a) 等待大约 10 秒钟直至完成标定。
b) 而后显示屏将会指示实际测量电容以及表示未覆盖探头状态
的字母 u。
25
Page 26

快速安装指南 2020 年 10 月
需要帮忙?
如果显示 Code:
1. 请使用箭头按钮输入代码并使用 Menu(菜单)按钮确认。
2. 再次按住 CAL(标定)按钮 3 秒重启标定。
如果显示其他错误消息,请参阅维护和错误消息。
补充条件
罗斯蒙特 2555 现已完成标定,可随时对其进行组态。
26
快速安装指南
Page 27

2020 年 10 月 快速安装指南
4.5.2
用于未覆盖和已覆盖探头的按钮式标定
先决条件
• 物位开关的安装与接线必须正确。
• 固体物料物位必须低于探头。
过程
1. 检查标定程序的步骤。
A.
未覆盖探头电容
B.
灵敏度
C.
转换点
D.
已覆盖探头电容
2. 确保固体物料不会覆盖探头。
快速安装指南
3.
按住 CAL(标定)按钮三秒钟。
标定启动时 LED 显示为红灯闪烁。
a) 等待大约 10 秒钟直至完成标定。
b) 而后显示屏将会指示实际测量电容以及表示未覆盖探头状态
的字母 u。
4. 记录探头未被覆盖时显示的实际测量电容。
5. 记录探头被覆盖时显示的实际测量电容。
对于竖直安装(索式),固体物料必须覆盖探头 4 到 8in.(10 到
20cm)。
27
Page 28

快速安装指南 2020 年 10 月
6. 设置灵敏度。
计算未覆盖和已覆盖探头的电容差。
按照以下步骤设置灵敏度(快速启动菜单项 D):
水平 安装 竖直安装
(索式)
电容
(1)
灵敏度
(2)
电容
(1)
灵敏度
(3)
0.8 至 1.5pF
1.5 至 3pF
3 至 6pF
6 至 15pF
15 至 23pF
23 至 38pF
38 至 53pF
> 53pF 35pF > 35pF 35pF
未覆盖和已覆盖探头的电容差。
(1)
未覆盖和已覆盖的差别应该远超灵敏度设定,即约
(2)
由于电容 会随着固体物料上升而增加, 未覆盖和已覆盖的差别无
(3)
0.5pF
1pF
2pF
4pF
10pF
15pF
25pF
0.5 至 1.0pF
1.0 至 2pF
2 至 4pF
4 至 10pF
10 至 15pF
15 至 25pF
25 至 35pF
> 50%
需 超过灵敏度设置。
如果需要在不进行重新标定的情况下于同一容器中测量不同物料,
灵敏度必须按 DK 最低的物料设定。
需要帮忙?
如果显示 Code:
1. 请使用箭头按钮输入代码并使用 Menu(菜单)按钮确认。
2. 再次按住 CAL(标定)按钮 3 秒重启标定。
0.5pF
1pF
2pF
4pF
10pF
15pF
25pF
。
28
如果显示其他错误消息,请参阅维护和错误消息。
快速安装指南
Page 29

2020 年 10 月 快速安装指南
补充条件
罗斯蒙特 2555 现已完成标定,可随时对其进行组态。
4.6
重置首次通电标定
已标定的物位开关可被重置为进行一次新的通电标定。如果安装到另一筒
仓或发货前必须预组态时可能需要此操作。
重置步骤:
1. 按住 CAL(标定)按钮三秒钟。
2. 当显示屏上出现 CAL 时,关闭电压供电。
由于标定已开始,但未成功结束,它将在物位开关通电时自动再次开始进
行标定。
注
只有标定受到影响。菜单中的设置未改变。
4.7
4.8
最后一次有效标定值的数据存储
如果电源已关闭,将会存储最后一次有效标定值,且电源再次开启后仍然
有效。
手动功能测试(验证测试)
罗斯蒙特 2555 可以对内部电子部件和外部连接的信号评估进行自检。
先决条件
验证测试必须在测量模式下运行。
过程
1. 按住 TEST(测试)按钮三秒钟。
当测试开始时,显示屏显示 TEST。
2. 等待大约 20 秒钟直至完成测试。
测试期间,LED 会变为黄色,同时信号输出继电器出现 10 秒左右的
状态变化,然后恢复正常运行。
需要帮忙?
如果显示 Code:
1. 请使用箭头按钮输入代码并使用 Menu(菜单)按钮确认。
2. 再次按住 CAL(标定)按钮 3 秒重启标定。
若显示 ERR,请见维护和错误消息。
快速安装指南
29
Page 30

快速安装指南 2020 年 10 月
补充条件
罗斯蒙特 2555 现已完成标定,可随时对其进行组态。
4.9
高级菜单
注
显示菜单时 LED 将会呈现红灯闪烁。 如果在 5 分钟内未按下任何按钮,装
置将自动返回到测量模式。 所有更改的菜单设置会被保存。
表 4-4: 处于测量模式
当物位开关处于测量模式,按住 MENU(菜单)按钮 10 秒钟,以
进入 Advanced(高级)菜单。一直按住 MENU(菜单)按钮,即
使快速启动菜单(项目:A.FSx)在 3 秒后出现。
如果显示 Code,则需要使用锁定代码。使用箭头按钮、CAL
(标定)和 TEST(测试)按钮设置代码,然后使用 MENU(菜
单)按钮进行确认。接着,再次按住 MENU(菜单)按钮 10 秒钟
以进入 Advanced(高级)菜单。
在 Advanced(高级)菜单中时,按住 MENU(菜单)按钮 3 秒钟
以进入测量模式。
按 MENU(菜单)按钮不到 1 秒钟,可以储存新的设置并继续转
到下一个菜单项。
使用箭头按钮、CAL(标定)以及 TEST(测试)提高或降低设定
值。
4.9.1
30
自动重新标定
注
显示菜单时 LED 为红灯闪烁。
快速安装指南
Page 31

2020 年 10 月 快速安装指南
表 4-5: 自动重新标定菜单(高级菜单)
显示屏 说明 菜单项
(1)
F.
(1)
菜单项
OFF
(关
(2)
闭)
ON(开
启)
“F”
无效,而且如果手动标定(菜单项
自动重新标定为非覆盖探头
可以调试已装满的筒仓(已覆盖探头)。无法
通过已覆盖探头进行正确标定。筒仓变空(未
覆盖探头)后的解决方案是进行自动标定。
如需这么做,将自动标定设置为 ON(开启)并
使用覆盖探头进行按钮标定(按住 CAL(标
定)按钮 3 秒钟)。
当测量的电容为灵敏度设置(菜单项 D)的
50% 而且持续超过两分钟时,物位开关将重新
标定(作为未覆盖探头)。
若有过多固体物料堆积,不要设置为 ON(开
启),,因为堆积物料可能降低测量的电容,
导致标定错误。
“G”
)设为
。
“ON”
(开启),将
不会在显示器上显示。
(2)
工厂默认设置。
4.9.2
手动标定
注
显示菜单时 LED 将会呈现红灯闪烁。
表 4-6: 手动标定菜单(高级菜单)
显示屏 说明 菜单项
G. OFF
(关
闭)
ON(开
启)
H. LO
HI
(1)
(1)
低
高
手动标定开启/关闭
若设置为 ON(开启):
• 菜单项 H、K 和 L 将会出现。
• 菜单项 D(快速启动菜单)和 F(自动重新
• 不可能进行按钮式标定(如果按下 CAL(标
灵敏度
低灵敏度范围允许检测 ≥ 2pF 的电容变化。
高灵敏度范围允许检测 ≥ 0.5pF 的电容变化。
另请参见 手动标定指南
。
标定)将失效并隐藏。
定)按钮,显示屏显示 G.ON)。
范围。
快速安装指南
31
Page 32

快速安装指南 2020 年 10 月
表 4-6: 手动标定菜单(高级菜单) (续)
显示屏 说明 菜单项
K。 *** pF
L。 *** pF
已覆盖转为未覆盖的转换点
A.
未覆盖探头电容
B.
迟滞(菜单项 L)
C.
已覆盖转为未覆盖的转换点(菜单项
D.
未覆盖转为已覆盖的转换点
E.
已覆盖探头电容
出厂设置的最低 pF 值为 3pF。
分辨率为 0.1pF (< 100pF) 或 0.5pF (> 100pF)。
如果值 > 100pF,数字后的小数点表示 0.5pF
(例如,100. 表示 100.5pF)。
“K”
迟滞
可调整迟滞以降低信号输出的最小常数。 当固
体物料移动造成电容测量不稳定时,可以进行
此操作。
最小值(出厂设置)为 0.5/0.2pF(分别对应低/
高灵敏度)。
最大值受最大可测量电容限制。
关于分辨率,参见菜单项 K。
)
(1)
出厂默认设置。
32
快速安装指南
Page 33

2020 年 10 月 快速安装指南
4.9.3
诊断
注
显示菜单时 LED 为红灯闪烁。
表 4-7: 诊断菜单(高级菜单)
显示屏 说明 菜单项
M.
N. *** pF
P.
Q.
R. *** °C
S. ***
T. ***
ON(开
(1)
启)
OFF
(关
闭)
*** pF
*** °C
自动功能测试。
此功能将自动测试内部电子部件。测试将在后
台运行,不影响正常测量功能。
如果检测到故障:
• 显示器将显示 ERR。请参见表 5-1。
• LED 变为红灯并开始闪烁。
• 状态输出继电器已断电。
自动标定转换点(已覆盖转为未覆盖)。
如果显示 OR 或 UR,则没有有效标定。
请参见故障排除。
自动标定转换点(未覆盖转为已覆盖)。
如果显示 OR 或 UR,则没有有效标定。
请参见故障排除。
最低已储存电子部件温度
最高已储存电子部件温度
软件版本
服务数据
此制造商数据供艾默生使用,不在本手册中说
明。
(1)
快速安装指南
工厂默认设置。
33
Page 34

快速安装指南 2020 年 10 月
4.9.4
4.10
安全和恢复出厂设置
注
显示菜单时 LED 为红灯闪烁。
表 4-8: 安全和恢复出厂设置菜单(高级菜单)
显示屏 说明 菜单项
V. ***
锁定代码。
可设置锁定代码以防止未经授权的人员访问菜
单系统、开始按钮式标定或进行手动功能测试
(验证测试)。
锁定代码可以是 1 到 9999 的任一数字。
000 锁定代码将禁用密码保护。
如果已设置但忘记锁定代码,请联系艾默生。
W. NO
(1)
工厂默认设置。
(否)
1)
YES
(是)
(
恢复出厂设置。
此操作会将所有用户输入的数据重设为出厂默
认值。物位开关自动开始标定。
手动标定指南
对于特殊目的,建议使用手动标定。
34
仅标定未覆盖探头
此为最简单的方法,因此建议使用。它适用于较高 DK 值,将会产生更高的
未覆盖和已覆盖探头电容变化。 必须知道固体物料的 DK 值以设定灵敏度
范围以及转换点的增加。
有关标定程序,参见首次通电(标定)。
标定未覆盖和已覆盖探头
此方法最安全,因为它将转换点设为未覆盖和已覆盖探头电容的中值。它
同时确保了未覆盖和已覆盖探头电容的最大转换间隔,并有助于防止物料
积聚。
对于 DK 值较低的物料以及因此产生已覆盖和未覆盖状态的较小电容差,建
议使用此方法。 必须大致知道 DK 值以便设定灵敏度范围。
有关标定程序,参见首次通电(标定)。
快速安装指南
Page 35

2020 年 10 月 快速安装指南
表 4-9: 手动标定指南
4.10.1
DK
< 1.5
1.5 至 1.6 高
1.7 至 1.9 高 推荐值
2.0 至 2.9 低 推荐值
3.0 至 4.9 低 推荐值
5.0 至 10 低 推荐值
> 10
灵敏度范围 标定:
仅未覆盖探头
- - - -
- -
低 推荐值
未覆盖探头的手动标定
先决条件
• 物位开关的安装与接线必须正确。
• 固体物料物位必须低于探头。
• 信号输出继电器必须设定为 0.5 秒。
过程
1. 检查标定程序的步骤。
提高至转换点标定:
未覆盖和已
覆盖探头
必需
+1pF
+2pF
+4pF
+10pF
+15pF
可能
可能
可能
可能
可能
2. 确保固体物料物位远低于探头。
快速安装指南
A.
未覆盖探头电容
B.
提高至转换点
C.
已覆盖转为未覆盖探头的转换点
D.
迟滞
E.
未覆盖转为已覆盖探头的转换点
F.
已覆盖探头电容
35
Page 36

快速安装指南 2020 年 10 月
3. 设置灵敏度。
根据待测量物料检查所需灵敏度范围(低或高)。使用标定指南。
请参见手动标定指南。
使用 Advanced(高级) 菜单项 H 设定灵敏度。请参见高级菜单。
4. 确定未覆盖探头的电容。
a) 导航至 Advanced(高级)菜单中的 K 菜单项。
b) 从最低电容(出厂设置为 3pF)开始增加显示电容,直至输
出刚好从已覆盖变为未覆盖状态。
测量模式会显示实际测量的电容。它会提示从已覆盖变为未覆盖的
输出的电容。
如果输出曾被更改为未覆盖,后又改回已覆盖,则必须通过设置
Hysteresis(迟滞)(L 菜单项)来降低值。
4.10.2
36
5. 设定已覆盖转为未覆盖的转换点。
使用 Advanced(高级)菜单中的项目 K,将转换点设置为以确定的
未覆盖探头电容 + 提高到转换点。请参见高级菜单。
6. 设置 Hysteresis(迟滞)。
使用 Advanced(高级)菜单项 L 设置迟滞。一般出厂设置就足够
了,不需要更改。
需要帮忙?
如果实际测量电容接近电子部件可以测量的限值【灵敏度设定为 Low
(低)时的 400pF 或灵敏度设定为 High(高)时的 100pF】。请参见维护
和错误消息。
补充条件
罗斯蒙特 2555 现已完成标定,可随时被使用。
未覆盖和已覆盖探头的手动标定
先决条件
• 物位开关的安装与接线必须正确。
快速安装指南
Page 37

2020 年 10 月 快速安装指南
• 固体物料物位必须低于探头。
• 手动标定必须被设置为 ON(开启)(Advanced(高级)菜单项 K)
过程
1. 检查标定程序的步骤。
A.
未覆盖探头电容
B.
已覆盖转为未覆盖探头的转换点
C.
迟滞
D.
未覆盖转为已覆盖探头的转换点
E.
已覆盖探头电容
2. 设置灵敏度。
根据待测量物料检查所需灵敏度范围(低或高)。使用标定指南。
请参见手动标定指南。
使用 Advanced(高级) 菜单项 H 设定灵敏度。请参见高级菜单。
快速安装指南
3. 记录探头未被覆盖时显示的实际测量电容。
4. 记录探头被覆盖时显示的实际测量电容。
对于垂直安装(索式),固体物料必须覆盖探头 4 到 8in.(10 到
20cm)。
37
Page 38

快速安装指南 2020 年 10 月
5. 设定已覆盖转为未覆盖的转换点。
使用 Advanced(高级)菜单项 K 将转换点设置为:
(电容
(0.5 * (电容
未覆盖
+
已覆盖
- 电容
未覆盖
))
具有低灵敏度范围(Advanced(高级)菜单中的项目 H):若未覆
盖和已覆盖探头之间的差异小于 4pF,设置为 High(高)灵敏度或
使用更灵敏的探头(更长的有源探头)。对于索式,只能设置为
High(高)灵敏度范围。
具有高灵敏度范围(Advanced(高级)菜单中的项目 H):如果未
覆盖和已覆盖探头的差小于 1pF,请使用更灵敏的探头(更长的有
源探头)。对于索式,请致电工厂。
6. 设置 Hysteresis(迟滞)。
使用 Advanced(高级)菜单项 L 设置迟滞。一般出厂设置就足够
了,不需要更改。
需要帮忙?
如果实际测量电容接近电子部件可以测量的限值【灵敏度设定为 Low
(低)时的 400pF 或灵敏度设定为 High(高)时的 100pF】。请参见维护
和错误消息。
补充条件
罗斯蒙特 2555 现已完成标定,可随时对其进行组态。
38
快速安装指南
Page 39

2020 年 10 月 快速安装指南
5
5.1
故障排除
维护和错误消息
物位开关处于测试模式而且在例行标定期间显示错误消息。
表 5-1: 处于测量模式
显示屏
UR
或 红灯闪烁 超过范围
ERR
LED
红灯闪烁 低于范围
红灯常亮 自动或手动功能测试错误电子部件故障。
说明 可能原因和解决方法
探头出现故障或接线
实际测量电容低于
3pF。
在将灵敏度从≥ 2pF
更改为 ≤ 1pF 之后。
错误。
信号输出继电器已断
电。
实际的标定电容高于
100pF 而且无法在灵
敏度设置 ≤ 1pF 时被
测量。更改为 2pF 的
灵敏度(如果物料的
DK 足够高)或重新
标定。
更换电子部件。
输出信号继电器已断
电。
快速安装指南
39
Page 40

快速安装指南 2020 年 10 月
表 5-2: 通电或按钮式标定期间
显示屏
UR
或 红灯闪烁 超过范围。
G.ON
LED
红灯闪烁 低于范围
红灯闪烁 按下 CAL(标定)按
说明 可能原因和解决方法
实际测量电容低于
3pF。
无法标定。
实际的测量电容高于
400pF(灵敏度设置
≥ 2pF)或 100pF(灵
敏度设置 ≤ 1pF)。
无法标定。
钮,且手动标定设置
为 ON(开启)。无
法使用按钮启动标
定。
表 5-3: 手动标定期间
显示屏
(1)
100
(2)
400
LED
黄灯或绿灯 灵敏度范围设定为
黄灯或绿灯 灵敏度范围设定为
说明 可能原因和解决方法
高。
实际测量电容接近或
高于 100pF(取决于
电子元件兼容性)。
无法标定。
低。
实际测量电容接近或
高于 400pF(取决于
电子元件兼容性)。
无法标定。
探头出现故障或接线
错误。
信号输出继电器已断
电。
空仓内的长索式可能
超过 100pF 电容。若
物料的 DK 足够高,
将灵敏度设置更改至
2pF。
探头可能被物料覆
盖。确保探头没有被
覆盖。
探头可能存在故障或
接线错误。
当按钮被用于开始标
定时,将手动标定设
置为 OFF(关闭)。
空仓内的长索式可能
超过 100pF 电容。若
物料的 DK 足够高,
将灵敏度范围更改至
Low(低)。
探头可能被物料覆
盖。确保探头未被覆
盖。
探头可能存在故障或
接线错误。
探头可能被物料覆
盖。确保探头没有被
覆盖。
探头可能存在故障或
接线错误。
40
(1)
显示器显示为
(2)
显示器显示为
100
400
或接近
或接近
100
400
。
。
快速安装指南
Page 41

2020 年 10 月 快速安装指南
5.2
通用项
表 5-4: 通用项
情形 电子部件反应 可能的原因 可行的解决方案
信号输出状态为
“探头已覆盖”,即
使固体物料低于探
头。
实际测量电容
于标定的转换
(2)
点。
代表从未覆
盖到已覆盖探头状
态的改变。
即使固体物料高于
探头,信号输出状
态仍为‘探头未被覆
盖’。
实际测量电容
于标定的转换
(4)
点。
代表从已覆
盖到未覆盖探头状
态的改变。
(1)
可在测量模式中的显示屏上看到相关值。
(2)
可在
(3)
见标定指南。
(4)
可在
Advanced
Advanced
(高级)菜单项
(高级)菜单项
(1)
大
物位开关未被正确
重新标定。
标定。
有源探头上积聚了
过多物料。
增加与壁之间的距
离(更长的无源长
度)。
变更安装位置。
以更低的灵敏度进
行重新标定
故障或探头接线错误。检查探头接线(如
下)。
(3)
小
完成已覆盖探头的
重新标定
标定。
标定时的灵敏度过低。以更高的灵敏度进
行重新标定
增加有源探头长度
并重新标定
故障或探头接线错误。检查探头接线(如
下)。
P
中看到相关值。
N
中看到相关值。
(3)
(3)
(3)
。
(3)
(3)
。
。
。
快速安装指南
41
Page 42

快速安装指南 2020 年 10 月
5.3
检查探头接线。
先决条件
物位开关的电源必须关闭。
过程
1. 清理探头上的沉积物。
2.
取出电子装置板并断开内部接线。
3. 使用万用表检查橘色、黄色,和绿色/黄色接线。
A.
橘线(探头)和黄线(屏蔽)
B.绿/
黄线(接地)
C.
接地
D.
屏蔽
E.
探头
42
以下必须低于 5Ω:
• 橘线和探头
• 黄线和屏蔽
• 绿/黄线和接地
以下必须高于 1MΩ 电阻:
• 橘线和黄线
• 橘线和绿/黄线
如果有其他值,则探头的接线错误或有缺陷。
快速安装指南
Page 43

2020 年 10 月 快速安装指南
6
6.1
6.2
6.3
维护
打开盖子(罩)
出于维护原因打开盖子之前,请考虑以下各项:
• 危险区域中,电路带电时切勿取下盖子。
• 确保不存在积尘或悬浮灰尘。
• 确保雨水不会进入壳体。
常规安全检查
为了确保在危险场所中的可靠安全性以及电气安全性
检查下列各项:
• 现场接线电缆或任何其他组件(壳体侧和传感器侧) 的机械损坏或腐
蚀。
• 过程连接、电缆格兰和外壳盖严实密封。
• 正确连接外部 PE 电缆(如果存在)。
清洁
如果应用要求进行清洁,必须遵循下面的要求:
• 清洁剂必须与设备材质兼容(耐化学性)。主要是, 必须考虑到轴
封、盖封、电缆格兰和设备表面。
,必须根据应用 定期
完成清洁过程的方式必须符合下列要求:
• 清洁剂不能通过轴封、盖封或电缆格兰进入 设备。
• 轴封、盖封、电缆格兰或其他部件不能受到机械 损坏。
注
外壳上积聚的灰尘不会使表面的温度升高。但是,可以使用湿布安全地去
擦除灰尘。切勿使用干布,因为它可能会导致静电放电。请参阅罗斯蒙特
2555 产品认证文档,了解危险区域(分类场所)应用中的最高表面温度。
6.4
6.5
快速安装指南
功能测试
根据应用,可能需要经常进行功能测试。有关详细信息,请参阅 手动功能
测试(验证测试)。
生产日期
生产年份显示在铭牌上。
43
Page 44

快速安装指南 2020 年 10 月
6.6
备件
请参阅罗斯蒙特 2555 产品数据表以了解所有备件的信息。
44
快速安装指南
Page 45

2020 年 10 月 快速安装指南
快速安装指南
45
Page 46

快速安装指南 2020 年 10 月
46
快速安装指南
Page 47

2020 年 10 月 快速安装指南
快速安装指南
47
Page 48

*00825-0106-2555*
00825-0106-2555, Rev. AC
快速安装指南
2020 年 10 月
上海办事处
上海市浦东金桥出口
加工区新金桥路 1277 号
电话:021 – 2892 9000
传真:021 – 2892 9001
邮编:201206
广州分公司
广州市天河区珠江东路
32 号利通广场 8 层 03,04 单元
电话:020 – 2883 8900
传真:020 – 2883 8901
邮编:510030
成都分公司
成都市科华北路 62 号
力宝大厦 S-10-10
电话:028 – 6235 0188
传真:028 – 6235 0199
邮编:610041
关注官方微信
北京办事处
北京市朝北京市朝阳区酒仙桥路 10 号
恒通商务园 B10 座 4 层
电话:010 - 8572 6666
传真:010 – 8572 6888
邮编:100015
西安分公司
西安市高新区锦业一路 34 号
西安软件园研发大厦 9 层
电话:029 – 8865 0888
传真:029 – 8865 0899
邮编:710065
北京远东罗斯蒙特仪表有限公司
北京市大兴区经济开发区前高米店
盛坊路 2 号
电话:010 - 5865 2666
传真:010 - 6420 0619
邮编:102600
©
2020 艾默生。 保留所有权利。
艾默生销售条款和条件可应要求提供。 Emerson
徽标是艾默生电气公司的商标和服务标志。
Rosemount 是艾默生公司集团旗下公司的标志。
所有其他标志归其各自所有者所有。