
I l l u s t r a t e d P a r t s
Order by Part Number
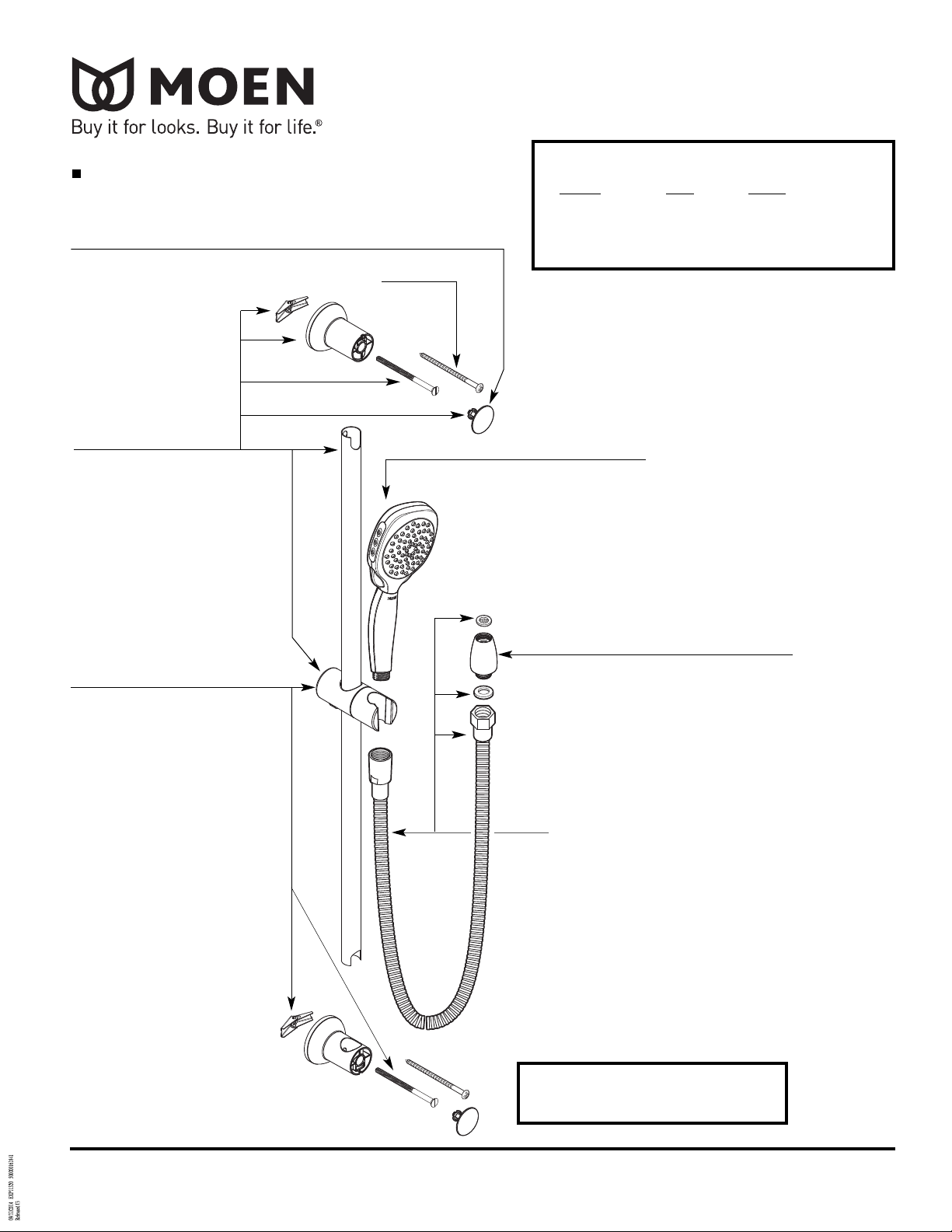
Plug Button
146670 Chrome
146670BN Brushed Nickel
146670ORB Oil Rubbed Bronze
Slidebar
(includes brackets, bar and slider)
A735 Chrome
A735BN Brushed Nickel
A735ORB Oil Rubbed Bronze
Four Function Handshower
MODEL TYPE FINISH
S3870EP Wand Chrome
S3870EPBN Wand Brushed Nickel
S3870EPORB Wand Oil Rubbed Bronze
Wood Screw
137035
or
HandShower (2.0 GPM)
160042 Chrome
160042BN Brushed Nickel
160042ORB Oil Rubbed Bronze
Slider
137034 Chrome
137034BN Brushed Nickel
137034ORB Oil Rubbed Bronze
or
Vacuum Breaker (Include with models prior to 7/15/14)
A714 Chrome
A714ST (Used with Satine
and Brushed Nickel)
A714ORB Oil Rubbed Bronze
Hose
A726 Chrome
A726ST (Used with Satine
and Brushed Nickel)
A726BR (Used with Oil Rubbed Bronze
and Wrought Iron)
Optional Service Kit
A750 Secure Mount (mounting hardware)
Rev. 8/14
TO ORDER PARTS CALL: 1-800-BUY-MOEN
www.moen.com