Page 1

LenovoS500z
Používateľskápríručka
Typypočítačov:10HCa10K3
Page 2

Poznámka:Predpoužitímtýchtoinformáciíaproduktu,prektorýsúurčené,sinajskôrpozorneprečítajte
tietoinformácie:„Akoprvésiprečítajtedôležitébezpečnostnéinformácie“nastránkeiii
aPrílohaF
„Vyhlásenia“nastránke87.
Štvrtévydanie(máj2016)
©CopyrightLenovo2015,2016.
VYHLÁSENIEOOBMEDZENÝCHPRÁVACH:AksaúdajealebosoftvérdodávajúpodľazmluvyGSA(GeneralServices
Administration),potompoužívanie,kopírovanieazverejneniepodliehajúobmedzeniamdefinovanýmvzmluvečíslo
GS-35F-05925.
Page 3

Obsah
Akoprvésiprečítajtedôležité
bezpečnostnéinformácie.......iii
Predtýmakopoužijetetútopríručku.......iii
Servisaaktualizácie.............iii
Ochranapredstatickouelektrinou........iv
Napájaciekábleanapájacieadaptéry......iv
Predlžovaciekábleasúvisiacezariadenia.....v
Zástrčkyazásuvky..............v
Externézariadenia..............v
Teploaventiláciaproduktu...........v
Prevádzkovéprostredie............vi
Vyhlásenieolaseri..............vi
Vyhlásenieprezdrojnapájania........vii
Čistenieaúdržba.............vii
Upozornenietýkajúcesasklenenýchčastí....vii
Informácieozabránenírizikuprevrátenia....vii
Kapitola1.Prehľadproduktu.....1
Umiestneniehardvéru.............1
Pohľadspredu..............1
Pohľadzozadu..............2
Komponentypočítača...........3
Dielcenasystémovejdoske.........5
Umiestnenieštítkastypomamodelom
počítača................6
Vlastnosti..................6
Špecifikácie.................9
Programy..................9
Získanieprístupukprogramuvpočítači....9
Predstavenieprogramovodspoločnosti
Lenovo................10
Pripojenieksieti..............20
PripojeniekethernetovejsietiLAN.....20
PripojeniekbezdrôtovejsietiLAN.....20
PripojeniekzariadeniuBluetooth.....20
Používaniejednodotykovejaleboviacdotykovej
funkcie..................21
Kapitola3.Vyavášpočítač.....23
Usporiadaniepracovnéhopriestoru......23
Odleskyaosvetlenie..........23
Cirkuláciavzduchu...........23
Umiestnenieelektrickýchzásuviekadĺžky
káblov................23
Komfort...............23
Informácieozjednodušeníovládania......24
Čisteniepočítača..............27
Údržba..................27
Základnéradypreúdržbu........27
Odporúčanépostupyúdržby.......28
Udržiavaniepočítačavaktualizovanom
stave.................28
Premiestneniepočítača...........29
Kapitola4.Bezpečnosť.......31
Zamknutiepočítača.............31
Pripojeniekáblovéhozámkutypu
Kensington..............31
Zobrazenieazmenanastavenízabezpečeniav
programeSetupUtility...........32
Zabránenieneoprávnenémuprístupukpočítaču.32
Ochranaúdajovpredvírusmi.........32
SoftvérComputraceAgentvofirmvéri.....32
Kapitola2.Používaniepočítača...13
Nastaveniestojanapočítača.........13
Nastavenierámovéhostojana.......14
Prispôsobeniestojanamonitora......14
NastaveniestojanaUltraFlexII.......15
Registráciapočítača............17
Nastaveniehlasitostipočítača.........17
Pridanieikonydooblastioznámenísystému
Windows.................18
Používaniedisku..............18
Pokynynapoužívanieoptickejjednotky...18
Správnezaobchádzaniesdiskamiaich
skladovanie..............18
Prehrávanieavyberaniedisku.......19
Zápisnadisk.............19
©CopyrightLenovo2015,2016
Kapitola5.Rozšírenákonfigurácia.33
PoužívanieprogramuSetupUtility.......33
SpustenieprogramuSetupUtility.....33
Povoleniealebozakázaniezariadenia....33
Zapnutiealebovypnutiefunkciíautomatického
zapnutia...............33
Zapnutiealebovypnutierežimukompatibility
sostavomLPSpodľasmerniceErP....34
Zapnutiealebovypnutiefunkciezisťovania
zmenykonfigurácie...........34
PoužívaniehesielsystémuBIOS......35
Výberspúšťaciehozariadenia.......36
UkončenieprogramuSetupUtility.....37
AktualizáciasystémuBIOS..........37
i
Page 4

Kapitola6.Riešenieproblémov,
diagnostikaaobnova.........39
Základnýpostuppririešeníproblémovs
počítačom................39
Riešenieproblémov.............39
Problémysospustením.........39
Problémysozvukom..........40
ProblémysdiskamiCD.........41
ProblémysdiskamiDVD.........41
Bezprostrednevzniknutéproblémy.....42
Problémysukladacoujednotkou......42
Problémysobrazovkou.........43
Problémysosieťovýmpripojením.....44
Problémysvýkonom..........46
Niejemožnézískaťprístupksériovému
konektoru...............47
ProblémysozariadenímUSB.......47
Problémysosoftvéromaovládačmi....48
Diagnostika................48
LenovoSolutionCenter.........49
Informácieoobnove............49
InformácieoobnovepresystémWindows7.49
InformácieoobnovepresystémWindows
10..................50
Kapitola7.Inštaláciaalebovýmena
hardvéru................53
Zaobchádzaniesozariadeniamicitlivýmina
statickúelektrinu..............53
Inštaláciaalebovýmenahardvéru.......53
Inštaláciaexternýchvoliteľných
komponentov.............53
Výmenastojanapočítača.........54
Odstráneniekrytupočítača........58
Výmena2,5-palcovejukladacejjednotky..59
Výmenaoptickejjednotky........61
Výmenatieniacehokrytusystémovejdosky.62
Výmenapamäťovéhomodulu.......63
Výmenagombíkovejbatérie........64
VýmenakartyM.2Wi-Fi.........65
Dokončenievýmenydielcov.......67
Bezpečnosťazáruka..........69
WeboválokalitaspoločnostiLenovo....69
Weboválokalitapodporyspoločnosti
Lenovo................70
Najčastejšieotázky...........70
Pomocaservis..............70
Žiadosťoservis............70
Nákupďalšíchslužieb..........71
PrílohaA.Regulačnéinformácie...73
Vyhlásenieoklasifikáciipreexport.......73
Poznámkyoelektronickýchemisiách......73
DeklaráciasúladusnormouFederal
CommunicationsCommission(FCC)....73
Euroázijskáznačkazhody..........75
VyhlásenieozvukupreBrazíliu........75
Informácieosúladespožiadavkaminabezdrôtové
rádiopreMexiko..............75
UpozornenietýkajúcesazrakupreTaiwan....76
Ďalšieregulačnéinformácie.........76
PrílohaB.Informácieozariadeniach
WEEEarecyklácii...........77
DôležitéinformácieozariadeniachWEEE....77
InformácieorecykláciipreJaponsko......78
InformácieorecykláciipreBrazíliu.......78
InformácieorecykláciibatériípreTaiwan....78
InformácieorecykláciibatériípreEurópskuúniu.79
PrílohaC.Smernicaoobmedzení
používaniaurčitýchnebezpečných
látok(RoHS)..............81
VyhlásenieosmerniciRoHSpreEurópskuúniu..81
VyhlásenieosmerniciRoHSpreT urecko....81
VyhlásenieosmerniciRoHSpreUkrajinu....81
VyhlásenieosmerniciRoHSpreIndiu.....81
VyhlásenieosmerniciRoHSpreČínu......82
VyhlásenieosmerniciRoHSpreT aiwan.....82
PrílohaD.Energetickýštítokpre
Činu..................83
Kapitola8.Získavanieinformácií,
pomociaservisu...........69
Zdrojeinformácií..............69
Zobrazeniepoužívateľskejpríručkyvrôznych
jazykoch...............69
PomocníksystémuWindows.......69
iiLenovoS500zPoužívateľskápríručka
PrílohaE.Informácieomodeli
ENERGYSTAR............85
PrílohaF .Vyhlásenia.........87
Ochrannéznámky.............88
Page 5

Akoprvésiprečítajtedôležitébezpečnostnéinformácie
VÝSTRAHA:
Predpoužitímpočítačasiprečítajtevšetkysúvisiacebezpečnostnéinformáciepretentoprodukt.
PrečítajtesibezpečnostnéinformácievtejtočastiavPríručkeobezpečnostiazárukách,ktorása
dodávasproduktom.Dodržiavanievšetkýchtýchtobezpečnostnýchinformáciíznižujerizikozranenia
osôbapoškodeniaproduktu.AkužnemátekópiuPríručkyobezpečnostiazárukách,jejverziavo
formátePDF(PortableDocumentFormat)sanachádzanawebovejlokalitepodporyspoločnosti
Lenovo
Predtýmakopoužijetetútopríručku
VÝSTRAHA:
Predtýmakopoužijetetútopríručkusiprečítajtevšetkysúvisiacebezpečnostnéinformáciepretento
produkt.PrečítajtesiinformácievtejtočastiabezpečnostnéinformácievPríručkeobezpečnostia
zárukách,ktorásadodávasproduktom.Dodržiavanietýchtobezpečnostnýchpokynovznižujeriziko
zraneniaosôbapoškodeniaproduktu.
®
naadresehttp://www.lenovo.com/UserManuals.
AkužnemátekópiuPríručkyobezpečnostiazárukách,jejverziavoformátePDF(Portable
DocumentFormat)sanachádzanawebovejlokalitepodporyspoločnostiLenovo
http://www.lenovo.com/UserManuals.
®
naadrese
Servisaaktualizácie
Zariadeniesanepokúšajteopravovaťsvojpomocne,kýmnatonedostanetepokynodCentrapodpory
zákazníkovalebozdokumentácieproduktu.Naopravuproduktuvyužívajteibaposkytovateľaservisu,ktorý
jeautorizovanýnaopravupríslušnéhoproduktu.
Poznámka:Niektorédielcepočítačamôžeinovovaťalebovymeniťzákazník.Rozšíreniasazvyčajne
nazývajúvoliteľnépríslušenstvo.Dielce,ktorýchvýmenujeoprávnenývykonaťzákazník,sanazývajúdielce
vymeniteľnézákazníkomalebodielceCRU.SpoločnosťLenovoposkytujedokumentáciuspokynmina
inštaláciutýchtodielcov,akjevhodné,abysitietodielcevymieňalisamizákazníci.Privýmenealebo
inštaláciidielcovmusítepresnedodržaťvšetkypokyny.Keďindikátornapájaniasignalizujevypnutýstav,
neznamenáto,ževproduktejenulováúroveňnapätia.Skôrakoodstránitekrytyproduktu,ktorýjevybavený
napájacímkáblom,presvedčtesa,čijevypnutýaodpojenýodzdrojanapájania.Vprípadeakýchkoľvek
otázokalebopripomienokkontaktujteCentrumpodporyzákazníkov.
Ajkeďsavpočítačipoodpojenínapájaciehokáblaodzdrojanapájanianenachádzajúžiadnepohyblivé
dielce,kvôlizvýšeniuvašejbezpečnostibertenavedomienasledujúcevarovania.
VÝSTRAHA:
Nebezpečnépohyblivésúčasti.Dbajtenato,abyprstyainéčastitelaboliodnichdostatočne
vzdialené.
©CopyrightLenovo2015,2016
iii
Page 6

VÝSTRAHA:
Skôrnežotvorítekrytpočítača,vypnitepočítačapočkajteniekoľkominút,kýmpočítačnevychladne.
Ochranapredstatickouelektrinou
Hocijestatickáelektrinaprečlovekaneškodná,môževážnepoškodiťkomponentyadielcepočítača.
Nesprávnezaobchádzaniesdielcamicitlivýminastatickúelektrinumôževiesťkichpoškodeniu.Povybalení
produktualebodielcaCRUneotvárajtejehoantistatickýobal,kýmváminštrukcieneprikážujehoinštaláciu.
PrimanipuláciisozariadeniamialebodielcamiCRU,alebopriprácivovnútripočítačasariaďtenasledujúcimi
pokynmi,abystesavyhlipoškodeniuspôsobenémustatickouelektrinou:
•Obmedztesvojpohyb.Pohybmôžespôsobiťvznikstatickejelektrinyvovašomokolí.
•Skomponentmipočítačazaobchádzajtevždyopatrne.Adaptéry,pamäťovémodulyaplošnéspojedržte
vždyzaokraje.Nikdysanedotýkajtenechránenýchobvodov.
•Zabráňteiným,abysadotýkalikomponentovpočítača.
•SkôrakonainštalujetekomponentalebodielecCRUcitlivýnastatickúelektrinu,dotknitesaantistatickým
ochrannýmobalomproduktukovovéhokryturozširujúcehoslotualeboinéhonenatretéhokovového
povrchunapočítačiaspoňnadvesekundy.Znížisatýmstatickáelektrinanaobaleanavašomtele.
•Akjetomožné,dieleccitlivýnastatickúelektrinuvybertezantistatickéhoobaluanainštalujtehobez
toho,abystehopoložili.Aktoniejemožné,položteantistatickýochrannýobalnahladkú,rovnúplochua
položtetentodielecnaantistatickýochrannýobal.
•Neklaďtetentodielecnakrytpočítačaaninainúkovovúplochu.
Napájaciekábleanapájacieadaptéry
Používajtelennapájaciekábleaadaptérydodávanévýrobcomproduktu.Napájacíkábelnepoužívajtes
inýmizariadeniami.
Používajtelennapájaciekáblevyhovujúcebezpečnostnýmnormám.VNemeckupoužitetypH03VV-F,3G,
0,75mm
pripojenýkinternémuzdrojunapájania)alebolepší.Vinýchkrajináchpoužitevhodnétypy.
Nikdyneomotávajtenapájacíkábelokolonapájaciehoadaptéraaniinéhoobjektu.Môžetospôsobiť
prasknutiealebozvlneniekáblaatýmzníženiebezpečnosti.
Napájaciekábleumiestnitetak,abysaponichnechodilo,abynehrozilorizikozakopnutiaotietokáble
aabynebolipritlačenéinýmiobjektmi.
Napájaciekábleazdrojechráňtepredtekutinami.Nenechávajtenapríkladnapájacíkábelaniadaptérv
blízkostiumývadla,vane,toaletyaninadlážke,ktoráječistenátekutýmičistiacimiprostriedkami.T ekutiny
môžuzapríčiniťskrat,hlavneakbolnapájacíkábelaleboadaptérpoškodenýnesprávnympoužívaním.
Tekutinymôžutiežzapríčiniťpostupnúkoróziukoncovkynapájaciehokáblaalebokoncovkykonektora
napájaciehoadaptéra,ktorámôžespôsobiťprehriatie.
Skontrolujte,čisúvšetkykonektorynapájaciehokáblabezpečneapevnezapojené.
Nepoužívajtenapájacieadaptéry,ktorénesúznakykorózienakolíkochvstupunapájaniaaleboznaky
prehriatia(napríkladdeformovanýplast)navstupenapájaniaaleboinýchčastiachadaptéra.
2
(napájacíkábelpripojenýknapájaciemuadaptéru),H05VV-F,3G,0,75mm
2
(napájacíkábel
ivLenovoS500zPoužívateľskápríručka
Page 7

Nepoužívajtežiadnenapájaciekáble,ktorýchkoncovkysúpoškodenékorózioualeboprehriatím,aani
žiadneinakpoškodenékáble.
Predlžovaciekábleasúvisiacezariadenia
Uistitesa,žepredlžovaciekáble,odrušovače,neprerušiteľnézdrojenapájaniaazásuvky,ktorépoužívate,
spĺňajúelektricképožiadavkyproduktu.Nikdynevystavujtetietozariadenianadmernémuzaťaženiu.Ak
používatepredlžovaciekáblesviacerýmizásuvkami,zaťaženiebynemaloprekročiťvstupnúhodnotupre
tentokábel.Ďalšieinformácieozaťažiteľnosti,napäťovýchpožiadavkáchavstupnomvýkonevámposkytne
elektrikár.
Zástrčkyazásuvky
Akjezásuvka,ktorúchcetepoužiťnazapojeniepočítačadoelektrickejsiete,poškodenáaleboskorodovaná,
dajtejuvymeniťkvalifikovanýmelektrikárom.
Neohýbajteanineupravujtezástrčku.Akjezástrčkapoškodená,získajteodvýrobcujejnáhradu.
Nezdieľajteelektrickúzásuvkusinýmidomácimianikomerčnýmizariadeniami,ktorémajúvysokúspotrebu
elektrickejenergie.Nestabilnénapätiebymohlopoškodiťpočítač,údajealebopripojenézariadenia.
Niektoréproduktysúvybavenétrojžilovouzástrčkou.Tátozástrčkajeurčenánapoužitielensuzemnenou
elektrickouzásuvkou.Jetobezpečnostnávlastnosť.Neruštetútobezpečnostnúvlastnosťpokusomo
zasunutiezástrčkydoneuzemnenejzásuvky.Aknemôžetezasunúťzástrčkudozásuvky,kontaktujte
elektrikáraapožiadajteovhodnýadaptérdozásuvkyaleboovýmenuzásuvkyzatakú,ktoráumožňujetúto
bezpečnostnúvlastnosť.Nikdynepreťažujteelektrickúzásuvku.Celkovézaťaženiesystémubynemalo
prekročiť80percenthodnotyvetvyelektrickéhoobvodu.Ďalšieinformácieozaťažiteľnostiamenovitom
výkonevetvyobvoduvámposkytneelektrikár.
Uistitesa,žeelektrickázásuvka,ktorúpoužívate,jesprávnezapojená,ľahkodostupnáanachádzasav
blízkostizariadenia.Napájaciekáblebynemalibyťnapnuté.
Skontrolujte,čielektrickázásuvkaposkytujesprávnenapätieaprúdpreprodukt,ktorýinštalujete.
Pripripájaníaodpájanízariadeniaodelektrickejzásuvkypostupujteopatrne.
Externézariadenia
Keďjepočítačzapnutý,nepripájajteanineodpájajtežiadnekábleexternýchzariadeníinéakoUSB(Universal
SerialBus),pretožebystemohlipoškodiťpočítač.Predodpojenímexternýchzariadenípočkajtepovypnutí
počítačaminimálnepäťsekúnd,abystepredišlipoškodeniupripojenýchzariadení.
Teploaventiláciaproduktu
Zapnutépočítače,napájacieadaptéryaprídavnézariadeniaprodukujúteplo.T eplosaprodukujeajpri
nabíjaníbatérií.Vždydodržujtenasledujúcebezpečnostnéopatrenia:
•Počítač,napájacíadaptéranipríslušenstvonenechávajtedlhšíčasvkontaktesvašímtelom,keďsúv
prevádzkealebokeďsanabíjabatéria.Počítač,napájacíadaptéramnohédruhypríslušenstvaprodukujú
teploajpočasnormálnejprevádzky.Dlhšíkontaktstelombymoholspôsobiťnepohodliealeboaž
popáleniepokožky.
©CopyrightLenovo2015,2016
v
Page 8

•Vblízkostihorľavýchmateriálovanivprostredísrizikomvýbuchunenabíjajtebatériupočítačaa
nepoužívajtepočítač,napájacíadaptéranipríslušenstvo.
•Ventilačnéotvory,ventilátoryalebochladičeproduktuslúžianazabezpečeniejehobezpečnosti,komfortu
používaniaaspoľahlivéhofungovania.Umiestnenímproduktunaposteľ,pohovku,koberecaleboiný
mäkkýpovrchbysatietokomponentymohlizablokovať.Tietočastinikdynezakrývajteaneblokujte.
Aspoňrazzatrimesiacepočítačskontrolujte,čisavňomnenahromadiloneprimeranémnožstvoprachu.
Predkontrolouvypnitepočítačaodpojtenapájacíkábelodelektrickejzásuvky.Potomodstráňteprachz
vetracíchotvorovaprieduchov.Ďalejskontrolujteavyčistitecelévnútropočítačavrátanelopatiekchladiča,
vetracíchotvorovzdrojanapájaniaaventilátorov.Predotvorenímkrytupočítačvždyvypniteaodpojteod
elektrickejsiete.Akjetomožné,nepoužívajtepočítačvovzdialenostimenšejako60cmodmiestso
zvýšenýmpohybomľudí.Akpočítačmusítepoužívaťvprostredísozvýšenýmpohybomľudí,častejšieho
kontrolujteavprípadepotrebyajčistite.
Kvôlivlastnejbezpečnostiakvôliudržaniuoptimálnehovýkonupočítačavždydodržiavajtetietopokyny:
•Keďjepočítačpripojenýkzdrojunapájania,neotvárajtejehokryt.
•Pravidelnekontrolujte,činiejevonkajšokpočítačaznečistenýodprachu.
•Odstraňujteprachzvetracíchotvorovaotvorovvráme.Vprašnomprostredíalebovpriestoreso
zvýšenýmpohybomosôbjepotrebnéčastejšiečisteniepočítača.
•Nezakrývajteaniinakneblokujteventilačnéotvory.
•Počítačneskladujteaninepoužívajtevnútrinábytku,pretožebytomohlozvýšiťrizikoprehriatia.
•T eplotavzduchuprúdiacehodopočítačabynemalapresahovať35°C.
•Neinštalujtezariadenianafiltrovanievzduchu.Mohlibymaťnepriaznivývplyvnasprávnechladenie.
Prevádzkovéprostredie
Optimálneprostredienapoužívaniepočítačaje10°C–35°Csvlhkosťouod35%do80%.Akbol
počítačskladovanýalebopremiestňovanýpriteplotenižšejako10°C,predzapnutímhonechajtepomaly
zohriaťnaoptimálnuprevádzkovúteplotu10°C–35°C.Tentoprocesmôževextrémnomprípadetrvať
ajdvehodiny.Aksapočítačpredpoužívanímnezohrejenaoptimálnuprevádzkovúteplotu,môžetomať
zanásledokneopraviteľnépoškodeniepočítača.
Akjetomožné,počítačumiestnitedodobrevetranejasuchejmiestnostimimopriamehodosahuslnečných
lúčov.
Elektrickézariadenia,akosúnapríkladelektrickýventilátor,rádio,reproduktorysvysokýmvýkonom,
klimatizačnéjednotkyamikrovlnnérúry,neumiestňujtedoblízkostipočítača,pretožesilnémagneticképolia
generovanétýmitozariadeniamibymohlipoškodiťmonitoraúdajenaukladacejjednotke.
Napočítačainépripojenézariadeniaanivedľanichneukladajtežiadnenápoje.Vyliatatekutinamôžev
počítačialebopripojenomzariadenízapríčiniťskrataleboinépoškodenie.
Nadklávesnicoupočítačanejedzteanefajčite.Čiastočkypadajúcedoklávesnicemôžuspôsobiťjej
poškodenie.
Vyhlásenieolaseri
viLenovoS500zPoužívateľskápríručka
Page 9

VÝSTRAHA:
Akmátenainštalovanélaserovéprodukty(akosújednotkyCD-ROM,jednotkyDVD,optickézariadenia
alebovysielače),dodržujtenasledujúcepokyny:
•Neodstraňujtekryty.Odstránenímkrytulaserovéhoproduktusamôžetevystaviťnebezpečnému
laserovémužiareniu.Zariadenieneobsahuježiadneopraviteľnédielce.
•Používanieovládacíchprvkovalebonastavení,prípadnevykonávanieinýchakotuuvedených
postupov,môževiesťkožiareniunebezpečnýmžiarením.
NEBEZPEČENSTVO
Niektorélaserovéproduktyobsahujúvstavanúlaserovúdiódutriedy3Aalebo3B.Prečítajtesi
nasledujúceupozornenie:
Nebezpečenstvolaserovéhožiareniapriotvorení.Nepozerajtesadolúča,nepozorujtehopriamo
optickýmiprístrojmiavyhnitesapriamemuožiareniutýmtolúčom.
Vyhlásenieprezdrojnapájania
Nikdyneodstraňujtekrytzozdrojanapájaniaanizožiadnehoinéhodielcaoznačenéhonasledujúcimštítkom.
Vnútrikaždéhokomponentu,naktoromjetentoštítok,súnebezpečnéúrovnenapätia,prúduaenergie.V
týchtokomponentochsanenachádzajúžiadneopraviteľnédielce.Akmátepodozrenie,ženiektorýztýchto
dielcovnefungujesprávne,kontaktujteservisnéhotechnika.
Čistenieaúdržba
Počítačapracovnýpriestorudržiavajtevčistote.Predčistenímpočítačvypniteaodpojtenapájacíkábel.
Priamonapočítačnenanášajtežiadnytekutýčistiaciprostriedokanačistenienepoužívajtežiadnehorľavé
čistiaceprostriedky.Čistiaciprostriedoknanestenajemnúhandričkuaňoupotomutritepovrchpočítača.
Upozornenietýkajúcesasklenenýchčastí
VÝSTRAHA:
Niektoréčastiproduktumôžubyťvyrobenézoskla.Totosklosamôžerozbiť,akproduktspadnena
tvrdýpovrchalebonaňdopadnesilnýúder.Aksasklorozbije,nedotýkajtesahoanepokúšajtesaho
odstrániť.Produktnepoužívajte,kýmsklonevymeníkvalifikovanýservisnýpracovník.
Informácieozabránenírizikuprevrátenia
•Počítačumiestnitenapevnýnízkypovrchaleboupevnitenábytokapočítačumiestnitenanábytokčo
najviacdozadu.
•Vblízkostipočítačanenechávajtepoloženédiaľkovéovládače,hračkyaniinépredmety,ktorébymohli
priťahovaťpozornosťdetí.
©CopyrightLenovo2015,2016
vii
Page 10

•Počítačakábledržtemimodosahudetí.
•Vmiestnostiach,vktorýchniesútietobezpečnostnéradydodržané,dozerajtenadeti.
viiiLenovoS500zPoužívateľskápríručka
Page 11

Kapitola1.Prehľadproduktu
Tátokapitolaposkytujeinformácieonasledujúcichtémach:
•„Umiestneniehardvéru“nastránke1
•„Vlastnosti“nastránke6
•„Špecifikácie“nastránke9
•„Programy“nastránke9
Umiestneniehardvéru
Tátočasťobsahujeinformácieoumiestneníhardvérupočítača.
Poznámka:Hardvérpočítačasamôžemiernelíšiťodobrázkov.
Pohľadspredu
Obrázok1.Pohľadspredu
1Integrovanémikrofóny(2)(voliteľné)2Indikátoraktivityintegrovanejkamery
3Posúvačovládaniatieniacehokrytuintegrovanej
kamery
5Tlačidlovysunutia/zasunutiaoptickejjednotky6Indikátoraktivityoptickejjednotky
7Prepínačrežimumonitora/počítača8Vypínač
•Integrovanákamera
©CopyrightLenovo2015,2016
4Integrovanákamera
1
Page 12

Slúžinafotografovaniealebouskutočňovanievideokonferencií.
•Indikátoraktivityintegrovanejkamery
Keďtentoindikátorsvieti,kamerasapoužíva.
•Posúvačovládaniatieniacehokrytuintegrovanejkamery
Používasanafyzickédeaktivovanieintegrovanejkamery.
•Integrovanýmikrofón
Umožňujenahrávaniezvukovalebopoužívaniesoftvérunarozpoznávanierečibezpoužitiaexterného
mikrofónu.
•Prepínačrežimumonitora/počítača
Slúžinaprepínaniemedzirežimompočítačaarežimommonitora.
•Tlačidlovysunutia/zasunutiaoptickejjednotky
Slúžinavysunutiezásuvkyoptickejjednotkyzjednotky.Povloženídiskudozásuvkyzatvortezásuvku
stlačenímtlačidlavysunutia/zasunutia.
•Indikátoraktivityoptickejjednotky
Keďtentoindikátorsvieti,optickájednotkasapoužíva.
•Tlačidlonapájania
Slúžinazapnutiepočítača.Tlačidlonapájaniamôžetepoužiťajnavypnutiepočítača,alelenvprípade,
žepočítačnemôžetevypnúťpomocoužiadnehospôsobuvypnutiadostupnéhovsystémeMicrosoft
Windows
®
.
®
Pohľadzozadu
2LenovoS500zPoužívateľskápríručka
Page 13

Obrázok2.Pohľadzozadu
1Slotbezpečnostnéhozámku2KonektoryUSB3.0(2)
3Slotčítačkykariet4Konektorprenáhlavnúsúpravu
5VstupnýkonektorHDMI
7VýstupnýkonektorHDMI8Ethernetovýkonektor
9Konektornapájaciehoadaptéra10Internéreproduktory(2)
TM
6KonektoryUSB2.0(3)
•Konektornapájaciehoadaptéra
Slúžinapripojenienapájaciehoadaptérakpočítačunajehonapájanie.
•Slotčítačkykariet
Umožňujevloženieukladaciehomédiavtvarekarty,abymohlačítačkakarietčítaťúdajeuloženéna
ukladacommédiu.
•Ethernetovýkonektor
Umožňujepripojenieethernetovéhokáblalokálnejsiete(LAN).
Poznámka:AkchcetepočítačpoužívaťvsúladesobmedzeniamikomisieFCC(FederalCommunications
Commission)pretrieduB,použiteethernetovýkábelkategórie5ealebolepšej.
•VstupnýkonektorHDMI
Umožňujepríjemobrazovýchazvukovýchsignálovzinéhozvukovéhoalebozobrazovaciehozariadenia,
napríkladďalšiehopočítača.
•VýstupnýkonektorHDMI
Umožňujeodosielanieobrazovýchazvukovýchsignálovzpočítačadoinéhozvukovéhoalebo
zobrazovaciehozariadenia,napríkladvysokovýkonnéhomonitora.
•Konektorprenáhlavnúsúpravu
Slúžinapripojenienáhlavnejsúpravyaleboslúchadielkpočítaču.
•Internýreproduktor
Umožňujepočúvaťzvukyzpočítačabezpoužitianáhlavnejsúpravyaleboslúchadiel.
•Slotbezpečnostnéhozámku
Ďalšieinformácienájdetevčasti„PripojeniekáblovéhozámkutypuKensington“nastránke31
.
•KonektorUSB2.0
SlúžinapripojeniezariadeniavyžadujúcehopripojenieUSB2.0,akojenapríkladklávesnica,myš,skener,
tlačiareňalebozariadeniePDA(PersonalDigitalAssistant).
•KonektorUSB3.0
SlúžinapripojeniezariadeniavyžadujúcehopripojenieUSB2.0aleboUSB3.0,akojenapríklad
klávesnica,myš,skener,tlačiareňalebozariadeniePDA(PersonalDigitalAssistant).
Komponentypočítača
Poznámka:Vzávislostiodmodelupočítačasúniektoréznasledujúcichkomponentovvoliteľné.
Kapitola1.Prehľadproduktu3
Page 14

Obrázok3.Komponentypočítača
1Stojan2ZákladňastojanaUltraFlexII
3StojanUltraFlexII4Základňastojanamonitora
5Stojanmonitora6Krytpočítača
7AntényWi-Fi(2)
8KartaM.2Wi-Fi
4LenovoS500zPoužívateľskápríručka
Page 15

9Posúvačovládaniatieniacehokrytuintegrovanej
10Tieniacikrytsystémovejdosky
kamery
11Pamäťovýmodul12Držiakvstupno-výstupnejjednotky
13Chladič14Gombíkovábatéria
15Systémovádoska16MontážnakonzolaVESA
17Držiakukladacejjednotky18Systémovýventilátor
19Ukladaciajednotka
21Nožičky(2)22Doskatlačidlaovládania
23Doskakonvertora
25Držiakoptickejjednotky26Napájacíadaptér
20Internéreproduktory(2)
24Optickájednotka
®
Dielcenasystémovejdoske
Poznámky:
•Dielce,ktorésúzobrazenénanasledujúcomobrázku,aleniesúuvedenévnasledujúcejtabuľke,sú
uvedenévčastiach„Pohľadspredu“nastránke1a„Pohľadzozadu“nastránke2.
•Pamäťovémodulynainštalujtepodľaporadiainštalácie.Pamäťovýslot1apamäťovýslot2určujúporadie
inštalácie.
Obrázok4.Dielcenasystémovejdoske
1SlotkartyM.2Wi-Fi
3Konektorintegrovanejkamery
5Pamäťovýslot16Pamäťovýslot2
7Grafickákarta(GPU)(voliteľná)
9Konektorinternéhoreproduktora10Konektordoskytlačidlaovládania
11KonektorSATA(napripojenieukladacejjednotky)12Konektornapájania(napripojenieukladacejaoptickej
2Mikroprocesor
4KonektorpanelaLCD
8Konektordoskykonvertora
jednotky)
13Konektordotykovejobrazovky
15Konektorsystémovéhoventilátora16Gombíkovábatéria
14KonektorSATA(napripojenieoptickejjednotky)
Kapitola1.Prehľadproduktu5
Page 16

Umiestnenieštítkastypomamodelompočítača
MT-M XXXX-XXXXXX
S/N XXXXXXXX
Štítokstypomamodelompočítačaidentifikujepočítač.KeďpožiadatespoločnosťLenovoopomoc,
informácieotypeamodelipočítačaumožniapracovníkomtechnickejpodporyidentifikovaťpočítača
poskytnúťrýchlejšíservis.
Štítokstypomamodelompočítačasanachádzanazadnejstranepočítača(pozritesiobrázok).
Obrázok5.Štítokstypomamodelompočítača
Vlastnosti
Vlastnostipočítačapredstavenévtejtočastisatýkajúrôznychmodelov.
Informácieopočítači
•Akchcetezobraziťzákladnéinformácieopočítači,akosúnapríkladinformácieomikroprocesorea
pamäti,postupujtetakto:
1.KliknutímnatlačidloŠtartotvorteponukuŠtart.
2.VzávislostiodverziesystémuWindowspoužitejedenznasledujúcichpostupov:
-VsystémeWindows7:KliknitepravýmtlačidlommyšinapoložkuPočítačapotomkliknitena
položkuVlastnosti.
-VsystémeWindows10:KliknitenapoložkyNastavenia➙Systém➙Informácie.
•Akchcetezobraziťpodrobnéinformácieozariadeniachvpočítači,akosúnapríkladoptickájednotka
asieťovéadaptéry,postupujtetakto:
1.VzávislostiodverziesystémuWindowspoužitejedenznasledujúcichpostupov:
-VsystémeWindows7:KliknutímnatlačidloŠtartotvorteponukuŠtart.Kliknitepravýmtlačidlom
myšinapoložkuPočítačapotomkliknitenapoložkuVlastnosti.
6LenovoS500zPoužívateľskápríručka
Page 17

-VsystémeWindows10:KliknutímpravýmtlačidlommyšinatlačidloŠtartotvortekontextovú
ponukuŠtart.
2.KliknitenapoložkuSprávcazariadení.Aksazobrazívýzva,zadajteheslosprávcualebouveďte
potrebnéinformácie.
Predinštalovanýoperačnýsystém
VpočítačijepredinštalovanýoperačnýsystémWindows7aleboWindows10.SpoločnosťLenovomôže
určiťajďalšieoperačnésystémy,ktorésúkompatibilnésvašímpočítačom.Akchcetezistiť,čibol
nejakýoperačnýsystémcertifikovanýalebotestovanýohľadomkompatibility,pozritesiwebovúlokalitu
poskytovateľaoperačnéhosystému.
Zdrojnapájania
Vášpočítačsadodávasjednýmztýchtonapájacíchadaptérov:
•90-wattovýnapájacíadaptér
•120-wattovýnapájacíadaptér
Ukladaciejednotky
Počítačpodporujejednuukladaciujednotku.
Akchcetezobraziťmnožstvomiestanaukladacíchjednotkách,postupujtetakto:
1.VzávislostiodverziesystémuWindowspoužitejedenznasledujúcichpostupov:
•VsystémeWindows7:KliknutímnatlačidloŠtartotvorteponukuŠtart.Kliknitepravýmtlačidlom
myšinapoložkuPočítačapotomkliknitenapoložkuSpravovať.
•VsystémeWindows10:KliknutímpravýmtlačidlommyšinatlačidloŠtartotvortekontextovúponuku
Štart.
2.KliknitenapoložkuSprávadiskov.
Funkcievidea
Integrovanágrafickákartapodporujenasledujúcekonektorypremonitorynapočítači:
•VstupnýkonektorHDMI
•výstupnýkonektorHDMI
Zvukovéfunkcie
Integrovanázvukovákartapodporujenasledujúcezvukovékonektorynapočítačiazvukovézariadenia
vpočítači:
•Konektorprenáhlavnúsúpravu
•Integrovanýmikrofón(voliteľný)
•Internýreproduktor
Vstupno-výstupné(I/O)funkcie
•Slotčítačkykariet
•Ethernetovýkonektor
•VstupnýkonektorHDMI
•výstupnýkonektorHDMI
•Konektorprenáhlavnúsúpravu
•KonektorUSB
Kapitola1.Prehľadproduktu7
Page 18

Rozšírenie
•Čítačkakariet
•Pamäťovýslot
•Optickájednotka(voliteľná)
•Pozíciapreukladaciujednotku
Sieťovéfunkcie
•EthernetovásieťLAN
•BezdrôtovásieťLAN(voliteľná)
•FunkciaBluetooth(voliteľná)
Funkciezabezpečenia
ĎalšieinformácienájdetevčastiKapitola4„Bezpečnosť“nastránke31.
Funkcieriadeniasystému
•SchopnosťukladaťvýsledkytestuhardvéruPOST(power-onself-test)
•RozhranieDMI(DesktopManagementInterface)
RozhranieDesktopManagementInterfaceposkytujepoužívateľomjednoduchýprístupkinformáciámo
všetkýchaspektochpočítača.Medzitietoinformáciepatriatypprocesora,dátuminštalácie,pripojené
tlačiarneainéperiférnezariadenia,zdrojenapájania,históriaúdržbyatď.
•RežimkompatibilitysostavomLPSpodľasmerniceErP
Režimkompatibilitysostavomnajnižšejspotreby(LPS)podľasmernicepreenergetickyvýznamné
výrobky(ErP)znižujespotrebuelektrickejenergie,keďjepočítačvrežimespánkualebovypnutý.Ďalšie
informácienájdetevčasti„ZapnutiealebovypnutierežimukompatibilitysostavomLPSpodľasmernice
ErP“nastránke34.
•Intel
®
StandardManageability
IntelStandardManageabilityjetechnológiahardvéruafirmvéru,ktoráspoločnostiamumožňuje
jednoduchšiemonitorovať,vykonávaťúdržbu,aktualizovať,rozširovaťaopravovaťpočítačeazároveň
imšetrínáklady.
•IntelMatrixStorageManager
IntelMatrixStorageManagerjeovládačzariadenia,ktorýpodporujepoliaSATA(SerialAdvanced
TechnologyAttachment)RAID(RedundantArrayofIndependentDisks)5apoliaSATARAID10pri
vybranýchsystémovýchdoskáchsčipovousúpravouIntel,čímzvyšujevýkonpevnýchdiskov.
•ProstrediePXE(PrebootExecutionEnvironment)
ProstrediePrebootExecutionEnvironmentumožňujespúšťaťpočítačeprostredníctvomsieťového
rozhranianezávisleodjednotieknaukladanieúdajov(akosúnapríkladjednotkypevnéhodisku)alebo
nainštalovanýchoperačnýchsystémov.
•SoftvérSM(SystemManagement)aBIOS(BasicInput/OutputSystem)
ŠpecifikáciaSMBIOSdefinuještruktúryúdajovametódyprístupu,ktorémožnopoužiťnačítanieúdajovo
správeuloženýchvsystémeBIOSpočítača.
•WakeonLAN
WakeonLANjeethernetovýsieťovýštandard,ktorýumožňujezapnúťaleboprebudiťpočítačpomocou
sieťovejsprávy.TútosprávuzvyčajneposielaprogramspustenýnainompočítačivtejistejsietiLAN.
8LenovoS500zPoužívateľskápríručka
Page 19

•WakeonRing
FunkciaWakeonRing,niekedyoznačovanáakoWakeonModem,ješpecifikácia,ktoráumožňuje
prebudiťpodporovanépočítačeajednotkyzrežimuspánkualebodlhodobéhospánku.
•WindowsManagementInstrumentation(WMI)
WindowsManagementInstrumentationjesústavarozšíreníovládačovWDM(WindowsDriverModel).
Poskytujerozhranieoperačnéhosystému,prostredníctvomktoréhoupravenékomponentyposkytujú
informácieaupozornenia.
Špecifikácie
Tátočasťuvádzazoznamfyzickýchšpecifikáciípočítača.
Rozmery(bezstojanapočítača)
Šírka:569mm
Výška:395mm
Hĺbka:40mm
Hmotnosť
Maximálnakonfiguráciapridodaní:13,6kg(36,4libry)
Prostredie
•T eplotavzduchu:
Vprevádzke:10°Caž35°C
Skladovanievpôvodnomprepravnomobale:–40°Caž60°C
Skladovaniebezobalu:–10°Caž60°C
•Vlhkosť:
Vprevádzke:20%až80%(bezkondenzácie)
Skladovanie:20%až90%(bezkondenzácie)
•Nadmorskávýška:
Vprevádzke:–15,2až3048m
Skladovanie:–15,2až10668m
Elektrickývstup
Vstupnénapätie:100až240V ,striedavýprúd
Vstupnáfrekvencia:50/60Hz
Programy
Tátočasťobsahujeinformácieoprogramochvpočítači.
Získanieprístupukprogramuvpočítači
Akchcetezískaťprístupkprogramuvpočítači,použitejedenznasledujúcichpostupov:
•ProstredníctvomslužbyWindows
1.VzávislostiodverziesystémuWindowspoužitejedenznasledujúcichpostupov:
-VsystémeMicrosoft
vyhľadávaciehopoľazadajtenázovprogramu.
-VsystémeWindows10:ZadajtenázovprogramudovyhľadávaciehopoľavedľatlačidlaŠtart.
®
Search:
®
Windows7:KliknutímnatlačidloŠtartotvorteponukuŠtartado
Kapitola1.Prehľadproduktu9
Page 20

2.Vovýsledkochvyhľadávaniakliknitenanázovprogramu,ktorýchcetespustiť.
•ProstredníctvomponukyŠtartaleboovládaciehopanela:
1.KliknutímnatlačidloŠtartotvorteponukuŠtart.Potomkliknitenanázovprogramu,ktorýchcete
spustiť.
2.Aknázovprogramuniejezobrazený,zobraztezoznamprogramovkliknutímnapoložkuVšetky
programyvsystémeWindows7alebopoložkuVšetkyaplikácievsystémeWindows10.Vzozname
alebopriečinkuvzoznamekliknitenanázovprogramu,ktorýchcetespustiť.
3.AknázovprogramuniejevponukeŠtartzobrazený,programspustiteprostredníctvomovládacieho
panela.
a.VzávislostiodverziesystémuWindowspoužitejedenznasledujúcichpostupov:
-VsystémeWindows7:KliknitenapoložkuOvládacípanelvponukeŠtart.
-VsystémeWindows10:KliknutímpravýmtlačidlommyšinatlačidloŠtartotvortekontextovú
ponukuŠtartakliknitenapoložkuOvládacípanel.
b.NastavtetypzobrazeniaovládaciehopanelanaVeľkéikonyaleboMaléikonyapotomkliknitena
názovprogramu,ktorýchcetespustiť.
PredstavenieprogramovodspoločnostiLenovo
TátočasťobsahujeinformácieohlavnýchprogramochodspoločnostiLenovo,ktorésúkdispozícii
voperačnomsystéme.
Poznámka:Vzávislostiodmodelupočítačanemusiabyťniektoréznasledujúcichprogramov
predinštalované.
•LenvsystémeWindows10:
-LenovoCompanion
Najlepšiefunkcieamožnostipočítačabymalibyťľahkodostupnéazrozumiteľné.ProgramLenovo
Companiontoumožňuje.ProgramLenovoCompanionumožňuje:
-Optimalizovaťvýkonpočítača,monitorovaťstavpočítačaaspravovaťaktualizácie.
-Získaťprístupkelektronickýmpríručkám,skontrolovaťstavzárukyazobraziťpríslušenstvo
prispôsobenéprevášpočítač.
-Čítaťčlánkysnávodmi,prezeraťsifóraspoločnostiLenovoadozvedieťsaonajnovších
technológiáchprostredníctvomčlánkovablogovoddôveryhodnýchzdrojov.
ProgramLenovoCompanionjeplnýexkluzívnehoobsahuodspoločnostiLenovo,ktorývámpomôže
oboznámiťsasďalšímimožnosťamivyužitiapočítača.
-LenovoSettings
ProgramLenovoSettingsumožňujenajednommiesteovládaťfunkciehardvéru,snímačeaprogramyv
počítači.ProgramLenovoSettingsumožňujeoptimalizovaťvýkonzariadeníprispôsobenímhlavných
funkcií,akosúnapríkladplánynapájania,zvuk,kameraasiete.
•VsystémeWindows7aWindows10:
-DriverandApplicationInstallation
-VsystémeWindows7:ProgramDriverandApplicationInstallationposkytujepravidelnýprístup
kaktualizáciámovládačovzariadeníasoftvérupočítača.Tentoprogramzhromaždíinformáciez
centraLenovoHelpCenteronovýchaktualizáciáchprepočítačapotomichzoradíazobrazítie
aktualizácie,ktorémožnoprevziaťanainštalovať.Ibavyrozhodujeteotom,ktoréaktualizácie
prevezmeteanainštalujete.
-VsystémeWindows10:ProgramDriverandApplicationInstallationumožňujelenlokálnuinštaláciu
alebopreinštalovanieovládačovzariadeníaprogramov.
10LenovoS500zPoužívateľskápríručka
Page 21

-LenovoBluetoothLock
ProgramLenovoBluetoothLockumožňujepoužívaťzariadenieBluetooth(napríkladsmartfón)na
automatickézamkýnanieaodomkýnaniepočítačavzávislostiodvzdialenosti.ProgramLenovo
BluetoothLock,ktorýdokážezistiťvzdialenosťmedzipočítačomapreddefinovanýmzariadením
Bluetooth,ktorémáteprisebe,automatickyzamknepočítač,keďodnehoodídete,aodomkneho,keď
savrátite.Ideojednoduchýspôsobochranypočítačapredneoprávnenýmprístupomvprípade,že
počítačzabudnetezamknúť.
-LenovoRescueSystem
ProgramLenovoRescueSystempredstavujeriešenienaobnovuazáchranusystémustlačením
jedinéhotlačidla.Obsahujebalíknástrojovnaautomatickúobnovu,ktorévámpomôžudiagnostikovať
problémyspočítačom,získaťpomocaobnoviťsystémpozlyhaní,atoajvprípade,keďniejemožné
spustiťoperačnýsystémWindows.
-LenovoSolutionCenter
ProgramLenovoSolutionCenterumožňujeodstrániťproblémyspočítačom.Obsahujediagnostické
testy,zhromažďovanieinformáciíosystéme,informácieostavezabezpečeniaapodpore,akoajradya
tipynadosiahnutiemaximálnehovýkonusystému.
Kapitola1.Prehľadproduktu11
Page 22

12LenovoS500zPoužívateľskápríručka
Page 23

Kapitola2.Používaniepočítača
Tátokapitolaobsahujenasledujúcetémy:
•„Nastaveniestojanapočítača“nastránke13
•„Registráciapočítača“nastránke17
•„Nastaveniehlasitostipočítača“nastránke17
•„PridanieikonydooblastioznámenísystémuWindows“nastránke18
•„Používaniedisku“nastránke18
•„Pripojenieksieti“nastránke20
•„Používaniejednodotykovejaleboviacdotykovejfunkcie“nastránke21
Nastaveniestojanapočítača
Pomocoustojanapočítačamôžetepočítačumiestniťdopolohy,ktorájepreváspohodlná.
Poznámka:Stojanpočítačajevoliteľný.
©CopyrightLenovo2015,2016
13
Page 24

Nastavenierámovéhostojana
Najprvpotiahnutímotvorterámovýstojan.Polohupočítačapotommôžetenastaviťdouhlaod15°do40°
smeromdozadupodľaobrázka.
VÝSTRAHA:
Uistitesa,žejeuholnastavenýnahodnotunajmenej15°odzvislejpolohy.Vopačnomprípademôže
byťpočítačnestabilnýaprevrátiťsa.
Obrázok6.Nastavenierámovéhostojana
Prispôsobeniestojanamonitora
Stojanmonitoramôžetepoužívaťnanastaveniepočítačanasledujúcimspôsobom:
•Zvislúpolohupočítačamôžetenastaviťdouhlaod5°dopredudo24°dozadupodľaobrázka.
14LenovoS500zPoužívateľskápríručka
Page 25

Obrázok7.Prispôsobeniestojanamonitora
•Uholpočítačamôžetenastaviťmedzi45°vľavoa45°vpravopodľaobrázka.
Obrázok8.Prispôsobeniestojanamonitora
NastaveniestojanaUltraFlexII
StojanUltraFlexIImôžetepoužívaťnanastaveniepolohypočítačanasledujúcimspôsobom:
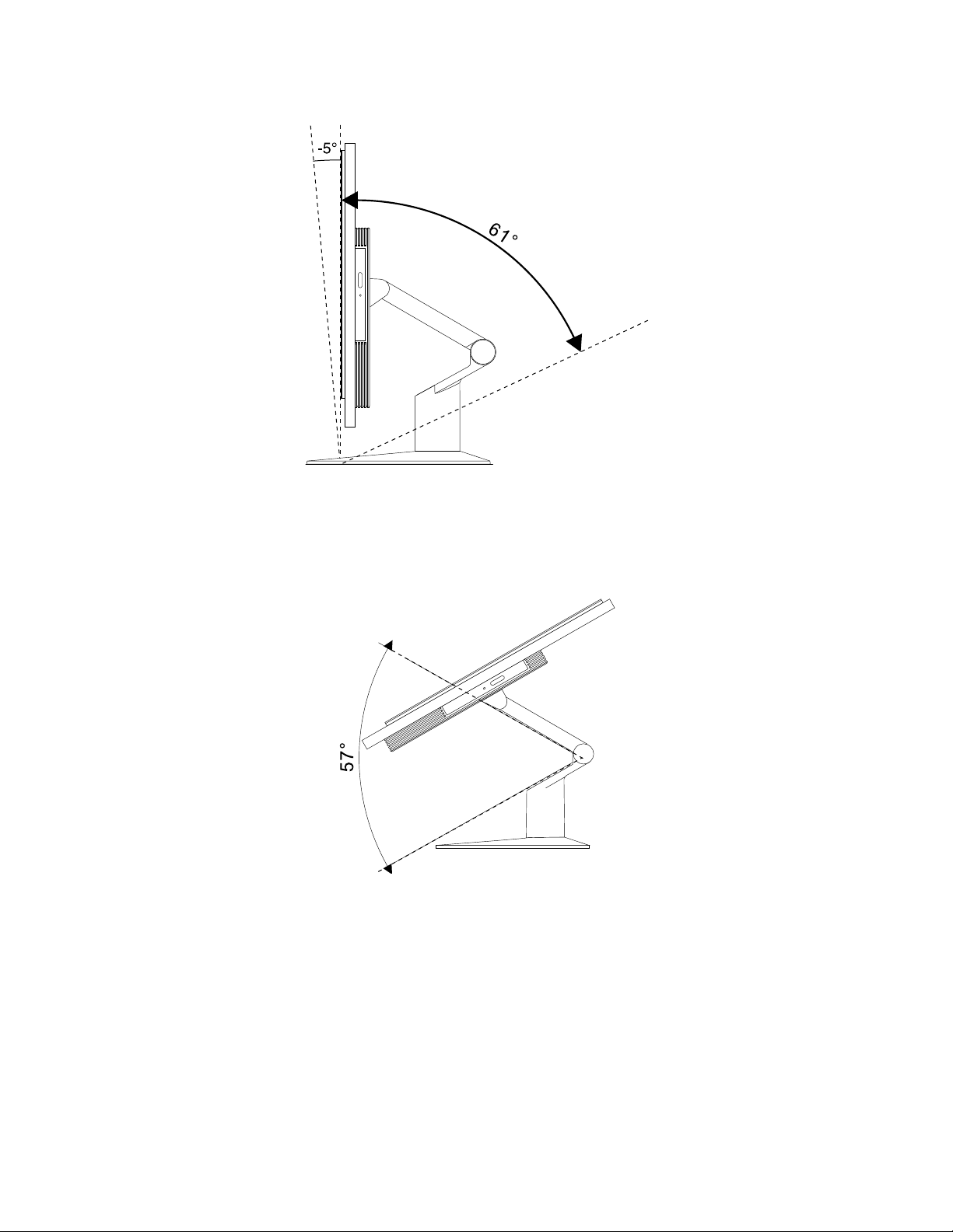
•Zvislúpolohupočítačamôžetenastaviťdouhlaod5°dopredudo61°dozadupodľaobrázka.
Kapitola2.Používaniepočítača15
Page 26

Obrázok9.Nastaveniepočítačasmeromdozadu
•PonastavenípočítačasmeromdozadumôžetepodľaobrázkanastaviťstojanUltraFlexIIsmeromnadol
vuhle57°.
Obrázok10.NastaveniestojanaUltraFlexII
•Otočtepočítačdouhla45°doľavaa45°doprava.
16LenovoS500zPoužívateľskápríručka
Page 27

Obrázok11.Otáčaniepočítačadoľavaalebodoprava
•VýškustojanaUltraFlexIImôžetenastaviťvrozsahu160mm.
Obrázok12.PrispôsobenievýškystojanaUltraFlexII
Registráciapočítača
KeďpočítačzaregistrujetevspoločnostiLenovo,zadátepožadovanéinformáciedodatabázyspoločnosti
Lenovo.VďakatýmtoinformáciámsasvamimôžespoločnosťLenovoskontaktovaťvprípadestiahnutia
produktuztrhualeboinýchvážnychproblémovaposkytnúťvámrýchlejšíservis,akpožiadatespoločnosť
Lenovoopomoc.Vniektorýchoblastiachsútieždostupnérozšírenévýhodyaslužbyregistrovaným
užívateľom.
AkchcetezaregistrovaťpočítačvspoločnostiLenovo,pripojtehonainternet.Potomprejditenaadresu
http://www.lenovo.com/registerapostupujtepodľapokynovnaobrazovke.
Nastaveniehlasitostipočítača
Akchcetenastaviťhlasitosťpočítača,postupujtetakto:
1.KliknitenaikonuhlasitostivoblastioznámenísystémuWindowsnapaneliúloh.
Poznámka:AkikonahlasitostiniejevoblastioznámenísystémuWindowszobrazená,pridajtejudo
oblastioznámení.Pozritesičasť„PridanieikonydooblastioznámenísystémuWindows“nastránke18.
2.Podľapokynovnaobrazovkeupravtehlasitosť.Zvukmôžetestlmiťkliknutímnaikonureproduktora.
Kapitola2.Používaniepočítača17
Page 28

PridanieikonydooblastioznámenísystémuWindows
AkchcetedooblastioznámenísystémuWindowspridaťikonu,postupujtetakto:
1.Kliknutímnaikonušípkyvedľaoblastioznámenízobrazteskrytéikony.Potommyšoupresuňte
požadovanúikonudooblastioznámení.
2.Akikonaniejezobrazená,zapniteju.
a.KliknutímnatlačidloŠtartotvorteponukuŠtart.
b.VzávislostiodverziesystémuWindowspoužitejedenznasledujúcichpostupov:
•VsystémeWindows7:KliknitenapoložkuOvládacípanel.Nastavtetypzobrazeniaovládacieho
panelanaVeľkéikonyaleboMaléikonyapotomkliknitenapoložkyIkonyvoblastioznámení
➙Zapnúťalebovypnúťsystémovéikony.
•VsystémeWindows10:KliknitenapoložkyNastavenia➙Systém➙Oznámeniaaakcie
➙Zapnúťalebovypnúťsystémovéikony.
c.Zapnitepožadovanúikonu.
3.AksaikonanapriektomunezobrazívoblastioznámenísystémuWindows,zopakujtekrok1.
Používaniedisku
Tátočasťobsahujeinformácieopoužívanídiskovaoptickejjednotky.
Pokynynapoužívanieoptickejjednotky
Pripoužívaníoptickejjednotkypostupujtepodľatýchtopravidiel:
•Počítačneumiestňujtenamiesta,kdejejednotkavystavenáktorémukoľvekznasledujúcichvplyvov:
-vysokáteplota,
-vysokávlhkosť,
-nadmernáprašnosť,
-nadmernévibráciealebonáhleotrasy,
-naklonenýpovrch,
-priameslnečnésvetlo.
•Nevkladajtedojednotkyinépredmetyneždisky.
•Poškodenédiskynevkladajtedojednotky.Ohnuté,poškriabanéaleboznečistenédiskymôžupoškodiť
jednotku.
•Predpremiestnenímpočítačavybertediskzjednotky.
Správnezaobchádzaniesdiskamiaichskladovanie
Prizaobchádzanísdiskomajehouskladnenípostupujtepodľatýchtopravidiel:
•Diskchytajtelenzaokrajealebostredovýotvor.Nedotýkajtesapovrchudiskunastrane,ktoránieje
označená.
•Akchceteodstrániťprachaleboodtlačkyprstov,utritediskčistoujemnoulátkousmeromodstreduk
okrajom.Utieraniediskukrúživýmipohybmimôževiesťkstrateúdajov.
•Napovrchdiskunepíšteanineleptepapier.
•Diskneškriabteanineoznačujte.
•Disknevystavujtepriamemuslnečnémusvetlu.
18LenovoS500zPoužívateľskápríručka
Page 29

•Načisteniediskunepoužívajtebenzén,riedidláaniinéčistiaceprostriedky.
•Disknenechajtepadnúťanihoneohýbajte.
Prehrávanieavyberaniedisku
Priprehrávanídiskupostupujtetakto:
1.Keďjepočítačzapnutý,stlačtetlačidlovysunutia/zasunutiavprednejčastioptickejjednotky.Podnos
diskusavysuniezjednotky.
2.Vložtediskdopodnosudisku.Niektoréoptickéjednotkyobsahujúzakladacíčapvstredepodnosu
disku.AkjednotkaDVDobsahujezakladacíčap,podopritepodnosdiskujednourukouapotomzatlačte
nastreddisku,kýmnezapadnenamiesto.
3.Zatvortepodnosdiskuopätovnýmstlačenímtlačidlavysunutia/zasunutiaalebojemnýmzatlačením
podnosudiskusmeromdovnútra.Programprehrávačadiskovsaspustíautomaticky.Ďalšieinformácie
nájdetevsystémepomocipreprogramprehrávačadiskov.
Akchcetevybraťdiskzoptickejjednotky,postupujtetakto:
1.Keďjepočítačzapnutý,stlačtetlačidlovysunutia/zasunutiavprednejčastioptickejjednotky.Podnos
diskusavysuniezjednotky.
2.Opatrnevybertediskzpodnosudisku.
3.Zatvortepodnosdiskuopätovnýmstlačenímtlačidlavysunutia/zasunutiaalebojemnýmzatlačením
podnosudiskusmeromdovnútra.
Poznámka:Akstlačítetlačidlovysunutia/zasunutiaapodnosdiskusanevysunie,vypnitepočítač.Potom
dootvoruprenúdzovévysunutievedľatlačidlavysunutia/zasunutiavložtevyrovnanúkancelárskusponku.
Postupnúdzovéhovysunutiapoužitelenvprípadenúdze.
Zápisnadisk
Akoptickájednotkapodporujezapisovanie,nadiskmôžetezapisovať.
ZápisnadiskpomocounástrojovsystémuWindows
AkchcetezapisovaťnadiskpomocounástrojovsystémuWindows,použitejedenznasledujúcichpostupov:
•NapáľtediskpomocouoknaAutomaticképrehrávanie.
1.Uistitesa,žedisksaautomatickyprehráva.
a.KliknutímnatlačidloŠtartotvorteponukuŠtart.
b.VzávislostiodverziesystémuWindowspoužitejedenznasledujúcichpostupov:
-VsystémeWindows7:KliknitenapoložkuOvládacípanel.Nastavtetypzobrazenia
ovládaciehopanelanaVeľkéikonyaleboMaléikonyapotomkliknitenapoložkuAutomatické
prehrávanie.
-VsystémeWindows10:KliknitenapoložkyNastavenia➙Zariadenia➙Automatické
prehrávanie.
c.VybertealebozapnitemožnosťPoužiťautomaticképrehrávanieprevšetkymédiáazariadenia.
2.Dooptickejjednotky,ktorápodporujezapisovanie,vložtezapisovateľnýdisk.Otvorísaokno
Automaticképrehrávanie.
3.Postupujtepodľapokynovnaobrazovke.
•NapáľtediskpomocouprogramuWindowsMedia
1.Dooptickejjednotky,ktorápodporujezapisovanie,vložtezapisovateľnýdisk.
2.OtvorteprogramWindowsMediaPlayer.Pozritesičasť„Získanieprístupukprogramuvpočítači“na
stránke9.
®
Player.
Kapitola2.Používaniepočítača19
Page 30

3.Postupujtepodľapokynovnaobrazovke.
•NapáľtediskzosúboruISO.
1.Dooptickejjednotky,ktorápodporujezapisovanie,vložtezapisovateľnýdisk.
2.DvakrátkliknitenasúborISO.
3.Postupujtepodľapokynovnaobrazovke.
Pripojenieksieti
Tátočasťobsahujeinformácieopripojeníksieti.Akpočítačnemôžetepripojiťksieti,pozritesičasť
„Problémysosieťovýmpripojením“nastránke44.
PripojeniekethernetovejsietiLAN
PočítačmôžetepripojiťkethernetovejsietiLANpripojenímethernetovéhokáblakethernetovémukonektoru.
NEBEZPEČENSTVO
Nepripájajtetelefónnykábelkethernetovémukonektoru,abystepredišlirizikuzasiahnutia
elektrickýmprúdom.
PripojeniekbezdrôtovejsietiLAN
PočítačmôžetepripojiťkbezdrôtovejsietiLANbezpoužitiaethernetovéhokábla,ibaprostredníctvom
rádiovýchvĺn.
Poznámka:FunkciapripojeniakbezdrôtovejsietiLANjevoliteľná.
AkchcetevytvoriťpripojeniekbezdrôtovejsietiLAN,postupujtetakto:
1.Uistitesa,žejekdispozíciibezdrôtovásieťLANafunkciapripojeniakbezdrôtovejsietiLANpočítača
funguje.
2.KliknutímnaikonustavupripojeniakbezdrôtovejsietivoblastioznámenísystémuWindowszobrazte
zoznamdostupnýchbezdrôtovýchsietí.
Poznámka:AkikonastavupripojeniakbezdrôtovejsietiniejevoblastioznámenísystémuWindows
zobrazená,pridajtejudooblastioznámení.Pozritesičasť„Pridanieikonydooblastioznámenísystému
Windows“nastránke18.
3.KliknitenabezdrôtovúsieťLANakliknutímnapoložkuPripojiťknejpripojtepočítač.Vprípadepotreby
zadajtepožadovanéinformácie.
PripojeniekzariadeniuBluetooth
Bluetoothjetechnológiabezdrôtovejkomunikácienamalévzdialenosti.FunkciuBluetoothpoužívajtena
vytvoreniebezdrôtovéhopripojeniamedzipočítačomainýmzariadenímBluetoothdovzdialenostipribližne
10m.
Poznámka:FunkciaBluetoothjevoliteľná.
AkchcetepripojiťzariadenieBluetooth,postupujtetakto:
1.Uistitesa,žefunkciaBluetoothpočítačafungujeazariadenieBluetoothsanachádzavovzdialenosti
do10modpočítača.
2.KliknitenaikonuzariadeníBluetoothvoblastioznámenísystémuWindowsnapaneliúloh.Potom
kliknitenapoložkuPridaťzariadenieapostupujtepodľapokynovnaobrazovke.
20LenovoS500zPoužívateľskápríručka
Page 31

Poznámka:AkikonazariadeníBluetoothniejevoblastioznámenísystémuWindowszobrazená,
pridajtejudooblastioznámení.Pozritesičasť„PridanieikonydooblastioznámenísystémuWindows“
nastránke18.
Používaniejednodotykovejaleboviacdotykovejfunkcie
Vzávislostiodmodelupočítačajekdispozíciijednodotykováaleboviacdotykováfunkcia.Jednodotyková
funkciaumožňujepoužívaťnainterakciuspočítačomibajedenprst.Viacdotykováfunkciaumožňuje
používaťnainterakciuspočítačomjedenalebodvaprsty.
Poznámka:Jednodotykováaviacdotykováfunkciasúvoliteľné.
Akchcetepoužiťjednodotykovúaleboviacdotykovúfunkciu,postupujtetakto:
•Akchcetevykonaťjednokliknutie,prstomjedenkrátťuknitenadotykovúobrazovku.
•Akchcetevykonaťdvojitékliknutie,ťuknitedvakrátbezprestávky.
•Akchcetevykonaťkliknutiepravýmtlačidlommyši,jedenkrátťuknitenadotykovúobrazovkuapodržte
nanejprst,kýmsanezobrazíkruh.Potomzdvihniteprstzdotykovejobrazovky,abysazobrazila
kontextováponuka.Vybertepoložkuzponuky.
•Nauľahčeniečítaniaaleboúpravydokumentumôžetenadotykovejobrazovkeobrazpribližovať,
vzďaľovať,posúvaťalebootáčaťpomocoudvochprstov.
Kapitola2.Používaniepočítača21
Page 32

22LenovoS500zPoužívateľskápríručka
Page 33

Kapitola3.Vyavášpočítač
Tátokapitolaobsahujenasledujúcetémy:
•„Usporiadaniepracovnéhopriestoru“nastránke23
•„Informácieozjednodušeníovládania“nastránke24
•„Čisteniepočítača“nastránke27
•„Údržba“nastránke27
•„Premiestneniepočítača“nastránke29
Usporiadaniepracovnéhopriestoru
Pracovnýpriestorsiusporiadajtepodľasvojichpotriebadruhusvojejpráce.Tátočasťobsahujeinformácieo
faktoroch,ktorémajúvplyvnaspôsobusporiadaniapracovnéhopriestoru.
Odleskyaosvetlenie
Počítačumiestnitetak,abysteminimalizovaliodleskyodstropnéhoosvetlenia,okienaleboinýchsvetelných
zdrojov.Svetelnéodleskyzlesklýchpovrchovmôžuspôsobiťnepríjemnéodleskynaobrazovke.Akjeto
možné,počítačumiestnitetak,abyzvieralsoknamiaďalšímisvetelnýmizdrojmipravýuhol.Vprípade
potrebyobmedztestropnéosvetlenievypnutímsvetielalebopoužitímžiarovieksnižšímvýkonom.Ak
počítačumiestnitedoblízkostiokna,nazatienenieslnečnéhosvetlapoužitezávesyalebožalúzie.Keďžesa
počasdňameniasvetelnépodmienky,môžetesaimprispôsobiťnastavenímjasuakontrastunapočítači.
Akniejemožnésavyhnúťodleskomalebonastaviťosvetlenie,môževámpomôcťantireflexnýfilter
umiestnenýnaobrazovke.Tietofiltrealemôžumaťnegatívnyvplyvnačistotuobrazu.Vyskúšajteichiba
vtedy,aksteužneúspešnevyskúšaliostatnémetódyeliminácieodleskov.
Cirkuláciavzduchu
Počítačprodukujeteplo.Počítačobsahujeventilátor,ktorýnasávadovnútračerstvývzduchacezvetracie
otvoryvyfukujevonhorúcivzduch.Zablokovanímtýchtootvorovmôžetezapríčiniťprehriatiemonitora,
ktorémôžemaťzanásledokpoškodeniemonitoraalebojehozničenie.Počítačumiestnitetak,abynič
neblokovalovetracieotvory.Zvyčajnepostačuje51mmvoľnéhopriestoruodvetraciehootvoru.Uistitesa,
ževyfukovanývzduchniejenasmerovanýnaľudí.
Umiestnenieelektrickýchzásuviekadĺžkykáblov
Konečnéumiestneniepočítačamôžuovplyvniťtietofaktory:
•Umiestnenieelektrickýchzásuviek
•Dĺžkanapájacíchkáblovalebonapájacíchadaptérov
•Dĺžkakáblov,ktorésúpripojenékinýmzariadeniam
Ďalšieinformácieonapájacíchkáblochanapájacíchadaptérochnájdetevčasti„Napájaciekáblea
napájacieadaptéry“nastránkeiv
.
Komfort
Ajkeďneexistuježiadneuniverzálneusporiadaniepracovnéhopriestoru,ktorébyboloideálneprekaždého,
ponúkamevámniekoľkotipov,ktorévámpomôžunájsťrozmiestnenie,ktorébudenajviacvyhovovaťvašim
požiadavkám.Nasledujúciobrázokslúžiakopríklad.
©CopyrightLenovo2015,2016
23
Page 34

•Umiestnenieobrazovky:Obrazovkuumiestnitedopohodlnejpozorovacejvzdialenosti,zvyčajne51–61
cm.Potomobrazovkunastavtetak,abybolavrchnáčasťobrazovkynaúrovniočíalebomiernepodňou
aabystenaobrazovkuvidelibezotáčaniatela.
•Polohastoličky:Používajtestoličku,ktorávámposkytnedobrúoporuprechrbátanaktorejsavýška
sedadladánastavovať.Nastavtestoličkutak,abystedosiahlipožadovanúpolohu.
•Polohahlavy:Udržiavajtehlavuakrkvpohodlnejaneutrálnej(zvislejalebokolmej)polohe.
•Poloharamienarúk:Predlaktia,zápästiaarukymajtevovoľnejaneutrálnej(vodorovnej)polohe.Píšte
zľahka,neudierajtedoklávesov.
•Polohanôh:Stehnádržtevpoloherovnobežnejspodlahouachodidlápoloženécelouplochouna
podlahealebonapodložke(opierkenôh).
Robtemalézmenypracovnejpolohy,abystezabránilinepohodliuspôsobenémudlhouprácouvrovnakej
polohe.Časté,krátkeprestávkyvprácitiežpomôžuzabrániťmalémunepohodliusúvisiacemuspracovnou
polohou.
Informácieozjednodušeníovládania
SpoločnosťLenovosaangažujevsprístupňovaníinformáciíatechnológiípoužívateľomsosluchovým
postihnutím,zrakovýmpostihnutímaleboobmedzenoumožnosťoupohybu.T átočasťobsahujeinformácie
ospôsoboch,akýmimôžutítopoužívateliapoužívaťpočítaččonajefektívnejšie.Najnovšieinformácieo
zjednodušeníovládaniamôžetezískaťajnawebovejlokalitespoločnostiLenovonaadrese:
http://www.lenovo.com/accessibility
Klávesovéskratky
Nasledujúcatabuľkaobsahujeklávesovéskratky,ktorémôžuuľahčiťpoužívaniepočítača.
Poznámka:Vzávislostiodklávesnicenemusiabyťniektoréznasledujúcichklávesovýchskratiekkdispozícii.
Klávesováskratka
KlávesslogomWindows+UOtvorenieCentrazjednodušeniaprístupu
PravýklávesShiftstlačenýnaosemsekúndZapnutiealebovypnutiefunkcieFiltrovanieklávesov
PäťstlačeníklávesuShiftZapnutiealebovypnutiefunkcieJednýmprstom
KlávesNumLockstlačenýnapäťsekúndZapnutiealebovypnutiefunkcieOzvučenieklávesov
ĽavýAlt+ľavýShift+NumLockZapnutiealebovypnutiefunkcieKlávesymyši
ĽavýAlt+ľavýShift+PrtScn(aleboPrtSc)ZapnutiealebovypnutiefunkcieVysokýkontrast
Funkcia
Akpotrebujeteďalšieinformácie,nastránkehttp://windows.microsoft.com/vyhľadajteniektoréztýchto
kľúčovýchslov:klávesovéskratky,kombinácieklávesov,prístupovéklávesy.
24LenovoS500zPoužívateľskápríručka
Page 35

Centrumzjednodušeniaprístupu
CentrumzjednodušeniaprístupuvoperačnomsystémeWindowsumožňujepoužívateľomnakonfigurovať
počítačepodľasvojichfyzickýchakognitívnychpotrieb.
AkchcetepoužiťCentrumzjednodušeniaprístupu,postupujtetakto:
1.KliknutímnatlačidloŠtartotvorteponukuŠtart.
2.VzávislostiodverziesystémuWindowspoužitejedenznasledujúcichpostupov:
•VsystémeWindows7:KliknitenapoložkuOvládacípanel.Nastavtetypzobrazeniaovládacieho
panelanaVeľkéikonyaleboMaléikonyapotomkliknitenapoložkuCentrumzjednodušenia
prístupu.
•VsystémeWindows10:KliknitenapoložkyNastavenie➙Zjednodušenieprístupu.
3.Podľapokynovnaobrazovkevybertevhodnýnástroj.
Centrumzjednodušeniaprístupuobsahujenajmänasledujúcenástroje:
•Zväčšovaciesklo
Zväčšovaciesklojeužitočnápomôcka,ktorázväčšujecelúobrazovkualebojejčasť,abybololepšie
vidieťobsah.
•Moderátor
Moderátorjeprogramnačítanieobrazovky,ktorýnahlasčítatextzobrazenýnaobrazovkeaopisuje
udalosti,akosúnapríkladchybovéhlásenia.
•Klávesnicanaobrazovke
Akchceteúdajezadávaťdopočítačapomocoumyši,pákovéhoovládačaaleboinéhoukazovacieho
zariadenianamiestofyzickejklávesnice,môžetepoužívaťklávesnicunaobrazovke.Klávesnicana
obrazovkejevizuálnaklávesnicasovšetkýmištandardnýmiklávesmi.
•Vysokýkontrast
Vysokýkontrastjefunkcia,ktorázvyšujefarebnýkontrastniektorýchtextovaobrázkovnaobrazovke.
Tietopoložkysúpotomvýraznejšieaľahšiesaidentifikujú.
•Prispôsobenáklávesnica
Upravtenastaveniaklávesnice,abysajednoduchšiepoužívala.Pomocouklávesnicemôžetenapríklad
ovládaťukazovateľazjednodušiťzadávanieniektorýchkombináciíklávesov.
•Prispôsobenámyš
Upravtenastaveniamyši,abysajednoduchšiepoužívala.Môžetenapríkladzmeniťvzhľadukazovateľaa
zjednodušiťspravovanieokienpomocoumyši.
Rozpoznávaniereči
Rozpoznávanierečiumožňujeovládaťpočítačhlasom.
Lenpomocouhlasumôžetespúšťaťprogramy,otváraťponuky,klikaťnaobjektynaobrazovke,diktovaťtext
dodokumentovapísaťaodosielaťe-maily.Všetko,čorobítepomocouklávesniceamyši,môžeteurobiťlen
pomocouhlasu.
AkchcetepoužiťfunkciuRozpoznávaniereči,postupujtetakto:
1.VzávislostiodverziesystémuWindowspoužitejedenznasledujúcichpostupov:
•VsystémeWindows7:KliknutímnatlačidloŠtartotvorteponukuŠtart.
•VsystémeWindows10:KliknutímpravýmtlačidlommyšinatlačidloŠtartotvortekontextovúponuku
Štart.
Kapitola3.Vyavášpočítač25
Page 36

2.KliknitenapoložkuOvládacípanel.NastavtetypzobrazeniaovládaciehopanelanaVeľkéikonyalebo
MaléikonyapotomkliknitenapoložkuRozpoznávaniereči.
3.Postupujtepodľapokynovnaobrazovke.
Technológiečítaniaobrazovky
Technológiečítaniaobrazovkysúprimárnezameranénarozhraniasoftvérovýchprogramov,informačné
systémypomociarôznedokumentyonline.Ďalšieinformácieoprogramochnačítanieobrazovkynájdete
nanasledujúcichwebovýchlokalitách:
•PoužívaniesúborovPDFsprogramaminačítanieobrazovky:
http://www.adobe.com/accessibility.html?promoid=DJGVE
•PoužívanieprogramunačítanieobrazovkyJAWS:
http://www.freedomscientific.com/jaws-hq.asp
•PoužívanieprogramunačítanieobrazovkyNVDA:
http://www.nvaccess.org/
Rozlíšenieobrazovky
Čitateľnosťtextovaobrázkovnaobrazovkemôžetezlepšiťzmenourozlíšeniaobrazovkypočítača.
Akchceteupraviťrozlíšenieobrazovky,postupujtetakto:
1.Kliknitepravýmtlačidlommyšinaprázdnuoblasťnapracovnejploche.
2.VzávislostiodverziesystémuWindowspoužitejedenznasledujúcichpostupov:
•VsystémeWindows7:KliknitenapoložkuRozlíšenieobrazovky.
•VsystémeWindows10:KliknitenapoložkuNastavenieobrazovky.NakarteObrazovkakliknitena
položkuRozšírenénastaveniazobrazenia.
3.Postupujtepodľapokynovnaobrazovke.
Poznámka:Aknastavíteprílišmalérozlíšenieobrazovky,niektorépoložkysanaobrazovkunemusiazmestiť.
Prispôsobiteľnáveľkosťpoložiek
Čitateľnosťpoložiekmôžetezlepšiťzmenouveľkostipoložiek.
•Akchcetedočasnezmeniťveľkosťpoložiek,použitenástrojZväčšovaciesklovCentrezjednodušenia
prístupu.Pozritesičasť„Centrumzjednodušeniaprístupu“nastránke25.
•Akchcetezmeniťveľkosťpoložieknatrvalo,postupujtetakto:
-Zmenaveľkostivšetkýchpoložieknaobrazovke.
1.Kliknitepravýmtlačidlommyšinaprázdnuoblasťnapracovnejploche.
2.VzávislostiodverziesystémuWindowspoužitejedenznasledujúcichpostupov:
-VsystémeWindows7:KliknitenapoložkyRozlíšenieobrazovky➙Zväčšiťalebozmenšiť
textaostatnépoložky.
-VsystémeWindows10:KliknitenapoložkuNastavenieobrazovky.
3.Podľapokynovnaobrazovkezmeňteveľkosťpoložiek.
4.KliknitenapoložkuPoužiť.Tátozmenasaprejavíprinasledujúcomprihlásenísadooperačného
systému.
-Zmenaveľkostivšetkýchpoložieknawebovejstránke.
StlačteapodržteklávesCtrlapotomstlačteklávessoznamienkomplus(+)nazväčšenietextualebo
klávessoznamienkommínus(–)nazmenšenietextu.
-Zmenaveľkostipoložieknapracovnejplochealebovokne.
26LenovoS500zPoužívateľskápríručka
Page 37

Poznámka:Tátofunkcianemusívniektorýchoknáchfungovaťsprávne.
Akmávašamyškoliesko,stlačteapodržteklávesCtrlapotomotočenímkolieskazmeňteveľkosť
položiek.
Štandardnékonektory
Počítačobsahuještandardnékonektory,ktoréumožňujúpripojiťpomocnézariadenia.
KonverznýmodemTTY/TDD
Počítačpodporujepoužívaniekonverznéhomodemupretextovýtelefón(TTY)alebotelekomunikačnýprístroj
prenepočujúcich(TDD).ModemmusíbyťpripojenýmedzipočítačatelefónTTY/TDD.Potommôžete
vpočítačizadaťsprávuaodoslaťjudotelefónu.
Dokumentáciavprístupnýchformátoch
SpoločnosťLenovoposkytujeelektronickúdokumentáciuvprístupnýchformátoch,akosúnapríkladsúbory
PDFsosprávnymiznačkamialebosúboryHTML(HyperT extMarkupLanguage).Elektronickádokumentácia
spoločnostiLenovosavytváratak,abyjumohlipoužívateliasozrakovýmpostihnutímčítaťprostredníctvom
programunačítanieobrazovky.Každýobrázokvdokumentáciiobsahujeajpríslušnýalternatívnytext,aby
používateliasozrakovýmpostihnutímobrázkurozumeli,keďpoužívajúprogramnačítanieobrazovky.
Čisteniepočítača
VÝSTRAHA:
Zjednotiekodstráňtevšetkymédiáavypnitevšetkypripojenézariadeniaapočítač.Potomodpojte
všetkynapájaciekábleodelektrickýchzásuviekaodpojteajvšetkykábleodpočítača.
Počítačsaodporúčapravidelnečistiť,abybolchránenýjehopovrchazabezpečenájehobezproblémová
prevádzka.Načistenienatretýchpovrchovpočítačapoužívajteibajemnéčistiaceprostriedkyanavlhčenú
látku.
Nahromadenýpracheštezhoršujeproblémysodleskami,takžeobrazovkupravidelnečistite.Jemne
poutierajtepovrchobrazovkymäkkousuchouhandričkoualebofúknitenaobrazovku,abysaznejodstránili
zrnkáprachuaostatnévoľnézachytenénečistoty.Vzávislostiodtypuobrazovkynavlhčitemäkkúhandričku,
ktoránepúšťavlákna,prostriedkomnačistenieobrazoviekLCDalebotekutýmprípravkomnačistenieskla
apotompoutierajtepovrchobrazovky.
Údržba
Primeranástarostlivosťaúdržbazabezpečujúspoľahlivúprevádzkupočítača.Tátočasťobsahujeinformácie
oúdržbepočítača,ktorévámpomôžuudržaťpočítačvdobromstave.
Základnéradypreúdržbu
Tujeniekoľkozákladnýchinformáciíotom,akozaistiť,abypočítačpracovalsprávne:
•Počítačumiestnitedočistéhoasuchéhoprostredia.Zabezpečte,abybolpočítačumiestnenýnaplochom
astabilnompovrchu.
•Nezakrývajtežiadnevetracieotvory.Tietovetracieotvoryzabezpečujúprúdenievzduchu,ktoréchráni
počítačpredprehriatím.
•Vblízkostipočítačaanijehosúčastíneskladujteanepožívajtežiadnepotravinyaninápoje.Zvyšky
potravínarozliatenápojemôžuspôsobiťznečistenieanepoužiteľnosťklávesniceamyši.
Kapitola3.Vyavášpočítač27
Page 38

•Zabráňtenavlhnutiuvypínačovnapájaniaaďalšíchovládacíchprvkov.Vlhkosťmôžetietosúčastipoškodiť
avyvolaťrizikozásahuelektrickýmprúdom.
•Napájacíkábelvždyodpájajtetak,žehonebudeteťahaťzašnúru,alezakoncovku.
Odporúčanépostupyúdržby
Používanieodporúčanýchpostupovúdržbyvámumožňujezachovaťvýkonnosťpočítača,ochrániťúdajea
pripraviťsanaprípadnézlyhaniepočítača.
•Pravidelneaktualizujtesoftvér,ovládačezariadeníaoperačnýsystémpočítača.Pozritesičasť
„Udržiavaniepočítačavaktualizovanomstave“nastránke28
•Pravidelnevyprázdňujtekôš.
•Pravidelneodstraňujtenepotrebnée-mailyvpriečinkochdoručenejpošty,odoslanýchpoložieka
odstránenýchpoložieksvojeje-mailovejaplikácie.
•Príležitostnevyčistitesúboryauvoľnitemiestonaukladacejjednotkeavpamäti,abystezabránilivýskytu
problémovsvýkonom.Pozritesičasť„Problémysvýkonom“nastránke46.
•Veďtesidenník.Vdenníkumôžubyťzapísanévýznamnézmenyvsoftvérialebohardvéri,aktualizácie
ovládačovzariadení,bezprostrednevzniknutéproblémyaopatreniaprijaténaichodstránenie,aďalšie
problémy,ktorésamohlivyskytnúť.Príčinouproblémumôžebyťzmenavhardvéri,zmenavsoftvérialebo
akákoľvekináakcia,ktorústemohlivykonať.Denníkmôžepomôcťvámalebotechnikovispoločnosti
Lenovozistiťpríčinuproblému.
•Pravidelnesizálohujteúdajenaukladacejjednotke.Ukladaciujednotkumôžeteobnoviťzozálohy.
Akchcetezálohovaťúdaje,použitejedenznasledujúcichpostupov:
.
-VsystémeWindows7:OtvorteprogramLenovoRescueSystem.Pozritesičasť„Získanieprístupuk
programuvpočítači“nastránke9
-VsystémeWindows10:PoužitenástrojHistóriasúborov.Kliknutímpravýmtlačidlommyšinatlačidlo
ŠtartotvortekontextovúponukuŠtartakliknitenapoložkuOvládacípanel.Nastavtetypzobrazenia
ovládaciehopanelanaVeľkéikonyaleboMaléikonyapotomkliknitenapoložkuHistóriasúborov.
Postupujtepodľapokynovnaobrazovke.
•VsystémeWindows10,čonajskôrvytvortemédiumobnovy.Pomocoumédiaobnovymôžeteobnoviť
operačnýsystémajvprípade,žesystémWindowssanespustí.
Akchcetevytvoriťmédiumobnovy,kliknutímpravýmtlačidlommyšinatlačidloŠtartotvortekontextovú
ponukuŠtartakliknitenapoložkuOvládacípanel.NastavtetypzobrazeniaovládaciehopanelanaVeľké
ikonyaleboMaléikonyapotomkliknitenapoložkuObnovenie.Postupujtepodľapokynovnaobrazovke.
.Potompostupujtepodľapokynovnaobrazovke.
Udržiavaniepočítačavaktualizovanomstave
Voväčšineprípadovsaodporúčanainštalovaťaktuálneopravyoperačnéhosystému,softvérovéprogramya
ovládačezariadení.T átočasťobsahujeinformácieozískanínajnovšíchaktualizáciíprepočítač.
Získanienajnovšíchovládačovzariadení
Upozornenie:Priopätovnejinštaláciiovládačovzariadenísazmeníaktuálnakonfiguráciapočítača.
Akchcetezískaťnajnovšieovládačezariadeníprepočítač,použitejedenznasledujúcichpostupov:
•Prevezmiteovládačezariadení,ktorésúpredinštalovanévpočítači.Prejditenaadresu
http://www.lenovo.com/drivers.
•PoužiteprogramodspoločnostiLenovoaleboslužbuWindowsUpdate.Pozritesičasť„Získanie
najnovšíchaktualizáciísystému“nastránke29
.
Poznámka:Ovládačezariadení,ktorésúkdispozíciivslužbeWindowsUpdate,nemuselibyťtestované
spoločnosťouLenovo.OdporúčasazískaťovládačezariadeníodspoločnostiLenovo.
28LenovoS500zPoužívateľskápríručka
Page 39

Získanienajnovšíchaktualizáciísystému
Akchcetezískaťnajnovšieaktualizáciesystémuprepočítač,pripojtehonainternetapoužitejedenz
nasledujúcichpostupov:
•PomocouniektoréhoznasledujúcichprogramovodspoločnostiLenovozískajteaktualizáciesystému,
akosúnapríkladaktualizácieovládačovzariadeníaaktualizáciesoftvéru:
-VsystémeWindows7:PoužiteprogramDriverandApplicationInstallation.Akchcetepoužiťtento
program,použitejedenznasledujúcichpostupov:
-OtvorteprogramDriverandApplicationInstallation.Pozritesičasť„Získanieprístupukprogramu
vpočítači“nastránke9
tentoprogram.
-Počítačzapnitealeboreštartujte.PotomniekoľkokrátstlačteauvoľniteklávesF2,kýmsaneotvorí
programLenovoRescueSystem.VybertepoložkuDriverandApplicationInstallationapostupujte
podľapokynovnaobrazovke.
Poznámka:PriniektorýchklávesniciachmôžebyťnaotvorenieprogramuLenovoRescueSystem
potrebnéstlačiťkombináciuklávesovFn+F2.
-VsystémeWindows10:PoužiteprogramLenovoCompanion.Akchcetetentoprogramotvoriť,pozrite
sičasť„Získanieprístupukprogramuvpočítači“nastránke9
nájdetevsystémepomocipretentoprogram.
•PomocouslužbyWindowsUpdatezískajteaktualizáciesystému,akosúnapríkladopravyzabezpečenia,
novéverziesúčastísystémuWindowsaaktualizácieovládačovzariadení.
1.KliknutímnatlačidloŠtartotvorteponukuŠtart.
2.VzávislostiodverziesystémuWindowspoužitejedenznasledujúcichpostupov:
.Ďalšieinformácieopoužívaníprogramunájdetevsystémepomocipre
.Ďalšieinformácieopoužívaníprogramu
-VsystémeWindows7:KliknitenapoložkuOvládacípanel.Nastavtetypzobrazeniaovládacieho
panelanaVeľkéikonyaleboMaléikonyapotomkliknitenapoložkuWindowsUpdate.
-VsystémeWindows10:KliknitenapoložkyNastavenia➙Aktualizáciaazabezpečenie➙
WindowsUpdate.
3.Postupujtepodľapokynovnaobrazovke.
Premiestneniepočítača
Predpremiestnenímpočítačavykonajtenasledujúceúkony:
1.Zálohujtesiúdajenaukladaciujednotku.Pozritesičasť„Odporúčanépostupyúdržby“nastránke28.
2.Zjednotiekodstráňtevšetkymédiáavypnitevšetkypripojenézariadeniaapočítač.Potomodpojte
všetkynapájaciekábleodelektrickýchzásuviekaodpojteajvšetkykábleodpočítača.
3.Akstesiuschovalipôvodnéprepravnéobalyaobalovémateriály,použiteichnazabaleniejednotiek.Ak
používateinéobaly,zabaľtejednotkydomateriálovtlmiacichnárazy,abystesavyhliichpoškodeniu.
Premiestneniepočítačadoinejkrajinyaleboregiónu
Keďpočítačpremiestnitedoinejkrajinyaleboregiónu,jepotrebnézohľadniťmiestnenormypre
elektrickézaradenia.Aksamiestnytypelektrickejzásuvkylíšiodtypu,ktorýpoužívate,kontaktujte
CentrumpodporyzákazníkovspoločnostiLenovoazakúptesiadaptérpreelektrickúzástrčkualebo
novýnapájacíkábel.ZoznamtelefónnychčíselpodporyspoločnostiLenovonájdetenaadrese
http://www.lenovo.com/support/phone.Aknemôžetenájsťtelefónnečíslopodporypresvojukrajinualebo
región,kontaktujtepredajcuspoločnostiLenovo.
Kapitola3.Vyavášpočítač29
Page 40

30LenovoS500zPoužívateľskápríručka
Page 41

Kapitola4.Bezpečnosť
Tátokapitolaobsahujenasledujúcetémy:
•„Zamknutiepočítača“nastránke31
•„ZobrazenieazmenanastavenízabezpečeniavprogrameSetupUtility“nastránke32
•„Zabránenieneoprávnenémuprístupukpočítaču“nastránke32
•„Ochranaúdajovpredvírusmi“nastránke32
•„Ochranaúdajovpredvírusmi“nastránke32
•„SoftvérComputraceAgentvofirmvéri“nastránke32
Zamknutiepočítača
Tátočasťobsahujeinformácieozamknutípočítačapomocouzamykacíchzariadenínazabezpečenie
ochranypočítača.
PripojeniekáblovéhozámkutypuKensington
KáblovýzámoktypuKensingtonmôžetepoužiťnapripevneniepočítačakpracovnémustolu,stolualebo
inémuprenosnémuzariadeniu.Káblovýzámoksapripájadoslotubezpečnostnéhozámkunazadnejstrane
počítača.Vzávislostiodzvolenéhotypumožnokáblovýzámokuzamknúťkľúčomalebokódom.Káblový
zámokuzamykáajtlačidlápoužívanénaotvoreniekrytupočítača.Jetorovnakýtypzámku,ktorýsapoužíva
primnohýchprenosnýchpočítačoch.Takýtokáblovýzámoksimôžeteobjednaťpriamoodspoločnosti
Lenovo.ZadajtevýrazKensingtondovyhľadávaciehopoľanaadrese:
http://www.lenovo.com/support
©CopyrightLenovo2015,2016
31
Page 42

Obrázok13.KáblovýzámoktypuKensington
ZobrazenieazmenanastavenízabezpečeniavprogrameSetupUtility
AkchcetezobraziťazmeniťnastaveniazabezpečeniavprogrameSetupUtility,postupujtetakto:
1.SpustiteprogramSetupUtility.Pozritesičasť„SpustenieprogramuSetupUtility“nastránke33.
2.VybertepoložkuSecurity.
3.Podľapokynovzobrazenýchnapravejstraneobrazovkyzobrazteazmeňtenastaveniazabezpečenia.
Akchcetezískaťzákladnéinformácieoniektorýchhlavnýchnastaveniachzabezpečenia,pozritesičasť
„PoužívanieprogramuSetupUtility“nastránke33.
4.UkončiteprogramSetupUtility.Pozritesičasť„UkončenieprogramuSetupUtility“nastránke37.
Zabránenieneoprávnenémuprístupukpočítaču
PomocouhesielsystémuBIOSakontsystémuWindowsmôžetezabrániťneoprávnenémuprístupu
kpočítačuaúdajom.
•AkchcetepoužiťheslásystémuBIOS,pozritesičasť„PoužívaniehesielsystémuBIOS“nastránke35.
•AkchcetepoužiťkontásystémuWindows,postupujtetakto:
1.KliknutímnatlačidloŠtartotvorteponukuŠtart.
2.VzávislostiodverziesystémuWindowspoužitejedenznasledujúcichpostupov:
-VsystémeWindows7:KliknitenapoložkyOvládacípanel➙Používateľskékontá.
-VsystémeWindows10:KliknitenapoložkyNastavenia➙Kontá.
3.Postupujtepodľapokynovnaobrazovke.
Ochranaúdajovpredvírusmi
Vpočítačijepredinštalovanýantivírusovýprogram,ktorývámpomôžepriochranepredvírusmi,ichzisťovaní
aeliminácii.
SpoločnosťLenovoposkytujeplnúverziuantivírusovéhosoftvéruvpočítačina30dnízadarmo.Po30dňoch
musíteobnoviťlicenciu,abystemohlinaďalejdostávaťaktualizácieantivírusovéhosoftvéru.
Poznámka:Ochranaprednovýmivírusmivyžaduje,abybolisúboryobsahujúcedefinícievírusovpravidelne
aktualizované.
Ďalšieinformácieopoužívaníantivírusovéhosoftvérunájdetevsystémepomocivášhoantivírusového
softvéru.
SoftvérComputraceAgentvofirmvéri
SoftvérComputraceAgentjesoftvérovériešenienariadenieprostriedkovITaobnovuvprípadekrádeže
počítača.Softvérzistí,čivpočítačibolivykonanézmenyvhardvéri,softvérialebomiesteprihlásenia
počítačadosiete.AktiváciasoftvéruComputraceAgentmôževyžadovaťpredplatné.
32LenovoS500zPoužívateľskápríručka
Page 43

Kapitola5.Rozšírenákonfigurácia
Tátokapitolaobsahujenasledujúcetémy:
•„PoužívanieprogramuSetupUtility“nastránke33
•„AktualizáciasystémuBIOS“nastránke37
PoužívanieprogramuSetupUtility
ProgramSetupUtilityslúžinazobrazenieazmenunastaveníkonfiguráciepočítača.Tátočasťobsahuje
informácielenohlavnýchnastaveniachkonfiguráciedostupnýchvtomtoprograme.
Poznámka:Nastaveniaoperačnéhosystémumôžuzmeniťľubovoľnépodobnénastaveniavprograme
SetupUtility.
SpustenieprogramuSetupUtility
AkchcetespustiťprogramSetupUtility,postupujtetakto:
1.Počítačzapnitealeboreštartujte.
2.SkôrnežsaspustísystémWindows,niekoľkokrátstlačteauvoľniteklávesF1,kýmsaneotvoríprogram
SetupUtility.AkjenastavenéheslosystémuBIOS,programSetupUtilitysaneotvorí,kýmnezadáte
správneheslo.Ďalšieinformácienájdetevčasti„PoužívaniehesielsystémuBIOS“nastránke35
Poznámka:PriniektorýchklávesniciachmôžebyťnaotvorenieprogramuSetupUtilitypotrebnéstlačiť
kombináciuklávesovFn+F1.
.
Akchcetezobraziťazmeniťnastaveniakonfigurácie,postupujtepodľapokynovzobrazenýchnapravej
straneobrazovky.Klávesy,ktoréjemožnépoužiťnavykonanierozličnýchúloh,súzobrazenévspodnej
častiobrazovky.
Povoleniealebozakázaniezariadenia
Tátočasťobsahujeinformácieopovoleníazakázaníprístupupoužívateľakhardvérovýmzariadením(akosú
napríkladkonektoryUSBaleboukladaciejednotky).
Akchcetepovoliťalebozakázaťzariadenie,postupujtetakto:
1.SpustiteprogramSetupUtility.Pozritesičasť„SpustenieprogramuSetupUtility“nastránke33.
2.VybertepoložkuDevices.
3.Vybertezariadenie,ktoréchcetepovoliťalebozakázať,astlačteklávesEnter.
4.VybertepožadovanénastavenieastlačteklávesEnter.
5.UkončiteprogramSetupUtility.Pozritesičasť„UkončenieprogramuSetupUtility“nastránke37.
Zapnutiealebovypnutiefunkciíautomatickéhozapnutia
Akzapnetefunkcieautomatickéhozapnutia,počítačsaspustíautomaticky.
Akchcetezapnúťalebovypnúťfunkcieautomatickéhozapnutia,postupujtetakto:
1.SpustiteprogramSetupUtility.Pozritesičasť„SpustenieprogramuSetupUtility“nastránke33.
2.VybertepoložkyPower➙AutomaticPowerOnastlačteklávesEnter.
3.Vybertefunkciu,ktorúchcetezapnúťalebovypnúť,astlačteklávesEnter.
©CopyrightLenovo2015,2016
33
Page 44

4.VybertepožadovanénastavenieastlačteklávesEnter.
5.UkončiteprogramSetupUtility.Pozritesičasť„UkončenieprogramuSetupUtility“nastránke37.
ZapnutiealebovypnutierežimukompatibilitysostavomLPSpodľa
smerniceErP
PočítačeLenovospĺňajúpožiadavkynaekodizajnsmerniceErPLot3.Ďalšieinformácienájdetenaadrese:
http://www.lenovo.com/ecodeclaration
VprogrameSetupUtilitymôžetezapnúťrežimkompatibilitysostavomLPSpodľasmerniceErP ,abyste
znížilispotrebuelektrickejenergie,keďjepočítačvypnutýalebovrežimespánku.
AkchcetezapnúťalebovypnúťrežimkompatibilitysostavomLPSpodľasmerniceErP ,postupujtetakto:
1.SpustiteprogramSetupUtility.Pozritesičasť„SpustenieprogramuSetupUtility“nastránke33.
2.VybertepoložkyPower➙EnhancedPowerSavingModeastlačteklávesEnter.
3.Podľatoho,čichcetevybraťpoložkuEnabledaleboDisabled,použitejedenznasledujúcichpostupov:
•AkvyberietepoložkuEnabled,stlačteklávesEnter.PotomvypnitefunkciuWakeonLAN.Pozritesi
časť„Zapnutiealebovypnutiefunkciíautomatickéhozapnutia“nastránke33.
•AkvyberietepoložkuDisabled,stlačteklávesEnter.Potomprejditenanasledujúcikrok.
4.UkončiteprogramSetupUtility.Pozritesičasť„UkončenieprogramuSetupUtility“nastránke37.
KeďjezapnutýrežimkompatibilitysostavomLPSpodľasmerniceErP,počítačmôžeteprebudiťjednýmz
nasledujúcichspôsobov:
•Stlačtetlačidlonapájania.
•Zapnitefunkciuprebudeniaprialarme(WakeUponAlarm),abysapočítačprebudilvnastavenomčase.
Pozritesičasť„Zapnutiealebovypnutiefunkciíautomatickéhozapnutia“nastránke33.
•Zapnitefunkciuprebudeniapovýpadkunapájania(AfterPowerLoss),abysapočítačprebudilpri
obnovenínapájaniaponáhlomvýpadkunapájania.
1.SpustiteprogramSetupUtility.Pozritesičasť„SpustenieprogramuSetupUtility“nastránke33.
2.VybertepoložkyPower➙AfterPowerLossastlačteklávesEnter.
3.VybertepoložkuPowerOnastlačteklávesEnter.
4.UkončiteprogramSetupUtility.Pozritesičasť„UkončenieprogramuSetupUtility“nastránke37.
Zapnutiealebovypnutiefunkciezisťovaniazmenykonfigurácie
AkzapnetefunkciuzisťovaniazmenykonfigurácieatestPOSTzistízmenykonfigurácieniektorých
hardvérovýchzariadení(akosúnapríkladukladaciejednotkyalebopamäťovémoduly),prizapnutípočítača
sazobrazíchybovéhlásenie.
Akchcetezapnúťalebovypnúťfunkciuzisťovaniazmenykonfigurácie,postupujtetakto:
1.SpustiteprogramSetupUtility.Pozritesičasť„SpustenieprogramuSetupUtility“nastránke33.
2.VybertepoložkySecurity➙ConfigurationChangeDetectionastlačteklávesEnter.
3.VybertepožadovanénastavenieastlačteklávesEnter.
4.UkončiteprogramSetupUtility.Pozritesičasť„UkončenieprogramuSetupUtility“nastránke37.
Akchceteobísťtotochybovéhlásenieaprihlásiťsadooperačnéhosystému,použitejedenznasledujúcich
postupov:
•StlačteklávesF2.
34LenovoS500zPoužívateľskápríručka
Page 45

Poznámka:Priniektorýchklávesniciachmôžebyťnaobídeniechybovéhohláseniapotrebnéstlačiť
kombináciuklávesovFn+F2.
•SpustiteprogramSetupUtilityapotomhoukončite.Pozritesičasti„SpustenieprogramuSetupUtility“
nastránke33
a„UkončenieprogramuSetupUtility“nastránke37.
PoužívaniehesielsystémuBIOS
PomocouprogramuSetupUtilitymôžetenastaviťhesláapredísťtakneoprávnenémuprístupukpočítaču
aúdajom.
Napoužívaniepočítačanemusítenastaviťžiadneheslo.Používaniehesielzvyšujebezpečnosťpriprácis
počítačom.Aksarozhodnetenastaviťheslá,prečítajtesinasledujúcetémy.
TypyhesielprogramuSetupUtility
Kdispozíciisútietotypyhesiel:
•Hesloprizapnutí
Akjenastavenéhesloprizapnutí,prikaždomzapnutípočítačabudetevyzvanínazadanieplatnéhohesla.
Počítačnebudemožnépoužívať,kýmsanezadáplatnéheslo.
•Heslosprávcu
Nastavenímheslasprávcuzabrániteneoprávnenýmpoužívateľomvzmenenastaveníkonfigurácie.Ak
zodpovedátezaudržiavanienastaveníkonfigurácieniekoľkýchpočítačov,možnobudetechcieťnastaviť
heslosprávcu.
Akjenastavenéheslosprávcu,prikaždompokuseoprístupdoprogramuSetupUtilitybudetevyzvanína
zadanieplatnéhohesla.PrístupdoprogramuSetupUtilityniejemožný,kýmnezadáteplatnéheslo.
Akjenastavenéhesloprizapnutíajheslosprávcu,môžetezadaťktorékoľvekznich.Nazmenunastavení
konfigurácievšakbudetepotrebovaťheslosprávcu.
•Heslopevnéhodisku
Nastavenímheslapevnéhodiskuzabrániteneoprávnenémuprístupukúdajomnaukladacejjednotke.Ak
jenastavenéheslopevnéhodisku,prikaždompokuseoprístupkukladacejjednotkebudetevyzvanína
zadanieplatnéhohesla.
Poznámky:
-Ponastaveníheslapevnéhodiskubudúúdajenaukladacejjednotkechránenéajvprípade,žesa
ukladaciajednotkavyberiezjednéhopočítačaanainštalujedoiného.
-Akzabudneteheslopevnéhodisku,nebudetemôcťnastaviťnovéhesloaniobnoviťúdajezukladacej
jednotky.
Poznámkykheslám
Heslomôžebyťľubovoľnákombinácia64abecednýchanumerickýchznakov.Zbezpečnostnýchdôvodov
jevhodnépoužívaťsilnéheslá,ktorénemožnojednoduchoodhaliť.
Poznámka:VhesláchprogramuSetupUtilitysanerozlišujúmaléaveľképísmená.
Akchcetenastaviťsilnéheslo,postupujtepodľatýchtopravidiel:
•Heslomusímaťdĺžkuaspoňosemznakov
•Obsahujeaspoňjedenabecednýznakajedenčíselnýznak
•Nepoužívajtesvojemenoanimenopoužívateľa
•Nepoužívajtebežnéslováanibežnémená
•Musiasavýrazneodlišovaťodvašichpredchádzajúcichhesiel
Kapitola5.Rozšírenákonfigurácia35
Page 46

Nastavenie,zmenaavymazaniehesla
Akchcetenastaviť,zmeniťalebovymazaťheslo,postupujtetakto:
1.SpustiteprogramSetupUtility.Pozritesi„SpustenieprogramuSetupUtility“nastránke33.
2.VybertepoložkuSecurity.
3.VzávislostiodtypuheslavybertemožnosťSetPower-OnPassword,SetAdministratorPassword
aleboHardDiskPasswordastlačteklávesEnter.
4.Postupujtepodľapokynovzobrazenýchnapravejstraneobrazovky,abystenastavili,zmenilialebo
vymazalipríslušnéheslo.
Poznámka:Heslomôžebyťľubovoľnákombinácia64abecednýchanumerickýchznakov.Ďalšie
informácienájdetevčasti„Poznámkykheslám“nastránke35.
5.UkončiteprogramSetupUtility.Pozritesičasť„UkončenieprogramuSetupUtility“nastránke37.
Výberspúšťaciehozariadenia
Aksapočítačnespustízočakávanéhozariadenia,môžetenatrvalozmeniťpostupnosťspúšťacíchzariadení
alebomôžetevybraťdočasnéspúšťaciezariadenie.
Trvalázmenapostupnostispúšťacíchzariadení
Akchcetenatrvalozmeniťpostupnosťspúšťacíchzariadení,postupujtetakto:
1.Vzávislostiodtypuukladaciehozariadeniapoužitejedenznasledujúcichpostupov:
•Akjeukladaciezariadenieinterné,prejditenakrok2.
•Akjeukladacímzariadenímdisk,zapnitepočítač,akniejezapnutý.Potomvložtediskdooptickej
jednotky.
•Akjeukladacímzariadenímexternézariadenieinéakodisk,ukladaciezariadeniepripojtekpočítaču.
2.SpustiteprogramSetupUtility.Pozritesičasť„SpustenieprogramuSetupUtility“nastránke33.
3.VyberteponukuStartup.
4.Podľapokynovzobrazenýchnapravejstraneobrazovkyzmeňtepostupnosťspúšťacíchzariadení.
5.UkončiteprogramSetupUtility.Pozritesičasť„UkončenieprogramuSetupUtility“nastránke37.
Výberdočasnéhospúšťaciehozariadenia
Poznámka:Nievšetkydiskyaukladaciejednotkysúspúšťacie.
Akchcetevybraťdočasnéspúšťaciezariadenie,postupujtetakto:
1.Vzávislostiodtypuukladaciehozariadeniapoužitejedenznasledujúcichpostupov:
•Akjeukladaciezariadenieinterné,prejditenakrok2.
•Akjeukladacímzariadenímdisk,zapnitepočítač,akniejezapnutý.Potomvložtediskdooptickej
jednotky.
•Akjeukladacímzariadenímexternézariadenieinéakodisk,ukladaciezariadeniepripojtekpočítaču.
2.Počítačzapnitealeboreštartujte.SkôrnežsaspustísystémWindows,niekoľkokrátstlačteauvoľnite
klávesF12,kýmsanezobrazíponukaStartupDeviceMenu.
Poznámka:PriniektorýchklávesniciachmôžebyťnazobrazenieponukyStartupDeviceMenupotrebné
stlačiťkombináciuklávesovFn+F12.
3.VybertepožadovanéukladaciezariadenieastlačteklávesEnter.Počítačsaspustízvybratého
zariadenia.
36LenovoS500zPoužívateľskápríručka
Page 47

Akchcetevybraťtrvaléspúšťaciezariadenie,vponukeStartupDeviceMenuvybertepoložkuEnterSetupa
stlačenímklávesuEnterspustiteprogramSetupUtility.Ďalšieinformácieovýberetrvaléhospúšťacieho
zariadenianájdetevčasti„Trvalázmenapostupnostispúšťacíchzariadení“nastránke36
.
UkončenieprogramuSetupUtility
AkchceteukončiťprogramSetupUtility,použitejedenznasledujúcichpostupov:
•Akchceteuložiťnovénastavenia,stlačteklávesF10.VzobrazenomoknepotomvybertemožnosťYes
astlačteklávesEnter.
Poznámka:PriniektorýchklávesniciachmôžebyťnaukončenieprogramuSetupUtilitypotrebnéstlačiť
kombináciuklávesovFn+F10.
•Aknechceteuložiťnovénastavenia,vybertepoložkyExit➙DiscardChangesandExitastlačtekláves
Enter.VzobrazenomoknepotomvybertemožnosťY esastlačteklávesEnter.
AktualizáciasystémuBIOS
Ponainštalovanínovéhoprogramu,hardvérovéhozariadeniaaleboovládačazariadeniasamôžezobraziť
informáciaotom,žejepotrebnéaktualizovaťsystémBIOS.AktualizáciusystémuBIOSmôžetevykonaťz
operačnéhosystémualebodiskusaktualizáciou(podporovanélenpriniektorýchmodeloch).
AkchceteaktualizovaťsystémBIOS,postupujtetakto:
1.Prejditenaadresuhttp://www.lenovo.com/drivers.
2.PrevezmiteovládačnaaktualizáciusystémuBIOS–verziupreoperačnýsystémaleboverziuvoforme
obrazuISO,ktorýslúžinavytvoreniediskusaktualizáciou.Potomprevezmitepokynynainštaláciupre
ovládačnaaktualizáciusystémuBIOS,ktorýsteprevzali.
3.PrevzatépokynynainštaláciusivytlačteapodľanichaktualizujtesystémBIOS.
Poznámka:AkchcetesystémBIOSaktualizovaťzdiskusaktualizáciou,pokynynainštaláciunemusia
obsahovaťinformácieotom,akomátetentodiskvytvoriť.Pozritesičasť„Používaniedisku“nastránke18.
Kapitola5.Rozšírenákonfigurácia37
Page 48

38LenovoS500zPoužívateľskápríručka
Page 49

Kapitola6.Riešenieproblémov,diagnostikaaobnova
Vtejtokapitolenájdeteriešeniaproblémovspočítačom.Vykonajtezákladnýpostuppririešeníproblémovs
počítačom,počasktoréhovyužijeteinformáciezčastíoriešeníproblémov,diagnostikeaobnove.
•„Základnýpostuppririešeníproblémovspočítačom“nastránke39
•„Riešenieproblémov“nastránke39
•„Diagnostika“nastránke48
•„Informácieoobnove“nastránke49
Základnýpostuppririešeníproblémovspočítačom
Navyriešenieproblémovspočítačomsaodporúčapoužiťnasledujúcipostup:
1.Skontrolujte,čisúsplnenénasledujúcepodmienky:
a.Káblevšetkýchpripojenýchzariadenísúsprávneapevnepripojené.
b.Všetkypripojenézariadenia,ktorévyžadujúnapájaniestriedavýmprúdom,súzapojenédosprávne
uzemnenejafunkčnejelektrickejzásuvky.
c.VšetkypripojenézariadeniasúpovolenévnastaveniachsystémuBIOSpočítača.Pozritesičasť
„Povoleniealebozakázaniezariadenia“nastránke33.
Aksatýmtoproblémnevyrieši,prejditenanasledujúcikrok.
2.Použiteantivírusovýprogram,abystezistili,čipočítačniejeinfikovanývírusom.Akprogramzistívírus,
odstráňtetentovírus.Akantivírusovýprogramproblémnevyrieši,prejditenanasledujúcikrok.
3.Prejditenatému„Riešenieproblémov“nastránke39apostupujtepodľapokynovpretypproblému,
ktorýsavyskytol.Akpomocoutýchtopokynovnariešenieproblémovsvojproblémnevyriešite,
prejditenanasledujúcikrok.
4.Spustitediagnostickýprogram.Pozritesičasť„Diagnostika“nastránke48.Akdiagnostickýprogram
problémnevyrieši,prejditenanasledujúcikrok.
5.Vykonajteobnovenieoperačnéhosystému.Pozritesičasť„Informácieoobnove“nastránke49.
6.Akproblémnevyriešižiadnaztýchtoakcií,kontaktujteCentrumpodporyzákazníkov
spoločnostiLenovo.ZoznamtelefónnychčíselpodporyspoločnostiLenovonájdetenaadrese
http://www.lenovo.com/support/phone.Ďalšieinformácieopomoci,serviseatechnickejpodpore
obsahujeKapitola8„Získavanieinformácií,pomociaservisu“nastránke69.
Riešenieproblémov
Upozornenie:Neotvárajtepočítačanisanepokúšajteožiadnejehoopravyskôr,akosiprečítatečasť„Ako
prvésiprečítajtedôležitébezpečnostnéinformácie“vtomtodokumente.
Informácieoodstraňovaníproblémovmôžetepoužiťnavyhľadanieriešeníproblémovsjednoznačnými
príznakmi.
Problémysospustením
Tátočasťobsahujeriešeniaproblémovtýkajúcichsaspustenia.
Počítačsapostlačenítlačidlanapájanianespustí
Riešenia:Skontrolujte,čisúsplnenénasledujúcepodmienky:
•Napájacíkábeljesprávnezapojenýdozadnejstranypočítačaadofungujúcejelektrickejzásuvky.
©CopyrightLenovo2015,2016
39
Page 50

•Aksanazadnejstranepočítačanachádzasekundárnyvypínačnapájania,presvedčtesa,čijezapnutý.
•Indikátornapájanianaprednejstranepočítačajezapnutý.
•Vyžadovanénapätievášhopočítačasazhodujesnapätímelektrickejzásuvkyvovašejkrajinealebo
oblasti.
Operačnýsystémsanespustí
Riešenie:Uistitesa,žepostupnosťspúšťacíchzariadeníobsahujezariadenie,naktoromsanachádza
operačnýsystém.Operačnýsystémsazvyčajnenachádzanaukladacejjednotke.Ďalšieinformácienájdete
včasti„Trvalázmenapostupnostispúšťacíchzariadení“nastránke36
.
Počítačpredspustenímoperačnéhosystémuvydániekoľk okrátzvukovéznamenie
Riešenie:Skontrolujte,činiektoréklávesyniesúzaseknuté.
Problémysozvukom
Tátočasťobsahujeriešeniaproblémovtýkajúcichsazvuku.
VsystémeWindowsniejekdispozíciizvuk
Riešenia:
•Akpoužívatenapájanéexternéreproduktorysovládacímprvkomzapnutiaavypnutia,uistitesa,že:
-OvládacíprvokzapnutiaavypnutiajenastavenýdopolohyZapnuté.
-Napájacíkábelreproduktorovjezapojenýdosprávneuzemnenejafunkčnejelektrickejzásuvky.
•Akmáteexternéreproduktorysovládacímiprvkamihlasitosti,skontrolujte,čihlasitosťniejenastavená
naprílišnízkuhodnotu.
•KliknitenaikonuhlasitostivoblastioznámenísystémuWindowsnapaneliúloh.Skontrolujte,činieje
začiarknutépolíčkoStlmiťreproduktoryačijednotlivénastaveniahlasitostiniesúnastavenénapríliš
nízkuhodnotu.
Poznámka:AkikonahlasitostiniejevoblastioznámenísystémuWindowszobrazená,pridajtejudo
oblastioznámení.Pozritesičasť„PridanieikonydooblastioznámenísystémuWindows“nastránke18
•Niektorémodelymajúnaprednejstranepanelnanastaveniezvuku,ktorýmôžetepoužiťnanastavenie
hlasitosti.Akmáteprednýpanelnanastaveniezvuku,skontrolujte,čihlasitosťniejenastavenána
prílišnízkuhodnotu.
•Skontrolujte,čisúexternéreproduktory(aslúchadlá,aksapoužívajú)pripojenéksprávnemuzvukovému
konektorunapočítači.Väčšinakáblovreproduktorovjefarebneoznačenávzhodesfarebnýmoznačením
konektora.
Poznámka:Keďjekzvukovémukonektorupripojenýkábelexternýchreproduktorovaleboslúchadiel,
internýreproduktor(akexistuje)jevypnutý.Voväčšineprípadovplatí,žeakjevniektoromzrozširujúcich
slotovnainštalovanázvukovákarta,zabudovanésúčastiprefunkciezvukunasystémovejdoskesú
vypnuté.Pretojenutnépoužiťzvukovékonektorynazvukovejkarte.
•Skontrolujte,čijespustenýprogramnavrhnutýnapoužívanievprostredíoperačnéhosystémuMicrosoft
Windows.AkjeprogramnavrhnutýnaspúšťanievsystémeDOS,nepoužívafunkcieprezvukvsystéme
Windows.ProgramsamusínakonfigurovaťnapoužívanieemulácieSoundBlasterProaleboSoundBlaster.
•Skontrolujte,čisúovládačezvukovýchzariadenínainštalovanésprávne.
Zvukvychádzaibazjednéhoexternéhoreproduktora
Riešenia:
•Skontrolujte,čijekábelreproduktoraúplnezasunutýdokonektoranapočítači.
.
40LenovoS500zPoužívateľskápríručka
Page 51

•Skontrolujte,čijekábelspájajúciľavýreproduktorspravýmreproduktorompevnepripojený.
•KliknitenaikonuhlasitostivoblastioznámenísystémuWindowsnapaneliúloh.Potomkliknitenaikonu
reproduktoranadovládanímhlasitosti.KliknitenakartuÚrovneaskontrolujte,čijenastavenieVyváženie
nastavenésprávne.
Poznámka:AkikonahlasitostiniejevoblastioznámenísystémuWindowszobrazená,pridajtejudo
oblastioznámení.Pozritesičasť„PridanieikonydooblastioznámenísystémuWindows“nastránke18
ProblémysdiskamiCD
TátočasťobsahujeriešeniaproblémovtýkajúcichsadiskovCD.
DiskCDalebodiskDVDnefunguje
Riešenia:
•AkmátenainštalovanéviaceréjednotkyCDaleboDVD(alebokombináciujednotiekCDaDVD),skúste
vložiťdiskdoinejjednotky.Vniektorýchprípadochjekzvukovémupodsystémupripojenáibajednaz
týchtojednotiek.
•Skontrolujte,čijediskvloženýsprávne(potlačounahor).
•Skontrolujte,čijedisk,ktorýpoužívate,čistý.Akchceteodstrániťprachaleboodtlačkyprstov,vyčistite
diskjemnoulátkoutak,žehobudeteutieraťsmeromodstredukokrajom.Utieraniediskukrúživými
pohybmimôževiesťkstrateúdajov.
•Skontrolujte,čidisk,ktorýpoužívate,niejepoškriabanýalebopoškodený.Skústevložiťinýdisk,oktorom
viete,žejevporiadku.Akzariadenienedokážečítaťosvedčenýdisk,môžeísťoproblémsoptickou
jednotkoualeboskáblovýmpripojenímkoptickejjednotke.Skontrolujte,čijenapájacíasignálový
kábelbezpečnepripojenýkjednotke.
.
Zavádzaciemédiumobnovy,akojenapríkladdiskProductRecoveryCD,sanedá
použiťnaspusteniepočítača
Riešenie:Vpostupnostispúšťacíchzariadenískontrolujte,čisajednotkaCDaleboDVDnachádzapred
ukladacoujednotkou.Informácieozobrazeníazmenepostupnostispúšťacíchzariadenínájdetevčasti
„Výberdočasnéhospúšťaciehozariadenia“nastránke36.Priniektorýchmodelochjepostupnosťspúšťacích
zariadenínastavenánatrvaloanedásazmeniť.
ProblémysdiskamiDVD
TátočasťobsahujeriešeniaproblémovtýkajúcichsadiskovDVD.
NamiestoDVDvideasazobrazíčiernaobrazovka
Riešenia:
•ReštartujteprogramprehrávačadiskovDVD.
•Skústepoužiťnižšiuhodnoturozlíšeniaobrazovkyalebofarebnejhĺbky.
•Zatvortevšetkyotvorenésúboryapotomreštartujtepočítač.
DiskDVDfilmusaneprehráva
Riešenia:
•Skontrolujte,čipovrchdiskuniejeznečistenýalebopoškriabaný.
•Skontrolujtekódovanieoblastidiskualebobalíka.Možnobudepotrebnékúpiťdiskskódovanímpre
oblasť,vktorejpočítačpoužívate.
Kapitola6.Riešenieproblémov,diagnostikaaobnova41
Page 52

PočasprehrávaniadiskuDVDfilmunepočuťžiadnyzvukalebozvukjeprerušovaný
Riešenia:
•Skontrolujtenastavenieovládacíchprvkovhlasitostivpočítačianareproduktoroch.
•Skontrolujte,čipovrchdiskuniejeznečistenýalebopoškriabaný.
•Skontrolujtepripojenievšetkýchkáblovkreproduktorom.
•PoužiteponukuDVDprevideoavyberteinúzvukovústopu.
Prehrávaniejepomaléaleboniejeplynulé
Riešenia:
•Vypnitevšetkyprogramyspustenénapozadí,akojenapríkladantivírusovýprogramalebomotívy
pracovnejplochy.
•Skontrolujte,čijerozlíšenievideanastavenénahodnotunižšiunež1152x864pixelov.
Hlásenieoneplatnomalebonenájdenomdisku
Riešenia:
•Skontrolujte,čijediskDVDvloženýdojednotkyleskloustranounadol.
•Skontrolujte,čijerozlíšenievideanastavenénahodnotunižšiunež1152x864pixelov.
•Pripočítačoch,ktoréokremjednotkyDVD-ROMobsahujúajjednotkuCD-ROMalebojednotkuCD-RW,
skontrolujte,čijediskDVDvloženýdojednotkyoznačenejako„DVD“.
Bezprostrednevzniknutéproblémy
Niektoréproblémysavyskytujúibapríležitostneajezložitéznovaichnasimulovať.
Riešenia:
•Skontrolujte,čisúvšetkykábleašnúrypevnepripojenékpočítačuapripojenýmzariadeniam.
•Keďjepočítačzapnutý,skontrolujte,čimriežkaventilátoraniejeblokovaná(t.j.cezmriežkuprúdi
vzduch)ačiventilátorypracujú.Akjeprúdenievzduchuzablokovanéaleboakventilátorynepracujú,
počítačsamôžeprehriať.
•AksúnainštalovanézariadeniaSCSI(SmallComputerSystemInterface),skontrolujte,čijeposledné
externézariadenievkaždejreťazizariadeníSCSIsprávneukončené.Ďalšieinformácienájdetev
dokumentáciikzariadeniamtypuSCSI.
Problémysukladacoujednotkou
Vybertepríznakvnasledujúcomzozname:
•„VprogrameSetupUtilitychýbajúniektoréalebovšetkyukladaciejednotky“nastránke42
•„Hlásenie„Nenašielsažiadnyoperačnýsystém“alebosasystémnespúšťazosprávnejukladacej
jednotky“nastránke43
VprogrameSetupUtilitychýbajúniektoréalebovšetkyukladaciejednotky
Príznak:VprogrameSetupUtilitychýbajúniektoréalebovšetkyukladaciejednotky
Riešenia:
•Skontrolujte,čisúvšetkysignálovéanapájaciekábleukladacíchjednotieksprávnepripojené.
•Skontrolujte,čijepočítačsprávnenakonfigurovanýnapodporuukladacíchjednotiek.
42LenovoS500zPoužívateľskápríručka
Page 53

-AkjevpočítačinainštalovanýchpäťukladacíchjednotiekSATA,skontrolujte,čijenainštalovanýmodul
povoleniaukladacíchjednotiekSATA(jednejažpiatich).
-AksúvpočítačinainštalovanéukladaciejednotkySAS,skontrolujte,čijenainštalovanýmodul
povoleniaukladacíchjednotiekSAS(jednejažpiatich)aleboadaptérLSIMegaRAIDSAS.
Hlásenie„Nenašielsažiadnyoperačnýsystém“alebosasystémnespúšťazo
správnejukladacejjednotky
Príznak:Hlásenie„Nenašielsažiadnyoperačnýsystém“alebosasystémnespúšťazosprávnejukladacej
jednotky
Riešenia:
•Skontrolujte,čisúvšetkysignálovéanapájaciekábleukladacíchjednotieksprávnepripojené.
•Skontrolujte,čijeukladaciajednotka,zktorejsapočítačspúšťa,uvedenávprogrameSetupUtilityako
prvéspúšťaciezariadenie.Pozritesičasť„Trvalázmenapostupnostispúšťacíchzariadení“nastránke36.
Poznámka:Vzriedkavýchprípadochsaukladaciajednotkasoperačnýmsystémommôžepoškodiť.V
takýchprípadochmožnobudepotrebnéukladaciujednotkuvymeniť.
Problémysobrazovkou
Tátočasťobsahujeriešeniaproblémovtýkajúcichsaobrazovky.
Obrazzmiznekýmjepočítačzapnutý
Riešenia:
•Vyžadovanénapätievášhopočítačasazhodujesnapätímelektrickejzásuvkyvovašejkrajinealebo
oblasti.
•Stlačtekláves,abysteukončilišetričobrazovky.
•Stlačenímtlačidlanapájaniaobnovtenormálnuprevádzkupočítačazrežimuspánkualebodlhodobého
spánku.
•Nastavtesprávnyjasakontrast.
•Aksapospusteníaplikačnéhoprogramuvypneobrazovka,nainštalujteovládačzariadeniapredaný
aplikačnýprogram.Akchcetezistiť,čisavyžadujúnejakéovládačezariadení,pozritesidokumentáciuk
príslušnémuaplikačnémuprogramu.
Obrazbliká
Riešenia:
•Obrazovkamôžebyťovplyvnenárušenímzozariadenianachádzajúcehosavjejblízkosti.Príčinou
problémumôžubyťmagneticképoliainýchzariadení,akosúnapríkladtransformátory,spotrebiče,
fluorescenčnésvietidláaďalšiemonitory.Presuňtežiarivkovéstolovésvietidloaleboinézariadenie
vytvárajúcemagneticképoleďalejodobrazovky.Aksatýmproblémneodstráni,vypnitepočítač.Potom
upravtevzdialenostimedzipočítačomaostatnýmizariadeniaminaaspoň305mm.Zapnitepočítač.
•Znovanastavteobnovovaciufrekvenciupodporovanúpočítačom.
1.Kliknitepravýmtlačidlommyšinaprázdnuoblasťnapracovnejploche.
2.VzávislostiodverziesystémuWindowspoužitejedenznasledujúcichpostupov:
-VsystémeWindows7:KliknitenapoložkyRozlíšenieobrazovky➙Rozšírenénastavenie.
-VsystémeWindows10:KliknitenapoložkuNastavenieobrazovky.NakarteObrazovkakliknite
napoložkyRozšírenénastaveniazobrazenia➙Vlastnostigrafickéhoadaptéra.
3.KliknitenakartuMonitoraznovanastavtenajvyššiuneprekladanúobnovovaciufrekvenciu.
Kapitola6.Riešenieproblémov,diagnostikaaobnova43
Page 54

Obrazniejefarebný
Riešenie:Obrazovkamôžebyťovplyvnenárušenímzozariadenianachádzajúcehosavjejblízkosti.Presuňte
žiarivkovéstolovésvietidloaleboinézariadenievytvárajúcemagneticképoleďalejodobrazovky.Akproblém
pretrváva,vykonajtetietokroky:
1.Vypnitepočítač.
2.Upravtevzdialenostimedzipočítačomaostatnýmizariadeniaminaaspoň305mm.
3.Zapnitepočítač.
Problémysosieťovýmpripojením
Tátočasťobsahujeriešeniaproblémovtýkajúcichsasieťovéhopripojenia.
ProblémysethernetovousieťouLAN
PočítačsanemôžepripojiťkethernetovejsietiLAN
Riešenia:
•PripojtekábelethernetovéhokonektorakukonektoruRJ45rozbočovača.
•ZapnitefunkciupripojeniakethernetovejsietiLANvprogrameSetupUtility.Pozritesičasť„Spustenie
programuSetupUtility“nastránke33.Potompostupujtepodľapokynovnaobrazovke.
•ZapniteadaptérethernetovejsieteLAN.
1.VzávislostiodverziesystémuWindowspoužitejedenznasledujúcichpostupov:
-VsystémeWindows7:KliknutímnatlačidloŠtartotvorteponukuŠtart.
-VsystémeWindows10:KliknutímpravýmtlačidlommyšinatlačidloŠtartotvortekontextovú
ponukuŠtart.
2.KliknitenapoložkuOvládacípanel.NastavtetypzobrazeniaovládaciehopanelanaVeľkéikony
aleboMaléikonyapotomkliknitenapoložkyCentrumsietí➙Zmeniťnastavenieadaptéra.
3.KliknitepravýmtlačidlommyšinaikonuadaptéraethernetovejsieteLANapotomkliknitenapoložku
Zapnúť.
•AktualizujtealeboznovanainštalujteovládačadaptéraethernetovejsieteLAN.Pozritesičasť„Udržiavanie
počítačavaktualizovanomstave“nastránke28
•Nainštalujtevšetoksieťovýsoftvér,ktorýpotrebujetepresvojesieťovéprostredie.Skontrolujtespolus
administrátoromsieteLAN,čimátekdispozíciipožadovanýsieťovýsoftvér.
•Preportprepínačaaadaptérnastavterovnakýduplexnýrežim.Akstenakonfigurovaliadaptérna
plneduplexnýrežim,zabezpečte,abybolajportprepínačanakonfigurovanýnaplneduplexnýrežim.
Nastavenienesprávnehoduplexnéhorežimumôževiesťkzníženiuvýkonu,strateúdajovalebostrate
pripojenia.
MámmodelpočítačapodporujúcištandardGigabitEthernetapoužívamrýchlosť1000Mb/s,ale
pripojeniezlyhaloalebosavyskytlachyba
Riešenie:Pripojtesieťovýkábelkethernetovémukonektorupomocoukabelážekategórie5arozbočovača
aleboprepínačatypu100BASE-T(nietypu100BASE-X).
MámmodelpočítačapodporujúcištandardGigabitEthernet,alenemôžesapripojiťksietirýchlosťou
1000Mb/s,aleiba100Mb/s
Riešenia:
.
•Skústepoužiťinýkábel.
•Nastavteprepojenézariadenienaautomatickévyjednávanie.
•Nastavteprepínačtak,abybolkompatibilnýsoštandardom802.3ab(gigabitovercopper).
44LenovoS500zPoužívateľskápríručka
Page 55

FunkciaWakeonLANnefunguje
Riešenie:ZapnitefunkciuWakeonLAN(WOL)vprogrameSetupUtility.Pozritesičasť„Spustenieprogramu
SetupUtility“nastránke33.Potompostupujtepodľapokynovnaobrazovke.
ProblémsbezdrôtovousieťouLAN
Poznámka:FunkciapripojeniakbezdrôtovejsietiLANjevoliteľná.
FunkciapripojeniakbezdrôtovejsietiLANnefunguje
Riešenia:
•ZapnitefunkciupripojeniakbezdrôtovejsietiLANvprogrameSetupUtility.Pozritesičasť„Spustenie
programuSetupUtility“nastránke33.Potompostupujtepodľapokynovnaobrazovke.
•VsystémeWindows10zapnitefunkciupripojeniakbezdrôtovejsietiLANvnastaveniachsystému
Windows.KliknutímnatlačidloŠtartotvorteponukuŠtartakliknitenapoložkyNastavenia➙Sieťa
internet➙Wi-Fi.ZapnitefunkciuWi-Fi.
•ZapniteadaptérbezdrôtovejsieteLAN.
1.VzávislostiodverziesystémuWindowspoužitejedenznasledujúcichpostupov:
-VsystémeWindows7:KliknutímnatlačidloŠtartotvorteponukuŠtart.
-VsystémeWindows10:KliknutímpravýmtlačidlommyšinatlačidloŠtartotvortekontextovú
ponukuŠtart.
2.KliknitenapoložkuOvládacípanel.NastavtetypzobrazeniaovládaciehopanelanaVeľkéikony
aleboMaléikonyapotomkliknitenapoložkyCentrumsietí➙Zmeniťnastavenieadaptéra.
3.KliknitepravýmtlačidlommyšinaikonuadaptérabezdrôtovejsieteLANapotomkliknitenapoložku
Zapnúť.
•AktualizujtealeboznovanainštalujteovládačadaptérabezdrôtovejsieteLAN.Pozritesičasť„Udržiavanie
počítačavaktualizovanomstave“nastránke28.
ProblémyspripojenímBluetooth
Poznámka:FunkciaBluetoothjevoliteľná.
FunkciaBluetoothnefunguje
Riešenia:
•ZapnitefunkciuBluetoothvprogrameSetupUtility.Pozritesičasť„SpustenieprogramuSetupUtility“na
stránke33
•ZapniterádiovémodulyBluetooth.
1.VzávislostiodverziesystémuWindowspoužitejedenznasledujúcichpostupov:
2.KliknitenapoložkuSprávcazariadení.Aksazobrazívýzva,zadajteheslosprávcualebouveďte
3.KliknitepravýmtlačidlommyšinarádiovémodulypodpoložkouRádiovémodulyBluetootha
•ZapniteadaptérBluetooth.
1.VzávislostiodverziesystémuWindowspoužitejedenznasledujúcichpostupov:
.Potompostupujtepodľapokynovnaobrazovke.
-VsystémeWindows7:KliknutímnatlačidloŠtartotvorteponukuŠtart.Kliknitepravýmtlačidlom
myšinapoložkuPočítačapotomkliknitenapoložkuVlastnosti.
-VsystémeWindows10:KliknutímpravýmtlačidlommyšinatlačidloŠtartotvortekontextovú
ponukuŠtart.
potrebnéinformácie.
potomkliknitenapoložkuZapnúť.
-VsystémeWindows7:KliknutímnatlačidloŠtartotvorteponukuŠtart.
Kapitola6.Riešenieproblémov,diagnostikaaobnova45
Page 56

-VsystémeWindows10:KliknutímpravýmtlačidlommyšinatlačidloŠtartotvortekontextovú
ponukuŠtart.
2.KliknitenapoložkuOvládacípanel.NastavtetypzobrazeniaovládaciehopanelanaVeľkéikony
aleboMaléikonyapotomkliknitenapoložkyCentrumsietí➙Zmeniťnastavenieadaptéra.
3.KliknitepravýmtlačidlommyšinaikonuadaptéraBluetoothapotomkliknitenapoložkuZapnúť.
•AktualizujtealeboznovanainštalujteovládačBluetooth.Pozritesičasť„Udržiavaniepočítačav
aktualizovanomstave“nastránke28
ZnáhlavnejsúpravyaleboslúchadielBluetoothnepočuťžiadnyzvuk
Riešenie:NáhlavnúsúpravualeboslúchadláBluetoothnastavteakopredvolenézariadenie.
1.Skončiteaplikáciu,ktorápoužívazvukovézariadenie(napríkladprehrávačWindowsMediaPlayer).
2.KliknitepravýmtlačidlommyšinaikonuhlasitostivoblastioznámenísystémuWindowsnapaneliúloh.
Poznámka:AkikonahlasitostiniejevoblastioznámenísystémuWindowszobrazená,pridajtejudo
oblastioznámení.Pozritesičasť„PridanieikonydooblastioznámenísystémuWindows“nastránke18
3.KliknitenapoložkuPrehrávaciezariadenia.
4.AkpoužívateprofilHeadset,vybertepoložkuBluetoothHands-freeAudioapotomkliknitenatlačidlo
Predvoliť.AkpoužívateprofilAV,vybertepoložkuStereoAudioapotomkliknitenatlačidloPredvoliť.
5.KliknitenatlačidloOK.
.
Problémysvýkonom
Tátočasťobsahujeriešeniaproblémovtýkajúcichsavýkonupočítača.
.
Nadmernýpočetfragmentovanýchsúborov
Riešenie:PoužitefunkciudefragmentáciediskualebooptimalizáciediskusystémuWindowsnavyčistenie
súborov.
Poznámka:Vzávislostiodveľkostiukladacíchjednotiekamnožstvaúdajov,ktorésúnanichuložené,môže
procesdefragmentáciediskutrvaťajniekoľkohodín.
1.Zatvortevšetkyotvorenéprogramyaokná.
2.KliknutímnatlačidloŠtartotvorteponukuŠtart.
3.VzávislostiodverziesystémuWindowspoužitejedenznasledujúcichpostupov:
•VsystémeWindows7:KliknitenapoložkuPočítač.
•VsystémeWindows10:KliknitenapoložkyPrieskumník➙Tentopočítač.
4.KliknitepravýmtlačidlommyšinajednotkuCapotomkliknitenapoložkuVlastnosti.
5.KliknitenakartuNástroje.
6.VzávislostiodverziesystémuWindowspoužitejedenznasledujúcichpostupov:
•VsystémeWindows7:KliknitenapoložkuDefragmentovať.
•VsystémeWindows10:KliknitenapoložkuOptimalizovať.Vybertepožadovanújednotkuakliknite
napoložkuOptimalizovať.
7.Postupujtepodľapokynovnaobrazovke.
Nedostatokvoľnéhomiestanaukladacejjednotke
Riešenia:Uvoľnitemiestonaukladacejjednotke.
•Odstráňtenepotrebnée-mailyvzložkáchdoručenejpošty,odoslanýchpoložiekaodstránenýchpoložiek
svojeje-mailovejaplikácie.
•VyčistitejednotkuC.
46LenovoS500zPoužívateľskápríručka
Page 57

1.KliknutímnatlačidloŠtartotvorteponukuŠtart.
2.VzávislostiodverziesystémuWindowspoužitejedenznasledujúcichpostupov:
-VsystémeWindows7:KliknitenapoložkuPočítač.
-VsystémeWindows10:KliknitenapoložkyPrieskumník➙Tentopočítač.
3.KliknitepravýmtlačidlommyšinajednotkuCapotomkliknitenapoložkuVlastnosti.
4.SkontrolujtemnožstvovoľnéhomiestaapotomkliknitenapoložkuČisteniedisku.
5.Zobrazísazoznamkategóriínepotrebnýchsúborov.Vybertekaždúkategóriusúborov,ktorúchcete
odstrániť,apotomkliknitenapoložkuOK.
•VypniteniektoréfunkciesystémuWindowsaleboodstráňteniektorénepotrebnéprogramy.
1.VzávislostiodverziesystémuWindowspoužitejedenznasledujúcichpostupov:
-VsystémeWindows7:KliknutímnatlačidloŠtartotvorteponukuŠtart.
-VsystémeWindows10:KliknutímpravýmtlačidlommyšinatlačidloŠtartotvortekontextovú
ponukuŠtart.
2.KliknitenapoložkuOvládacípanel.NastavtetypzobrazeniaovládaciehopanelanaVeľkéikony
aleboMaléikonyapotomkliknitenapoložkuProgramyasúčasti.
3.Použitejedenznasledujúcichpostupov:
-AkchcetevypnúťniektoréfunkciesystémuWindows,kliknitenapoložkuZapnúťalebovypnúť
súčastisystémuWindows.Postupujtepodľapokynovnaobrazovke.
-Akchceteodstrániťnepotrebnéprogramy,vyberteprogram,ktorýchceteodstrániť,apotom
kliknitenapoložkuOdinštalovaťalebozmeniťaleboOdinštalovať.
Nedostatokvoľnéhomiestavpamäti
Riešenia:
•KliknitepravýmtlačidlommyšinapanelúlohaotvorteSprávcuúloh.Potomukončiteniektoréúlohy,
ktorénevykonávate.
•Nainštalujteďalšiepamäťovémoduly.Aksichcetezakúpiťpamäťovémoduly,prejditenaadresu
http://www.lenovo.com.
Niejemožnézískaťprístupksériovémukonektoru
Riešenia:
•Pripojtesériovýkábelksériovémukonektorunapočítačiaksériovémuzariadeniu.Akmásériové
zariadenievlastnýnapájacíkábel,zapojtenapájacíkábeldouzemnenejelektrickejzásuvky.
•Zapnitesériovézariadenieaudržiavajtehoonline.
•Nainštalujtevšetkyaplikačnéprogramydodanésosériovýmzariadením.Ďalšieinformácienájdetev
dokumentáciidodanejsosériovýmzariadením.
•Akstepridalijedenadaptérsériovéhokonektora,správnenainštalujteadaptér.
ProblémysozariadenímUSB
TátočasťobsahujeriešenieproblémovtýkajúcichsazariadeniaUSB.
NiejemožnézískaťprístupkzariadeniuUSB
Riešenia:
•PripojtekábelUSBkonektoraUSBkzariadeniuUSB.AkmázariadenieUSBvlastnýnapájacíkábel,
zapojtenapájacíkábeldouzemnenejelektrickejzásuvky.
Kapitola6.Riešenieproblémov,diagnostikaaobnova47
Page 58

•ZapnitezariadenieUSBaudržiavajtehoonline.
•NainštalujtevšetkyovládačezariadeniaaleboaplikačnéprogramydodanésozariadenímUSB.Ďalšie
informácienájdetevdokumentáciidodanejsozariadenímUSB.
•OdpojenímaopätovnýmpripojenímkonektoraUSBobnovtepôvodnénastaveniezariadeniaUSB.
NemôžemnainštalovaťoperačnýsystémWindows7pomocouexternéhozariadenia
USB
Riešenie:Prejditenastránkuhttp://www.lenovo.com/support,prevezmitesiovládačeUSBanainštalujteich.
Problémysosoftvéromaovládačmi
Tátočasťobsahujeriešeniaproblémovtýkajúcichsasoftvéruaovládačov.
Priniektorýchprogramochsadátumynedajúusporiadaťvsprávnomporadí
Riešenie:Niektoréprogramy,ktorébolivytvorenépredrokom2000,používajúnausporiadaniedátumov
ibaposlednédvečísliceroka,pretoževychádzajúzpredpokladu,žeprvédvojčíslierokaje19.Vdôsledku
tohosavsúčasnostidátumynedajúusporiadaťvsprávnomporadí.Overteuvýrobcusoftvéru,čisúk
dispozíciinejakéaktualizácie.Viacerívýrobcoviasoftvérusprístupňujúsvojeaktualizácieprostredníctvom
sieteWorldWideWeb.
Niektoréaplikačnéprogramynepracujútak,akosaočakáva
Riešenia:
1.Skontrolujte,čiproblémspôsobujeaplikačnýprogram.
a.Skontrolujte,čijesoftvérkompatibilnýspočítačom.Ďalšieinformácienájdetevdokumentácii
dodanejsosoftvérom.
b.Overte,čiinýsoftvérvvašompočítačifungujesprávne.
c.Overte,čisoftvér,ktorýchcetepoužiť,fungujevinompočítači.
2.Akproblémspôsobujeaplikačnýprogram:
•Pozritesitlačenúdokumentáciudodanúsprogramomalebosystémpomocipredanýprogram.
•Aktualizujteprogram.Pozritesičasť„Udržiavaniepočítačavaktualizovanomstave“nastránke28
•Programodinštalujteapotomhoznovanainštalujte.Akchceteprevziaťprogram,ktorýje
predinštalovanývpočítači,prejditenaadresuhttp://www.lenovo.com/supportapostupujtepodľa
pokynovnaobrazovke.
Zariadenienefungujenormálnezdôvoduproblémovsovládačomzariadenia
Riešenie:Aktualizujteovládačzariadenia.Pozritesičasť„Udržiavaniepočítačavaktualizovanomstave“na
stránke28.
Diagnostika
Poznámka:AkpoužívateinýoperačnýsystémWindowsakoWindows7aleboWindows10,naadrese
http://www.lenovo.com/diagsnájdeteinformácieodiagnostikepresvojpočítač.
Diagnostickýprogramsapoužívanatestovaniehardvérovýchkomponentovpočítača.Diagnostickýprogram
môžehlásiťajnastaveniariadenéoperačnýmsystémom,ktorénarúšajúsprávnefungovaniepočítača.
.
48LenovoS500zPoužívateľskápríručka
Page 59

LenovoSolutionCenter
LenovoSolutionCenterjediagnostickýprogrampredinštalovanývpočítači.T entoprogramumožňuje
odstrániťproblémyspočítačom.Obsahujediagnostickétesty,zhromažďovanieinformáciíosystéme,
informácieostavezabezpečeniaapodpore,akoajradyatipynadosiahnutiemaximálnehovýkonusystému.
AkchceteotvoriťprogramLenovoSolutionCenter,pozritesičasť„Získanieprístupukprogramuvpočítači“
nastránke9
AkproblémnevieteizolovaťaopraviťanipospusteníprogramuLenovoSolutionCenter,uložteavytlačte
súborydenníka,ktorétentoprogramvytvoril.Tietosúborydenníkamožnobudetepotrebovať,keďbudete
hovoriťsozástupcomtechnickejpodporyspoločnostiLenovo.
.Ďalšieinformácieopoužívaníprogramunájdetevsystémepomocipretentoprogram.
Informácieoobnove
Tátočasťobsahujepokynynaobnovenieoperačnéhosystému.
Poznámka:Akpoobnoveníoperačnéhosystémuniektorézariadenienefungujenormálne,aktualizujte
ovládačzariadenia.Pozritesičasť„Udržiavaniepočítačavaktualizovanomstave“nastránke28.
InformácieoobnovepresystémWindows7
AkchcetevykonaťobnovuoperačnéhosystémuWindows7,použitenasledujúceriešenia:
•PoužiteriešeniaobnovyvsystémeWindows.
-PomocounástrojaObnovovaniesystémuobnovtesystémovésúboryanastaveniazodpovedajúce
skoršiemuboduvčase.
1.KliknutímnatlačidloŠtartotvorteponukuŠtart.
2.KliknitenapoložkuOvládacípanel.NastavtetypzobrazeniaovládaciehopanelanaVeľkéikony
aleboMaléikonyapotomkliknitenapoložkyObnovenie➙OtvoriťnástrojObnovovanie
systému.
3.Postupujtepodľapokynovnaobrazovke.
-PoužiteprostredienaobnoveniesystémuWindowsjednýmznasledujúcichspôsobov:
-Poniekoľkýchneúspešnýchpokusochozavedenienasledujúcichzasebousamôžeautomaticky
spustiťprostredienaobnoveniesystémuWindows.Podľapokynovnaobrazovkevybertevhodné
riešenieobnovy.
-Počítačzapnitealeboreštartujte.PotomniekoľkokrátstlačteauvoľniteklávesF8,kýmsanezobrazí
oknoAdvancedBootOptions.VybertepoložkuRepairYourComputer,stlačteklávesEntera
podľapokynovnaobrazovkevybertevhodnériešenieobnovy.
Poznámka:PriniektorýchklávesniciachmôžebyťnaotvorenieoknaAdvancedBootOptions
potrebnéstlačiťkombináciuklávesovFn+F8.
•PomocouprogramuLenovoRescueSystemobnovtezozálohyukladaciujednotkualeboobnovte
jednotkuCpodľanastavenípredvolenýchvýrobcom.
Poznámka:AknaobnovenieukladacejjednotkyzozálohypoužijeteprogramLenovoRescueSystem,
uistitesa,žesteúdajepredtýmzálohovalipomocoutohtoprogramu.
AkchcetepoužiťprogramLenovoRescueSystem,použitejedenznasledujúcichpostupov:
-OtvorteprogramLenovoRescueSystem.Pozritesičasť„Získanieprístupukprogramuvpočítači“na
stránke9.Postupujtepodľapokynovnaobrazovke.
-Počítačzapnitealeboreštartujte.PotomniekoľkokrátstlačteauvoľniteklávesF2,kýmsaneotvorí
programLenovoRescueSystem.Postupujtepodľapokynovnaobrazovke.
Kapitola6.Riešenieproblémov,diagnostikaaobnova49
Page 60

Poznámka:PriniektorýchklávesniciachmôžebyťnaotvorenieprogramuLenovoRescueSystem
potrebnéstlačiťkombináciuklávesovFn+F2.
•PomocousúpravydiskovobnovyodspoločnostiLenovoobnovtecelúukladaciujednotkupodľanastavení
predvolenýchvýrobcom.
-Akbolaspočítačomdodanásúpravadiskovobnovy,postupujtepodľapokynovdodanýchstouto
súpravoudiskov.
-Akspočítačomneboladodanásúpravadiskovobnovy,kontaktujteCentrumpodporyzákazníkov
spoločnostiLenovoaobjednajtesisúpravudiskov.Pozritesičasť„Žiadosťoservis“nastránke70
InformácieoobnovepresystémWindows10
AkchcetevykonaťobnovuoperačnéhosystémuWindows10,použitenasledujúceriešenia:
•PoužiteriešeniaobnovyvsystémeWindows.
-PoužiteriešeniaobnovyvnastaveniachsystémuWindows.
1.KliknutímnatlačidloŠtartotvorteponukuŠtart.
2.KliknitenapoložkyNastavenia➙Aktualizáciaazabezpečenie➙Obnovenie.
3.Podľapokynovnaobrazovkevybertevhodnériešenieobnovy.
-PomocounástrojaObnovovaniesystémuobnovtesystémovésúboryanastaveniazodpovedajúce
skoršiemuboduvčase.
1.KliknutímpravýmtlačidlommyšinatlačidloŠtartotvortekontextovúponukuŠtart.
2.KliknitenapoložkuOvládacípanel.NastavtetypzobrazeniaovládaciehopanelanaVeľkéikony
aleboMaléikonyapotomkliknitenapoložkyObnovenie➙OtvoriťnástrojObnovovanie
systému.
3.Postupujtepodľapokynovnaobrazovke.
-PomocounástrojaHistóriasúborovobnovtesúboryzozálohy.
.
Poznámka:AknaobnoveniesúborovzozálohypoužijetenástrojHistóriasúborov,uistitesa,žeste
údajepredtýmzálohovalipomocoutohtonástroja.
1.KliknutímpravýmtlačidlommyšinatlačidloŠtartotvortekontextovúponukuŠtart.
2.KliknitenapoložkuOvládacípanel.NastavtetypzobrazeniaovládaciehopanelanaVeľkéikony
aleboMaléikonyapotomkliknitenapoložkyHistóriasúborov➙Obnoviťosobnésúbory.
3.Postupujtepodľapokynovnaobrazovke.
-PoužiteprostredienaobnoveniesystémuWindowsjednýmznasledujúcichspôsobov:
-Poniekoľkýchneúspešnýchpokusochozavedenienasledujúcichzasebousamôžeautomaticky
spustiťprostredienaobnoveniesystémuWindows.Podľapokynovnaobrazovkevybertevhodné
riešenieobnovy.
-Akospúšťaciezariadenievybertemédiumobnovy,ktoréstepredtýmvytvorilipomocounástroja
systémuWindows.Pozritesičasť„Výberdočasnéhospúšťaciehozariadenia“nastránke36.Potom
vybertevhodnériešenieobnovypodľapokynovnaobrazovke.
Poznámka:Akchcetevytvoriťmédiumobnovy,pozritesičasť„Odporúčanépostupyúdržby“na
stránke28.
•PomocouprogramuLenovoRescueSystemobnovtejednotkuCpodľanastavenípredvolenýchvýrobcom.
AkchcetepoužiťprogramLenovoRescueSystem,zapnitealeboreštartujtepočítač.Potomniekoľkokrát
stlačteauvoľniteklávesF2,kýmsaneotvoríprogramLenovoRescueSystem.Postupujtepodľapokynov
naobrazovke.
50LenovoS500zPoužívateľskápríručka
Page 61

Poznámka:PriniektorýchklávesniciachmôžebyťnaotvorenieprogramuLenovoRescueSystem
potrebnéstlačiťkombináciuklávesovFn+F2.
•PomocoukľúčaUSBobnovyodspoločnostiLenovoobnovtecelúukladaciujednotkupodľanastavení
predvolenýchvýrobcom.
-AkbolspočítačomdodanýkľúčUSBobnovy,postupujtepodľapokynovdodanýchstýmtokľúčom
USB.
-AkspočítačomneboldodanýkľúčUSBobnovy,kontaktujteCentrumpodporyzákazníkovspoločnosti
LenovoaobjednajtesikľúčUSBobnovy.Pozritesičasť„Žiadosťoservis“nastránke70
.
Kapitola6.Riešenieproblémov,diagnostikaaobnova51
Page 62

52LenovoS500zPoužívateľskápríručka
Page 63

Kapitola7.Inštaláciaalebovýmenahardvéru
Tátokapitolaobsahujenasledujúcetémy:
•„Zaobchádzaniesozariadeniamicitlivýminastatickúelektrinu“nastránke53
•„Inštaláciaalebovýmenahardvéru“nastránke53
Zaobchádzaniesozariadeniamicitlivýminastatickúelektrinu
Antistatickýochrannýobal,ktorýobsahujenovýdielec,neotvárajte,kýmnebudechybnýdielecodstránenýa
nebudetepripravenínainštalovaťnovýdielec.Hocijestatickáelektrinaprečlovekaneškodná,môževážne
poškodiťkomponentyadielcepočítača.
Primanipuláciisdielcamiaostatnýmikomponentmipočítačadodržiavajtetietoopatrenia,abystezabránili
škodámspôsobenýmstatickouelektrinou:
•Obmedztesvojpohyb.Pohybmôžespôsobiťvznikstatickejelektrinyvovašomokolí.
•Vždyzaobchádzajtesdielcamiaostatnýmikomponentmipočítačaopatrne.KartyPCI/PCI-Express,
pamäťovémoduly,systémovédoskyamikroprocesorydržtevždyzaokraje.Nikdysanedotýkajte
nechránenýchobvodov.
•Zabráňteiným,abysadotýkalidielcovaostatnýchkomponentovpočítača.
•Antistatickýmochrannýmobalomobsahujúcimdielecsadotknitekovovéhokryturozširujúcehoslotu
aleboinéhonenatretéhokovovéhopovrchunapočítačiaspoňnadvesekundy.Týmsapredinštaláciou
alebovýmenounovéhodielcaznížistatickáelektrinanabalíkuanavašomtele.
•Akjetomožné,vybertenovýdieleczantistatickéhoochrannéhoobaluanainštalujtehopriamodo
počítačabeztoho,abystehopoložili.Aktoniejemožné,položteantistatickýochrannýobal,vktorom
boldielecdodaný,nahladkú,rovnúplochuapoložtedielecnaobal.
•Neklaďtetentodielecnakrytpočítačaaninainúkovovúplochu.
Inštaláciaalebovýmenahardvéru
Tátočasťobsahujepokynynainštaláciuavýmenudielcovpočítača.Inštalácioualebovýmenoudielcov
môžeterozšíriťfunkčnosťpočítačaalebozabezpečiťjehoúdržbu.
Upozornenie:Skôrakootvorítepočítačapokúsitesaurobiťnejakúopravu,pozornesiprečítajtečasť„Ako
prvésiprečítajtedôležitébezpečnostnéinformácie“nastránkeiii.
Poznámky:
•Niektoréhardvérovédielceuvedenévtejtočastisúvoliteľné.
•PoužívajteibapočítačovédielceodspoločnostiLenovo.
•Priinštaláciialebovýmenevoliteľnýchkomponentovpoužitetietopokynyspoluspokynmi,ktoréboli
dodanéspríslušnýmvoliteľnýmkomponentom.
•VoväčšinekrajínsvetavyžadujespoločnosťLenovovráteniechybnýchdielcovCRU.Príslušnéinformácie
vámbudúdoručenéspolusdielcomCRUaleboniekoľkodnípododanídielcaCRU.
Inštaláciaexternýchvoliteľnýchkomponentov
Externévoliteľnékomponenty,akonapríkladexternéreproduktory,tlačiareňaleboskener,môžetepripojiť
priamokpočítaču.Vprípadeniektorýchexternýchvoliteľnýchkomponentovmusíteokremfyzického
pripojenianainštalovaťdoplnkovýsoftvér.Priinštaláciiexternéhovoliteľnéhokomponentusipozritečasť
©CopyrightLenovo2015,2016
53
Page 64

„Umiestneniehardvéru“nastránke1,abystezistili,doktoréhokonektorasamápripojiť.Napomocpri
pripájaníainštaláciivyžadovanéhosoftvérualeboovládačovzariadeniapoužitepokynydodávanés
voliteľnýmkomponentom.
Výmenastojanapočítača
Upozornenie:Skôrakootvorítepočítačapokúsitesaurobiťnejakúopravu,pozornesiprečítajtetieto
informácie:„Akoprvésiprečítajtedôležitébezpečnostnéinformácie“nastránkeiii.
Akchcetevymeniťstojanpočítača,pozritesinasledujúcečasti:
•„Výmenarámovéhostojana“nastránke54
•„Výmenastojanamonitora“nastránke55
•„VýmenastojanaUltraFlexII“nastránke56
Výmenarámovéhostojana
Akchcetevymeniťrámovýstojan,postupujtetakto:
1.Zjednotiekodstráňtevšetkymédiáavypnitevšetkypripojenézariadeniaapočítač.Potomodpojte
všetkynapájaciekábleodelektrickýchzásuviekaodpojteajvšetkykábleodpočítača.
2.Umiestnitenastôlaleboinýrovnýpovrchmäkkýuterákalebolátku.Uchoptepočítačzastranya
jemnehopoložtetak,abybolaobrazovkaobrátenásmeromkpovrchuakrytpočítačabolotočený
smeromnahor.
3.Odmontujteskrutku,ktoráupevňujerámovýstojan.Potomnadvihniterámovýstojannahoravyberteho
zkrytupočítača.
Obrázok14.Odstránenierámovéhostojana
4.Zastrčtedveúchytky1nanovomrámovomstojanedopríslušnýchotvorovvkrytepočítača.Potom
otočterámovýstojannadolautiahniteskrutkunazaisteniestojanakukrytupočítača.
Obrázok15.Inštaláciarámovéhostojana
54LenovoS500zPoužívateľskápríručka
Page 65

Výmenastojanamonitora
Akchcetevymeniťstojanmonitora,postupujtetakto:
1.Zjednotiekodstráňtevšetkymédiáavypnitevšetkypripojenézariadeniaapočítač.Potomodpojte
všetkynapájaciekábleodelektrickýchzásuviekaodpojteajvšetkykábleodpočítača.
2.Umiestnitenastôlaleboinýrovnýpovrchmäkkýuterákalebolátku.Uchoptepočítačzastranya
jemnehopoložtetak,abybolaobrazovkaobrátenásmeromkpovrchuakrytpočítačabolotočený
smeromnahor.
3.Odmontujtedveskrutkyzaisťujúcestojanmonitora.Potomnadvihnitestojanmonitoraavybertehoz
krytupočítača.
Obrázok16.Odstráneniestojanamonitora
4.Otočtespodnýkrytzákladne,kdesanachádzaskrutka1.Potomuvoľniteskrutku1apodľaobrázka
vybertestojanmonitorazozákladne.
Obrázok17.Odstráneniestojanamonitorazozákladne
Kapitola7.Inštaláciaalebovýmenahardvéru55
Page 66

5.T rikovovékolíkyzákladnezasuňtedopríslušnýchotvorovvnovomstojanemonitora.Potomotočte
spodnýkrytzákladne,kdesanachádzaskrutka
Obrázok18.Inštaláciastojanamonitoradozákladne
1,autiahniteskrutkunazaisteniestojanamonitora.
6.Podľaobrázkazasuňtedveúchytky1nanovomstojanemonitoradopríslušnýchotvorovvkryte
počítača.Potomotočtestojanmonitoranadolanainštalujtedveskrutkynaupevneniestojanamonitora
kpočítaču.
Obrázok19.Inštaláciastojanamonitora
VýmenastojanaUltraFlexII
AkchcetevymeniťstojanUltraFlexII,postupujtetakto:
1.Zjednotiekodstráňtevšetkymédiáavypnitevšetkypripojenézariadeniaapočítač.Potomodpojte
všetkynapájaciekábleodelektrickýchzásuviekaodpojteajvšetkykábleodpočítača.
2.Umiestnitenastôlaleboinýrovnýpovrchmäkkýuterákalebolátku.Uchoptepočítačzastranya
jemnehopoložtetak,abybolaobrazovkaobrátenásmeromkpovrchuakrytpočítačabolotočený
smeromnahor.
56LenovoS500zPoužívateľskápríručka
Page 67

3.Odstráňteskrutku1upevňujúcustojanUltraFlexIIkpočítaču.PotomstojanUltraFlexIInadvihnitea
odpojtehoodpočítača.
Obrázok20.OdstráneniestojanaUltraFlexII
4.OdstráňteskrutkuupevňujúcuzákladňustojanaUltraFlexIIazákladňuodpojteodstojana.
Obrázok21.OdstráneniezákladnestojanaUltraFlexII
5.ZarovnajteotvornaskrutkuvzákladnistojanaUltraFlexIIsozodpovedajúcimotvoromvnovomstojane
UltraFlexII.PotomnainštalovanímskrutkyupevnitezákladňukstojanuUltraFlexII.
Kapitola7.Inštaláciaalebovýmenahardvéru57
Page 68

6.Zasuňtedvaháčiky1nanovomstojaneUltraFlexIIdopríslušnýchotvorovvkrytepočítača.Potom
otočtestojanUltraFlexIInadolanainštalovanímskrutkyhoupevnitekpočítaču.
Obrázok22.InštaláciastojanaUltraFlexII
Odstráneniekrytupočítača
Upozornenie:Skôrakootvorítepočítačapokúsitesaurobiťnejakúopravu,pozornesiprečítajtetieto
informácie:„Akoprvésiprečítajtedôležitébezpečnostnéinformácie“nastránkeiii.
VÝSTRAHA:
Skôrnežotvorítekrytpočítača,vypnitepočítačapočkajteniekoľkominút,kýmpočítačnevychladne.
Priodstraňovaníkrytupočítačapostupujtetakto:
1.Zjednotiekodstráňtevšetkymédiáavypnitevšetkypripojenézariadeniaapočítač.Potomodpojte
všetkynapájaciekábleodelektrickýchzásuviekaodpojteajvšetkykábleodpočítača.
2.Odstráňtestojanpočítača.Pozritesičasť„Výmenastojanapočítača“nastránke54.
3.Odomkniteakékoľvekuzamykaciezariadenie,ktorézabezpečujekrytpočítača.
58LenovoS500zPoužívateľskápríručka
Page 69

4.Odstráňtedveskrutkyupevňujúcekrytpočítača.Potomnadvihnitekrytpočítačanahoravyberteho
zpočítača.
Obrázok23.Odstráneniekrytupočítača
Výmena2,5-palcovejukladacejjednotky
Upozornenie:Skôrakootvorítepočítačapokúsitesaurobiťnejakúopravu,pozornesiprečítajtetieto
informácie:„Akoprvésiprečítajtedôležitébezpečnostnéinformácie“nastránkeiii
Privýmene2,5-palcovejukladacejjednotkypostupujtetakto:
1.Zjednotiekodstráňtevšetkymédiáavypnitevšetkypripojenézariadeniaapočítač.Potomodpojte
všetkynapájaciekábleodelektrickýchzásuviekaodpojteajvšetkykábleodpočítača.
2.Odstráňtestojanpočítača.Pozritesičasť„Výmenastojanapočítača“nastránke54.
3.Odstráňtekrytpočítača.Pozritesi„Odstráneniekrytupočítača“nastránke58.
4.Vyhľadajte2,5-palcovúukladaciujednotku,ktorúchcetevymeniť.Pozritesi„Komponentypočítača“na
stránke3.
5.Odpojtesignálovýanapájacíkábelod2,5-palcovejukladacejjednotky.
.
Kapitola7.Inštaláciaalebovýmenahardvéru59
Page 70

6.Odstráňteštyriskrutky,ktoréupevňujúdržiakukladacejjednotky.Potomnadvihnitedržiakukladacej
jednotkynahoravybertehozpočítača.
Obrázok24.Odstránenieskrutiekupevňujúcichdržiak2,5-palcovejukladacejjednotky
7.Odstráňteštyriskrutky,ktoréupevňujúukladaciujednotkukdržiaku.Potomnadvihniteukladaciu
jednotkunahoravybertejuzdržiaka.
Obrázok25.Vybratie2,5-palcovejukladacejjednotkyzdržiakaukladacejjednotky
8.Zarovnajteotvorypreskrutkyvnovejukladacejjednotkesotvormipreskrutkyvdržiaku.Potom
nainštalujteštyriskrutky,ktorýmiupevníteukladaciujednotkukdržiaku.
Obrázok26.Inštalácia2,5-palcovejukladacejjednotkydodržiaka
60LenovoS500zPoužívateľskápríručka
Page 71

9.Zarovnajteštyriotvorypreskrutkyvdržiakuukladacejjednotkysotvormipreskrutkyvšasi.Potom
nainštalujteštyriskrutky,ktoréupevňujúdržiakukladacejjednotkykšasi.
Obrázok27.Inštaláciadržiaka2,5-palcovejukladacejjednotkydopočítača
10.Pripojtesignálovýanapájacíkábelknovej2,5-palcovejukladacejjednotke.
Čorobiťďalej:
•Akchcetepracovaťsinýmhardvérom,prejditenapríslušnúčasť.
•Nadokončenieinštaláciealebovýmenypokračujtepodľapokynovvčasti„Dokončenievýmenydielcov“
nastránke67.
Výmenaoptickejjednotky
Upozornenie:Skôrakootvorítepočítačapokúsitesaurobiťnejakúopravu,pozornesiprečítajtetieto
informácie:„Akoprvésiprečítajtedôležitébezpečnostnéinformácie“nastránkeiii.
Privýmeneoptickejjednotkypostupujtetakto:
1.Zjednotiekodstráňtevšetkymédiáavypnitevšetkypripojenézariadeniaapočítač.Potomodpojte
všetkynapájaciekábleodelektrickýchzásuviekaodpojteajvšetkykábleodpočítača.
2.Odstráňtestojanpočítača.Pozritesičasť„Výmenastojanapočítača“nastránke54.
3.Odstráňtekrytpočítača.Pozritesičasť„Odstráneniekrytupočítača“nastránke58.
4.Vyhľadajteoptickújednotku.Pozritesičasť„Komponentypočítača“nastránke3.
5.Stlačteúchytku1nadržiakuoptickejjednotkyapotomvysuňteoptickújednotkuzdržiaka.
Obrázok28.Vybratieoptickejjednotky
6.Zasúvajtenovúoptickújednotkudodržiakaoptickejjednotky,kýmnezapadnenasvojemiesto.
Kapitola7.Inštaláciaalebovýmenahardvéru61
Page 72

Obrázok29.Inštaláciaoptickejjednotky
Čorobiťďalej:
•Akchcetepracovaťsinýmhardvérom,prejditenapríslušnúčasť.
•Nadokončenieinštaláciealebovýmenypokračujtepodľapokynovvčasti„Dokončenievýmenydielcov“
nastránke67.
Výmenatieniacehokrytusystémovejdosky
Upozornenie:Skôrakootvorítepočítačapokúsitesaurobiťnejakúopravu,pozornesiprečítajtetieto
informácie:„Akoprvésiprečítajtedôležitébezpečnostnéinformácie“nastránkeiii.
Akchcetevymeniťtieniacikrytsystémovejdosky,postupujtetakto:
1.Zjednotiekodstráňtevšetkymédiáavypnitevšetkypripojenézariadeniaapočítač.Potomodpojte
všetkynapájaciekábleodelektrickýchzásuviekaodpojteajvšetkykábleodpočítača.
2.Odstráňtestojanpočítača.Pozritesičasť„Výmenastojanapočítača“nastránke54.
3.Odstráňtekrytpočítača.Pozritesičasť„Odstráneniekrytupočítača“nastránke58.
4.Nájditetieniacikrytsystémovejdosky.Pozritesi„Komponentypočítača“nastránke3.
5.Odstráňteštyriskrutkyupevňujúcetieniacikrytsystémovejdoskykpočítaču.Potomnadvihnitetieniaci
krytsystémovejdoskynahoravybertehozpočítača.
Obrázok30.Odstránenietieniacehokrytusystémovejdosky
6.Zarovnajteotvorypreskrutkyvnovomtieniacomkrytesystémovejdoskysotvormipreskrutkyvšasi.
Potomnainštalujteštyriskrutkynaupevnenietieniacehokrytusystémovejdoskykšasi.
62LenovoS500zPoužívateľskápríručka
Page 73

Čorobiťďalej:
•Akchcetepracovaťsinýmhardvérom,prejditenapríslušnúčasť.
•Nadokončenieinštaláciealebovýmenypokračujtepodľapokynovvčasti„Dokončenievýmenydielcov“
nastránke67
.
Výmenapamäťovéhomodulu
Upozornenie:Skôrakootvorítepočítačapokúsitesaurobiťnejakúopravu,pozornesiprečítajtetieto
informácie:„Akoprvésiprečítajtedôležitébezpečnostnéinformácie“nastránkeiii.
Poznámka:Pamäťovémodulynainštalujtepodľaporadiainštalácie.Pamäťovýslot1apamäťovýslot2
určujúporadieinštalácie.Pozritesičasť„Dielcenasystémovejdoske“nastránke5
Akchcetevymeniťpamäťovýmodul,postupujtetakto:
1.Zjednotiekodstráňtevšetkymédiáavypnitevšetkypripojenézariadeniaapočítač.Potomodpojte
všetkynapájaciekábleodelektrickýchzásuviekaodpojteajvšetkykábleodpočítača.
2.Odstráňtestojanpočítača.Pozritesičasť„Výmenastojanapočítača“nastránke54.
3.Odstráňtekrytpočítača.Pozritesičasť„Odstráneniekrytupočítača“nastránke58.
4.Odstráňtetieniacikrytsystémovejdosky.Pozritesičasť„Výmenatieniacehokrytusystémovejdosky“
nastránke62.
5.Vyhľadajtepamäťovýmodul.Pozritesičasť„Komponentypočítača“nastránke3.
6.Otvortepríchytkyopatrnevybertepamäťovýmodulzpamäťovéhoslotu.
.
Obrázok31.Odstráneniepamäťovéhomodulu
7.Umiestnitenovýpamäťovýmodulnadpamäťovýslot.Presvedčtesa,čijezárez1napamäťovom
modulesprávnezarovnanýsklinomslotu2nasystémovejdoske.Pamäťovýmodulzatláčajtepriamo
nadoldoslotu,pokiaľsanezatvoriapríchytky.
Obrázok32.Inštaláciapamäťovéhomodulu
Kapitola7.Inštaláciaalebovýmenahardvéru63
Page 74

Čorobiťďalej:
•Akchcetepracovaťsinýmhardvérom,prejditenapríslušnúčasť.
•Nadokončenieinštaláciealebovýmenypokračujtepodľapokynovvčasti„Dokončenievýmenydielcov“
nastránke67
.
Výmenagombíkovejbatérie
Upozornenie:Skôrakootvorítepočítačapokúsitesaurobiťnejakúopravu,pozornesiprečítajtetieto
informácie:„Akoprvésiprečítajtedôležitébezpečnostnéinformácie“nastránkeiii.
Počítačobsahuješpeciálnytyppamäte,ktoráuchovávadátum,časanastaveniavstavanýchfunkcií,
napríkladpriradenia(konfiguráciu)paralelnéhokonektora.Povypnutípočítačatietoinformáciepomáha
uchovávaťgombíkovábatéria.
Gombíkovábatériazvyčajnenevyžadujenabíjanieaniúdržbu.Žiadnagombíkovábatériavšaknevydrží
navždy.Akgombíkovábatériazlyhá,dátum,časainformácieokonfigurácii(vrátanehesiel)budúvymazané.
Prizapnutípočítačasazobrazíchybovéhlásenie.
Pozritesičasť„Poznámkaolítiovejgombíkovejbatérii“vPríručkeobezpečnostiazárukách,vktorejnájdete
informácieovýmenealikvidáciigombíkovejbatérie.
Akchcetevymeniťgombíkovúbatériu,postupujtetakto:
1.Zjednotiekodstráňtevšetkymédiáavypnitevšetkypripojenézariadeniaapočítač.Potomodpojte
všetkynapájaciekábleodelektrickýchzásuviekaodpojteajvšetkykábleodpočítača.
2.Odstráňtestojanpočítača.Pozritesičasť„Výmenastojanapočítača“nastránke54.
3.Odstráňtekrytpočítača.Pozritesičasť„Odstráneniekrytupočítača“nastránke58.
4.Odstráňtetieniacikrytsystémovejdosky.Pozritesičasť„Výmenatieniacehokrytusystémovejdosky“
nastránke62
5.Vyhľadajtegombíkovúbatériu.Pozritesičasť„Komponentypočítača“nastránke3.
6.Vybertegombíkovúbatériupodľaobrázka.
.
Obrázok33.Vybratiegombíkovejbatérie
7.Nainštalujtenovúgombíkovúbatériupodľaobrázka.
Obrázok34.Inštaláciagombíkovejbatérie
64LenovoS500zPoužívateľskápríručka
Page 75

8.Znovanainštalujtetieniacikrytsystémovejdosky.Pozritesičasť„Výmenatieniacehokrytusystémovej
dosky“nastránke62
9.Znovunainštalujtekrytpočítačaapripojtekáble.Pozritesičasť„Dokončenievýmenydielcov“na
stránke67
10.Zapnitepočítačavšetkypripojenézariadenia.
Poznámka:Priprvomzapnutípočítačapovýmenegombíkovejbatériesamôžezobraziťchybové
hlásenie.Povýmenegombíkovejbatériejetakétohlásenienormálne.
11.PomocouprogramuSetupUtilitynastavtedátum,časavšetkyheslá.Pozritesičasť„Používanie
programuSetupUtility“nastránke33.
.
.
VýmenakartyM.2Wi-Fi
Upozornenie:Skôrakootvorítepočítačapokúsitesaurobiťnejakúopravu,pozornesiprečítajtetieto
informácie:„Akoprvésiprečítajtedôležitébezpečnostnéinformácie“nastránkeiii.
Poznámky:
•AkchcetevymeniťkartuM.2Wi-Fi,pozritesiobrázkykukarteM.2Wi-Fi.
•UmiestneniekonektorovanténWi-FisamôželíšiťvzávislostiodkartyM.2Wi-Fi.
AkchcetevymeniťkartuM.2Wi-Fi,postupujtetakto:
1.Zjednotiekodstráňtevšetkymédiáavypnitevšetkypripojenézariadeniaapočítač.Potomodpojte
všetkynapájaciekábleodelektrickýchzásuviekaodpojteajvšetkykábleodpočítača.
2.Odstráňtestojanpočítača.Pozritesičasť„Výmenastojanapočítača“nastránke54.
3.Odstráňtekrytpočítača.Pozritesičasť„Odstráneniekrytupočítača“nastránke58.
4.Odstráňtetieniacikrytsystémovejdosky.Pozritesičasť„Výmenatieniacehokrytusystémovejdosky“
nastránke62.
5.VyhľadajtekartuM.2Wi-Fi.Pozritesičasť„Komponentypočítača“nastránke3.
6.AkjepočítačvybavenýkartouM.2Wi-FipodporujúcoufunkciuBluetooth,odpojtekábelBluetoothod
adaptérakartyWi-Fi.
Poznámka:KábelBluetoothslúžinapripojeniekonektoraBluetoothnaadaptérikartyM.2Wi-Fi
ksystémovejdoske.
7.OdpojtekábleanténM.2Wi-FiodkartyM.2Wi-Fi.Potomodstráňteskrutkuupevňujúcukartu,aby
sakartaM.2Wi-Finadvihla.
Obrázok35.OdpojeniekáblovanténaodstránenieskrutkyupevňujúcejkartuM.2Wi-Fi
Kapitola7.Inštaláciaalebovýmenahardvéru65
Page 76

8.VybertekartuM.2Wi-Fizoslotukarty.
Poznámka:KartuM.2Wi-Fineotočtepríliš.
Obrázok36.VybratiekartyM.2Wi-Fi
9.ZasuňtenovúkartuM.2Wi-FidoslotukartyM.2Wi-Fi.PotomotočtekartuM.2Wi-Fismeromnadol.
Poznámka:NedotýkajtesaokrajakartyM.2Wi-Fisdrážkou.
Obrázok37.InštaláciakartyM.2Wi-Fi
10.NainštalujteskrutkunaupevneniekartyM.2Wi-Fiksystémovejdoske.Potompripojtekábleantén
M.2Wi-FikukarteM.2Wi-Fi.
Obrázok38.UpevneniekartyM.2Wi-Fi
Čorobiťďalej:
•Akchcetepracovaťsinýmhardvérom,prejditenapríslušnúčasť.
•Nadokončenieinštaláciealebovýmenypokračujtepodľapokynovvčasti„Dokončenievýmenydielcov“
nastránke67
.
66LenovoS500zPoužívateľskápríručka
Page 77

Dokončenievýmenydielcov
Podokončeníinštaláciealebovýmenydielcovvráťtenamiestokrytpočítačaaznovapripojtekáble.V
závislostioddielcov,ktoréstenainštalovalialebovymenili,budetemusieťpotvrdiťaktualizovanéinformáciev
programeSetupUtility.Pozritesičasť„PoužívanieprogramuSetupUtility“nastránke33
Privráteníkrytupočítačaapripájaníkáblovkpočítačupostupujtetakto:
1.Skontrolujte,čibolivšetkykomponentysprávnezloženéačivnútripočítačanezostalinejakénástroje
alebouvoľnenéskrutky.Časť„Komponentypočítača“nastránke3obsahujeopisumiestneniarôznych
komponentovpočítača.
2.Predvrátenímkrytupočítačanamiestoskontrolujte,čisúkáblevedenésprávne.Dávajtepozor,aby
sakáblenedostalimedzipántyabokykostrypočítača,pretožebymohlibyťprivráteníkrytupočítača
stlačené.
3.Zarovnajteplastovéúchytkyvhornejčastipočítačasozodpovedajúcimiúchytkaminaprednompaneli.
Potomotáčajtekrytpočítačasmeromnadol,kýmnezapadnenasvojemiesto.
.
Obrázok39.Inštaláciakrytupočítača
4.Otočtepočítačdovzpriamenejpolohy.
5.Znovanainštalujtestojanpočítača.Pozritesičasť„Výmenastojanapočítača“nastránke54.
6.Akjekdispozíciiuzamykaciezariadenie,zamknitekrytpočítača.Pozritesičasť„Zamknutiepočítača“
nastránke31.
7.Znovapripojteexternéanapájaciekáblekpríslušnýmkonektoromnapočítači.Pozritesičasť
„Komponentypočítača“nastránke3
8.Aktualizujtekonfiguráciu.Pozritesičasť„PoužívanieprogramuSetupUtility“nastránke33.
9.Aknovonainštalovanýhardvérovýkomponentnefungujenormálne,aktualizujteovládačzariadenia.
Pozritesičasť„Udržiavaniepočítačavaktualizovanomstave“nastránke28.
.
Kapitola7.Inštaláciaalebovýmenahardvéru67
Page 78

68LenovoS500zPoužívateľskápríručka
Page 79

Kapitola8.Získavanieinformácií,pomociaservisu
Tátokapitolaobsahujenasledujúcetémy:
•„Zdrojeinformácií“nastránke69
•„Pomocaservis“nastránke70
Zdrojeinformácií
Informácievtejtokapitolemôžetepoužiťnaprístupkužitočnýmzdrojominformáciíoprácispočítačom.
Zobrazeniepoužívateľskejpríručkyvrôznychjazykoch
Akchcetezobraziťpoužívateľskúpríručkuvrôznychjazykoch,prejditenaadresu:
http://www.lenovo.com/UserManuals
PomocníksystémuWindows
Poznámka:AkpoužívatePomocníkaonlinesystémuWindows7aleboPomocníkasystémuWindows
10,počítačpripojtenainternet.
PomocníksystémuWindowsposkytujepodrobnéinformácieopoužívaníoperačnéhosystémuWindows.
AkchcetezískaťprístupkPomocníkovisystémuWindows,postupujtetakto:
1.KliknutímnatlačidloŠtartotvorteponukuŠtart.
2.VzávislostiodverziesystémuWindowspoužitejedenznasledujúcichpostupov:
•VsystémeWindows7:KliknitenapoložkuPomocatechnickápodpora.Vspodnejčastiobrazovky
simôžetevybrať,čichcetepoužívaťPomocníkaonlinealebooffline.
•VsystémeWindows10:KliknitenapoložkuZačíname.
Bezpečnosťazáruka
•Príručkaobezpečnostiazárukáchdodanáspočítačomobsahujedôležitéinformácieobezpečnosti,
podmienkyzárukynaprodukt,akoajprávnevyhlásenia.
•Predslovtohtodokumentuobsahujeďalšiebezpečnostnéinformácietýkajúcesatémaúlohopisovaných
vtomtodokumente.
Predpoužívanímpočítačasiprečítajtevšetkybezpečnostnéinformácie.
WeboválokalitaspoločnostiLenovo
WeboválokalitaspoločnostiLenovo(http://www.lenovo.com)poskytujeaktuálneinformácieaslužby,ktoré
vámpomôžuprikúpe,aktualizáciiaúdržbepočítača.Ďalejmôžete:
•Nakupovaťstolnéaprenosnépočítače,monitory,projektory,rozšíreniaapríslušenstvoprepočítača
využiťrôznešpeciálneponuky.
•Nakupovaťdodatočnéslužby,akonapríkladpodporuhardvéru,operačnésystémy,aplikačnéprogramy,
nastavenieakonfiguráciusieteavoliteľnéinštalácie.
•Nakupovaťaktualizáciearozšírenéslužbyopravyhardvéru.
©CopyrightLenovo2015,2016
69
Page 80

•Získaťprístupkinformáciámopodporeariešeníproblémov,ktorésatýkajúvášhomodelupočítača
aďalšíchpodporovanýchproduktov.
•Nájsťnajbližšiehoposkytovateľaservisu.
WeboválokalitapodporyspoločnostiLenovo
InformácieotechnickejpodporemôžetezískaťnawebovejlokalitepodporyspoločnostiLenovonaadrese:
http://www.lenovo.com/support
Natejtowebovejlokalitesanachádzajúnajnovšieinformácieopodpore,napríkladnasledujúce:
•Diagnostickériešenia
•Ovládačeasoftvér
•Databázavedomostíanajčastejšieotázky
•Najnovšieelektronicképríručky
•T elefónnečíslacentraLenovoSupport
•Podrobnostioproduktochadielcoch
•Zárukanaproduktyazáručnýservis
Najčastejšieotázky
Odpovedenanajčastejšieotázkytýkajúcesapočítačanájdetenatejtoadrese:
http://www.lenovo.com/support/faq
Pomocaservis
Tátočasťobsahujeinformácieozískanípomociaservisu.
Žiadosťoservis
PočaszáručnejlehotymôžetepomocainformáciezískavaťtelefonickycezCentrumpodporyzákazníkov.
Informácieozáručnejlehoteprepočítačnájdetenaadresehttp://www.lenovo.com/warranty-status.Zoznam
telefónnychčíselpodporyspoločnostiLenovonájdetenaadresehttp://www.lenovo.com/support/phone.
Poznámka:Telefónnečíslamôžubyťzmenenébezpredchádzajúcehoupozornenia.Akčísloprevašu
krajinualeboregiónniejeuvedené,spojtesasdistribútoromznačkyLenovoalebosobchodnýmzástupcom
spoločnostiLenovo.
Počaszáručnejlehotysúdostupnétietoslužby:
•Identifikáciaproblému–Vyškoleníservisnípracovnícivámpomôžustanoviťhardvérovýprobléma
rozhodnúťsaprezásah,ktorýjepotrebnýnaodstránenieproblému.
•Opravahardvéru–Akproblémspôsobilhardvérvzáruke,vyškoleníservisnípracovnícivámposkytnú
potrebnýservis.
•Riadenietechnickýchmodifikácií–Môžesastať,žepozakúpeníproduktubudepotrebnévykonať
určitézmeny.SpoločnosťLenovoalebovášpredajcavykonajúvybratétechnickémodifikácie(EC),ktoré
savzťahujúnavášhardvér.
Zárukasanevzťahujena:
•Výmenualebopoužitiedielcov,ktorénevyrobilaspoločnosťLenovo,nebolivyrobenépreňualebonemajú
zárukuspoločnostiLenovo
•Identifikáciuzdrojovsoftvérovýchproblémov
•KonfiguráciusystémuBIOSakosúčasťinštaláciealeboaktualizácie
70LenovoS500zPoužívateľskápríručka
Page 81

•Zmeny,modifikáciealeboaktualizácieovládačovzariadení
•Inštaláciuaúdržbusieťovýchoperačnýchsystémov(NOS)
•Inštaláciaaúdržbaaplikačnýchprogramov
Akjetomožné,počastelefonátusazdržiavajtepripočítači.Pripravtesinasledujúceinformácie:
•T ypamodelpočítača
•Sériovéčíslavašichhardvérovýchproduktov
•Opisproblému
•Presnéznenievšetkýchchybovýchhlásení
•Informácieokonfiguráciihardvéruasoftvéru
Nákupďalšíchslužieb
Počaszáručnejlehotyiponejsimôžetezakúpiťďalšieslužby.Príkladytýchtoďalšíchslužieb:
•Podporaprehardvér,operačnésystémyaaplikačnéprogramy
•Službynastaveniaakonfiguráciesiete
•Zdokonalenéaleborozšírenéslužbyopravyhardvéru
•Voliteľnéinštalačnéslužby
Dostupnosťanázvyslužiebsamôžuvrôznychkrajináchaleboregiónochlíšiť.Ďalšieinformácieotýchto
službáchnájdetenawebovejlokalitespoločnostiLenovonaadrese:
http://www.lenovo.com
Kapitola8.Získavanieinformácií,pomociaservisu71
Page 82

72LenovoS500zPoužívateľskápríručka
Page 83

PrílohaA.Regulačnéinformácie
Aktuálneinformácieosúladesúdostupnénaadresehttp://www.lenovo.com/compliance.
Vyhlásenieoklasifikáciipreexport
TentoproduktpodliehapredpisomEAR(ExportAdministrationRegulations)USAajehočísloECCN(Export
ClassificationControlNumber)je5A992.c.Možnohoopakovaneexportovať,avšakvýnimkutvoriakrajinyzo
zoznamuEARE1,naktorésavzťahujeembargo.
Poznámkyoelektronickýchemisiách
NasledujúceinformáciesatýkajútýchtotypovosobnýchpočítačovLenovo:10HCa10K3.
DeklaráciasúladusnormouFederalCommunicationsCommission(FCC)
ThisequipmenthasbeentestedandfoundtocomplywiththelimitsforaClassBdigitaldevice,pursuant
toPart15oftheFCCRules.Theselimitsaredesignedtoprovidereasonableprotectionagainstharmful
interferenceinaresidentialinstallation.Thisequipmentgenerates,uses,andcanradiateradiofrequency
energyand,ifnotinstalledandusedinaccordancewiththeinstructions,maycauseharmfulinterference
toradiocommunications.However,thereisnoguaranteethatinterferencewillnotoccurinaparticular
installation.Ifthisequipmentdoescauseharmfulinterferencetoradioortelevisionreception,whichcanbe
determinedbyturningtheequipmentoffandon,theuserisencouragedtotrytocorrecttheinterferenceby
oneormoreofthefollowingmeasures:
•Reorientorrelocatethereceivingantenna.
•Increasetheseparationbetweentheequipmentandreceiver.
•Connecttheequipmentintoanoutletonacircuitdifferentfromthattowhichthereceiverisconnected.
•Consultanauthorizeddealerorservicerepresentativeforhelp.
Lenovoisnotresponsibleforanyradioortelevisioninterferencecausedbyusingotherthanspecifiedor
recommendedcablesandconnectorsorbyunauthorizedchangesormodificationstothisequipment.
Unauthorizedchangesormodificationscouldvoidtheuser'sauthoritytooperatetheequipment.
ThisdevicecomplieswithPart15oftheFCCRules.Operationissubjecttothefollowingtwoconditions:(1)
thisdevicemaynotcauseharmfulinterference,and(2)thisdevicemustacceptanyinterferencereceived,
includinginterferencethatmaycauseundesiredoperation.
ResponsibleParty:
Lenovo(UnitedStates)Incorporated
1009ThinkPlace-BuildingOne
Morrisville,NC27560
PhoneNumber:919-294-5900
VyhlásenieosúladesemisiamitriedyBpodľaministerstvaIndustryCanada
CANICES-3(B)/NMB-3(B)
Európskaúnia–Zhodasosmernicouozariadeniachinformačnýchtechnológií(ITE)asmernicouo
rádiovýchzariadeniach
PrílohaA.Regulačnéinformácie73
Page 84

Modelybezrádiovéhozariadenia:T entoproduktjevsúladespožiadavkaminaochranupodľasmernice
RadyEurópskejúnie2004/108/ES(do19.apríla2016)asmerniceRady2014/30/EÚ(od20.apríla2016)o
aproximáciiprávnychpredpisovčlenskýchštátovvzťahujúcichsanaelektromagnetickúkompatibilitu.
Modelysrádiovýmzariadením:Tentoproduktjevsúladesovšetkýmipožiadavkamiazákladnýminormami,
ktorésavzťahujúnasmernicuRadyEurópskejúnie1999/5/ESoaproximáciiprávnychpredpisovčlenských
štátovvzťahujúcichsanarádiovézariadenia(smernicaR&TTE).
SpoločnosťLenovonemôžeprevziaťzodpovednosťzaakékoľvekzlyhaniepriplneníochrannýchpožiadaviek
vyplývajúcezneodporúčanejmodifikácieproduktu,vrátaneinštalácievoliteľnýchkarietinýchvýrobcovako
Lenovo.TentoproduktboltestovanýavyhovujelimitomprezariadeniatriedyBpodľaeurópskychnoriem
harmonizovanýchvsmerniciach,sktorýmijevsúlade.LimityprezariadeniatriedyBbolivytvorenépre
typickérezidenčnéprostredie,abysazaistilaprimeranáochranapredrušenímslicenčnýmikomunikačnými
zariadeniami.
Lenovo,Einsteinova21,85101Bratislava,Slovakia
VyhlásenieprezariadeniatriedyBpreNemecko
DeutschsprachigerEUHinweis:
HinweisfürGerätederKlasseBEURichtliniezurElektromagnetischenVerträglichkeit
DiesesProduktentsprichtdenSchutzanforderungenderEURichtlinie2014/30/EU(früher2004/108/EC)zur
AngleichungderRechtsvorschriftenüberdieelektromagnetischeVerträglichkeitindenEU-Mitgliedsstaaten
undhältdieGrenzwertederKlasseBderNormgemäßRichtlinie.
Umdiesessicherzustellen,sinddieGerätewieindenHandbüchernbeschriebenzuinstallierenundzu
betreiben.DesWeiterendürfenauchnurvonderLenovoempfohleneKabelangeschlossenwerden.
LenovoübernimmtkeineVerantwortungfürdieEinhaltungderSchutzanforderungen,wenndasProdukt
ohneZustimmungderLenovoverändertbzw.wennErweiterungskomponentenvonFremdherstellernohne
EmpfehlungderLenovogesteckt/eingebautwerden.
Deutschland:
EinhaltungdesGesetzesüberdieelektromagnetischeVerträglichkeitvonBetriebsmitteln
DiesesProduktentsprichtdem„GesetzüberdieelektromagnetischeVerträglichkeitvonBetriebsmitteln“
EMVG(früher„GesetzüberdieelektromagnetischeVerträglichkeitvonGeräten“).DiesistdieUmsetzungder
EURichtlinie2014/30/EU(früher2004/108/EWG)inderBundesrepublikDeutschland.
ZulassungsbescheinigunglautdemDeutschenGesetzüberdieelektromagnetischeVerträglichkeit
vonBetriebsmitteln,EMVGvom20.Juli2007(früherGesetzüberdieelektromagnetische
VerträglichkeitvonGeräten),bzw.derEMVEURichtlinie2014/30/EU(früher2004/108/EC),für
GerätederKlasseB.
DiesesGerätistberechtigt,inÜbereinstimmungmitdemDeutschenEMVGdasEG-Konformitätszeichen
-CE-zuführen.VerantwortlichfürdieKonformitätserklärungnachParagraf5desEMVGistdieLenovo
(Deutschland)GmbH,Meitnerstr.9,D-70563Stuttgart.
InformationeninHinsichtEMVGParagraf4Abs.(1)4:
DasGeräterfülltdieSchutzanforderungennachEN55024undEN55022KlasseB.
74LenovoS500zPoužívateľskápríručka
Page 85

VyhlásenieprezariadeniatriedyBpreKóreu
JaponskévyhlásenieVCCIprezariadeniatriedyB
Japonskévyhláseniepreproduktypripojenékelektrickejsietismenovitýmprúdommenšímalebo
rovným20Anafázu
VyhlásenieonapájacomkáblipreJaponsko
Theacpowercordshippedwithyourproductcanbeusedonlyforthisspecificproduct.Donotusetheac
powercordforotherdevices.
InformácieoserviseproduktovLenovopreTaiwan
VyhlásenieoklávesniciamyšipreT aiwan
Euroázijskáznačkazhody
VyhlásenieozvukupreBrazíliu
Ouvirsonscommaisde85decibéisporlongosperíodospodeprovocardanosaosistemaauditivo.
InformácieosúladespožiadavkaminabezdrôtovérádiopreMexiko
Advertencia:EnMexicolaoperacióndeesteequipoestásujetaalassiguientesdoscondiciones:(1)es
posiblequeesteequipoodispositivonocauseinterferenciaperjudicialy(2)esteequipoodispositivodebe
aceptarcualquierinterferencia,incluyendolaquepuedacausarsuoperaciónnodeseada.
PrílohaA.Regulačnéinformácie75
Page 86

UpozornenietýkajúcesazrakupreTaiwan
Ďalšieregulačnéinformácie
ĎalšieregulačnéinformácienájdetevRegulačnomvyhlásení,ktorésadodávaspočítačom.Vzávislostiod
konfiguráciepočítačaakrajinyalebooblasti,vktorejbolpočítačzakúpený,môžeteprikúpepočítačazískať
ďalšietlačenéregulačnévyhlásenia.Všetkyregulačnévyhláseniasúkdispozíciinawebovejstránkepodpory
Lenovovelektronickomformáte.Akchcetezískaťprístupkelektronickýmkópiámdokumentácie,prejdite
nastránkuhttp://www.lenovo.com/UserManuals.
76LenovoS500zPoužívateľskápríručka
Page 87

PrílohaB.InformácieozariadeniachWEEEarecyklácii
SpoločnosťLenovožiadavlastníkovzariadeníinformačnýchtechnológií(IT)ozodpovednérecyklovanieich
zariadenípoukončeníichpoužívania.SpoločnosťLenovoponúkarôzneprogramyaslužby,ktorépomáhajú
vlastníkomzariadeníprirecykláciiproduktovIT.InformácieorecykláciiproduktovLenovonájdetenaadrese
http://www.lenovo.com/recycling.Aktuálneinformácieoproduktochtýkajúcesaživotnéhoprostrediasú
dostupnénaadresehttp://www.lenovo.com/ecodeclaration.
DôležitéinformácieozariadeniachWEEE
OznačenieWEEEnaproduktochLenovoplatíprekrajinyspredpismipreodpadzelektrickýcha
elektronickýchzariadení(WEEE)aelektronickýodpad(napríkladeurópskasmernicaoodpadezelektrických
aelektronickýchzariadeníaleboindicképravidláprespravovanieelektronickéhoodpaduamanipulácius
nímzroku2011).Zariadeniasúoznačenévsúladesmiestnymipredpismipreodpadzelektrickýcha
elektronickýchzariadení(WEEE).Tietopredpisyurčujúrámecprenávratarecykláciupoužitýchspotrebičov
vjednotlivýchkrajinách.Totooznačeniesanachádzanarôznychproduktochaznamená,žeproduktsapo
skončeníživotnostinemázahadzovať,alenamiestotohosamáodovzdaťvzavedenomsystémezberuna
recykláciu.
Používateliaelektrickýchaelektronickýchzariadení(EEE)soznačenímWEEEichnesmúposkončení
životnostizlikvidovaťakonetriedenýkomunálnyodpad,alemusiapoužiťdostupnýsystémzberuprenávrat,
recyklovanieaobnovuzariadeníWEEEaminimalizovaťvšetkymožnéúčinkyzariadeníEEEnaživotné
prostredieaľudskézdraviezdôvoduprítomnostinebezpečnýchlátok.Elektrickéaelektronickézariadenia
(EEE)značkyLenovomôžuobsahovaťdielceakomponenty,ktorésanakonciživotnostimôžupovažovať
zanebezpečnýodpad.
ZariadeniaEEEaodpadzelektrickýchaelektronickýchzariadení(WEEE)samôžubezplatnedoručiťna
miestoichpredajaalebokľubovoľnémudistribútorovi,ktorýpredávaelektrickéaelektronickézariadenia
rovnakejpodstatyafunkcieakopoužitézariadeniaEEEaleboodpadWEEE.
ĎalšieinformácieozariadeniachWEEEnájdetenaadrese:
http://www.lenovo.com/recycling
InformácieoodpadeWEEEpreMaďarsko
SpoločnosťLenovoakovýrobcaznášanákladyvsúvislostisplnenímzáväzkovspoločnostiLenovo
vyplývajúcichzmaďarskéhozákonač.197/2014(VIII.1.),pododdiely(1)–(5)oddielu12.
PrílohaB.InformácieozariadeniachWEEEarecyklácii77
Page 88

InformácieorecykláciipreJaponsko
CollectingandrecyclingadisusedLenovocomputerormonitor
IfyouareacompanyemployeeandneedtodisposeofaLenovocomputerormonitorthatistheproperty
ofthecompany,youmustdosoinaccordancewiththeLawforPromotionofEffectiveUtilizationof
Resources.Computersandmonitorsarecategorizedasindustrialwasteandshouldbeproperlydisposed
ofbyanindustrialwastedisposalcontractorcertifiedbyalocalgovernment.InaccordancewiththeLaw
forPromotionofEffectiveUtilizationofResources,LenovoJapanprovides,throughitsPCCollecting
andRecyclingServices,forthecollecting,reuse,andrecyclingofdisusedcomputersandmonitors.For
details,visittheLenovoWebsiteathttp://www.lenovo.com/recycling/japan.PursuanttotheLawfor
PromotionofEffectiveUtilizationofResources,thecollectingandrecyclingofhome-usedcomputers
andmonitorsbythemanufacturerwasbegunonOctober1,2003.Thisserviceisprovidedfreeof
chargeforhome-usedcomputerssoldafterOctober1,2003.Fordetails,visittheLenovoWebsiteat
http://www.lenovo.com/recycling/japan.
DisposingofLenovocomputercomponents
SomeLenovocomputerproductssoldinJapanmayhavecomponentsthatcontainheavymetalsorother
environmentalsensitivesubstances.Toproperlydisposeofdisusedcomponents,suchasaprintedcircuit
boardordrive,usethemethodsdescribedaboveforcollectingandrecyclingadisusedcomputerormonitor.
DisposingofdisusedlithiumbatteriesfromLenovocomputers
Abutton-shapedlithiumbatteryisinstalledinsideyourLenovocomputertoprovidepowertothecomputer
clockwhilethecomputerisoffordisconnectedfromthemainpowersource.Ifyouneedtoreplaceitwitha
newone,contactyourplaceofpurchaseorcontactLenovoforservice.Ifyouneedtodisposeofadisused
lithiumbattery,insulateitwithvinyltape,contactyourplaceofpurchaseoranindustrial-waste-disposal
operator,andfollowtheirinstructions.Disposalofalithiumbatterymustcomplywithlocalordinances
andregulations.
InformácieorecykláciipreBrazíliu
DeclaraçõesdeReciclagemnoBrasil
DescartedeumProdutoLenovoForadeUso
Equipamentoselétricoseeletrônicosnãodevemserdescartadosemlixocomum,masenviadosàpontosde
coleta,autorizadospelofabricantedoprodutoparaquesejamencaminhadoseprocessadosporempresas
especializadasnomanuseioderesíduosindustriais,devidamentecertificadaspelosorgãosambientais,de
acordocomalegislaçãolocal.
ALenovopossuiumcanalespecíficoparaauxiliá-lonodescartedessesprodutos.Casovocêpossua
umprodutoLenovoemsituaçãodedescarte,ligueparaonossoSACouencaminheume-mailpara:
reciclar@lenovo.com,informandoomodelo,númerodesérieecidade,afimdeenviarmosasinstruções
paraocorretodescartedoseuprodutoLenovo.
InformácieorecykláciibatériípreTaiwan
78LenovoS500zPoužívateľskápríručka
Page 89

InformácieorecykláciibatériípreEurópskuúniu
Upozornenie:TotooznačeniesapoužívalenvkrajináchvrámciEurópskejúnie(EÚ).
BatériealeboobalybatériísúoznačovanévsúladesEurópskousmernicou2006/66/ECobatériácha
akumulátorochapoužitýchbatériáchaakumulátoroch.Tátosmernicaurčujepravidláprenávratarecykláciu
použitýchbatériíaakumulátorov,ktorésúplatnévrámcicelejEurópskejúnie.Totooznačeniesatýka
rôznychbatériíaoznačujeprodukt,ktorýsanemázahadzovať,alemásaposkončeníživotnostizozbieraťa
recyklovaťpodľatejtosmernice.
VsúladesEurópskousmernicou2006/66/ECsabatérieaakumulátoryoznačujúakoproduktyurčené
naseparovanýzberarecykláciuposkončeníživotnosti.Štítoknabatériimôžeobsahovaťajchemickú
značkukovu,ktorýbatériaobsahuje(Pbpreolovo,HgpreortuťaCdprekadmium).Používateliabatériía
akumulátorovichnesmúlikvidovaťakonetriedenýkomunálnyodpad,alemusiapoužiťdostupnýsystém
zberuprenávrat,recyklovanieaspracovaniebatériíaakumulátorov.Spoluprácazákazníkajedôležitá,lebo
môžeminimalizovaťmožnéúčinkynebezpečnýchlátokpotenciálneprítomnýchvbatériáchaakumulátoroch
naživotnéprostredieaľudskézdravie.
Predumiestnenímelektrickéhoaelektronickéhozariadenia(EEE)dotokunazberodpadualebozariadenia
nazberodpadumusíkoncovýpoužívateľzariadeniaobsahujúcehobatériealeboakumulátoryodstrániťtieto
batérieaakumulátorynaúčelyseparovanéhozberu.
LikvidácialítiovýchbatériízproduktovLenovo
VnútrivášhoproduktuLenovomôžebyťnainštalovanágombíkoválítiovábatéria.Podrobnostiotejtobatérii
nájdetevdokumentáciikproduktu.Akjepotrebnébatériuvymeniť,sožiadosťouoservissaobráťtena
predajcualebospoločnosťLenovo.Aksapotrebujetezbaviťlítiovejbatérie,izolujtejuvinylovoupáskou,
kontaktujtepredajcualeboprevádzkovateľazariadenianalikvidáciuodpadovapostupujtepodľajeho
pokynov.
LikvidáciabatériízproduktovLenovo
VzariadeníLenovomôžebyťlítium-iónovábatériaalebonikel-metalhydridovábatéria.Podrobnostiotejto
batériinájdetevdokumentáciikproduktu.Aksapotrebujetezbaviťbatérie,izolujtejuvinylovoupáskou,
kontaktujtepredajnéoddeleniespoločnostiLenovo,servis,predajcualeboprevádzkovateľazariadeniana
likvidáciuodpadovapostupujtepodľajehopokynov.Pokynynájdeteajvpríručkáchprevášprodukt.
Informácieovhodnomzbereaspracovanínájdetenaadrese:
http://www.lenovo.com/lenovo/environment
PrílohaB.InformácieozariadeniachWEEEarecyklácii79
Page 90

80LenovoS500zPoužívateľskápríručka
Page 91

PrílohaC.Smernicaoobmedzenípoužívaniaurčitých
nebezpečnýchlátok(RoHS)
Aktuálneinformácieoživotnomprostredísúdostupnénaadresehttp://www.lenovo.com/ecodeclaration.
VyhlásenieosmerniciRoHSpreEurópskuúniu
TentoproduktLenovovrátanejehosúčastí(káblov,šnúratď.)spĺňapožiadavkysmernice2011/65/EÚ
oobmedzenípoužívaniaurčitýchnebezpečnýchlátokvelektrickýchaelektronickýchzariadeniach(„RoHS
recast“alebo„RoHS2“).
ĎalšieinformácieododržiavanísmerniceRoHSzostranyspoločnostiLenovopocelomsvetenájdetena
adrese:
http://www.lenovo.com/social_responsibility/us/en/RoHS_Communication.pdf
VyhlásenieosmerniciRoHSpreTurecko
TheLenovoproductmeetstherequirementsoftheRepublicofTurkeyDirectiveontheRestrictionoftheUse
ofCertainHazardousSubstancesinWasteElectricalandElectronicEquipment(WEEE).
VyhlásenieosmerniciRoHSpreUkrajinu
VyhlásenieosmerniciRoHSpreIndiu
RoHScompliantasperE-Waste(Management&Handling)Rules,2011.
PrílohaC.Smernicaoobmedzenípoužívaniaurčitýchnebezpečnýchlátok(RoHS)81
Page 92

VyhlásenieosmerniciRoHSpreČínu
VyhlásenieosmerniciRoHSpreTaiwan
82LenovoS500zPoužívateľskápríručka
Page 93

PrílohaD.EnergetickýštítokpreČinu
PrílohaD.EnergetickýštítokpreČinu83
Page 94

84LenovoS500zPoužívateľskápríručka
Page 95

PrílohaE.InformácieomodeliENERGYSTAR
ENERGYSTAR
®
jespoločnýprogramagentúryU.S.EnvironmentalProtectionAgencyaministerstvaU.S.
DepartmentofEnergyurčenýnaúsporufinančnýchprostriedkovaochranuživotnéhoprostrediavyužitím
energetickyefektívnychproduktovastratégií.
SpoločnosťLenovoponúkasvojimzákazníkomproduktyvyhovujúceštandarduENERGYSTAR.Niektoré
modelyznasledujúcichtypovpočítačovbolinavrhnutéatestovanévsúladespožiadavkaminormyENERGY
STARplatnejvčaseichvýroby:10HCa10K3.ĎalšieinformácieoprogrameENERGYSTARprepočítače
Lenovonájdetenaadresehttp://www.lenovo.com.
PoužívanímproduktovvyhovujúcichštandarduENERGYSTARavyužívanímfunkciíriadenianapájaniavášho
počítačamôžeteprispieťajvykúsporeelektrickejenergie.Zníženímspotrebyelektrickejmôžeteprispieť
kúsporefinančnýchprostriedkov,čistejšiemuživotnémuprostrediuaeliminovaniuemisiíspôsobujúcich
skleníkovýefekt.
ĎalšieinformácieoprogrameENERGYSTARnájdetenaadrese:
http://www.energystar.gov
SpoločnosťLenovovásvyzývakzefektívneniuvyužívaniaenergie,ktorájekaždodennousúčasťouvašich
každodennýchčinností.Napomoctomutoúsiliunastavtefunkcieriadenianapájaniavášhopočítačatak,aby
saaktivovali,keďpočítačurčitúdobunepoužívate:
Tabuľka1.FunkciesprávynapájaniaENERGYSTAR
OperačnýsystémWindows7aleboWindows10
Plánnapájania:Predvolenénastavenie
•Vypnúťdisplej:Po10minútach
•Prepnúťpočítačdorežimuspánku:Po25minútach
•Rozšírenénastavenianapájania:
-Vypnúťjednotkypevnéhodisku:Po20minútach
-Dlhodobýspánok:Nikdy
Akchcetepočítačprebudiťzrežimuspánku,stlačteľubovoľnýklávesnaklávesnici.
Akchcetezmeniťnastavenianapájania,postupujtetakto:
1.Otvorteovládacípaneljednýmznasledujúcichspôsobov:
•VsystémeWindows7:KliknutímnatlačidloŠtartotvorteponukuŠtart.
•VsystémeWindows10:KliknutímpravýmtlačidlommyšinatlačidloŠtartotvortekontextovúponuku
Štart.
2.KliknitenapoložkuOvládacípanel.NastavtetypzobrazeniaovládaciehopanelanaVeľkéikonyalebo
MaléikonyapotomkliknitenapoložkuMožnostinapájania.
PrílohaE.InformácieomodeliENERGYSTAR85
Page 96

3.Postupujtepodľapokynovnaobrazovke.
86LenovoS500zPoužívateľskápríručka
Page 97

PrílohaF.Vyhlásenia
SpoločnosťLenovonemusíponúkaťprodukty,službyalebokomponenty,uvedenévtomtodokumente,vo
všetkýchkrajinách.Informácieoproduktochaslužbáchdostupnýchvovašejkrajinezískateodmiestneho
zástupcuspoločnostiLenovo.Žiadenodkaznaprodukt,programaleboslužbuspoločnostiLenovonieje
mienenýtak,žebyvyjadrovalalebonaznačoval,žemožnopoužiťlententoprodukt,programaleboslužbu
spoločnostiLenovo.Namiestonichsamôžepoužiťľubovoľnýfunkčneekvivalentnýprodukt,program
aleboslužba,ktoréneporušujúžiadneintelektuálnevlastníckeprávospoločnostiLenovo.Používateľvšak
zodpovedázato,abyzhodnotilaoverilfungovanietakéhotoproduktu,programualeboslužby.
SpoločnosťLenovomôževlastniťpatentyalebopatentyvschvaľovacomkonanípokrývajúcepredmetné
záležitostiopísanévtomtodokumente.Texttohtodokumentuvámneudeľuježiadnelicencienatietopatenty.
Požiadavkynalicenciemôžetezaslaťpísomnenaadresu:
Lenovo(UnitedStates),Inc.
1009ThinkPlace-BuildingOne
Morrisville,NC27560
U.S.A.
Attention:LenovoDirectorofLicensing
SPOLOČNOSŤLENOVOPOSKYTUJETÚTOPUBLIKÁCIU„TAKAKOJE“,BEZAKÝCHKOĽVEK
VÝSLOVNÝCHALEBOMLČKYPREDPOKLADANÝCHZÁRUK,VRÁTANE,ALEBEZOBMEDZENIANA
MLČKYPREDPOKLADANÉZÁRUKYNEPORUŠENIAPRÁV,OBCHODOVATEĽNOSTIALEBOVHODNOSTI
NAKONKRÉTNYÚČEL.Niektoréjurisdikcienepovoľujúzrieknutiesavýslovnýchanimlčkypredpokladaných
zárukvurčitýchoperáciách,pretosanavástotovyhlásenienemusívzťahovať.
Tietoinformáciemôžuobsahovaťtechnickénepresnostialebotypografickéchyby.Vtýchtoinformáciách
sarobiaperiodickyzmeny.Tietozmenybudúzačlenenédonovýchvydanítejtopublikácie.Spoločnosť
Lenovomôžekedykoľvekbezohláseniavykonaťvylepšeniaalebozmenyproduktovaleboprogramov
popísanýchvtejtopublikácii.
Produktyopísanévtomtodokumenteniesúurčenénapoužívanieakoimplantátyaleboinéprístroje
nahrádzajúceživotnéfunkcie,kdebynesprávnoučinnosťoumohlodôjsťkporaneniualebosmrtiosôb.
Informácieuvedenévtomtodokumenteneovplyvňujúaninemeniašpecifikáciealebozárukynaprodukty
spoločnostiLenovo.Tentodokumentneslúžiakovyjadrenáalebomlčkypredpokladanálicenciaalebo
odškodneniepodľaprávduševnéhovlastníctvaspoločnostiLenovoalebotretíchstrán.Všetkyinformácie
vtomtodokumentebolizískanévšpecifickýchprostrediachaslúžiaakoilustrácia.Výsledkyzískanév
inýchprevádzkovýchprostrediachsamôžulíšiť.
SpoločnosťLenovomôžepoužiťalebodistribuovaťľubovoľnévamiposkytnutéinformácievhodnezvoleným
spôsobombeztoho,abyjejvočivámvznikliakékoľvekzáväzky.
ĽubovoľnéodkazynawebovélokalityinýchspoločnostíakoLenovosúuvedenélenakodoplňujúce
informácieavžiadnomprípadeneslúžiaakosúhlassobsahomtýchtolokalít.Materiálynatýchtowebových
lokalitáchniesúsúčasťoumateriálovtohtoproduktuLenovoaichpoužitiejenavaševlastnériziko.
Akékoľvektuuvedenéúdajeovýkone,bolizískanévkontrolovanomprostredí.Pretosamôžuvýsledky
získanévinýchprevádzkovýchprostrediachvýraznelíšiť.Niektorémeraniabolivykonanévsystémoch
vývojovejúrovneanieježiadnazáruka,žetietomeraniabudúrovnakévovšeobecnedostupných
systémoch.Okremtoho,niektoréhodnotymohlibyťodhadnutéextrapoláciou.Aktuálnevýsledkysamôžu
líšiť.Používateliatohtodokumentubysimalioveriťpríslušnéúdajepreichkonkrétneprostredie.
PrílohaF.Vyhlásenia87
Page 98

Ochrannéznámky
NasledujúcevýrazysúochrannéznámkyspoločnostiLenovovUSAaďalšíchkrajinách:
Lenovo
LogoLenovo
Microsoft,WindowsaWindowsMediasúochrannéznámkyskupinyspoločnostíMicrosoft.
InteljeochrannáznámkaspoločnostiIntelCorporationvUSAaleboinýchkrajinách.
VESAjeochrannáznámkaasociácieVideoElectronicsStandardsAssociation.
TermínyHDMIaHDMIHigh-DefinitionMultimediaInterfacesúochrannéznámkyaleboregistrované
ochrannéznámkyspoločnostiHDMILicensingLLCvUSAaďalšíchkrajinách.
Ostatnénázvyspoločností,produktovaleboslužiebmôžubyťochrannéaleboservisnéznámkyiných
subjektov.
88LenovoS500zPoužívateľskápríručka
Page 99
Page 100