Page 1

OVEN PARTS
30" BUILT−IN MICROWAVE
For Models:YKBMC140HB0, YKBMC140HW0, YKBMC140HS0
(BLACK) (WHITE) (STAINLESS)
9−05 Litho in U.S.A. (jac)
1
Part No. 8183789
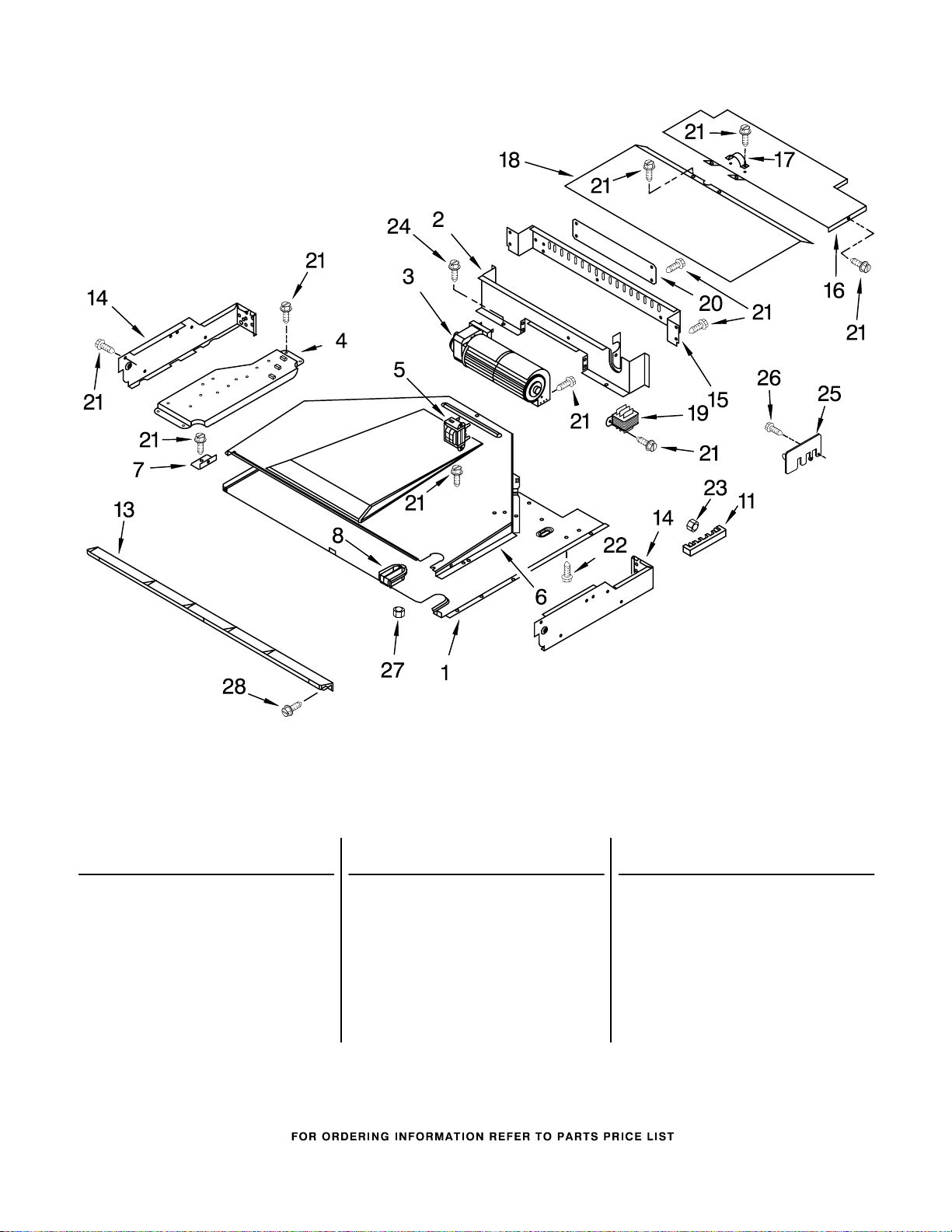
Page 2

OVEN PARTS
For Models:YKBMC140HB0, YKBMC140HW0, YKBMC140HS0
(BLACK) (WHITE) (STAINLESS)
Illus. Part
No. No. DESCRIPTION
1 Literature Parts
LIT4452615
LIT4452614
LIT4452618
LIT4450786
LIT4451052
LIT8300541
LIT4449264
LIT4448687
LIT3191638
2 Trim, Side
4452624 RH Black
4452626 RH White
4452556 RH Stainless
4452625 LH Black
4452627 LH White
4452557 LH Stainless
3 4451605 Cap, Spacer
4 Rail, Side
4452549 Right Side
4452550 Left Side
5 4452559 Side, Chassis
6 4452541 Base, Chassis
7 Trim, Bottom
4452621 Black
4452623 White
4452569 Stainless
8 4452554 Chassis, Back
9 4449906 Extension Filler
10 3400832 Screw
11 4449809 Screw
12 4452492 Insulation−Grill
13 4452491 Insulation−Top
14 694091 Screw
15 4455471 Spacer, Rail (2)
16 4455476 Bracket
17 4455475 Bracket
Installation
Instructions
Guide, Use & Care
English
French
Cook Guide Label
Guide−Easy Use M/W
Tech Sheet
Easy Set Guide
English
French
Safer Cooking Tips
(R.H. & L.H.)
2
8183789
Page 3

CONTROL PANEL PARTS
For Models:YKBMC140HB0, YKBMC140HW0, YKBMC140HS0
(BLACK) (WHITE) (STAINLESS)
Illus. Part
No. No. DESCRIPTION
1 Panel, Control
4452604 Black
4452605 White
4451791 Stainless
2 Switch, Membrane
4453028 Black
4453029 White
4453025 Stainless
3 4452248 Insulator, Board
4 4452249 Insulator, Board
Support
5 4452260 Spacer, Foam
6 4452345 Insulator,
Dialectric
7 4453377 Microcomputer
8 3400406 Screw
9 3400832 Screw
10 4451592 Filter, R.F.
11 4451632 Bracket, Filter
8183789
3
Page 4

MICROWAVE COMPARTMENT PARTS
For Models:YKBMC140HB0, YKBMC140HW0, YKBMC140HS0
(BLACK) (WHITE) (STAINLESS)
Illus. Part
No. No. DESCRIPTION
5 Support Rails
4452551 Right Side
4452552 Left Side
11 4452548 Rear Channel
12 4449809 Screw
13 4449154 Screw
4
8183789
Page 5

CABINET AND STIRRER PARTS
For Models:YKBMC140HB0, YKBMC140HW0, YKBMC140HS0
(BLACK) (WHITE) (STAINLESS)
8183789
5
Page 6

CABINET AND STIRRER PARTS
For Models:YKBMC140HB0, YKBMC140HW0, YKBMC140HS0
(BLACK) (WHITE) (STAINLESS)
Illus. Part
No. No. DESCRIPTION
1 4375437 Bracket, Capacitor
3 4375252 Rubber Ring
4 4375038 Screw
5 4375314 Air Duct, Magnetron
6 4375253 Support, Tube
7 4375421 Plug, Ceramic
8 4375255 Bushing
9 4375256 Reflector
10 4375257 Chamber, Reflector
12 4375450 Duct, Inlet
13 4375316 Insulation, Switch
14 4375322 Fan Wheel
15 4375317 Duct, Air
16 4375415 Block, Slide
17 4375248 Cover Plate, Upper
18 4375251 Screw
19 4375318 Lens, Lamp
20 4375319 Spring
21 4375320 Reflector
22 4393900 Pan Handle
23 4452220 Rack
24 4393536 Crisp Plate
25 4375436 Capacitor
26 4375424 Magnetron
27 4375321 Fuse
28 4375231 Block, Fuse
29 4375278 Motor, Blower
Illus. Part
No. No. DESCRIPTION
30 4375279 Thermostat
31 4375423 Thermostat
32 4375281 Thermostat
33 4375408 Q Tube Assembly
34 4375438 Transformer
35 4375406 Ring, Turntable
36 4375407 Shaft, Turntable
39 Bracket, Hinge
4375412 Left
4375413 Right
42 4375331 Plate, Grill
43 4375332 Bracket
44 4375441 Fan Cap
46 Switch Holder
4375412 Left
4375413 Right
47 4375258 Nut
48 Insulation
4375409 Left Side
4375410 Right Side
49 4375411 Plate, Side
Bottom
50 4375425 Valve
51 4375428 Screw To Valve
52 4375427 Thermoactuator
53 4375426 Air Bleed
Illus. Part
No. No. DESCRIPTION
54 4375439 Shield, Heat
Right
55 4375422 Sensor, Temp.
56 4375420 Insulation
57 4375419 Duct, Heater
58 4375416 Washer
59 4375417 Element, Heater
60 4375418 Fan
61 4375429 Motor, Fan
62 Left−Threaded Nut
Serviced With
Motor Item 61
63 4375430 Thermostat
64 4375431 Shield, Heat
65 4375432 Insulation
66 4375433 Chamber, Heat
67 4375437 Isolation Plate
68 4375338 Cover Plate
71 Side Plate
4375341 Left
4375342 Right
72 4375405 Turntable
73 4375346 Switch
74 4375347 Motor, Turntable
75 4375348 Lamp
76 4375349 Rectifier
77 4375435 Cable
6
8183789
Page 7

TOP VENTING PARTS
For Models:YKBMC140HB0, YKBMC140HW0, YKBMC140HS0
(BLACK) (WHITE) (STAINLESS)
Illus. Part
No. No. DESCRIPTION
1 4450378 Cover, Top
2 4448935 Baffle, Blower
3 4450920 Blower
4 4451789 Plate, Mounting
5 6610122 Transformer,
(Lights)
6 4451634 Exhaust Duct
7 4450027 Bracket, Duct
8 4449964 Grommet
11 4449868 Block, Terminal
8183789
Illus. Part
No. No. DESCRIPTION
13 4450791 Vent−Cntrl Panel
14 Side, Control Top
4451597 Right
4451598 Left
15 4452244 Back, Control
16 4450551 Cover, Top Rear
17 4448664 Clamp
18 4450554 Cover, Top Front
19 4455038 Transformer−Cntrl
Control
7
Illus. Part
No. No. DESCRIPTION
20 4452247 Cover, Plate
21 4449809 Screw
22 3400016 Screw
23 112432 Nut
24 1180485 Screw
25 4451934 Suppressor
26 3400016 Screw
27 4450118 Nut
28 4450038 Screw
Page 8

MICROWAVE DOOR PARTS
For Models:YKBMC140HB0, YKBMC140HW0, YKBMC140HS0
(BLACK) (WHITE) (STAINLESS)
Illus. Part
No. No. DESCRIPTION
1 4448937 Glass, Middle
2 4450946 Frame, Door
4 Bracket, Mounting
4449141 Right Side
4449142 Left Side
5 Filler, Side
4449083 Right Side
4449086 Left Side
6 Handle, Door
4452502 Black
4452503 White
4452088 Stainless
Illus. Part
No. No. DESCRIPTION
7 Glass, Outer
4452211 Black
4452789 White
4452259 Stainless
8 4451055 Spacer (Stainless)
9 4452331 Bracket, Handle
10 Retainer, Glass−Clip
4450863 Black
4450864 White
4451432 Stainless
11 4375339 Door, Plate
12 4375414 Frame, Inner
8
Illus. Part
No. No. DESCRIPTION
13 4375330 Strap, Door
14 4375313 Screw
15 Hinge, Door
4375323 Left
4375324 Right
16 Spring, Torsion
4451009 Bl/Wh Model
4452396 Stainless Model
18 4449809 Screw
19 4449040 Screw
20 4450038 Screw
21 3196184 Screw
8183789
Page 9

OPTIONAL PARTS
For Models:YKBMC140HB0, YKBMC140HW0, YKBMC140HS0
(BLACK) (WHITE) (STAINLESS)
Illus. Part
No. No. DESCRIPTION
PAINT, TOUCH−UP (1/2oz.)
72017 White
261869 Cord Brown
72032 Black
PAINT, SPRAY
350930 White
261900 Citrine White
830864 Black
FOLLOWING PARTS
NOT ILLUSTRATED
482338 Sealer, Silastic
(3 oz.)
WIRING HARNESS PARTS
8300545 Harness, Main
4450831 Wire, Ground
4450800 Screw, Ground
4450950 Conduit, Combo
4448950 Screw, Install (4)
4452400 Lead, Ground Strap
8183789
9