
HOT WATER DISPENSER
MODEL
KHWC160PCR0
CR − Chrome
SS − Stainless Steel
5−05 Litho in U.S.A. (ebk)
c
2005 KITCHENAID
Part No. 8211564 Rev. A

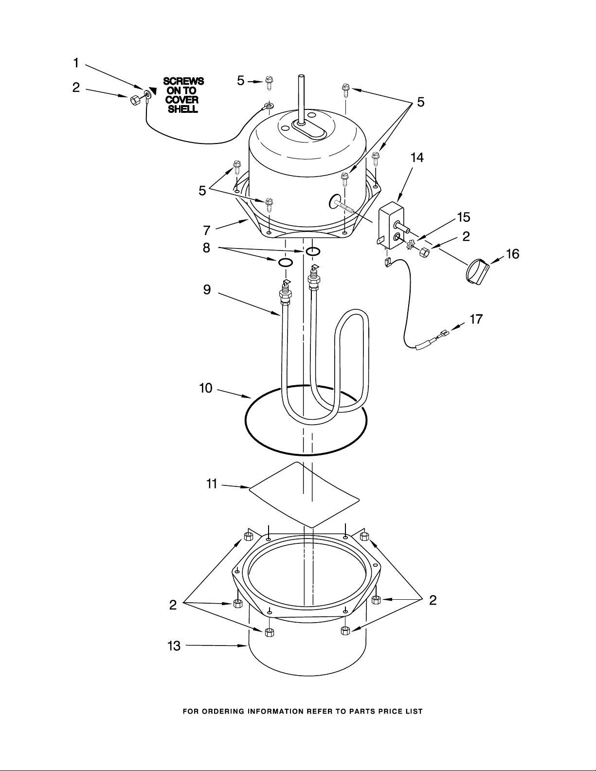
OUTER COVER & INSULATION PARTS
For Models: KHWC160PCR0, KHWC160PSS0
(Chrome) (Stainless Steel)
8211564
2

OUTER COVER & INSULATION PARTS
For Models: KHWC160PCR0, KHWC160PSS0
(Chrome) (Stainless Steel)
Illus. Part
No. No. DESCRIPTION
1 Literature Parts
8538287 Instructions,
Installations &
Use & Care Guide
2 3192031 End Cap
3 4169569 Screw, Drive
4 3192294 Screw, Machine
5 4159493 Lockwasher
6 3191431 Strain Releif,
Power Cord
7 3193265 Shell
8 8534011 Bushing, Molded
9 3192006 Displacer
10 3192011 Insulation, Top
11 3192012 Insulation, Bottom
12 3400975 Clamp, Hose
13 8541031 Hose, Clear
16 3192352 Cord, Power
17 3192317 Front Cover
18 311932 Screw,
6−32 X .250
19 3192013 Grommet
3
8211564

UPPER & LOWER TANK SHELL
For Models: KHWC160PCR0, KHWC160PSS0
(Chrome) (Stainless Steel)
8211564
4

UPPER & LOWER TANK SHELL
For Models: KHWC160PCR0, KHWC160PSS0
(Chrome) (Stainless Steel)
Illus. Part
No. No. DESCRIPTION
1 3192080 Ground Wire
2 4159072 Nut
5 3400829 Screw
7 3193068 Shell, Tank
Upper
8 4159825 O−Ring
9 3191376 Element, Heating
10 4159824 O−Ring
11 4176126 Deflector
13 8565547 Shell, Tank
Lower
14 3193512 Thermostat
15 4159493 Lockwasher
16 3192538 Knob, Thermostat
17 3193190 Fuse, Thermo
5
8211564

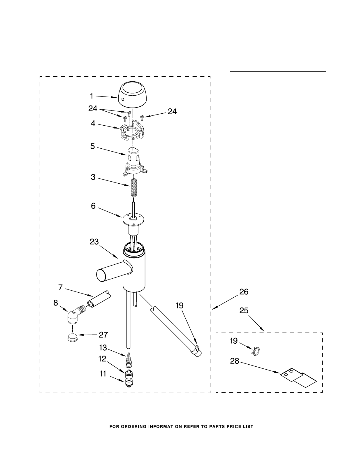
SPOUT UNIT PARTS
For Models: KHWC160PCR0, KHWC160PSS0
(Chrome) (Stainless Steel)
Illus. Part
No. No. DESCRIPTION
1 Knob
8557945 Chrome
8557946 Stainless
3 8557546 Spring, Compression
4 8557544 Cam
5 8557545 Cam, Follower
6 8557791 Mechanical Valve
7 8558434 Tube
8 3193219 Elbow, Faucet
11 3191383 Water Union
12 3191385 Cover, Collet
13 3193133 Screen, Inlet
19 3400975 Clamp, Tube
23 Spout Body
8557553 Chrome
8557554 Stainless
24 8534013 Screw
25 8538300 Installation Kit
26 Spout Assembly
8558157 Chrome
8558158 Stainless
27 8546220 Flow Screen
28 4162589 Bracket, Mounting
8211564
6