| Bezpieczeństwo i ostrzeżenia | 2 |
| Opis produktu | 6 |
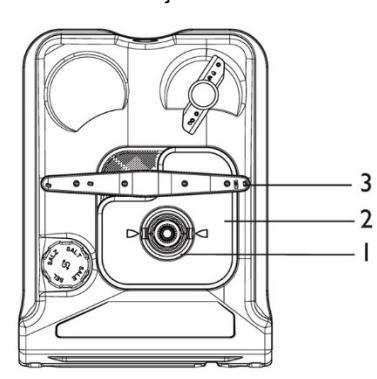
| Panel sterowania | 7 |
| Program | 10 |
| Pierwsze użycie | 11 |
| Zalecenia dotyczące wsadu | 12 |
| Nastawianie zmywania | 13 |
| Opóźniony start | 15 |
| Blokada przycisków | 16 |
| Preferencje | 17 |
| System zmiękczania wody | |
| Detergent | |
| Płyn nabłyszczający | 22 |
| Codzienne użytkowanie | 23 |
| Połączenie WiFi | |
| Konserwacja | 27 |
| Rozwiązywanie problemów | |
| Kody błędów | |
| Test standardów |
Urządzenie jest przeznaczone do użytku wewnątrz domu lub do podobnych zastosowań, np. w kuchniach dla personelu w miejscach pracy, w budynkach gospodarczych, przez klientów w hotelach, motelach lub innych obiektach mieszkalnych oraz typu bed and breakfast. Nie jest ono przeznaczone do użytku komercyjnego ani przemysłowego. Nie używaj go do celów innych niż te, do których został zaprojektowany. Zmiany lub modyfikacje urządzenia są niedozwolone. Użytkowanie niezgodne z przeznaczeniem może spowodować zagrożenia i utrate roszczeń gwarancyinych.
Ten produkt spełnia wymagania wszystkich obowiązujących dyrektyw WE z odpowiednimi normami zharmonizowanymi, które przewidują oznakowanie CE.
Podczas korzystania ze zmywarki należy przestrzegać podstawowych środków ostrożności, w tym:
Jeśli zmywarka jest zainstalowana jako urządzenie podłączone na stałe, musi być ona podłączona do uziemionego metalowego, stałego systemu okablowania lub przewód uziemiający sprzęt musi być poprowadzony z przewodami obwodu i podłączony do zacisku lub przewodu uziemiajacego na urządzeniu.
*Tylko modele z 11 nakryciami maja trzeci kosz
Podczas dowolnego wyboru wyświetlacz pokazuje powiązane informacje, takie jak
Po rozpoczęciu działania wyświetlają się, bez migania, następujące informacje
Podczas działania czas ten może się różnić w zależności od warunków lokalnych i dziennego obciążenia pracą.
Światło podłogowe Użyj zewnętrznego światła podłogowego, aby sprawdzić, czy trwa zmywanie, gdy drzwi zmywarki sa zamkniete.
| Logika światła | |
|---|---|
| podłogowego |
| BRAK ŚWIATŁA | Brak zmywania |
| STAŁE ŚWIATŁO | Trwa zmywanie |
| POWOLNE MIGANIE | Zmywanie wstrzymane/drzwiczki otwarte |
| SZYBKIE MIGANIE | Usterka zmywarki |
*Jeśli jest dostępna, badź zawsze informowany o pozostałym cyklu prania dzieki technologii Czas na podłodze. Zakończenie cyklu zostanie zasygnalizowane 3 sygnałami dźwiękowymi i jednocześnie na wyświetlaczu pojawi się napis "KONIEC". Ikona wskaźnika
| Tabletki | Ø | Kran | ۲- | ||
|
Jeśli wskaźnik się świeci, funkcja
Tabletki została aktywowana. |
Jeśli wskaźnik się świeci, urządzenie nie napełnia
się wodą. Sprawdź sekcję: "ROZWIĄZYWANIE PROBLEMÓW" |
||||
| Płyn nabłysz | czający | ∦ | Sól | Ű | |
|
Jeśli wskaźnik się zaświeci: Brak płynu
nabłyszczającego. Po dodaniu płynu nabłyszczającego wskaźnik gaśnie. |
Jeśli wskaźnik się
Po dodaniu soli w |
e zaświeci: Brak s
vskaźnik gaśnie. |
oli. | ||
| Funkcja op | ocjonalna | a | |||
| Wi-Fi | (((- |
Połowa
wsadu |
Higiena | ||
|
Naciśnij ikonę, a aplikacja
może uruchomić program zmywarki. Dostosowu zmywania o efektywneg mniejszych |
uje program Podnosi temperaturę wody
do bardziej podczas fazy płukania w celu go zmywania dezynfekcji. h wsadów. |
aturę wody
Ikania w celu |
|||
| Auto Door | Extra Dry | Opóźnienie |
|---|---|---|
|
Automatycznie otwórz
drzwi na kilka centymetrów, aby umożliwić cyrkulację powietrza. Popraw efekt suszenia. |
Zwiększa temperaturę
końcowego płukania i długość fazy suszenia. |
Rozpoczęcie programu można
opóźnić do 24 godzin. |
|
Blokada ⊟
rodzicielska ⇔₅- |
Tabletki
⊢1
⊚₅- |
|
|
Przytrzymaj ikonę przez
5 sekund, aby zablokować lub odblokować opcję innych ikon. |
Przytrzymaj ikonę przez 5 se
ustawień użytkownika. Nastę funkcję Tabletki. Ta opcja po działanie programu, po prostu detergentu, którego chcesz u |
kund, aby aktywować tryb
pnie możesz aktywować zwala zoptymalizować u wybierając rodzaj żyć. |
| PROGRAM ZMYWANIA | Dodatkowa funkcia |
| PROGRAM ZIVI I WANIA | Dodatkowa lulikcja |
|---|---|
| ECO | 1/2 wsadu, Higiena, Auto Door, Suszenie, Tabletki |
| UNIWERSALNY | 1/2 wsadu, Higiena, Auto Door, Suszenie, Tabletki |
| INTENSYWNY | 1/2 wsadu, Higiena, Auto Door, Suszenie, Tabletki |
| AUTO CARE | 1/2 wsadu, Auto Door, Suszenie, Tabletki |
| MYCIE WSTĘPNE | 1 |
| 59MIN | 1/2 wsadu, Higiena, Auto Door, Tabletki |
| SZYBKI 20' | 1/2 wsadu, Auto Door, Tabletki |
| AUTO PLUS | 1/2 wsadu, Higiena, Auto Door, Suszenie, Tabletki |
Zmywarka posiada wiele programów zmywania dostosowanych do Twoich potrzeb. Wybór najbardziej odpowiedniego cyklu dla każdego wsadu gwarantuje najlepsze rezultaty zmywania.
| Program zmywai | nia | Opis programu |
|---|---|---|
| ECO |
50°
(ECO P1 |
Do standardowo zabrudzonych naczyń dla optymalnego zużycia wody i energii |
| UNIWERSALNY | 60° |
Najlepszy do naczyń, które są dość mocno zabrudzone lub
do usuwania zabrudzeń spożywczych, które zaschły przez noc |
| INTENSYWNY |
75°
|
Przeznaczony do silnie zabrudzonych garnków, patelni i naczyń |
| AUTO CARE |
45°50°
L |
Nadaje się do każdego rodzaju wsadu. Zmywarka automatycznie dobiera optymalny program zmywania |
|
MYCIE
WSTĘPNE |
10' 2)
° P5 |
Zapobiega przykrym zapachom i zabrudzeniom naczyń,
bez konieczności suszenia |
| 59MIN |
59′
≫]]
P6 |
Używaj do naczyń, które są dość mocno zabrudzone lub
zabrudzeń żywności, które zostały pozostawione do wyschnięcia na noc |
| SZYBKI 20' |
20'
≫]] P7 |
Do bardzo lekko zabrudzonych naczyń |
| AUTO PLUS |
65°75° I)
P8 |
Nadaje się do każdego rodzaju wsadu. Zmywarka automatycznie dobiera optymalny program zmywania |
1) Urządzenie wykrywa rodzaj zabrudzenia i ilość przedmiotów w koszach. Automatycznie dostosowuje temperaturę i ilość wody, zużycie energii i czas trwania programu.
2) Użyj tego programu, aby szybko spłukać naczynia. Zapobiega to przywieraniu pozostałej żywności do naczyń i wydostawaniu się nieprzyjemnych zapachów z urządzenia. Nie używać detergentu w tym programie.
Połączenie wysokiej temperatury i detergentu do zmywarek może spowodować uszkodzenie niektórych przedmiotów. W razie wątpliwości należy zapoznać się ze wskazówkami producenta lub umyć recznie.
| Sztućce i srebrna zastawa | Zastawa szklana |
|---|---|
| Wypłucz sztućce i srebrną zastawę | Większość naczyń szklanych można myć |
| natychmiast po użyciu, aby zapobiec | w zmywarce. Kryształowe, bardzo delikatne |
| matowieniu. Srebro nie powinno stykać | i zabytkowe wyroby szklane mogą ulec |
| się ze stalą nierdzewną, ponieważ może | wytrawieniu i zmatowieć. |
| to spowodować przebarwienia. | Tworzywa sztuczne |
| Wyjmij srebrne sztućce ze zmywarki | Niektóre tworzywa sztuczne mogą zmieniad |
| i natychmiast wysusz je ręcznie. | kształt lub kolor pod wpływem gorącej |
| Aluminium | wody. Zapoznaj się z instrukcją producenta |
| Aluminium może ulegać matowieniu pod | Przedmioty plastikowe, które można myć |
| wpływem detergentu. Stopień zmiany | w zmywarce, powinny być obciążone tak, |
| zależy od jakości detergentu lub aluminium. | aby nie przewróciły się i nie przepełniły |
| Inne metale | wodą lub nie wypadły z podstawowego |
| Żelazo i żeliwo może rdzewieć i plamić inne | kosza podczas mycia. |
| przedmioty. Miedź, cyna i mosiądz mają | Przedmioty zdobione |
| tendencję do plamienia. | Większość nowoczesnych wzorów |
| Wyroby z drewna | porcelany można myć w zmywarce. |
| Wyroby z drewna są na ogół wrażliwe na | Naczynia zabytkowe, ze wzorem |
| ciepło i wodę. Regularne mycie w zmywarce | namalowanym na szkliwie, ze złotymi |
| może z czasem spowodować pogorszenie | obrzeżami lub ręcznie malowana porcelana |
| ich stanu. | mogą być bardziej wrażliwe na mycie |
| w zmywarce. | |
| Elementy klejone | |
| Niektóre kleje ulegają zmiękczeniu lub | |
| rozpuszczeniu podczas mycia w zmywarce |
Twarda woda to woda o wysokim stężeniu minerałów, takich jak wapń i magnez. Może to mieć negatywny wpływ na działanie zmywarki, a części mogą z czasem ulec awarii. Zastawa szklana myta w twardej wodzie matowieje, a naczynia pokryją się plamami lub białym nalotem. Twardość wody różni się w zależności od położenia geograficznego. Jeśli mieszkasz w obszarze z twardą wodą, zalecamy zainstalowanie zmiękczanie wody w domowym dopływie wody.
Zapoznaj się z rozdziałem "Zalecenia dotyczące ilości detergentu w proszku". Użyj nabłyszczacza. Zalecamy zwiększenie ustawienia nabłyszczacza, aby poprawić wydajność zmywania. Szczegółowe informacje znajdują się w rozdziale "Preferencje". Używaj środka do czyszczenia/odkamieniania do zmywarek regularnie lub zawsze, gdy zauważysz nagromadzenie się kamienia w zmywarce.
Unikaj używania zbyt dużej ilości detergentu.
Podczas ładowania zmywarki dopilnuj, aby przedmioty były umieszczone tak, aby woda, wypływająca ze znajdującego się niżej i obracającego się ramienia spryskującego, mogła dotrzeć do wszystkich obszarów. W przeciwnym wypadku wydajność zmywania zostanie zmniejszona.
Twoja zmywarka może pomieścić maksymalnie 11 zastaw stołowych.
Usunąć wszystkie resztki jedzenia z naczynia przed ostrożnym włożeniem do zmywarki. Dopilnować, aby ramiona spryskujące nie posiadały elementów blokujących i obracały sie swobodnie.
Jeśli wskaźnik nabłyszczacza świeci, napełnić dozownik nabłyszczacza. Dodatkowe wskazówki znajdują się w rozdziale "Nabłyszczacz".
Dodać detergent do dozownika i zamknąć pokrywę. Tabletki można umieścić w dozowniku detergentu.
Upewnij się, że zmywarka jest włączona, naciśnij przycisk (|).
T
2
Wybierz program prania, jeśli to konieczne.
Powoli otwierać drzwi w dowolnym momencie zmywania, aby przerwać zmywanie.
Naciśnij i przytrzymaj sekundy. aby anulować.
Po zmywaniu drzwi automatycznie otworzą się, aby ułatwić suszenie.*
Aby uzyskać najlepsze wyniki, wyładować naczynia po ostygnięciu.
* Ta funkcja może być aktywowana lub nie przez użytkownika.
14
Q
Ustawić zmywarkę, aby uruchomiła się później w ciągu dnia z wybranym programem zmywania. OPÓŹNIONY START można ustawić po wybraniu programu zmywania na maksymalnie 24 godziny.
Nacisnąć inatychmiast zamknąć drzwi. Program zmywania rozpocznie się pod koniec odliczania, pod warunkiem, że drzwi są zamknięte.
Dodać detergent i wybrać program zmywania oraz, w razie potrzeby, modyfikator zmywania,
Nacisnąć (), aby wprowadzić OPÓŹNIONY START i zwiekszvć czas opóźnienia.
*Dla 0-4 godzin zwiększaj lub zmniejszaj o 30 minut za każdym naciśnięciem, a dla 4-24 godzin zwiekszai lub zmnieiszaj o 1 godzinę.
3
15
Otwórz drzwi, aby wstrzymać OPÓŹNIONY START. Zamknij drzwi, aby kontynuować.
Otwórz drzwi i naciśnij i przytrzymaj 💩
Zablokować przyciski zmywarki, aby ją wyczyścić lub zapobiec użytkowaniu niezgodnemu z przeznaczeniem.
Naciśnij i przytrzymaj przycisk
Uwaga: Przed zablokowaniem elementów sterujących, uruchomienie programu. Po zablokowaniu, z wyjątkiem operacji odblokowania i wyłączenia, inne funkcje nie sa dostępne.
Naciśnij i przytrzymaj ⊟ przez 5 sekund aby odblokować.
| Możesz | dostosować | dowolne z | noniższyc | ch ustawień i | orzed rozi | noczeciem c | vklu zmvwani | а |
|---|---|---|---|---|---|---|---|---|
| MOZCSZ | 0031030040 | POINZSZYC | JII USLAWICII I | а. |
| _ · _ · | - | |||
|---|---|---|---|---|
| Орсја | Opis | Domyślne | Wyświetlacz ustawień | |
|
Regulacja
zmiękczania wody |
Regulacja zgodnie z następną stroną. | So4 |
-So-
Min.: Maks.: |
So1-So6
So1 So6 |
|
Płyn
nabłyszczający |
Kontroluje ilość dozowanego
nabłyszczacza. Więcej informacji można znaleźć w rozdziale "Nabłyszczacz". |
r3 |
-r-
Min.: Maks.: |
r1-r4
r1 r4 |
| Dźwięk |
Dostosowuje ustawienia sygnałów.
Po ustawieniu na WYŁ. wszystkie dźwięki zostaną wyciszone, z wyjątkiem powiadomień o usterkach. |
Son |
-S-
Wł. Wył. |
Son
SoF |
|
Ustawienie
notatki |
Funkcja pamięci programu, wybierz,
czy zapamiętać ostatnie użycie programu. |
LoF |
-L-
Wł. Wył. |
Lon
LoF |
| Tabletki | Regulacja zgodnie z następną stroną. | PoF |
-p-
Wł. Wył |
Pon
PoF |
Aby zapewnić dobre rezultaty zmywania, zmywarka wymaga miękkiej wody. Twarda woda może mieć negatywny wpływ na działanie zmywarki. Z biegiem czasu szkło myte w twardej wodzie zmatowieje, a naczynia pokryją się białym nalotem. Wytwarzanie białego nalotu. Używanie bardzo twardej wody może z czasem spowodować awarię części zmywarki. Sól może poprawić sytuację.
Ilość dozowanej soli można ustawić w stopniach So1 i So6, w zależności od twardości wody.
|
Regulacja
zmiękczania wody |
||||
|---|---|---|---|---|
|
Stopnie
niemieckie (°dH) |
Stopnie
francuskie (°fH) |
Mmol/I |
Stopnie
Clarke'a |
Elektronicznie |
| 31-50 | 55-89 | 5,5-8,9 | 39-63 | So6 |
| 17-30 | 30-54 | 3,0-5,4 | 21-38 | So5 |
| 13-16 | 23-29 | 2,3-2,9 | 16-20 | So4 1)* |
| 9-12 | 16-22 | 1,6-2,2 | 11-15 | So3 |
| 0-8 | 0-15 | 0-1,5 | 0-10 | So2 2) * |
| - | - | - | - | So1 3)* |
* Uwaga
3) Wskaźnik soli jest wyłączony.
1) Domyślne ustawienie fabryczne detergentu w proszku.
2) Zalecane ustawienie dla tabletek z detergentem typu combi.
Gdy tylko wskaźnik niskiego poziomu soli zaświeci się na panelu sterowania, należy uzupełnić sól. Zawsze uzupełniać ilość specjalnej soli bezpośrednio przed włączeniem urządzenia. Gwarantuje to, że nadmiar specjalnego roztworu soli jest natychmiast wypłukiwany i nie powoduje korozji zbiornika do płukania.
Używać wyłącznie soli do zmywarek. Inne produkty mogą spowodować uszkodzenie urządzenia! Rozsypana sól powoduje korozję. Uruchomić program po każdym uzupełnieniu.
1. Przekręcić nakrętkę zgodnie z ruchem wskazówek zegara, aby otworzyć pojemnik na sól.
2. Wlać 1 litr wody do poiemnika na sól.
3. Uzupełnić zbiornik odpowiednią solą (woda się przelewa).
4. Usunąć rozsypaną sól z obszaru wokół otworu.
5. Przekręcić nakrętkę w kierunku przeciwnym do ruchu wskazówek zegara, aby zamknać pojemnik na sól.
OSTRZEŻENIE: Detergenty do zmywarek są silnie alkaliczne. Mogą być bardzo niebezpieczne, jeśli zostana połkniete. Należy unikać kontaktu ze skóra i oczami oraz trzymać dzieci i osoby niepełnosprawne z dala od otwartej zmywarki. Sprawdź, czy dozownik detergentu w proszku jest pusty po każdym zmywaniu.
Te rodzaje detergentów nie sa odpowiednie i moga uszkodzić zmywarke lub spowodować konieczność serwisu, który nie jest objęty gwarancją:
Informacie na temat ilości detergentu w proszku można znaleźć w poniższej tabeli "Zalecenia dotyczace ilości detergentu w proszku" oraz we wskazówkach producenta detergentu.
Sprawdzić, czy dozownik jest pusty i suchy. Dodać detergent w proszku lub tabletki do dozownika detergentu.
Usunać nadmiar detergentu, a następnie zamknać pokrywe, przesuwając ja, Zatrzaśnie się.
W razie potrzeby dodać dodatkowy detergent do komory zmywania wstępnego znaidującej się na górze dozownika.
Podczas zmywania mocno zabrudzonych naczyń w twardej wodzie może być konjeczne użycie wiekszej ilości detergentu. Zapoznaj się z rozdziałem "Zalecenia dotyczące ilości detergentu w proszku"
| Program zmywania |
Komora
zmywania wstępnego |
Komora
zmywania głównego |
|
|---|---|---|---|
| ECO |
50°
CECO P1 |
Pełny | 2/3 |
| UNIWERSALNY | 60* | Pełny | 2/3 |
| INTENSYWNY |
75°
|
Pełny | 2/3 |
| AUTO CARE |
45°50°
(Al) P4 |
Pełny | 1/2 - 2/3 |
|
MYCIE
WSTĘPNE |
10'
°O P5 |
Brak | Brak |
| 59MIN |
59'
))) P6 |
Pełny | 1/2 |
| SZYBKI 20' |
20'
>)] P7 |
Brak | 1/2 |
| AUTO PLUS | 65*75* | Pełny | 1/2 - 2/3 |
Płyn nabłyszczający zapewnia, że szkło i naczynia nie będą posiadać smug, a także zapobiega matowieniu metalu. W celu uzyskania optymalnych rezultatów suszenia zalecamy regularne stosowanie płynnego nabłyszczacza.
Dozownik nabłyszczacza znajduje się po wewnętrznej stronie drzwi obok dozownika detergentu.
Ilość płynu nabłyszczającego dozowanego w każdym zmywaniu może wymagać dostosowania do stanu wody. Wskazówki znajdują się w rozdziałach "Preferencje" i "Twardość wody". Nabłyszczacz nie jest wymagany, jeśli zawiera go już tabletka.
Gdy poziom nabłyszczacza jest niski, wskaźnik nabłyszczacza na panelu sterowania zaświeci się, przypominając o konieczności uzupełnienia dozownika.
Podnieść pokrywę i wlać nabłyszczacz do otworu.
Nie przekraczać linii MAX. Uważać, aby nie rozlać żadnych środków na drzwi lub pojemnik na detergent.
Zamknąć pokrywę tak, aby się zatrzasnęła.
Jeśli przypadkowo środek dostanie się do zmywarki lub pojemnika na detergent, należy go natychmiast usunąć. Rozlany nabłyszczacz może powodować nadmierne pienienie. Zgłoszenie serwisowe dotyczące tych błędów nie będzie objęte gwarancją.
22
W przypadku delikatnych szklanek i porcelany upewnij się,
Jeśli podczas przebiegu programu słychać brzęczenie:
Sprawdź, czy naczynia i szklane naczynia stoją stabilnie.
Mocno zabrudzone naczynia (np. garnki i patelnie lub talerze) umieszczaj w dolnym koszu. Silniejszy strumień natrysku zapewnia lepsze rezultaty zmywania.
Górny kosz przeznaczony jest do przechowywania takich przedmiotów jak szklanki, filiżanki, spodki, talerze, małe miski i płytkie patelnie.
PODNOSZENIE KOSZYKA
Chwyć uchwyty po obu stronach i podnieś kosz do góry, aż zatrzaśnie się na swoim miejscu.
Dostosować wysokość rozłożyć tak, aby zrobić miejsce na inne przedmioty. Użyć wycięć do podparcia nóżek kieliszków do wina. Składanie i podparcie można uzyskać przez odwrócenie. Postawiony na półce kubek powinien mieć złożony uchwyt
DO KOSZYKA DOLNEGO
Pociągnąć dźwignie po obu stronach i ostrożnie opuścić kosz.
Umieścić sztućce trzonkami do dołu, aby uzyskać lepsze rezultaty zmywania. Jeśli długie przedmioty mogą blokować ramiona spryskujące, należy je umieścić poziomo w górnym koszu.
Trzeci kosz
Użyć tacy do ułożenia sztućców i przyborów kuchennych. Umieść sztućce w nacięciach, aby je zabezpieczyć. Umieść większe naczynia na środku tacy. Odwróć sekcje boczne do środka, aby uzyskać więcej miejsca na przedmioty poniżej.
Twoje urządzenie można podłączyć do domowej sieci bezprzewodowej i wybrać zdalnie za pomocą aplikacji.
Upewnij się, że Twoja domowa sieć Wi-Fi jest włączona.
Otrzymasz wskazówki krok po kroku dotyczące zarówno Twojego urządzenia, jak i urządzenia mobilnego. Podłączenie urządzenia może zająć do 10 minut. Dalsze wskazówki i sposoby rozwiązywania problemów można znaleźć w aplikacji.
1. Pobierz aplikacie z:
2. Zarejestruj się i utwórz konto.
3. Dodaj swoje urządzenie i skonfiguruj połączenie Wi-Fi.
Gdy produkt jest w trybie gotowości: Naciśnij 🛜, na wyświetlaczu pojawi się 💾 📊 Możesz teraz postępować zgodnie z instrukcjami wyświetlanymi w aplikacji, aby dokończyć konfigurację.
1. Gdy urządzenie nie jest połączone z aplikacją, ikona 🤶 ciągle miga.
Gdy maszyna jest połączona z aplikacją, ikona Świeci światłem ciągłym. Z. Pilot zdalnego sterowania jest automatycznie aktywowany, aplikacja mobilna może uruchomić program zmywarki. Możesz sterować zmywarką za pomocą aplikacji, np.: wybrać cykl, anulować lub wstrzymać cykl, dodać dodatkowe funkcje.
3. Podczas uruchamiania programu za pomocą aplikacji należy za każdym razem nacisnąć przycisk Wi-Fi na urządzeniu, aby uzyskać zdalne sterowanie.
PL
Odłącz zmywarkę od zasilania i pozwól jej ostygnąć przed przystąpieniem do czyszczenia lub konserwacji.
Nie pokazano: środkowe i górne ramiona spryskujące
Wytrzeć wilgotną ściereczką i osuszyć niestrzępiącą się ściereczką. Nie zalecamy używania następujących środków czyszczących, ponieważ mogą one uszkodzić powierzchnie:
Czyściki z tworzywa sztucznego lub stali nierdzewnej
Zalecamy, aby filtr odpływowy i płytka filtracyjną były zdejmowane i czyszczone raz w miesiącu lub za każdym razem, gdy widoczne są cząstki żywności. Ramiona spryskujące w normalnym użytkowaniu wymagają rzadszego czyszczenia. Dolne i środkowe ramiona spryskujące można potrząsnąć w celu usunięcia wszelkich ciał obcych, wyczyścić w gorącej wodzie, a następnie spłukać w czystej wodzie.
Zmywarka musi być używana z płytą filtracyjną, filtrem odpływowym i ramionami spryskującymi w odpowiednim miejscu. Jeśli używasz środka do czyszczenia zmywarek lub odkamieniacza, zapoznaj się z instrukcjami producenta.
Jeśli zmywarka nie będzie używana przez jakiś czas, zalecamy odłączenie zasilania i dopływu wody, pozostawienie jej czystej i pustej z uchylonymi drzwiami. Przy pierwszym użyciu zmywarki po dłuższym nieużywaniu zalecamy przed użyciem wlać do niej 3 szklanki wody. Pomaga to wysmarować elementy, które mogły wyschnąć podczas nieużywania.
Przekręcić filtr w kierunku przeciwnym do ruchu wskazówek zegara, aby go odblokować. Podnieść. aby wviać.
Oddzielić nasadkę filtra od podstawy, naciskając przyciski odblokowujący i podnosząc ją. Nie próbować wyjmować filtra na siłę, ponieważ może to spowodować uszkodzenie. Wyczyść pod gorącą wodą i dokładnie spłukać.
Dopasować nasadkę filtra do wycięcia w podstawie filtra. Dopilnować, aby struktura klamry była na odpowiednim miejscu.
Umieścić filtr odpływowy z powrotem w podstawie zmywarki. Obrócić 2 razy zgodnie z ruchem zegara do zatrzaśniecia.
Po wyjęciu filtra ostrożnie unieść i wyjąć płytkę filtracyjną. Wyczyść pod goraca woda i dokładnie spłukać.
Wsunąć płytkę filtracyjną pod zaciski ustalające z tyłu odpływu i mocno wcisnąć z powrotem na miejsce. Upewnij się, że płytka filtracyjna jest wyrównana z podstawą zmywarki.
górne ramię spryskujące
Nie zdejmować górnego ramienia spryskującego do czyszczenia. Wyczyścić małą szczoteczką z plastikowym włosiem.
W przypadku silnego zabrudzenia lub zablokowania użyć środka do czyszczenia
zmywarek/odkamieniacza. Postępować zgodnie
z instrukcjami producenta.
Aby zdjąć środkowe ramię spryskujące, obrócić nakrętkę blokującą zgodnie z ruchem wskazówek zegara, aby ją odblokować. Dokładnie wypłukać ramie spryskujące pod bieżaca
wodą, a następnie zamontować z powrotem.
nakrętka zabezpieczająca
środkowe ramię spryskujące
Aby zdjąć dolne ramię spryskujące. podnieść je z podstawy zmywarki. Dokładnie wypłukać ramie spryskujace pod bieżącą wodą, a następnie zamontować z powrotem. Dopilnować, aby ramię swobodnie się
obracało po ponownym zamontowaniu.
Jeśli zmywarka jest zainstalowana w zimnym klimacie, odzie temperatury spadaja poniżej zera, zalecamy zabezpieczenie jej przed zimnem.
Wyjać filtr odpływowy i płytke filtracyjna Użyć gabki, aby usunać resztki wody spod spodu przed wymianą.
3
PL
| Problem | Możliwa przyczyna | Co zrobić |
|---|---|---|
| Brak zasilania. | Sprawdzić, czy zmywarka jest podłączona, a zasilanie w ścianie jest włączone. | |
|
Drzwi nie są prawidłowo
zamknięte. |
Zamknij drzwi. | |
| Zmywarka nie | Destrit nie został naciśnięty. | Naciśnij ይ . |
| uruchamia się | Kran nie odkręcony. | Sprawdzić, czy woda jest podłączona i odkręcona. |
|
Zablokowany filtr siatkowy
w wężu dopływowym. |
Sprawdzić filtr siatkowy i w razie potrzeby
wyczyść – znajduje się w miejscu, w którym wąż dopływowy jest wkręcany w kran. |
|
|
Dolne ramię
spryskujące obraca się z trudem |
Otwory ramion spryskujących
są zablokowane przez małe przedmioty lub resztki jedzenia. |
Wyczyścić ramię spryskujące. Instrukcje
znajdują się w rozdziale "Konserwacja". |
|
Nie można
zamknąć pokrywy dozownika detergentu |
Komora na detergent została przepełniona. |
Usunąć detergent tak, aby można było
zamknąć pokrywę. |
|
Dozownik detergentu jest
zatkany resztkami detergentu. |
Wytrzeć dozownik wilgotną szmatką.
Wysuszyć dozownik przed dodaniem detergentu. |
|
| Resztki deter- |
Komora była wilgotna
podczas napełniania detergentem. |
Wytrzeć dozownik wilgotną szmatką.
Wysuszyć dozownik przed dodaniem detergentu. |
|
gentu utknęły
w dozowniku |
Naczynia blokują otwarcie
dozownika detergentu. |
Sprawdzić, czy żadne duże przybory
nie są umieszczone w sposób, który uniemożliwia otwarcie pokrywy dozownika, gdy drzwi zmywarki są zamknięte. |
|
Zablokowane przyłącze
odpływowe. |
Sprawdzić, czy przyłącze odpływowe nie jest zatkane. | |
|
Woda pozostaje
w zmywarce po zakończeniu zmywania |
Wąż odpływowy jest
zaciśnięty, zagięty lub zablokowany. |
Sprawdzić wąż odpływowy i w razie
potrzeby wyprostować. |
| Pompa jest zablokowana. |
Zadzwonić do Autoryzowanego punktu
serwisowego Haier lub Punktu obsługi klienta. |
|
| Filtr(y) zablokowane. |
Wyczyścić filtry. Instrukcje znajdują się
w rozdziale Konserwacja" |
| Problem | Możliwa przyczyna | Co zrobić | |
|---|---|---|---|
|
Wyświetlacz
miga, gdy blokada przy- cisków jest włączona |
To jest prawidłowe.
Wyświetlacz pozostaje włączony, chociaż przyciski są wyłączone. |
Nie jest wymagane żadne działanie. | |
|
Niewłaściwa ilość lub rodzaj
użytego detergentu. |
Zapoznać się z rozdziałem "Detergent"
lub instrukcjami producenta detergentu. |
||
| Dionionio | Za dużo pozostałości po jajku we wsadzie zmywania. | Zwiększyć ilość detergentu. | |
| Fielile | Zbyt wysoki poziom dawki nabłyszczacza. | Zmniejszyć dawkę nabłyszczacza. | |
|
Rozlany nabłyszczacz
nie został wytarty. |
Dopilnować, aby wszystkie rozlane
nabłyszczacze zostały wytarte. |
||
|
Stukania lub
turkotanie |
Ramię spryskujące
uderzające o naczynia. |
Wstrzymać zmywanie i przestawić
naczynia. Zapoznać się z rozdziałami |
|
|
podczas
zmywania |
Naczynia zostały ułożone
nieprawidłowo. |
"Nastawianie zmywania" i "Zalecenia
dotyczące wsadu". |
|
|
Wybrano nieodpowiedni
program zmywania dla wsadu. |
Wybierz odpowiedni program zmywania
dla wsadu. Zapoznać się z rozdziałem "Programy zmywania". |
||
|
Zabrudzenia za bardzo
przywarły. |
Naczynia mogą wymagać namoczenia. | ||
|
Ramiona spryskujące nie
mogą się obracać. |
Upewnić się, że żadne przedmioty
nie blokują ramienia spryskującego. |
||
|
Kosz/stojak nieprawidłowo
załadowany. |
Zapoznać się z rozdziałem
"Zalecenia dotyczące wsadu". |
||
| Brudne | Nieprawidłowo zamontowana płytka filtracyjna lub filtr. | Zapoznać się z rozdziałem "Konserwacja". | |
| naczynia |
Detergent wsypany do
niewłaściwej komory. |
Zapoznać się z rozdziałami
"Programy zmywania" i "Detergent". |
|
|
Nadmiar żywności nie został
usunięty z naczyń przed załadowaniem. |
Zeskrobać wszystkie resztki jedzenia
z naczyń przed załadowaniem. |
||
| Nieodpowiedni detergent. |
Używać wyłącznie detergentów w proszku
lub tabletkach przeznaczonych do zmywarek domowych. |
||
| Za mało detergentu. |
Zalecane ilości można znaleźć w rozdziale
"Detergent". Może być konieczne dostosowanie ich do konkretnego wsadu i twardości doprowadzanej wody. |
||
| Problem | Możliwa przyczyna | Co zrobić |
|---|---|---|
| Otwory ramion spryskujących są zablokowane. |
Wyczyścić ramiona spryskujące. Instrukcje
znajdują się w rozdziale "Konserwacja". |
|
| Filtry są zablokowane. |
Wyczyścić filtry. Instrukcje znajdują się
w rozdziale "Konserwacja". |
|
|
Na plastikowych
przedmiotach występuja przebarwienia |
Za mało detergentu,
brak wstannego płukania |
Przepłukać plastikowe naczynia przed ich włożeniem do zmywarki i/lub dodać więcej detergentu. |
|
(np. piama
po sosie pomidorowym) |
Płukanie po wstawieniu naczyń może
zminimalizować plamy. |
|
|
Zmywarka nagle
zatrzymuje się podczas zmywania |
Przerwane zostało zasilanie
lub dopływ wody. |
Sprawdzić zasilanie i dopływ wody. |
|
Na szklanych
naczyniach pozostają białe plamy; kolorem przypominają mleko |
Za mało detergentu. |
Zalecane ilości można znaleźć w rozdziale
"Detergent". Może być konieczne dostosowanie ich do twardości wody. |
|
Zbyt mała dawka
nabłyszczacza. |
Zwiększyć dawkę nabłyszczacza.
Zapoznać się z rozdziałem "Nabłyszczacz". |
|
|
Naczynia,
sztućce nie wyschły |
Zbyt mała dawka
nabłyszczacza. |
Zwiększyć dawkę nabłyszczacza.
Zapoznać się z rozdziałem "Nabłyszczacz". |
|
Przedmioty zostały
za szybko wyciągnięte. |
Po zakończeniu programu zmywania
pozostawić drzwi uchylone i odczekać kilka minut, aby ułatwić suszenie. |
|
|
Pusty dozownik
nabłyszczacza. (Wskaźniki nabłyszczacza świecą się.) |
Dodać nabłyszczacz. Zapoznać
się z rozdziałem "Nabłyszczacz". |
|
|
Szklanki
są matowe |
Zbyt mała dawka
nabłyszczacza. |
Zwiększyć dawkę nabłyszczacza.
Zapoznać się z rozdziałem "Nabłyszczacz". |
|
Plamy z herbaty
lub ślady po szmince nie zostały całkowicie usunięte |
Za mało detergentu. |
Zalecane ilości można znaleźć w sekcji
"Detergent". Może być konieczne dostosowanie ich do konkretnego wsadu. |
|
Zbyt niska temperatura
zmywania. |
Wybrać program zmywania do bardzo
zabrudzonych naczyń. Zapoznać się z rozdziałem "Programy zmywania", aby uzyskać więcej informacji. |
|
|
Ślady rdzy
na sztućcach |
Sztućce nie są wystarczająco odporne na rdze. | Umyć ręcznie. |
| Możliwa przyczyna | Co zrobić |
|---|---|
| Sytuacja z twardą wodą. | Zwiększyć ilość detergentu. |
|
Szklanki nie nadają się
do mycia w zmywarce. |
Umyć ręcznie. |
|
Zbyt niski poziom
nabłyszczacza lub ustawienia dozowania. |
Sprawdzić, czy w dozowniku jest
nabłyszczacz. W razie potrzeby zwiększyć ustawienie nabłyszczacza lub użyć programu zmywania o wyższej temperaturze. Więcej informacji znajduje się w rozdziale "Nabłyszczacz". |
| Dozownik soli zmiękczającej jest pusty. |
Napełnić zbiornik odpowiednią solą,
aż będzie pełny. |
|
Możliwa przyczyna
Sytuacja z twardą wodą. Szklanki nie nadają się do mycia w zmywarce. Zbyt niski poziom nabłyszczacza lub ustawienia dozowania. Dozownik soli zmiękczającej jest pusty. |
Wykonaj poniższe czynności, aby spróbować rozwiązać problem.
| Problem | Możliwa przyczyna | Co zrobić | |
|---|---|---|---|
|
E10
Brak wody Kran nie odkręcony. |
Sprawdzić, czy woda jest podłączona
i odkręcona. Dotknąć, aby ponownie uruchomić zmywarkę. |
||
| Niewystarczające ciśnienie dopływu wody. | Sprawdzić ciśnienie wody w gospodarstwie domowym. | ||
|
Wąż doprowadzający wodę
jest zaciśnięty lub zagięty, więc do zmywarki nie dostaje się lub dostaje zbyt mało wody. |
Sprawdzić wąż dopływowy i w razie potrzeby
wyprostować. Dotknąć, aby ponownie uruchomić zmywarkę. |
||
| E30 | W urządzeniu wycieka woda. | Zamknąć kran z wodą. | |
| Przeciek | Zawór wlotowy wody jest otwarty i zablokowany. | Odłączyć urządzenie od zasilania. | |
| Odpływ jest zablokowany. | Skontaktować się z serwisem. | ||
| Program zmywania |
Eco
Program domyślnie posiada funkcję automatycznego otwierania drzwi. |
|---|---|
| Ilości detergentu w proszku | 19 g |
| Poziom dawki nabłyszczacza | r1-r4, r3 (domyślnie) |
| Maksymalna liczba ustawień miejsca | 11 |
| Regulacja wysokości kosza górnego |
Sprawdzić, czy górny kosz znajduje
się w najniższej pozycji |
Zalecane schematy ładowania
Dolny kosz
| - | - | ||
|---|---|---|---|
| L | J | ||
| Г | L |
| Program zmywania |
Eco
Program domyślnie posiada funkcję automatycznego otwierania drzwi. |
|---|---|
| llości detergentu w proszku | 18 g prania głównego |
| Poziom dawki nabłyszczacza | r1-r4, r3 (domyślnie) |
| Maksymalna liczba ustawień miejsca | 10 |
| Regulacja wysokości kosza górnego |
Upewnij się, że górny kosz znajduje
się w najwyższej pozycji |
Zalecane schematy ładowania
Górny kosz
Dolny kosz






































Loading...