Page 1

Z-30 20N
םע
עדימ
הקוזחת לע
תוארוה םוגרת
תוירוקמ
Sixth Edition
First Printing
Part No. 1258813HE
Z-30
20N RJ
Page 2

ליעפמל ךירדמהנושאר הספדה • תישיש הרודהמ
בושח
תייצו הלעפהה תוארוה תאו ולאה תוחיטבה יללכ תא ןבהו ארק
וכמסוהשו הכרדה ורבעש םידבוע קר .וז הנוכמ תלעפה ינפל םהל
קלחכ הז ךירדמל סחייתהל שי .וז הנוכמ ליעפהל םיאשר ךכל
.תע לכב הנוכמה ךותב וריאשהלו ךלש הנוכמהמ דרפנ יתלב
.Genie תרבחל רשקתה ,תולאש ךל שי םא
םיניינע ןכות
דומע
1 .................................................................. תוחיטב יללכ
9 ............................................................................תורקב
11 ...........................................................................ארקמ
12 ........................................................ הלעפה ינפל הקידב
14 ........................................................................הקוזחת
16 ............................................................... הלועפ תוקידב
21 .......................................................הדובעה רוזא תקידב
22 ..............................................................הלעפה תוארוה
30 ....................................................................... תוקבדמ
34 .................................................... המרהו הלבוה תוארוה
37 ....................................................................... םיטרפמ
Copyright © 1995 Terex Corporation
2014 ילוי ,הנושאר הספדה :תישיש הרודהמ
תרבח לש םימושר םיירחסמ םינמיס םה "Z"-ו "Genie"
תונידמבו תירבה תוצראב Terex South Dakota, Inc.
2006/42/EC
יפוריאה דוחיאה תויחנהב דמוע
EC תומיאת תרהצה האר
L רזחוממ ריינ לע ספדוה
.תורחא תובר
תירבה תוצראב ספדוה
http://www.genielift.com :טנרטניא
awp.techpub@terex.com :ל"אוד
:רשק ונמע רוצ
1258813HE ט"קמ Z-30/20N • Z-30/20N RJ
Page 3

ליעפמל ךירדמ הנושאר הספדה • תישיש הרודהמ
תוחיטב יללכ
הנכס
םיעיפומה תוחיטבה יללכלו תוארוהל תויצ יא
העיצפל וא תוומל םורגל לולע ,הז ךירדמב
.הרומח
:ןכ םא אלא הנוכמה תא ליעפת לא
לש החוטבה הלעפהה תונורקע תא תלגרתו תדמל
.הז ליעפמל ךירדמב םיעיפומ רשא ,הנוכמה
.םינכוסמ םיבצממ ענמיה 1
יללכ תא ןבהו רכה ,אבה ףיעסל רובעתש ינפל
.תוחיטבה
.התלעפה ינפל הנוכמה תא דימת קודב 2
.הלועפ תוקידב דימת עצב ,שומישה ינפל 3
.הדובעה רוזא תא קודב 4
.הדועייל םאתהב קרו ךא הנוכמב שמתשה 5
תוחיטבה יללכ תאו ןרציה תוארוה תא תנבהו תארק
ליעפמה ךירדמב ,תוחיטבה ךירדמב םיעיפומה
.םהל תייצו ,הנוכמה לעש תוקבדמבו
תאו קיסעמה לש תוחיטבה יללכ תא תנבהו תארק
.םהל תייצו ,הדובעה רתאב תולחה תונקתה
.ןהל תייצו ,תופקתה קוחה תונקת לכ תא תנבהו תארק
.החוטב הרוצב הנוכמה תא ליעפהל הכלהכ תרשכוה
1 Z-30/20N • Z-30/20N RJ 1258813HE ט"קמ
Page 4

ליעפמל ךירדמהנושאר הספדה • תישיש הרודהמ
תוחיטב יללכ
,למשחה וקב תעגל ילבמ עונל הלוכי המרהה תמבש אדו
רהזיהו יופר וא דנדנתמ חתמ וק םע עגמב האב אל איהש
.תורעוסו תוקזח תוחורמ
.יח חתמ יווק םע עגמב האב איה םא הנוכמהמ קחרתה
תמב ךותב וא עקרקה לע םיאצמנה םידבוע לע רוסיא לח
יווקב חתמה קותינל דע הליעפהלו הנוכמב תעגל המרהה
.חתמה
.םיקרב וא תופוס ךלהמב הנוכמה תא ליעפהל ןיא
.ךותיר תעב הקראהכ הנוכמב שמתשהל ןיא
תוכפהתה תונכס
לע ולעי אל םירמוחה לקשמו דויצה לקשמ ,םיעסונה לקשמ
.המרהה תמב לש יברמה המרהה רשוכ
ג"ק 227 המרהה תמב לש יברמ המרה רשוכ
המרהה תמב לש יברמ המרה רשוכ
תכרעב תדיוצמ הנוכמה
ג"ק 200 סיט ילכ ינפמ הנגה
2 יברמ םיעסונ רפסמ
תולמשחתה תונכס
רשאכ הנגה קפסת אל איהו ,ילמשח דודיב ןיא וז הנוכמל
.ותברקב איה רשאכ וא למשח םרז םע עגמב האב איה
םינקתממו ילמשח חתמ יווקמ תוחיטב יקחרמ לע רומש
הלבטל םאתהבו תופקתה קוחה תונקתל םאתהב ,םימוד
.ןלהלש
השיג קחרמ חתמ
ילמינימ יתוחיטב הזאפל הזאפ
םירטמ
עגמ תריצימ ענמיה 300V דע 0
תסירע ,תורוניצ תסירע ןוגכ ,םירזיבאהו תופסותה לקשמ
תמב לש בוקנה המרהה רשוכ תא ןיטקי ,תוכתרו תוחול
תמב לש ללוכה סמועה בושיחב וב בשחתהל שיו המרהה
.תופסותה לעש תוקבדמב ןייע .המרהה
3.05 50KV דע 300V
4.60 200KV דע 50KV
6.10 350KV דע 200KV
7.62 500KV דע 350KV
10.67 750KV דע 500KV
13.72 1,000KV דע 750KV
1258813HE ט"קמ Z-30/20N • Z-30/20N RJ 2
Page 5

ליעפמל ךירדמ הנושאר הספדה • תישיש הרודהמ
תוחיטב יללכ
היטהה תקעזא תעמשנ םא :AUS-ו CSA , ANSI ימגד
עורזה בצמ תא ההז .רהזיה :המרהה תמב תמרה תעב
דירוהל ידכ תוארוהל םאתהב לעפ .הטמ טרופמכ עופישב
לא .םירשיו םיביצי חטש ינפל רובעתש ינפל עורזה תא
.התדרוה ידכ ךות עורזה תא בבוסת
תמב תמרה תעב היטהה תקעזא תעמשנ םא :CE ימגד
אל הנוכמ יוויחה תירונ .הרתי תוריהזב לעפ ,המרהה
םהינשב וא םינוויכה דחאב העיסנה תלועפו ,קלדית תסלופמ
.הטמ טרופמכ עופישב עורזה בצמ תא ההז .לעפת אל
רובעתש ינפל עורזה תא דירוהל ידכ תוארוהל םאתהב לעפ
ידכ ךות עורזה תא בבוסת לא .םירשיו םיביצי חטש ינפל
.התדרוה
היטהה תקעזא תעמשנ םא :םימגדה לכ
:היילעב תאצמנ המרהה תמב רשאכ
.תישארה עורזה תא דרוה 1
.תינשמה עורזה תא דרוה 2
.תישארה עורזה תא רוגס 3
רשאכ היטהה תקעזא תעמשנ םא
:הדיריב תאצמנ המרהה תמב
.תישארה עורזה תא רוגס 1
תאצמנ הנוכמה ןכ םא אלא ,עורזה תא חתפת לאו םירת לא
.םירשיו םיביצי חטש ינפ לע
היטהה תקעזא .סלפ ןווחמכ היטהה תקעזא לע ךמתסת לא
עופישב תאצמנ הנוכמה רשאכ קר המרהה תמבב תעמשנ
.ןכוסמ
לא :עורזה תדרוה ךלהמב היטהה תקעזא תעמשנ םא
.יקפואה בצמל רבעמ עורזה תא םירת לאו בבוסת לא ,חתפת
תמרה ינפל םירשיו םיביצי חטש ינפל הנוכמה תא רבעה
.המרהה תמב
.תינשמה עורזה תא דרוה 2
.תישארה עורזה תא דרוה 3
3 Z-30/20N • Z-30/20N RJ 1258813HE ט"קמ
Page 6

ליעפמל ךירדמהנושאר הספדה • תישיש הרודהמ
תוחיטב יללכ
יברמה עופישה לע הלועה עופיש לע הנוכמב גהנת לא
עופישב העיסנל וא הדיריב העיסנל ,היילעב העיסנל רתומה
בצמב תואצמנה תונוכמל סחייתמ עופישה רועיש .דצ
.לפוקמ
לפוקמ בצמ ,יברמ עופיש רועיש
19° 35% היילעב דגנ לקשמ
11° 20% הדיריב דגנ לקשמ
14° 25% דצ עופיש
הזיחא חוכלו עקרקה יאנתל ףופכ עופישה רועיש :הרעה
.םיאתמ
.המרהה תמבל ץוחמ אצמנה םצע לכ ףוחדל וא ךושמל ןיא
- רתומ יברמ דצ חוכ
CSA-ו ANSI
ןוטוינ 667
CE - רתומ יברמ דצ חוכ
ןוטוינ 400
.הלבגהה יגתמ תא לטבת לאו הנשת לא
תישארה עורזה רשאכ ש"מק 1 לעמש תוריהמב עסית לא
.תמרומ תינשמה עורזה רשאכ וא החותפ וא תמרומ
תמב ררחשל ידכ המרהה תמב תורקבב שמתשהל ןיא
ענומ ךומס הנבמש וא םוסחמב הלקתנש ,העקתנש המרה
םידבועה לכ תא איצוהל הבוח .הניקת הרוצב עונל הנממ
תורקב תרזעב התוא ררחשל ןויסינה ינפל המרהה תמבמ
.עקרקה
לע תולוע חורה תויוריהמ רשאכ עורזה תא םירת לא
'נש/'מ 12.5 לע תולוע חורה תויוריהמ םא .'נש/'מ 12.5
ךישמת לאו עורזה תא דרוה ,תמרומ עורזה רשאכ
.הנוכמה תלעפהב
.תופוס וא תוקזח תוחור ךלהמב הנוכמה תא ליעפהל ןיא
.סמועה לש וא המרהה תמב לש חטשה ינפ תא לידגהל ןיא
.הנוכמה תוביצי תא ןיטקת חורל ףושחה חטשה תלדגה
לע עיפשתש הרוצב הנוכמה יביכר תא לרטנת לאו הנשת לא
.תוביציה לעו תוחיטבה
ילעב םיטירפב הנוכמה תוביציל םייטירק םיטירפ ףילחת לא
.הנוש טרפמ וא לקשמ
שארמ רושיא לבקל ילבמ המרהה תמבב םייוניש עצבת לא
םירחא םירמוח וא םילכ תקזחהל תובשות .ןרציהמ בתכבו
,ןגמ הקעמ תכרעמ וא ףס תוחול ,המבה לע תונקתומה
חטש ינפ תאו המרהה תמבבש לקשמה תא לידגהל םייושע
.סמועה לש וא המבה לש ךתחה
התאשכ הכומנ תוריהמ לע רומשו תוריהזה יללכ לע דפקה
ינפ לע ,תלוספ לע ,קלח אל חטשב תלפוקמה הנוכמב גהונ
.םיחתפו תורוב תברקבו םיביצי יתלב וא םיקלח חטש
ינפ לע ,ותברקב וא קלח אל חטש לע הנוכמה תא עיסת לא
עורזה רשאכ ,םירחא םינכוסמ םיאנתב וא םיביצי יתלב חטש
.החותפ וא תמרומ
1258813HE ט"קמ Z-30/20N • Z-30/20N RJ 4
Page 7

ליעפמל ךירדמ הנושאר הספדה • תישיש הרודהמ
תוחיטב יללכ
.עורזה תרזעב םירחא םיצפח וא הנוכמה תא ףוחדל ןיא
.עורזל םיכומס םינבמ ןיב עגמ רוציל ןיא
.םיכומס םינבמל המרהה תמב תא וא עורזה תא רושקל ןיא
.המרהה תמב ףקיהל ץוחמ םיסמוע ביצהל ןיא
הליפנ תונכס
תרוגח רוגחל םיעסונה לע
תוחיטב תמתר וא תוחיטב
רבח .קוחה תוארוהל תייצלו
תמבבש ןגועה לא העוצרה תא
.המרהה
לש הנגהה תוקעמ לע ספטת לאו דומעת לא ,בשת לא
תמב תפצר לע הביצי הדימע לע דימת רומש .המרהה תמב
.המרהה
.וז הנוכמב קלח ףאל םייולת םיסמוע רבחת לאו חינת לא
והשלכ קלחל וא הילא רבחת לאו המבה לע חינת לא
.םימוגיפ וא תומלוס הנוכמב
םירמוחהו םילכה רשאכ עצבתי םירמוחו םילכ עוניש
המרהה תמבב םי/עסונה רשאכו הווש הרוצב םירזופמ
.החוטב הרוצב םהב לפטל םי/לוכי
וא ענ חטשמ לע תאצמנ איה רשאכ הנוכמב שמתשהל ןיא
.בכר לע תאצמנ איה רשאכ וא דיינ
.הכלהכ תוקדוהמ םימואהשו ןיקת בצמב םיגימצה לכש אדו
דויצה לקשממ תוחפ םילקושה םירבצמב שמתשת לא
םהו תוידגנ תולוקשמכ םישמשמ םירבצמה .ירוקמה
ג"ק 47.6 לוקשל בייח רבצמ לכ .הנוכמה תוביציל םייטירק
תוחפל לוקשל בייח ,םירבצמה ללוכ ,םירבצמה את .תוחפל
.ג"ק 240.4
.תמרומ איהשכ המרהה תמבמ תדרל ןיא
.המרהה תמב תפצר לע ךולכל ןיאש אדו
המרהה תמבל הסינכה רעש לש יעצמאה הקעמה תא דרוה
.הלעפהה ינפל הסינכה רעש תא רוגס וא
ןכ םא אלא הנממ אצת לאו המרהה תמב לא סנכית לא
הבוגב תאצמנ המרהה תמבו לפוקמ בצמב תאצמנ הנוכמה
.עקרקה ינפ
5 Z-30/20N • Z-30/20N RJ 1258813HE ט"קמ
.ףונמכ הנוכמב שמתשהל ןיא
Page 8

ליעפמל ךירדמהנושאר הספדה • תישיש הרודהמ
תוחיטב יללכ
םילושכמו םידבוע ןיא ןכ םא אלא עורזה תא דירות לא
.היתחת
,חטשה ינפ יאנתל םאתהב העיסנה תוריהמ תא לבגה
לולעה ףסונ םרוג לכלו םידבועה םוקימל ,עופישל ,תופיפצל
.תושגנתהל םורגל
םא אלא ,והשלכ ףונמ לש ביתנב עורזה תא ליעפת לא
תעינמל תוריהז יעצמא וטקננ וא/ו ולעננ ףונמה תורקב ןכ
.תירשפא תושגנתה
.הנוכמה תלעפה ןמזב ערפתהל ןיאו םילולעפ עצבל ןיא
תושגנתה תונכס
הייארה קחרמל עדומ היה
תעב םיתמה םירוזאלו לבגומה
.הלעפהה וא העיסנה
.בבותסמה חטשמה בוביס תעב עורזה םוקימל עדומ היה
וא םייליע םילושכמ וב ןיאש אדוו הדובעה רוזא תא קודב
.תופסונ תונכס
לש הנגהה הקעמב הזיחא תעב הציחמ תונכסל עדומ היה
.המרהה תמב
תוארוהל ,קיסעמה תוארוהל תייצל םיבייח םיליעפמה
עגונב קוחה יפ לע ועבקנש םיללכלו הדובעה רתאבש
.ישיא ןגמ דויצב שומישל
המרהה תמב תורקב לעש םיינועבצה ןוויכה יצחל בל םיש
תולועפב שומישה תעב םהב שמתשהו ,בכרמה תדלש לעשו
.יוגיההו הענהה
1258813HE ט"קמ Z-30/20N • Z-30/20N RJ 6
Page 9

ליעפמל ךירדמ הנושאר הספדה • תישיש הרודהמ
תוחיטב יללכ
תוקבדמ ארקמ
םיעבצ ידוק ,םילמס םיאצמנ Genie ירצומ לש תוקבדמה לע
:ןלהלש םירסמה יוהיזל תודחוימ םילימו
ריהזהל שמשמ – תוחיטב תרהזא למס
תייצ .תינפוג העיגפל הנכס ינפמ םידבוע
למס ירחא תואבש תוחיטבה תועדוה לכל
.תוומ וא העיצפ עונמל ידכ הז
בצמ לש ומויק ןויצל שמשמ – םודא
םורגי ענמנ וניא םא רשא ,תידימ הנכס
.הרומח העיצפל וא תוומל
בצמ לש ומויק ןויצל שמשמ – םותכ
ענמנ וניא םא רשא ,תילאיצנטופ הנכס
.הרומח העיצפל וא תוומל םורגל לולע
שמשמ – תוחיטב תרהזא למס םע בוהצ
,תילאיצנטופ הנכס בצמ לש ומויק ןויצל
העיצפל םורגל לולע ענמנ וניא םא רשא
.תינוניב וא הלק
– תוחיטב תרהזא למס אלל בוהצ
הנכס בצמ לש ומויק ןויצל שמשמ
לולע ענמנ וניא םא רשא ,תילאיצנטופ
.שוכרל קזנ םורגל
רושקה עדימ ןויצל שמשמ – קורי
.הקוזחתל וא הלעפהל
NOTICE
םיביכרל קזנ תנכס
.ךותיר תעב הקראהכ הנוכמב שמתשהל ןיא
הלוקת הנוכמב תונכס
.הניקת הניאש הנוכמב וא הלוקת הנוכמב שמתשת לא
לכ תא קודבו הנוכמה תלעפה ינפל הפיקמ הקידב עצב
הנוכמ וא המוגפ הנוכמ דימ ןמס .תרמשמ לכ ינפל תולועפה
.התוא תבשהו הניקת הניאש
ךירדמב טרופמכ הקוזחתה תודובע לכ לש ןעוציב תא אדו
.Genie Z-30/20N תורישה ךירדמבו הז
.תואירק ןהשו ןמוקמב תואצמנ תוקבדמה לכש אדו
,םיאלמ תוירחאה ימוחתו תוחיטבה ,ליעפמה יכירדמש אדו
.המרהה תמבבש ןוסחאה לכמב םיאצמנו םיאירק
תינפוג העיצפ תנכס
וא ילורדיה ןמש תליזנ שי רשאכ הנוכמה תא ליעפהל ןיא
לא רודחל םילולע ילורדיהה לזונה וא ריוואה .ריווא תפילד
.הייווכל םורגל וא/ו רועה ךות
םורגל לולע הסכמל תחתמ םיאצמנה םיביכרב ןוכנ אל עגמ
םישרומ הרשכה ורבעש הקוזחת ישנא קר .הרומח העיצפל
קר ולא םיחתפל תשגל יאשר ליעפמה .םיאתה תא חותפל
תויהל םיבייח םיאתה לכ .הלעפה ינפל הקידב עוציב תעב
.הלעפהה ןמזב םיחטבואמו םירוגס
7 Z-30/20N • Z-30/20N RJ 1258813HE ט"קמ
Page 10

ליעפמל ךירדמהנושאר הספדה • תישיש הרודהמ
תוחיטב יללכ
םיביכרל קזנ תונכס
ידכ 48V לע הלועה חתמ לעב םירבצמ ןעטמב שמתשת לא
.םירבצמה תא ןועטל
.םירבצמה תוזירא יתש תא דחיב ןועטל הבוח
.רבצמה תזירא תרסה ינפל רבצמה תזירא עקת תא קתנ
תולמשחתה תונכס
ילמשח עקשל רבצמה ןעטמ תא רבח
.דבלב קראומ ידיג-תלת AC
םילבכ ,םיטוח םוי לכב רתאו קודב
םימוגפ םיטירפ ףלחה .םימוגפ םידיגו
.הלעפהה ינפל
םע עגמ לשב תולמשחתה ענמ
,תועבטה לכ תא רסה .רבצמה יקדה
.םירחא םיטישכתו םינועשה
תוכפהתה תנכס
דויצה לקשממ תוחפ םלקשמש םירבצמב שמתשת לא
םהו תוידגנ תולוקשמכ םישמשמ םירבצמה .ירוקמה
ג"ק 47.6 לוקשל בייח רבצמ לכ .הנוכמה תוביציל םייטירק
תוחפל לוקשל בייח ,םירבצמה ללוכ ,םירבצמה את .תוחפל
.ג"ק 240.4
רבצמ תוחיטב
הייווכ תונכס
בכרה ,םירבצמ םע הדובעה ןמזב .הצמוח םיליכמ םירבצמ
.ןגמ ידגב דימת שבלו םייפקשמ דימת
הכפשנ םא .התכיפשמ וא רבצמה תצמוח םע עגממ ענמיה
.םימו הייתשל הדוס תרזעב התוא לרטנ ,רבצמהמ הצמוח
.ךנואמ בצמב ראשיהל תבייח רבצמה תזירא
.םשגל וא םימל ןעטמה תא וא םירבצמה תא ףושחת לא
ץוציפ תונכס
ירצומו תובהל ,תוצוצינ קחרה
.רבצמהמ םירעוב קבט
.ץיפנ זג םיטלופ םירבצמ
המרה תנכס
תוזירא תא ןיקתהל וא ריסהל ידכ הזגלמב שמתשה
.םירבצמה
1258813HE ט"קמ Z-30/20N • Z-30/20N RJ 8
בייח רבצמה תזירא הסכמ
לכ ךלהמב חותפ ראשיהל
.הניעטה רוזחמ
תרזעב םילבכה ילענ תא וא רבצמה יקדה תא רבחת לא
.תוצוצינל םורגל םילולעה םילכ
Page 11

ליעפמל ךירדמ הנושאר הספדה • תישיש הרודהמ
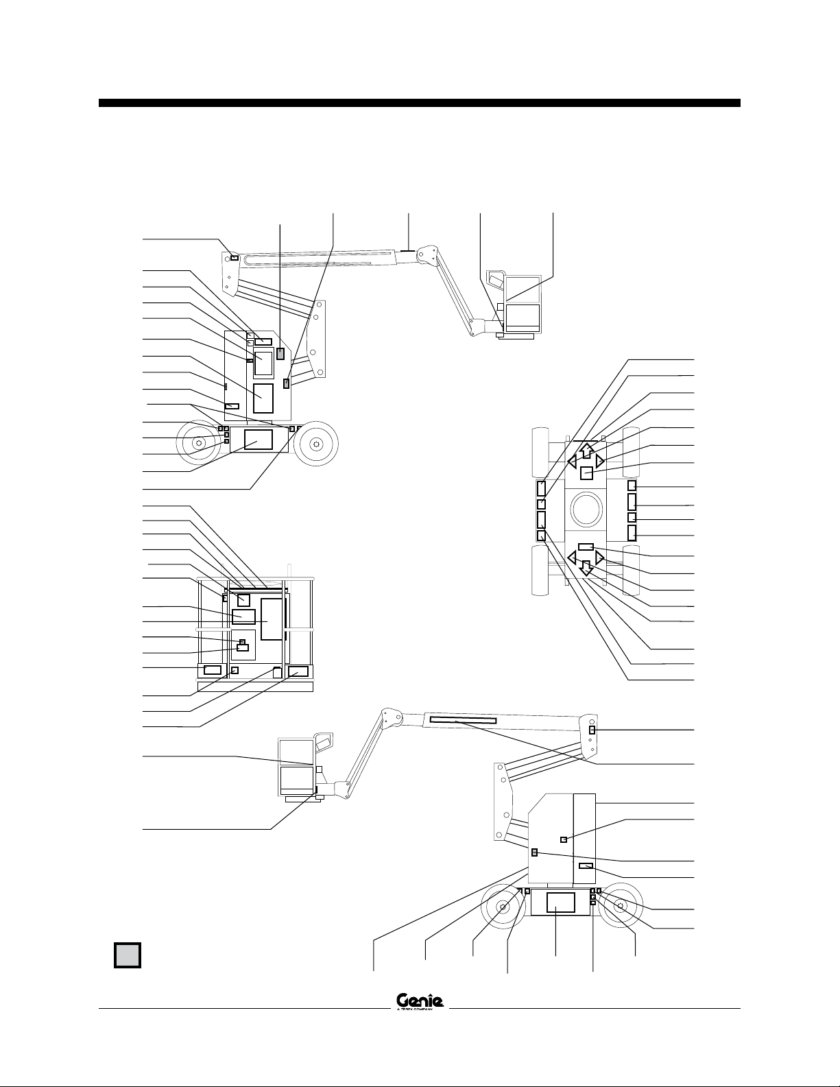
תורקב
4
5
3
6
7
8
9
F
1
2
E
10
11
STOP
DRIVE
ENABLE
OPERATION
2
Light on indicates that boom
has moved past a non-steer
tire and drive function is
turned off.
To drive, hold drive enable
switch up or down and
slowly move drive control
handle. Machine may drive
in opposite direction that
the drive and steer controls
are moved.
Use color-coded direction
arrows on this panel and
drive chassisto identify the
direction machine will travel.
1
CREEP
12
20
20
20
19
18
16
13
17
ןהוב גתמו העיסנ תלועפל תילנויצרופורפ הרקב תידי 11
יוגיה תלועפל
)תמייק םא( המרהה תמב לע רתי סמוע יוויח תירונ 12
)תמייק םא( סיט ילכ ינפמ הנגה תכרע - הלועפ תפיקע 13
עורזה תלועפ תוריהמ רקב 14
)JIB( עורזה הצק תדרוה/תמרה גתמ 15
הטמל/הלעמל היינש עורז גתמ 16
הטמל/הלעמל הנושאר עורז גתמ 17
חטשמ בוביס גתמ 18
המרה תמב בוביס גתמ 19
שומישב אל 20
15
14
20
20
המרה תמבב הרקב חול
העיסנ רושפא גתמ 1
העיסנ רושפא יוויח תירונ 2
רזע חוכ גתמ :ANSI/CSA/AUS ימגד 3
הסכמ םע רזע חוכ גתמ :CE ימגד
המרה תמב סוליפ גתמ 4
רפוצ ןצחל 5
תישארה עורזה לש הריגס/החיתפ גתמ 6
םודא םוריח תריצע ןצחל 7
)היצפוא( עורז הצק בוביס גתמ 8
)היצפוא( ךומנ חתמ קותינ וא/ו רבצמ תניעט ןווחמ 9
)תמייק םא( תסלופמ אל הנוכמל יוויח תירונ 10
9 Z-30/20N • Z-30/20N RJ 1258813HE ט"קמ
Page 12

ליעפמל ךירדמהנושאר הספדה • תישיש הרודהמ
תורקב
9
8
00009.9
STOP
7
6
5
4
3
10
11
12
13
14
2
1
15
עקרק תדיחיב הרקב חול
מ"עש דמ 8
םודא םוריח תריצע ןצחל 9
םיילמשחה םילגעמל רפמא 10 תחפ קספמ 10
)תמייק םא( המרהה תמב לע רתי סמוע יוויח תירונ 11
)היצפוא( עורז הצק בוביס גתמ 12
)JIB( עורזה הצק תדרוה/תמרה גתמ 13
הטמל/הלעמל הנושאר עורז גתמ 14
תולועפ רושפא גתמ 15
תישארה עורזה לש הריגס/החיתפ גתמ 5
רזע חוכ גתמ :ANSI/CSA/AUS ימגד 6
עקרק תדיחיב/יוביכל/המרה תמבב הריחבל חתפמ גתמ 7
הטמל/הלעמל היינש עורז גתמ 1
חטשמ בוביס גתמ 2
המרה תמב בוביס גתמ 3
המרה תמב סוליפ גתמ 4
הסכמ םע רזע חוכ גתמ :CE ימגד
1258813HE ט"קמ Z-30/20N • Z-30/20N RJ 10
Page 13

ליעפמל ךירדמ הנושאר הספדה • תישיש הרודהמ
ארקמ
המרה תמב תורקב 9
המרה תמב 10
העוצרל ןוגיע תדוקנ 11
הזזהל ןתינה יעצמא הקעמ 12
ךירדמל ןוסחא את 13
לגר גתמ 14
11 Z-30/20N • Z-30/20N RJ 1258813HE ט"קמ
יוגיהל דעוימ וניאש גימצ 1
םירבצמ את 2
יוגיה גימצ 3
)יוגיהה יגימצ ןיב( ןעטמל חתמ 4
עקרק תורקב 5
תינשמ עורז 6
תישאר עורז 7
)JIB( עורז הצק 8
Page 14

תונורקע
תודובעו הלעפה ינפל הקידב עצבל ליעפמה תוירחאב
.תויתפוקת הקוזחת
תעצובמה תיתוזח הקידב איה הלעפהה ינפל הקידבה
תולגל תדעוימ הקידבה .תרמשמ לכ ינפל ליעפמה ידי לע
עצבמ ליעפמהש ינפל ,הנוכמב ןיקת אל והשמ הרואכל םא
.הלועפה תוקידב תא
ליעפמל ךירדמהנושאר הספדה • תישיש הרודהמ
הלעפה ינפל הקידב
:ןכ םא אלא הנוכמה תא ליעפת לא
ךרוצ שי םא עובקל ידכ םג תשמשמ הלעפהה ינפל הקידבה
קר עצבל יאשר ליעפמה .תויתרגש הקוזחת תודובע עצבל
.הז ךירדמב תועיפומה תויתרגשה הקוזחתה תודובע תא
.םיטירפה ןמ דחא לכ קודבו אבה דומעבש המישרל הנפ
בצמהמ תרשואמ אל הייטס וא הנוכמב קזנ םילגתמ םא
הנוכמה תא ןמסל הבוח ,לעפמהמ הלבקתה איה ובש
.התיבשהלו
,ךמסומ תוריש יאנכט ידי לע קרו ךא ועצובי הנוכמב םינוקית
ליעפמה בייח םינוקיתה םויס רחאל .ןרציה יטרפמל םאתהב
.הלועפה תוקידב עוציב ינפל ,הלעפה ינפל הקידב בוש עצבל
תוריש יאנכט ידי לע ועצובי תויתפוקת הקוזחת תוקידב
תושירדל םאתהבו ןרציה יטרפמל םאתהב ,םיכמסומ
.תוירחאה ימוחת ךירדמב תוטרופמה
לש החוטבה הלעפהה תונורקע תא תלגרתו תדמל
.הז ליעפמל ךירדמב םיעיפומ רשא ,הנוכמה
.םינכוסמ םיבצממ ענמיה 1
.התלעפה ינפל הנוכמה תא דימת קודב 2
הקידבה תא ןבהו רכה ,אבה ףיעסל רובעתש ינפל
.הלעפהה ינפל
.הלועפ תוקידב דימת עצב ,שומישה ינפל 3
.הדובעה רוזא תא קודב 4
.הדועייל םאתהב קרו ךא הנוכמב שמתשה 5
1258813HE ט"קמ Z-30/20N • Z-30/20N RJ 12
Page 15

ליעפמל ךירדמ הנושאר הספדה • תישיש הרודהמ
הלעפה ינפל הקידב
הלעפה ינפל הקידב
:רתאו הנוכמה לכ תא קודב
םיינבמ םיביכרב וא םיכותירב םיקדס o
הנוכמל קזנ וא תועיגפ o
םייטירקה םיביכרה ראשו םיינכמה םיביכרה לכש אדו o
םיאצמנ םיוולנה םיניפהו קודיהה ינקתה לכשו םיאצמנ
.הכלהכ םיקדוהמו םמוקמב
תורבוחמו תולוענ ,ןמוקמב םירבצמה תוזירא יתשש אדו o
.הכלהכ
םהשו םמוקמב םיאתה ייוסיכ לכש אדו ,ךתקידב םויסב o
.םילוענ
ימוחת ךירדמו תוחיטבה ךירדמ ,ליעפמה ךירדמש אדו o
לעש ןוסחאה אתב םיאצמנו םיאירק ,םיאלמ תוירחאה
.המרהה תמב
האר .תואירק ןהשו ןמוקמב תואצמנ תוקבדמה לכש אדו o
.תוקבדמ ףיעס
.ןיקת ןמשה סלפמש קודבו ילורדיה ןמש תוליזנ רתא o
.הקוזחת ףיעס האר .ךכב ךרוצ שי םא ןמש ףסוה
.ןיקת לזונה סלפמש קודבו םירבצמ לזונ תוליזנ רתא o
ףיעס האר .ךכב ךרוצ שי םא םיקקוזמ םימ ףסוה
.הקוזחת
,קזנ רתא .םיאבה םירוזאה תא וא םיביכרה תא קודב
אל םייונישו םירסח םיקלח וא הכלהכ ונקתוה אלש םיקלח
:םירשואמ
למשח ילבכו טוויח ,םיילמשח םיביכר o
,םיילורדיה תורוניצ ,לכמ ,תילורדיה חוכ תדיחי o
תופעסו םירדניליצ ,םירזיבא
עניהה ירובטו בבותסמה חטשמהו עניהה יעונמ o
עורז יאלב תודיפר o
םילגלגו םיגימצ o
הלבגה יגתמ o
םירחא םיקדהמו םיגרב ,םימוא o
המרהה תמבל הסינכ רעש/יעצמא הקעמ o
)םימייק םא( תוקעזאו הרהזא תורוא o
העוצרל ןוגיע תודוקנ o
13 Z-30/20N • Z-30/20N RJ 1258813HE ט"קמ
Page 16

ילורדיהה ןמשה סלפמ תא קודב
תלועפ ךרוצל תיחרכה ןיקת ילורדיה ןמש סלפמ לע הרימש
קזנ םורגל םילולע םיניקת אל ילורדיה ןמש יסלפמ .הנוכמה
תוהזל ןחובל תורשפאמ תוימוי תוקידב .םיילורדיהה םיביכרל
לש ןתואצמיה לע עיבצהל םייושעה ,ןמשה סלפמב םייוניש
.תילורדיהה תכרעמב תויעב
.לפוקמ בצמב עורזהש אדו 1
.ילורדיהה ןמשה סלפמ תא קודב 2
ןיב תואריהל רומא ילורדיהה ןמשה סלפמ :האצות
.ילורדיהה ןמשה לכמ לעש ףסוה ו אלמ םינומיסה
.ךכב ךרוצ שי םא ילורדיה ןמש ףסוה 3
ליעפמל ךירדמהנושאר הספדה • תישיש הרודהמ
הקוזחת
:תייצו דפקה
תויתרגשה הקוזחתה תודובע תא קר עצבי ליעפמה
.הז ךירדמב תועיפומה
יאנכט ידי לע ועצובי תויתפוקת הקוזחת תוקידב
םאתהבו ןרציה יטרפמל םאתהב ,םיכמסומ תוריש
.תוירחאה ימוחת ךירדמב תוטרופמה תושירדל
.קוחה תוארוהל םאתהב הפשאל םירמוח ךלשה
ילורדיה ןמש יטרפמ
Chevron Rando HD-ל ךרע הווש ילורדיה ןמש גוס
Premium MV
הקוזחת ילמסל ארקמ
םילמסב שומיש השענ הז ךירדמב
תנווכ תרהבהב עייסל ידכ ןלהלש
רתוי וא םילמסה דחא רשאכ .תוארוהה
,הקוזחתה תוארוה תליחתב םיעיפומ
המ לש תועמשמה תא םיריבסמ םה
.םתחתמש
.הז להונ עצבל ידכ םילכב ךרוצ היהיש ןייצמ
ידכ םישדח ףוליח יקלחב ךרוצ היהיש ןייצמ
.הז להונ עצבל
1258813HE ט"קמ Z-30/20N • Z-30/20N RJ 14
Page 17

ליעפמל ךירדמ הנושאר הספדה • תישיש הרודהמ
הקוזחת
תיתפוקת הקוזחת
םעפו הנשב םעפ ,ןועברב םעפ ועצובי הקוזחתה תודובע
תודובע עצבל ךמסוהשו הכרדה רבעש םדא ידי לע םייתנשב
לש תורישה ךירדמבש םילהנל םאתהב ,וז הנוכמב הקוזחת
.וז הנוכמ
רתוי שומישב ויה אלש תונוכמב תינועבר הקידב עצבל הבוח
.תורישל ןתרזחה ינפל ,םישדוח השולשמ
םירבצמה תא קודב
הנוכמ יעוציב תלבקל םייחרכה םה ןיקת בצמב םירבצמ
אל םילזונ יסלפמ .הנוכמה לש החוטבה התלועפלו םיבוט
קזנ םורגל םילולע םימוגפ םירוביחו םילבכ וא םימיאתמ
.םינכוסמ םיבצמל איבהלו ביכרל
עגמ תריצי .הייווכ/תולמשחתה תונכס
םורגל הלולע םייח וא םימח םילגעמ םע
לכ תא רסה .הרומח העיצפל וא תוומל
.םירחא םיטישכתו םינועשה ,תועבטה
.הצמוח םיליכמ םירבצמ .העיצפ תנכס
וא רבצמה תצמוח םע עגממ ענמיה
,רבצמהמ הצמוח הכפשנ םא .התכיפשמ
.םימו הייתשל הדוס תרזעב התוא לרטנ
םירבצמה תניעט רחאל וז הקידב עצב
.םאולמב
.הנגה יפקשמ בכרהו ןגמ דוגיב שבל 1
ינמיסמ םייקנו םיקדוהמ רבצמה ילבכ ירוביחש אדו 2
.)היזורוק( ךותיש
םיליגר םירבצמ
.רבצמה לש רורוואה יקקפ תא רסה 3
,ךכב ךרוצ שי םא .רבצמב הצמוחה סלפמ תא קודב 4
אלמת לא .רבצמה יולימ רוניצ ךרד םיקקוזמ םימ אלמ
.ידמ רתוי
.רורוואה יקקפ תא רוגס 5
15 Z-30/20N • Z-30/20N RJ 1258813HE ט"קמ
Page 18

תונורקע
תרזחה ינפל םהשלכ םילשכ תולגל תודעוימ הלועפה תוקידב
בלש תוארוהה רחא בוקעל בייח ליעפמה .תורישל הנוכמה
.הנוכמה תולועפ לכ תא קודבל ידכ בלש רחא
ולגתה םא .הניקת הניאש הנוכמב שמתשהל ןיא םלועל
םינוקית .התיבשהלו הנוכמה תא ןמסל הבוח ,םילשכ
םאתהב ,ךמסומ תוריש יאנכט ידי לע קרו ךא ועצובי הנוכמב
.ןרציה יטרפמל
ינפל הקידב בוש עצבל בייח ליעפמה םינוקיתה םויס רחאל
.תורישל הנוכמה תרזחה ינפל ,הלעפה
ליעפמל ךירדמהנושאר הספדה • תישיש הרודהמ
הלועפ תוקידב
:ןכ םא אלא הנוכמה תא ליעפת לא
לש החוטבה הלעפהה תונורקע תא תלגרתו תדמל
.הז ליעפמל ךירדמב םיעיפומ רשא ,הנוכמה
.םינכוסמ םיבצממ ענמיה 1
.התלעפה ינפל הנוכמה תא דימת קודב 2
.הלועפ תוקידב דימת עצב ,שומישה ינפל 3
תוקידב תא ןבהו רכה ,אבה ףיעסל רובעתש ינפל
.הלועפה
.םילושכמ אללו רשי ,ביצי רוזאב רחב 1
עקרקה תורקבב
.עקרק תרקב בצמל חתפמה גתמ תא בבוס 2
."לעופ" בצמל םודאה םוריחה תריצע ןצחל תא ךושמ 3
.בהבהל רומא )םייק םא( הרהזאה רוא :האצות
םוריחב הריצעה תא קודב
."יובכ" בצמל םודאה םוריחה תריצע ןצחל לע ץחל 4
עקרקה תדיחי לש הרקבה תולועפ לכ :האצות
.לועפל תורומא אל המבהו
."לעופ" בצמל םודאה םוריחה תריצע ןצחל תא ךושמ 5
.הדובעה רוזא תא קודב 4
.הדועייל םאתהב קרו ךא הנוכמב שמתשה 5
1258813HE ט"קמ Z-30/20N • Z-30/20N RJ 16
Page 19

ליעפמל ךירדמ הנושאר הספדה • תישיש הרודהמ
הלועפ תוקידב
המרהה תמב תורקבב
םוריחב הריצעה תא קודב
המרהה תמבבש םודאה םוריחה הריצע ןצחל לע ץחל 11
."יובכ" בצמל
תורומא אל המרהה תמב לש הרקבה תולועפ לכ :האצות
.לועפל
רפוצה תא קודב
."לעופ" בצמל םודאה םוריחה תריצע ןצחל תא ךושמ 12
.רפוצה ןצחל לע ץחל 13
.עמשיהל רומא רפוצה :האצות
לגרה גתמ תא קודב
תולועפמ תחא לכ תא לעפה .לגרה גתמ לע ץחלת לא 14
.הנוכמה
.לועפל תורומא אל הנוכמה תולועפ :האצות
עורזה תולועפ תא קודב
דצב הלועפה רושפא גתמ תא קיזחת לא 6
יגתממ דחא לכ תא ליעפהל הסנ .והשלכ
.המבהו עורזה תולועפ
ןניא המרהה תמבו עורזה תולועפ לכ :האצות
.לועפל תורומא
תא לעפהו והשלכ דצב הלועפה רושפא גתמ תא קזחה 7
.המבהו עורזה תולועפ יגתממ דחא לכ
לועפל תורומא המרהה תמבו עורזה תולועפ לכ :האצות
הרומא )תמייק םא( הדרוהה תקעזא .אלמ הלועפ רוזחמ
.עורזה תדרוה תעב עמשיהל
היטהה ןשייח תא קודב
המרהה תמב לש םודאה םוריחה תריצע ןצחל תא ךושמ 8
תמב תרקב בצמל חתפמה גתמ תא בבוס ."לעופ" בצמל
.המרה
חטשמה דצב עקרקה תדיחי תורקב הסכמ תא חתפ 9
דילש היטהה ןשייח תא רתאו בבותסמה
.הלועפה תפעס
.היטהה ןשייח לש דחא דצ ץחל 10
תמבב תאצמנש ,הקעזאה :האצות
.לועפל הרומא ,המרהה
17 Z-30/20N • Z-30/20N RJ 1258813HE ט"קמ
Page 20

ליעפמל ךירדמהנושאר הספדה • תישיש הרודהמ
הלועפ תוקידב
המילבה תאו העיסנה תא קודב
.לגרה גתמ לע ץחל 20
לע ןיוצמה ןוויכב העיסנה תרקב תידי תא תויטאב זזה 21
,עונל ליחתת הנוכמהש דע הרקבה חולב לוחכה ץחה ידי
.זכרמל תידיה תא רזחה ןכמ רחאלו
הרומא הנוכמה .לועפל הרומא העיסנה תקעזא :האצות
בכרמה תדלש לעש לוחכה ץחה הנופ וילאש ןוויכב עונל
.תוימואתפב רוצעל ןכמ רחאלו
לע ןיוצמה ןוויכב העיסנה תרקב תידי תא תויטאב זזה 22
,עונל ליחתת הנוכמהש דע הרקבה חולב בוהצה ץחה ידי
.זכרמל תידיה תא רזחה ןכמ רחאלו
הרומא הנוכמה .לועפל הרומא העיסנה תקעזא :האצות
בכרמה תדלש לעש בוהצה ץחה הנופ וילאש ןוויכל עונל
.תוימואתפב רוצעל ןכמ רחאלו
הנוכמה תא רוצעל םילגוסמ תויהל םיבייח םימלבה :הרעה
.תולעל תלגוסמ איה וילעש עופיש לכ לע
הנוכמה תולועפ תא קודב
.לגרה גתמ לע ץחל 15
.הנוכמה תולועפ יגתממ דחא לכ תא לעפה 16
לועפל תורומא המרהה תמב/עורזה תולועפ לכ :האצות
.אלמ הלועפ רוזחמ
רקב ןונווכ ידי לע עורזה תולועפ תוריהמ לע טולש :הרעה
תועפשומ אל יוגיהו העיסנ תולועפ .עורזה תלועפ תוריהמ
.עורזה תלועפ תוריהמ רקבמ
יוגיהה תא קודב
.לגרה גתמ לע ץחל 17
תרקב תידי לש ןוילעה הקלחבש ןהובה גתמ לע ץחל 18
חול לעש לוחכה שלושמה ידי לע ןיוצמה ןוויכב העיסנה
.הרקבה
וילאש ןוויכב תונפל םירומא יוגיהה ילגלג :האצות
.בכרמה תדלשב םילוחכה םישלושמה םיעיבצמ
בוהצה שלושמה ידי לע ןיוצמה ןוויכב ןהובה גתמ לע ץחל 19
.הרקבה חול לעש
וילאש ןוויכב תונפל םירומא יוגיהה ילגלג :האצות
.בכרמה תדלשב םיבוהצה םישלושמה םיעיבצמ
1258813HE ט"קמ Z-30/20N • Z-30/20N RJ 18
Page 21

ליעפמל ךירדמ הנושאר הספדה • תישיש הרודהמ
הלועפ תוקידב
העיסנה רושפא תכרעמ תא קודב
בצמל תישארה עורזה תא רוגסו לגרה גתמ לע ץחל 32
.לפוקמ
רבעמ עונת עורזהש דע בבותסמה חטשמה תא בבוס 33
.יוגיהל םידעוימ םניאש םילגלגה דחאל
העיסנה רושפא יוויח תירונ :האצות
רשאכ הקולד ראשיהלו קלדיהל הרומא
חווטב והשלכ םוקמב תאצמנ עורזה
.גצומה
.יזכרמה הבצמל ץוחמ לא העיסנה תרקב תידי תא זזה 34
.לועפל הרומא אל העיסנה תלועפ :האצות
,הטמל וא הלעמל העיסנה רושפא גתמ תא קזחהו זזה 35
הבצמל ץוחמ לא העיסנה תרקב תידי תא טאל זזהו
.יזכרמה
.לועפל הרומא העיסנה תלועפ :האצות
עוסנל ןתינ ,תלעופ העיסנה רושפא תכרעמ רשאכ :הרעה
/העיסנה תרקב תידי תזזה ןוויכל דגונמה ןוויכב הנוכמב
.יוגיהה
לוחכ
לעש םיינועבצה ןוויכה יצִחב שמתשה
תדלש לעשו המרהה תמב תורקב
.העיסנה ןוויכ תא תוהזל ידכ ,בכרמה
תלבגומה העיסנה תוריהמ תא קודב
.לגרה גתמ לע ץחל 23
.מ"ס 30-כ לש הבוגל הנושארה עורזה תא הלעה 24
.אלמ העיסנ בצמל העיסנה תרקב תידי תא טאל זזה 25
תישארה עורזה רשאכ תיברמה העיסנה תוריהמ :האצות
.'נש/מ"ס 30 לע הלעת אל תמרומ
.לפוקמה הבצמל עורזה תא דרוה 26
.מ"ס 30-כ לש הבוגל תינשמה עורזה תא הלעה 27
.אלמ העיסנ בצמל העיסנה תרקב תידי תא טאל זזה 28
תינשמה עורזה רשאכ תיברמה העיסנה תוריהמ :האצות
.'נש/מ"ס 30 לע הלעת אל תמרומ
.לפוקמה הבצמל עורזה תא דרוה 29
.מ"ס 30 ידכל תישארה עורזה תא חתפ 30
.אלמ העיסנ בצמל העיסנה תרקב תידי תא טאל זזה 31
תישארה עורזה רשאכ תיברמה העיסנה תוריהמ :האצות
.'נש/מ"ס 30 לע הלעת אל החותפ
עורזה רשאכ 'נש/מ"ס 30 לע הלוע העיסנה תוריהמ םא
תינשמה עורזה רשאכ וא החותפ וא תמרומ תישארה
.הנוכמה תא דימ תבשהו ןמס ,תמרומ
בוהצ
19 Z-30/20N • Z-30/20N RJ 1258813HE ט"קמ
Page 22

ליעפמל ךירדמהנושאר הספדה • תישיש הרודהמ
הלועפ תוקידב
)תמייק םא( העיסנה/המרהה תריחב תלועפ תא קודב
.לגרה גתמ לע ץחל 36
יזכרמה הבצמל ץוחמ לא העיסנה תרקב תידי תא זזה 37
.עורזה תלעפה גתמ תא לעפהו
.לועפל הרומא אל עורזה תולועפמ תחא ףא :האצות
.הרקבה חול לע עיפומה ןוויכב עונת הנוכמה
)תמייק םא( םיסוטמ לע הנגהה תכרעמ תא קודב
תמב לש ןותחתה הקלחבש בוהצה ןגמה תא זזה 38
.םינוויכה דחאל מ"ס 10 המרהה
.הלועפ לש הרקב תידי וא גתמ לכ לעפה 39
.לועפל הרומא אל עורזה תולועפמ תחא ףא :האצות
.ץוחל ותוא קזחהו הלועפה תפיקע גתמ תא זזה 40
.הלועפ לש הרקב תידי וא גתמ לכ לעפה 41
.לועפל תורומא יוגיההו עורזה תולועפ לכ :האצות
1258813HE ט"קמ Z-30/20N • Z-30/20N RJ 20
Page 23

ליעפמל ךירדמ הנושאר הספדה • תישיש הרודהמ
הדובעה רוזא תקידב
הדובעה רוזא תקידב
:םהמ ענמיהו ןלהלש םינכוסמה םיבצמל עדומ היה
תורובו םיחתפ ·
תלוספ וא הפצרה לע םילושכמ ,תוישושבג ·
םיעפושמ חטש ינפ ·
םיקלח וא םיביצי אל חטש ינפ ·
הובג חתמ ילבכו םייליע םילושכמ ·
םינכוסמ תומוקמ ·
תוחוכ לכ תאישנב חטשה ינפ לש תקפסמ אל הכימת ·
הנוכמה הליעפמש סמועה
ריווא גזמ יאנתו חור ·
םישרומ אל םידבוע תוחכונ ·
םירחא םיירשפא םיחוטב אל םיאנת ·
:ןכ םא אלא הנוכמה תא ליעפת לא
לש החוטבה הלעפהה תונורקע תא תלגרתו תדמל
.הז ליעפמל ךירדמב םיעיפומ רשא ,הנוכמה
.םינכוסמ םיבצממ ענמיה 1
.התלעפה ינפל הנוכמה תא דימת קודב 2
.הלועפ תוקידב דימת עצב ,שומישה ינפל 3
.הדובעה רוזא תא קודב 4
תוקידב תא ןבהו רכה ,אבה ףיעסל רובעתש ינפל
.הדובעה רוזא
.הדועייל םאתהב קרו ךא הנוכמב שמתשה 5
תונורקע
רוזא םא עובקל ליעפמל תעייסמ הדובעה רוזא תקידב
הקידבה .הנוכמה לש החוטבה התלועפל םיאתמ הדובעה
רוזא ךות לא הנוכמה תסנכה ינפל ליעפמה ידי לע עצובת
.הדובעה
רתאבש תונכסה תא רוכזלו אורקל ליעפמה תוירחאב
העיסנ תעב ןהמ ענמיהלו בל םישל ןכמ רחאלו ,הדובעה
.התלעפה תעבו העוביק תעב ,הנוכמב
21 Z-30/20N • Z-30/20N RJ 1258813HE ט"קמ
Page 24

תונורקע
יקלח לכל תורושקה תוארוה ליכמ הלעפהה תוארוה ףיעס
תוחיטבה יללכ לכ יפ לע לועפל ליעפמה תוירחאב .הנוכמה
ךירדמבו תוחיטבה ךירדמב ,ליעפמה ךירדמבש תוארוההו
.תוירחאה ימוחת
םהילכ םע םידבוע תמרה ךרוצל אלש הנוכמב שומישה
.ןכוסמו חוטב וניא ,יליע הדובע רתאל םהלש הדובעה ירמוחו
ליעפמל ךירדמהנושאר הספדה • תישיש הרודהמ
הלעפה תוארוה
:ןכ םא אלא הנוכמה תא ליעפת לא
ליעפהל םירומא ךכל וכמסוהשו הכרדה ורבעש םידבוע קר
םינמזב הנוכמב םישמתשמ םיליעפמ המכ םא .וז הנוכמ
םיליעפמ תויהל םלוכ לע הבוח ,תרמשמ התואבו םינוש
ךירדמבש תוארוההו תוחיטבה יללכ יפ לע לועפלו םיכמסומ
תאז .תוירחאה ימוחת ךירדמבו תוחיטבה ךירדמב ,ליעפמה
,הלעפה ינפל הקידב עצבל רומא שדח ליעפמ לכש תרמוא
.הנוכמב שומישה ינפל הדובעה רוזא תקידבו הלועפ תוקידב
לש החוטבה הלעפהה תונורקע תא תלגרתו תדמל
.הז ליעפמל ךירדמב םיעיפומ רשא ,הנוכמה
.םינכוסמ םיבצממ ענמיה 1
.התלעפה ינפל הנוכמה תא דימת קודב 2
.הלועפ תוקידב דימת עצב ,שומישה ינפל 3
.הדובעה רוזא תא קודב 4
.הדועייל םאתהב קרו ךא הנוכמב שמתשה 5
1258813HE ט"קמ Z-30/20N • Z-30/20N RJ 22
Page 25

ליעפמל ךירדמ הנושאר הספדה • תישיש הרודהמ
הלעפה תוארוה
עקרקהמ הלעפה
תלעפה ינפל תורבוחמ םירבצמה תוזירא יתשש אדו 1
.הנוכמה
.עקרק תרקב בצמל חתפמה גתמ תא בבוס 2
."לעופ" בצמל םודאה םוריחה תריצע ןצחל תא ךושמ 3
המרהה תמב בצמ תא תונשל ידכ
.והשלכ דצב הלועפה רושפא גתמ תא קזחה 1
םינומיסה יפל םיאתמה גתמה תא זזה 2
.הרקבה חולבש
.עקרקה תורקבב תונימז ןניא יוגיהה תולועפו העיסנה תולועפ
המרהה תמבמ הלעפה
תלעפה ינפל תורבוחמ םירבצמה תוזירא יתשש אדו 1
.הנוכמה
.המרה תמב תרקב בצמל חתפמה גתמ תא בבוס 2
תדיחיבש םימודאה םוריחה תריצע ינצחל ינש תא ךושמ 3
."לעופ" בצמל המרהה תמבבשו עקרקה
המרהה תמב בצמ תא תונשל ידכ
.היוצרה תוריהמל עורזה תלועפ תוריהמ רקב תא רבעה 1
תוריהמ רקבמ תועפשומ אל יוגיהו העיסנ תולועפ :הרעה
.עורזה תלועפ
.לגרה גתמ לע ץחל 2
.הרקבה חולבש םינומיסה יפל םיאתמה גתמה תא זזה 3
םוריחב הריצע
תדיחי תורקבבש םודאה םוריחה תריצע ןצחל לע ץחל
לכ תא רוצעל ידכ ,"יובכ" בצמל המרהה תמבבש וא עקרקה
.הנוכמה תולועפ
םודאה םוריחה תריצע ןצחל רשאכ תלעופש הלועפ לכ ןקת
.ץחלנ
תריצע ןצחל תא תופקוע ןתלעפהו עקרקה תורקבב הריחב
.המרהה תמבבש םודאה םוריחה
רזע תורקב
.לעופ וניא ישארה חוכה רוקמ םא רזעה חוכב שמתשה
תלעפה ינפל תורבוחמ םירבצמה תוזירא יתשש אדו 1
.הנוכמה
תרקב וא עקרק תרקב בצמל חתפמה גתמ תא בבוס 2
.המרה תמב
."לעופ" בצמל םודאה םוריחה תריצע ןצחל תא ךושמ 3
תמבמ רזעה תרקב תלעפה תעב לגרה גתמ לע ץחל 4
.המרהה
.הסכמה תא םרהו החטבאה קבח תא ערק :CE ימגד 5
ןייע ,םייק וניא אוה םא וא עורק החטבאה קבח םא :הרעה
.Genie לש םיאתמה תורישה ךרדמב
תינמז-וב לעפהו רזעה חוכ גתמ תא קזחה 6
.היוצרה הלועפה תא
.רזעה חוכ תרזעב ולעפי העיסנהו יוגיהה ,עורזה תולועפ
23 Z-30/20N • Z-30/20N RJ 1258813HE ט"קמ
Page 26

ליעפמל ךירדמהנושאר הספדה • תישיש הרודהמ
הלעפה תוארוה
עופישב העיסנ
דצה עופישו הדיריה עופיש ,היילעה עופיש רועיש תא עבק
.עופישה תגרד תא עבקו ,הנוכמה רובע
ןוויכב תידגנ תלוקשמ ,יברמה עופישה רועיש
35% )19°( :)עופישב העיסנ תלוכי( היילעה
ןוויכב תידגנ תלוקשמ ,יברמה עופישה רועיש
20% )11°( :הדיריה
25% )14°( :יברמה דצה עופיש רועיש
הזיחא חוכלו עקרקה יאנתל ףופכ עופישה רועיש :הרעה
ובש בצמל קר תסחייתמ עופישב העיסנה תלוכי .םיאתמ
.היילעה ןוויכב הנופ תידגנה תלוקשמה
המרהה תמבשו יקפואה בצמל תחתמ תאצמנ עורזהש אדו
.יוגיהה ילגלג םניאש םילגלגה ןיב תאצמנ
:עופישה תגרד תא עובקל ידכ
םאתהב לעפ וא ילטיגיד עופיש דמ תרזעב עופישה תא דודמ
.ןלהלש תויחנהל
:ב דייטצהל ךילע
םירגנ סלפ
יוגיה
.לגרה גתמ לע ץחל 1
אצמנה ,ןהובה גתמ תרזעב יוגיהה ילגלג תא בבוס 2
.העיסנה תרקב תידי לש ןוילעה הקלחב
תמב תורקב לעש םיינועבצה ןוויכה ישלושמב שמתשה
וילאש ןוויכה תא תוהזל ידכ ,בכרמה תדלש לעשו המרהה
.םילגלגה ובבותסי
עוסנל ידכ
.לגרה גתמ לע ץחל 1
העיסנה תרקב תידי תא טאל זזה :תוריהמ תרבגה 2
.יזכרמה הבצמל ץוחמ לא
העיסנה תרקב תידי תא טאל רזחה :תוריהמ תטאה
.יזכרמה הבצמ לא
הבצמל העיסנה תרקב תידי תא רזחה :הריצע
.לגרה גתמ תא ררחש וא יעצמאה
המרהה תמב תורקב לעש םיינועבצה ןוויכה יצִחב שמתשה
לש העיסנה ןוויכ תא תוהזל ידכ ,בכרמה תדלש לעשו
.הנוכמה
תועורזה רשאכ תלבגומ הנוכמה לש העיסנה תוריהמ
.תוחותפ וא תומרומ
.הנוכמה יעוציב לע עיפשי רבצמה בצמ
תוחפל דחא רטמ לש ךרואב הרשי ץע תסיפ
הדידמ טרס
1258813HE ט"קמ Z-30/20N • Z-30/20N RJ 24
Page 27

ליעפמל ךירדמ הנושאר הספדה • תישיש הרודהמ
הלעפה תוארוה
העיסנ רושפא
דחא תא הרבע עורזהש תנייצמ תירונה
תלועפו יוגיהל דעוימ וניאש םילגלגה
.היובכ העיסנה
העיסנה רושפא גתמ תא קזחה ,הנוכמה תא זיזהל ידכ
העיסנה תרקב תידי תא תויטאב זזהו הטמל וא הלעמל
.יעצמאה הבצממ
ןוויכל דגונמה ןוויכב עונל הלולע הנוכמהש ךכל עדומ היה
.יוגיההו העיסנה תורקב תונפומ וילאש
תמב תורקב לעש םיינועבצה ןוויכה יצִחב דימת שמתשה
העיסנה ןוויכ תא תוהזל ידכ ,בכרמה תדלש לעשו המרהה
.הנוכמה לש
)םייק םא( ךומנ חתמ קותינ
לש המרהה תולועפ ,ךומנ חתמ קותינב תודיוצמה תונוכמב
רשאכ המרהה תמבמ ולעפי אל תינשמהו תישארה עורזה
.ךומנ םירבצמה חתמ
.עופישה לע ץעה תסיפ תא חנה
הדיריה דצב ץעה תסיפ לש ןוילעה הצקה לע סלפה תא חנה
.תסלופמ היהת ץעה תסיפ רשא דע הצקה תא םרהו
ןיבש קחרמה תא דודמו סלופמ בצמב ץעה תסיפ תא קזחה
.עקרקה ןיבל ץעה תסיפ לש ןותחתה הקלח
)החולש( ץעה תסיפ ךרואב )םור( דדמנש קחרמה תא קלח
.100-ב לפכהו
:המגוד
החולש
םור
'מ 3.6 = ץע תסיפ
'מ 3.6 = החולש
'מ 0.3 = םור
הדיריל ,היילעל יברמה עופישה רועיש לע הלוע עופישה םא
תולעהל ,ףונמ תרזעב הנוכמה תא םירהל הבוח ,דצל וא
.עופישה דרומב התוא דירוהל וא עופישה הלעמב התוא
.המרהו הלבוה ףיעס האר
25 Z-30/20N • Z-30/20N RJ 1258813HE ט"קמ
Page 28

ליעפמל ךירדמהנושאר הספדה • תישיש הרודהמ
הלעפה תוארוה
המרהה תמב לע רתי סמוע יוויח תירונ
)תמייק םא(
סמוע שיש תנייצמ תבהבהמ תירונ
אל הלועפ ףאו ,המרהה תמב לע רתי
.לעפת
רשא דע המרהה תמבמ לקשמ רסה
.הבכת תירונה
הליפנ ינפמ הנגה
תלעפה תעב הליפנ ינפמ ישיא ןגמ דויצב שמתשהל שי
.וז הנוכמ
תושירדב דומעל בייח הליפנ ינפמ ישיאה ןגמה דויצ לכ
וב שמתשהלו ותוא קודבל הבוח .תופקתה קוחה תונקת
.הליפנ ינפמ ישיאה ןגמה דויצ ןרצי תוארוהל םאתהב
תסלופמ אל הנוכמ יוויח תירונ
יוויח תירונ :AUS-ו CSA , ANSI ימגד
.תסלופמ הניא הנוכמה יכ תנייצמ תקלוד
.תקלוד תירונה רשאכ לעפת היטהה תקעזא
.הטמ טרופמכ עופישב עורזה בצמ תא ההז
רובעתש ינפל עורזה תא דירוהל ידכ תוארוהל םאתהב לעפ
ידכ ךות עורזה תא בבוסת לא .םירשיו םיביצי חטש ינפל
.התדרוה
תמב תמרה תעב היטהה תקעזא תעמשנ םא :CE ימגד
תלועפו קלדית תסלופמ אל הנוכמ יוויחה תירונ ,המרהה
בצמ תא ההז .לעפת אל םהינשב וא םינוויכה דחאב העיסנה
ידכ תוארוהל םאתהב לעפ .הטמ טרופמכ עופישב עורזה
.םירשיו םיביצי חטש ינפל רובעתש ינפל עורזה תא דירוהל
.התדרוה ידכ ךות עורזה תא בבוסת לא
תמב רשאכ היטהה תקעזא תעמשנ םא :םימגדה לכ
:היילעב תאצמנ המרהה
.תישארה עורזה תא דרוה 1
.תינשמה עורזה תא דרוה 2
.תישארה עורזה תא רוגס 3
תמב רשאכ היטהה תקעזא תעמשנ םא
:הדיריב תאצמנ המרהה
.תישארה עורזה תא רוגס 1
.תינשמה עורזה תא דרוה 2
.תישארה עורזה תא דרוה 3
1258813HE ט"קמ Z-30/20N • Z-30/20N RJ 26
Page 29

ליעפמל ךירדמ הנושאר הספדה • תישיש הרודהמ
הלעפה תוארוה
סיט ילכ ינפמ הנגה תכרע
)תמייק םא(
הנוכמה ,סיט ילכ יביכרב םיעגופ המרהה תמב ישוגפ םא
.הלועפ לכ ליעפהל היהי ןתינ אלו הבכת
.עונמה תא ענתה 1
.לגרה גתמ לע ץחל 2
סיט ילכ ינפמ הנגהה תלועפ תפיקע גתמ תא זזה 3
.ץוחל ותוא קזחהו
םיאתמה הלועפה תרקב גתמ תא וא תידי תא זזה 4
.סיטה ילכ יביכרמ הנוכמה תא זיזהל ידכ
שומיש לכ רחאל
,םירשיו םיביצי חטש ינפ — הינחל חוטב םוקמ רחב 1
.בכר ילכ תעונת אללו לושכמ אלל
.לפוקמה הבצמל עורזה תא דרוה 2
ןיב היהת עורזהש ךכ בבותסמה חטשמה תא בבוס 3
.יוגיהל םידעוימ םניאש םילגלגה
ידכ ותוא אצוהו יובכ בצמל חתפמה גתמ תא בבוס 4
.השרומ אל שומיש עונמל
.םירבצמה תא ןעט 5
27 Z-30/20N • Z-30/20N RJ 1258813HE ט"קמ
Page 30

רבצמ ןועטל ידכ
.םתניעט ינפל םירבוחמ םירבצמהש אדו 1
חותפ ראשיהל רומא אתה .רבצמה את תא חתפ 2
.הניעטה רוזחמ לכ ךלהמב
הקוזחת אלל םירבצמ
.קראומ AC לגעמ לא רבצמה ןעטמ תא רבח 1
.ואולמב ןועט רבצמה יתמ הארי ןעטמה 2
ליעפמל ךירדמהנושאר הספדה • תישיש הרודהמ
הלעפה תוארוה
ןעטמבו רבצמב שומיש תוארוה
:תייצו דפקה
םיליגר םירבצמ
תא קודבו ,רבצמה לש רורוואה יקקפ תא רסה 1
םימ קר ףסוה ,ךרוצה תדימב .רבצמה תצמוח סלפמ
ינפל ידמ רתוי אלמת לא .תוחולה יוסיכל דע םיקקוזמ
.הניעטה רוזחמ
.רבצמה לש רורוואה יקקפ תא ןקתה 2
.קראומ AC לגעמ לא רבצמה ןעטמ תא רבח 3
.ואולמב ןועט רבצמה יתמ הארי ןעטמה 4
רוזחמ םויסב רבצמה לש הצמוחה סלפמ תא קודב 5
לא .יולימה רוניצ ךרד םיקקוזמ םימ אלמ .הניעטה
.ידמ רתוי אלמת
.רזע ירבצמב וא ינוציח ןעטמב שמתשת לא
.בטיה ררוואמ רוזאב םירבצמה תא ןעט
,הניעט ךרוצל םיאתמ AC הסינכ חתמב שמתשה
.ןעטמה לע ןיוצמכ
ידי לע םירשואמה ןעטמבו םירבצמב קר שמתשה
.Genie תרבח
1258813HE ט"קמ Z-30/20N • Z-30/20N RJ 28
Page 31

ליעפמל ךירדמ הנושאר הספדה • תישיש הרודהמ
הלעפה תוארוה
הניעטו שבי רבצמ יולימ תוארוה
תותימצל רסה .רבצמה לש רורוואה יקקפ תא רסה 1
.רבצמה לש רורוואה יחתפמ קיטסלפה ימטא תא
רבצמ תצמוחב םיאתהמ דחא לכ תא אלמ 2
.תוחולה תא הסכי סלפמה רשא דע )טילורטקלא(
רוזחמ תמלשה רחאל אלא ,יברמה סלפמה דע אלמת לא
רבצמה תצמוח תשילגל םורגל לולע רתי יולימ .הניעטה
התוא לרטנ ,רבצמהמ הצמוח הכפשנ םא .הניעטה ךלהמב
.םימו הייתשל הדוס תרזעב
.רבצמה לש רורוואה יקקפ תא רוגס 3
.רבצמה תא ןעט 4
רוזחמ םויסב רבצמה לש הצמוחה סלפמ תא קודב 5
לא .יולימה רוניצ ךרד םיקקוזמ םימ אלמ .הניעטה
.ידמ רתוי אלמת
29 Z-30/20N • Z-30/20N RJ 1258813HE ט"קמ
Page 32

ליעפמל ךירדמהנושאר הספדה • תישיש הרודהמ
תוקבדמ
םילימ םע תוקבדמ תקידב
הנוכמה לעש תוקבדמב םילימ וא םילמס םיעיפומ םא עבק
תוקבדמה לכש אדוול ידכ המיאתמה הקידבב שמתשה .ךלש
.ןמוקמב תואצמנו תואירק
Part No. Decal Description Quantity
44248 Label - Maximum Capacity, 440 lbs 1
)Aircraft Protection Package(
44980 Label - Power to Charger, EE 1
44981 Label - Air Line to Platform 2
44986 Notice - Max Side Force, 90 lbs / 400 N 1
46468 Label - Function Override 1
)Aircraft Protection Package(
52947 Notice - Operating Instructions, Ground 1
52968 Cosmetic - Genie Boom 1
62928 Cosmetic - Genie Z-30/20N 1
62929 Cosmetic - Genie Z-30/20N 2
65171 Label - Circuit Breaker & Status Light 1
72081 Platform Control Panel 1
72167 Cosmetic - Genie Z-30/20N RJ 1
72833 Label - Open 2
72867 Label - Work Lights Option Patch 1
72999 Label - Environ MV46 1
82161 Label - UCON Hydrolube, HP-5046 1
82366 Label - Chevron Rando 1
82592 Ground Control Panel 1
97890 Danger - General Safety 2
97893 Notice - Max Side Force, 150 lbs / 667 N 1
97894 Notice - Operating Instructions, Platform 1
114117 Notice - Battery Connection Diagram 2
114397 Danger - Tilt-Alarm 1
133286 Label - Power to Charger, Universal 1
139586 Label - Wheel Load 4
Part No. Decal Description Quantity
27564 Danger - Electrocution Hazard 2
28161 Warning - Crushing Hazard 3
28164 Notice - Hazardous Materials 1
28165 Notice - Foot Switch 1
28171 Label - No Smoking 1
28174 Label - Power to Platform, 230V 2
28175 Caution - Compartment Access 1
28176 Notice - Missing Manuals 1
28177 Warning - Platform Rotate 2
28181 Warning - No Step or Ride 1
28235 Label - Power to Platform, 115V 2
28236 Warning - Failure To Read . . . 1
28372 Caution - Component Damage 2
31060 Danger - Tip-over Hazard, Interlock 4
31508 Notice - Power to Charger 1
31785 Notice - Battery Charger Instructions 2
31787 Danger - Tip-over, Batteries 2
31788 Danger - Battery/Charger Safety 2
32728 Label - Inverter Option Patch 1
35542 Notice - Lug Nuts 4
37052 Notice - Maximum Load, 500 lbs / 227 kg 1
37053 Arrow - Blue 1
37054 Arrow - Yellow 1
37055 Triangle - Blue 2
37056 Triangle - Yellow 2
40434 Label - Lanyard Anchorage 2
1258813HE ט"קמ Z-30/20N • Z-30/20N RJ 30
Page 33

ליעפמל ךירדמ הנושאר הספדה • תישיש הרודהמ
72081
97890
114397
97894
28236
28176
28165
44981
97893
or 44986
28235
or 28174
114117
114117
31785
31785
31508
31787
31787
31788
31788
37053
37054
52968
37056
37055
28175
37055
37056
31060
44980
or 133286
31060
28164
52947
28171
Serial
Plate
2818128161
82592
97890
139586
62929
35542
35542
28372
65171
31060
28177 40434
44981
62929
72833
35542
139586
139586
35542
28372
28235
or 28174
27564
28161
28161
31060
62928
or 72167
28177
40434
27564
72833
72867
32728
82366
or 82161
or 72999
37052
or 44248
46468
תוקבדמ
Ground
Controls
Side
Power
Unit
Side
Shading indicates decal is hidden
from view, i.e., under covers.
Platform
Chassis
31 Z-30/20N • Z-30/20N RJ 1258813HE ט"קמ
Page 34

ליעפמל ךירדמהנושאר הספדה • תישיש הרודהמ
תוקבדמ
םילמס םע תוקבדמ תקידב
הנוכמה לעש תוקבדמב םילימ וא םילמס םיעיפומ םא עבק
תוקבדמה לכש אדוול ידכ המיאתמה הקידבב שמתשה .ךלש
.ןמוקמב תואצמנו תואירק
תומכ הקבדמה רואית ט"קמ
2 רבצמ תוחיטב - הנכס 82481
2 הלעפה תוארוה - הקבדמ 82487
2 תולמשחתה תנכס - הנכס 82544
2 תבבותסמ המרה תמב - הרהזא 82548
1 עקרק תורקב חול 82592
1 ג"ק 227 ,יברמ המרה רשוכ - הנכס 82601
1 ןוטוינ 667 ,יברמ דצ חוכ - הנכס 82602
1 ןוטוינ 400 ,יברמ דצ חוכ - הנכס 82604
1 בצמ תירונו ךרדנ ךיתנ - הקבדמ 82610
1 העיסנ רושפא יאלט - הקבדמ 82611
1 ,ג"ק 200 ,יברמ המרה רשוכ - הקבדמ 82612
)סיט ילכ ינפמ הנגה תליבח(
1 עצמאה תליסמ תא דרוה - הקבדמ 97815
1 םוריחב הדרוה - הקבדמ 114343
1 ןעטמל חתמ - הקבדמ 133286
4 לגלג סמוע - הקבדמ 139586
תומכ הקבדמה רואית ט"קמ
1 ןשעל ןיא - הקבדמ 28171
2 230V ,המרה תמבל חתמ - הקבדמ 28174
2 115V ,המרה תמבל חתמ - הקבדמ 28235
1 ריממל היצפוא יאלט - הקבדמ 32728
1 לוחכ - ץח 37053
1 בוהצ - ץח 37054
2 לוחכ - שלושמ 37055
2 בוהצ - שלושמ 37056
2 העוצרל ןוגיע - הקבדמ 40434
2 המרה תמבל ריווא רוניצ - הקבדמ 44981
1 הלועפ תפיקע - הקבדמ 46468
)סיט ילכ ינפמ הנגה תכרע(
1 Genie Boom - יטמסוק 52968
1 Genie Z-30/20N - יטמסוק 62928
2 Genie Z-30/20N - יטמסוק 62929
1 המרה תמב - הרקב חול 72081
1 Genie Z-30/20N RJ - יטמסוק 72167
1 הדובע סנפל היצפוא יאלט - הקבדמ 72867
3 הציחמ תנכס - הרהזא 82472
1258813HE ט"קמ Z-30/20N • Z-30/20N RJ 32
Page 35

ליעפמל ךירדמ הנושאר הספדה • תישיש הרודהמ
תוקבדמ
82487
28171
82592
82610
114343
82544
139586
62929
72081
46468
32728
72867
82611
28235
28174
82487
97815
82602
82604
תוחיטב טרס
44981
82601
82612
תוחיטב טרס
וא
וא
וא
תיחול
ירודיס רפסמ
המרה תמב
82472
הדלש
תורקב דצ
עקרקה
40434
82548
52968
37054
37056
37055
82481
82481
37055
37056
37053
133286
62928
40434
82548
תדיחי דצ
72167
82472
82472
82544
חוכה
הניא הקבדמהש ןייצמ רופא עקר
.םיסכמל תחתמ רמולכ ,תיארנ
44981
33 Z-30/20N • Z-30/20N RJ 1258813HE ט"קמ
28235
28174
וא
62929139586
139586
וא
Page 36

תרזעב המרה ךרוצל ישפוח לגלג תרוצת
ףונמ
הנוכמהמ עונמל ידכ םידס תרזעב םילגלגה תא םוסח 1
.רדרדיהל
ררחושמ בצמ
רבוחמ בצמ
הרישקה תודוקנ לא הכלהכ חטבואמ ףונמה לבכש אדו 3
.םילושכממ יקנ לולסמהשו בכרמה תדלש לש
הנוכמהמ עונמל ידכ םידס תרזעב םילגלגה תא םוסח 1
ידי לע יוגיהל םידעוימ םניאש םילגלגה ימלב תא לעפה 2
.עניהה רובט קותינ יסכמ בוביס
בייח התא םא .תצלמומ הניא Genie Z-30/20N-ה תרירג
.ש"מק 3.2 לש תוריהמ לע רובעת לא ,הנוכמה תא רורגל
ימלב תא ררחש 2
םניאש םילגלגה
לע יוגיהל םידעוימ
קותינ יסכמ בוביס ידי
.עניהה רובט
:הנוכמה תסמעה רחאל
.רדרדיהל
ליעפמל ךירדמהנושאר הספדה • תישיש הרודהמ
המרהו הלבוה תוארוה
:תייצו דפקה
הנוכמה תמרה תעב תעד לוקישבו ןויגיהב לועפל הבוח
.התעונת לע טולשל ידכ הזגלמ וא ףונמ תרזעב
.םירשי חטש ינפ לע תונחל בייח הלבוהה בכר
תא עונמל ידכ חטבואמ תויהל בייח הלבוהה בכר
.הנוכמה תסמעה תעב ותורדרדיה
הניעטה חטש ינפ ,בכרה לש הסמעהה רשוכש אדו
.הנוכמה לקשמב דומעל םילוכי תועוצרה וא תוארשרשהו
לקשמ והמ תעדל ידכ ירודיסה רפסמה תיחול תא האר
.הנוכמה
תויהל וא םירשי חטש ינפ לע תויהל תבייח הנוכמה
.םימלבה רורחש ינפל תחטבואמ
עופישה רועיש לע הלועה עופיש לע הנוכמב גהנת לא
עופישב העיסנ ףיעס האר .דצה עופיש רועיש לע וא
.הלעפהה ךירדמב
יברמה עופישה רועיש לע הלוע ליבומה בכרה עופיש םא
הדירוהלו הנוכמה תא תולעהל הבוח ,הדיריב וא היילעב
.ראותמכ ףונמ תרזעב
1258813HE ט"קמ Z-30/20N • Z-30/20N RJ 34
Page 37

ליעפמל ךירדמ הנושאר הספדה • תישיש הרודהמ
המרהו הלבוה תוארוה
הדלשה תחטבא
.לפוקמ בצמב המרהה תמבשו עורזהש אדו
הסינכל תחתמ ,המרהה תמב הצקל תחתמ קולב בצה
.המרהה תמבל
תעוצר תחנה ידי לע המוקמל המרהה תמב תא חטבא
בבותסמה קלחה תברקב המרהה תמב תבשותל לעמ ןוליינ
הטמ יפלכ ידמ בר חוכב שמתשת לא .)ךשמהב האר( הלש
.עורזה רוזא תא קדהמ התאשכ
תיאשמה חטשמ
הלבוה ךרוצל ררגנל וא תיאשמל החטבא
התנכה תעב םידס תרזעב הנוכמה ילגלג תא דימת םוסח
.הלבוהל
ינפל ותוא אצוהו יובכ בצמל חתפמה גתמ תא בבוס
.הלבוהה
אל וא םיישפוח םיטירפ ןיאש אדוו הנוכמה לכ תא קודב
.םיחטבואמ
הדלשה תחטבא
ךרוצל בכרמה תדלש לעש הרישקה תודוקנב שמתשה
.הלבוהה חטשמ לא הנוגיע
.םידבכ םיסמוע תמרהל תועוצרב וא תוארשרשב שמתשה
.תוחפל תוארשרש 4-ב שמתשה
.תוארשרשל קזנ םורגל אל ידכ המרהה דויצ תא םאתה
תיאשמה חטשמ
35 Z-30/20N • Z-30/20N RJ 1258813HE ט"קמ
Page 38

המרה תוארוה
)JIB( עורזה הצק תא דרוה .האולמב עורזה תא רוגסו דרוה
.הנוכמהמ םיישפוחה םיטירפה לכ תא רסה .האולמב
הלבטה תרזעב ךלש הנוכמה לש דבוכה זכרמ תא עבק
.הז דומעבש הנומתה תרזעבו
ליעפמל ךירדמהנושאר הספדה • תישיש הרודהמ
המרהו הלבוה תוארוה
הנוכמה לעש המרהה תודוקנ לא קר המרהה דויצ תא רבח
.הדלשב המרה תודוקנ עברא ןנשי .ךכל תודעוימה
אדוו הנוכמל קזנ םורגל אל ידכ המרהה דויצ תא םאתה
.תסלופמ הנוכמהש
מ"ס 79.2 X ריצ
מ"ס 87.2 Y ריצ
:תייצו דפקה
הנוכמה תא רושקל םיאשר םיכמסומ םיאפונמ קר
.המירהלו
הניעטה חטש ינפ ,ףונמה לש הסמעהה רשוכש אדו
.הנוכמה לקשמב דומעל םילוכי םילבכה וא תועוצרהו
והמ תעדל ידכ ירודיסה רפסמה תיחול תא האר
.הנוכמה לקשמ
Y ריצ
X ריצ
1258813HE ט"קמ Z-30/20N • Z-30/20N RJ 36
Page 39

ליעפמל ךירדמ הנושאר הספדה • תישיש הרודהמ
םיטרפמ
מ"ס 8.9 ןוחג חוורמ
ירודיסה רפסמה תיחול תא האר לקשמ
)תויצפואה תורוצתל םאתהב םינתשמ תונוכמה ילקשמ(
העיסנ תויוריהמ
ש"מק 4.8 לפוקמ בצמ ,העיסנ תוריהמ
'נש 9/'מ 12.2
ש"מק 1.0 ,העיסנ תוריהמ
'נש 40/'מ 12.2 תמרומ עורז
החותפ וא
לפוקמ בצמ ,יברמ עופיש רועיש
19° 35% היילעב דגנ לקשמ
11° 20% הדיריב דגנ לקשמ
14° 25% דצ עופיש
.םיאתמ הזיחא חוכלו עקרקה יאנתל ףופכ עופישה רועיש :הרעה
םישער תוטילפ
70 dBA דע עקרקה תדיחיב שער תמר
70 dBA דע המרהה תמב תדיחיב שער תמר
הפצרה לע סמועה תודוא עדימ
ג"ק 3,334 יברמ ,גימצה סמוע
710 kPa )גימצ לכל( גימצה לש עגמה ינפ ץחל
ר"מס/ג"ק 7.24
25.62 kPa הסופת הפצר ץחל
ר"מ/ג"ק 2,612
אוהו רעושמ עדימ אוה הפצרה לע סמועה תודוא עדימה :הרעה
םע קר וב שמתשהל שי .תונוש תוילנויצפוא תורוצת ללוכ וניא
.םימיאתמ תוחיטב ימדקמ
)JIB( עורז הצק בוביס אלל Z-30/20N
'מ 11 יברמ הדובע הבוג
'מ 9.1 יברמ המב הבוג
'מ 2 יברמ ןוסחא הבוג
'מ 6.5 תיברמ תיקפוא החיתפ
'מ 1.2 בחור
'מ 5.1 ןסחואמ ,ךרוא
ג"ק 227 תיברמ סמוע תלוביק
'נש/'מ 12.5 תיברמ חור תוריהמ
'מ 1.6 םילגלג סיסב
'מ 3.2 )ינוציח( בוביס סוידר
'מ 1.7 )ימינפ( בוביס סוידר
359° בבותסמ חטשמ בוביס
0° בבותסמה חטשמה תטילב
8 group 903, L-16, 6V 390AH ,ירבצמ רוקמ
ילנויצרופורפ 24V DC תורקב
מ"ס 76 x 'מ 1.8 ,המרה תמב תודימ
)בחור x ךרוא(
ימצע סוליפ המרה תמב סוליפ
180° המרה תמב בוביס
ליגר המרה תמבב AC עקש
רב 193 יברמ ילורדיה ץחל
)עורזה תולועפ(
48V תכרעמה חתמ
מ"ס 56 x 18 x 45 )אלמ ימוג( םיגימצ תודימ
לע הלעי אל עורזה/דיה תכרעמ הפושח וילאש ללוכה תודיערה ךרע
הילאש ,תללקושמה הצואתה לש רתויב הובגה יעובירה עצוממה
2
'נש/'מ 0.5 לע הלעת אל ףוגה לכ ףושח
2
'נש/'מ 2.5
תרבח תוינידממ קלח אוה ונירצומ לש דימתמ רופיש
תובייחתה אלל יונישל םיפופכ םירצומה יטרפמ .Genie
.העדוה וא
37 Z-30/20N • Z-30/20N RJ 1258813HE ט"קמ
Page 40

ליעפמל ךירדמהנושאר הספדה • תישיש הרודהמ
םיטרפמ
מ"ס 8.9 ןוחג חוורמ
ירודיסה רפסמה תיחול תא האר לקשמ
)תויצפואה תורוצתל םאתהב םינתשמ תונוכמה ילקשמ(
העיסנ תויוריהמ
ש"מק 4.8 לפוקמ בצמ ,העיסנ תוריהמ
'נש 9/'מ 12.2
ש"מק 1.0 ,העיסנ תוריהמ
'נש 40/'מ 12.2 תמרומ עורז
החותפ וא
לפוקמ בצמ ,יברמ עופיש רועיש
19° 35% היילעב דגנ לקשמ
11° 20% הדיריב דגנ לקשמ
14° 25% דצ עופיש
.םיאתמ הזיחא חוכלו עקרקה יאנתל ףופכ עופישה רועיש :הרעה
םישער תוטילפ
70 dBA דע עקרקה תדיחיב שער תמר
70 dBA דע המרהה תמב תדיחיב שער תמר
הפצרה לע סמועה תודוא עדימ
ג"ק 3,402 יברמ ,גימצה סמוע
710 kPa )גימצ לכל( גימצה לש עגמה ינפ ץחל
ר"מס/ג"ק 7.24
25.71 kPa האלמ המרה תמב ,הפצרה לע ץחל
ר"מ/ג"ק 2,622
אוהו רעושמ עדימ אוה הפצרה לע סמועה תודוא עדימה :הרעה
םע קר וב שמתשהל שי .תונוש תוילנויצפוא תורוצת ללוכ וניא
.םימיאתמ תוחיטב ימדקמ
)JIB( עורז הצק בוביס םע Z-30/20N
'מ 10.7 יברמ הדובע הבוג
'מ 8.8 יברמ המב הבוג
'מ 2 יברמ ןוסחא הבוג
'מ 6.4 תיברמ תיקפוא החיתפ
'מ 1.2 בחור
'מ 5.3 ןסחואמ ,ךרוא
ג"ק 227 תיברמ סמוע תלוביק
'נש/'מ 12.5 תיברמ חור תוריהמ
'מ 1.6 םילגלג סיסב
'מ 3.0 )ינוציח( בוביס סוידר
'מ 1.7 )ימינפ( בוביס סוידר
359° בבותסמ חטשמ בוביס
0° בבותסמה חטשמה תטילב
8 group 903, L-16, 6V 390AH ,ירבצמ חתמ רוקמ
ילנויצרופורפ 24V DC תורקב
מ"ס 76 x 'מ 1.8 ,המרה תמב תודימ
)בחור x ךרוא(
ימצע סוליפ המרה תמב סוליפ
180° המרה תמב בוביס
180° עורז הצק בוביס
ליגר המרה תמבב AC עקש
רב 193 יברמ ילורדיה ץחל
)עורזה תולועפ(
48V תכרעמה חתמ
מ"ס 56 x 18 x 45 )אלמ ימוג( םיגימצ תודימ
לע הלעי אל עורזה/דיה תכרעמ הפושח וילאש ללוכה תודיערה ךרע
2
'נש/'מ 2.5
הילאש ,תללקושמה הצואתה לש רתויב הובגה יעובירה עצוממה
2
תרבח תוינידממ קלח אוה ונירצומ לש דימתמ רופיש
'נש/'מ 0.5 לע הלעת אל ףוגה לכ ףושח
תובייחתה אלל יונישל םיפופכ םירצומה יטרפמ .Genie
.העדוה וא
1258813HE ט"קמ Z-30/20N • Z-30/20N RJ 38
Page 41

ליעפמל ךירדמ הנושאר הספדה • תישיש הרודהמ
'מ 4.6'מ 3'מ 1.5'מ 0
'מ 0
'מ 1.5
'מ 1.5
+75°
-67°
'מ 9.1
'מ 7.6
'מ 6.1
'מ 4.6
'מ 3
'מ 1.5
'מ 0
'מ 0 'מ 1.5 'מ 3 'מ 4.6 'מ 6.1 'מ 7.6
םיטרפמ
העונת חווט
)JIB( עורזה הצק לש בוביסה תעונת חווט
39 Z-30/20N • Z-30/20N RJ 1258813HE ט"קמ
Page 42

Genie North A merica
ןופלט425.881.1800
800.536.1800
םניח תחיש הדנקבו ב"הראב
סקפ425.883.3475
Genie Australia Pty Ltd.
+
61 7 3375 1660
+
61 7 3375 1002
ןופלט
סקפ
+
86 21 53852570
+
86 21 53852569
Genie Malaysia
+
65 98 480 775
+
65 67 533 544
+
81 3 3453 6082
+
81 3 3453 6083
+
82 25 587 267
+
:ידי לע ץפוה
82 25 583 910
+
55 11 41 665 755
+
55 11 41 665 754
Genie Holland
+
31 183 581 102
+
31 183 581 566
Genie China
ןופלט
סקפ
ןופלט
סקפ
Genie Japan
ןופלט
סקפ
Genie Korea
ןופלט
סקפ
Genie Brasil
ןופלט
סקפ
ןופלט
סקפ
Genie Scandinavia
+
46 31 575100
+
46 31 579020
Genie France
+
33 (0) 2 37 26 09 99
+
33 (0) 2 37 26 09 98
Genie Iberica
+
34 93 579 5042
+
34 93 579 5059
Genie Germany
+
49 (0) 4202 88520
+
49 (0) 4202 8852-20
+
44 (0) 1476 584333
+
44 (0) 1476 584334
Genie Mexico City
+
52 55 5666 5242
+
52 55 5666 3241
ןופלט
סקפ
ןופלט
סקפ
ןופלט
סקפ
ןופלט
סקפ
Genie U.K.
ןופלט
סקפ
ןופלט
סקפ