 
   
دليل المشغل
| نطاق الرقم التسلسلي | ||
|---|---|---|
| CE | من الرقم SX135H-101 | SX™-135 XC™ | 
| مع معلومات الصيانة | ||
| ترجمة الإرشادات الأصلية First Edition Second Printing Part No. 1273021ARGT | 
| 1 | مقدمة | 
|---|---|
| 4 | تعريفات الرموز وملصقات الخطر . | 
| 6 | السلامة العامة | 
| 9 | السلامة الشخصية | 
| 10 | السلامة في منطقة العمل | 
| 18 | قائمة تفسيرية | 
| 19 | أدوات التحكم | 
| 27 | الفحوصات | 
| 42 | تعليمات التشغيل | 
| 55 | تعليمات النقل والتحميل | 
| 61 | الصيانة | 
| 64 | المواصفات | 
حقوق الطبع © لعام 2016 شركة Terex Corporation
الإصدار الأول: الطباعة الثانية، ديسمبر 2017 تُعد Genie علامة تجارية مسجلة لشركة Terex South Dakota, Inc في الولايات المتحدة الأمريكية والعديد من الدول الأخرى.
تُعد "SX" و"XC" علامتين تجاريتين لشركة .Terex South Dakota, Inc
يتوافق مع التوجيه الأوروبي EC Directive 2006/42/EC راجع إعلان المفوضية الأوروبية للمطابقة
تقدر شركة Genie اختيارك لآلتنا لاستخدامها في تطبيقاتك. والأولوية التي تحتل المرتبة الأولى لدينا هي سلامة المستخدم، والتي تتحقق على الوجه الأمثل من خلال جهودنا المتضافرة. هذا الكتاب هو دليل التشغيل والصيانة اليومية لمن يستخدم أو يشغل آلة Genie.
يجب اعتبار هذا الدليل جزءًا لا يتجزأ من الآلة ويجب أن يظل مرفقًا بالآلة في جميع الأوقات. إذا كانت لديك أية استفسارات، فتواصل مع شركة Genie.
التحقق من المنتج يوجد الرقم التسلسلي للألة في ملصق المسلسل.
ملصق المسلسل الرقم التسلسلي (الواقع تحت الغطاء) المطبوع على الشاسيه
     
   
تستخدم هذه الآلة فقط في رفع أفراد العمل بالإضافة إلى أدواتهم والمواد المتعلقة بهم إلى موقع عمل هوائي.
تمثل سلامة مستخدمي المنتجات أهمية قصوى بالنسبة لشركة Genie. توزع شركة Genie على الوكلاء ومالكي الألات نشر ات متنوعة تحتوي على معلومات مهمة خاصة بأمور السلامة والمنتجات.
تتعلق المعلومات الواردة في النشرات بآلات معينة تستخدم طراز الآلة والرقم التسلسلي.
يعتمد توزيع النشرات على المالك الحالي المسجل ووكيله ولذا من المهم تسجيل آلنك والاحتفاظ بأحدث معلومات الاتصال.
لضمان سلامة العاملين واستمر ار التشغيل الموثوق للآلة، تأكد من الامتثال إلى الإجراءات المشار إليها في النشر ات ذات الصلة.
الاتصال بالمصنّع
قد يكون من الضروري في بعض الأحيان الاتصال بشركة Genie. وعندما تقوم بذلك، تجهز برقم الطراز والرقم التسلسلي للآلة بالإضافة إلى اسمك ومعلومات الاتصال الخاصة بك. على الأقل، يجب الاتصال بشركة Genie في الحالات التالية:
الإبلاغ عن حادثة
الأسئلة المتعلقة باستخدامات المنتجات والسلامة
المعابير والمعلومات الخاصنة بالامتثال التنظيمي
تحديثات المالك الحالي، مثل التغييرات التي تطرأ على ملكية الألة أو على معلومات الاتصال الخاصة بك. راجع نقل ملكية الألة، أدناه.
استغراق بعض الدقائق في تحديث معلومات المالك يضمن لك الحصول على المعلومات المهمة المتعلقة بالسلامة والصيانة والتشغيل التي تنطبق على التك.
يرجى تسجيل ألتك بزيارتنا على موقع الويب على www.genielift.com أو بالاتصال بنا على الرقم المجاني 1800-536-1800.
     
   
خطر
قد ينجم عن عدم اتباع التعليمات وقواعد السلامة الواردة بهذا الدليل التعرض للموت أو الإصابة الخطيرة.
تعرّف على قواعد السلامة وافهمها قبل الانتقال إلى القسم التالي.
استبدل أي لافتات مفقودة أو تالفة تتعلق بالسلامة. اجعل سلامة المشغل في ذهنك على الدوام. استخدم الماء والصابون المخفف في تنظيف لافتات السلامة. لا تستخدم منظفات تعتمد على المذيبات حيث إنها قد تتسبب في تلف مادة لافتة السلامة.
     
   
تستخدم الملصقات الموجودة على هذا المنتج الرموز والرموز اللونية والكلمات التعبيرية لتحديد ما يلي:
     
   
رمز تنبيه السلامة — ويستخدم لتنبيهك لمخاطر التعرض للإصابات الشخصية المحتملة. التزم بجميع رسائل السلامة التي تتبع هذا الرمز لتجنب الموت أو الإصابة المحتملة.
تشير إلى موقف ينطوي على خطر، والذي في حالة عدم تفاديه يمكن أن يؤدي إلى الوفاة أو الإصابة الخطيرة.
تشير إلى موقف ينطوي على خطر، والذي في حالة عدم تفاديه يمكن أن يؤدي إلى الوفاة أو الإصابة الخطيرة.
تشبر إلى موقف ينطوي على خطر، والذي في حالة عدم تفاديه يمكن أن يؤدي إلى الإصابة المسلطة أو المتوسطة.
| حطر الاصطدام | العانق العلوي | حطر الانسحاق | ابتعد عن الاجراء المتحركة | حطر الانسحاق | 
|---|---|---|---|---|
| T S | ||||
| خطر الانقلاب | خطر الانقلاب | خطر الانقلاب | حافظ على المسافات المطلوبة | خطر الصعق بالكهرباء | 
| ) Here | ⋧⇔ৠ | |||
| اقرأ دليل الخدمة | اقرأ دليل المشغل | فصل البطارية | تجنب التلامس | خطر الصعق بالكهرباء | 
| STOP | ||||
| مطفأة حر ائق | خطر الاحتراق | خطر الانفجار | ممنوع التدخين. ممنوع تواجد مصادر اللهب. إيقاف المحرك. | خطر الانفجار | 
| Jacky, | ||||
| حلقات تثبيت الحبل | ممنوع التخطي | خطر الانفجار | ممنوع التدخين | خطر الحريق | 
     
   
     
   
-133067
-82487
     
   
دليل المشغل
     
   
الحماية الشخصية من السقوط
يشترط وجود المعدات الشخصية للحماية من السقوط (PFPE) عند تشغيل هذه الألة.
يتعين على ركاب المنصة ارتداء حزام الأمان أو عدة الأمان التي تتوافق مع التنظيمات الحكومية. قم بتوصيل الحبل بحلقة التثبيت المتوفرة في المنصة.
يتعين على المشغلين الالتزام بقواعد صاحب العمل وموقع العمل والقواعد الحكومية التي تتعلق باستخدام معدات الحماية الشخصية.
يتعين أن تكون جميع المعدات الشخصية للحماية من السقوط (PFPE) متوافقة مع القواعد الحكومية المعمول بها ولا بد من إجراء الاختبارات عليها واستخدامها بالتوافق مع تعليمات المصنِّع للمعدات الشخصية للحماية من السقوط (PFPE).
هذه الألة غير معزولة كهربيًا ولا توفر الحماية من الاتصال أو الاقتراب من التيار الكهربي.
     
   
| المسافة المطلوبة | فولتية خط الكهرباء | 
|---|---|
| 3.05 م | من 0 إلى 50 كيلو فولت | 
| 4.60 م | من 50 إلى 200 كيلو فولت | 
| 6.10 م | من 200 إلى 350 كيلو فولت | 
| 7.62 م | من 350 إلى 500 كيلو فولت | 
| 10.67 م | من 500 إلى 750 كيلو فولت | 
| 13.72 م | من 750 إلى 1,000 كيلو فولت | 
ترك متسعًا لحركة المنصة وخط الكهرباء بالتأرجح أو الارتخاء وتوخ الحذر من الرياح القوية أو العاتية.
     
   
ابق بعيدًا عن الآلة إذا اتصلت بخطوط طاقة موصلة بالتيار الكهربي. يتعين على أفراد العمل الموجودين على الأرض أو في المنصة عدم لمس أو تشغيل الآلة إلا بعد إيقاف تشغيل خطوط الطاقة الكهربانية.
يجب عدم تشغيل الآلة أثناء الرعد أو العواصف. لا تستخدم الآلة كطرف تأريض لعملية اللحام.
يجب ألا يتجاوز الأشخاص والمعدات والمواد الموجودة في المنصة الحد الأقصى لقدرة استيعاب المنصة لمدى الحركة المحدد أو غير المحدد.
| 6 200 | ž | 
|---|---|
| 300 كجم | الحد الاصلى تشتعه المنصة. محال حركة غير مقتد | 
| 2 | الحد الأقصى للأفراد المتواجدين في المنصة | 
| 454 کجم | الحد الأقصى لسعة المنصة | 
| مجال حركة مقيّد | |
| 3 | الحد الأقصى للأفراد المتواجدين في المنصة | 
إذا تم اختيار مدى الحركة المحدد بالنسبة لسعة المنصبة القصوى، فلا تحرك المنصة إلى المنطقة الخاصة بمدى الحركة غير المحدد.
لا تتجاوز السعة القصوي المختارة للمنصة.
لا تُركِّب منصبة ذات وزن مقدر 300 كجم (مدى حركة غير محدد) أو 454 كجم (مدى حركة محدد) بالآلات ذات الحمولات المقدرة الأخرى. انظر العلامة النسلسلية التي توضح الحد الأقصى من الحمولة المقررة.
سيعمل وزن الأدوات الاختيارية والملحقات، مثل حوامل الأنبوب في حالة انطلاق صوت جهاز إنذار الإمالة عندما تكون المنصبة مرفوعة، وماكينات اللحام على تقليل السعة المقررة للمنصة ويتعين طرحه من سعة توَّخ الحرص الشديد. وحدد حالة عمود الرفع على المنحدر كما هو موضح أدناه. ثم اتبع الخطوات لخفض عمود الرفع قبل الانتقال إلى سطح ثابت ً المنصَّة. انظر الملصقات المرفقة مع الأدوات الاختيارية والملحقات. مستور ولا تقم بتدوير عمود الرفع أثناء عملية الخفض. في حالة استخدام الكماليات، يرجى قراءة الملصقات والتعليمات والأدلة يجب عدم استخدام وضع الاستعادة إلا بواسطة أفراد العمل المعتمدين الملحقة بهذه الكماليات وفهمها والالتزام بها. والمدربين فقط لا ترفع أو تمد عمود الرفع ما لم تكن في حالة انطلاق صوت جهاز إنذار الإمالة أثناء الآلة متبتة على سطح ثابت ومستوٍ. п 1))) صعود المنصة: 1 اخفض عمود الرفع. 2 اسحب عمود الرفع. في حالة انطلاق صوت جهاز إنذار الإمالة أثناء ي انخفاض المنصة: اسحب عمود الرفع. 1 2 اخفض عمود الرفع. لا ترفع عمود الرفع في حالة تجاوز سرعات الرياح 12.5 م/ث. إذا تجاوزت سرعات الرياح 12.5 م/ث عندما يكون عمود الرفع مرفوعًا، لا تعتمد على جهاز تنبيه الإمالة كمؤشر للاستواء. ينطلق صوت جهاز فاخفض عمود الرفع ولاتو اصل تشغبل الآلة. إنذار الإمالة في المنصبة فقط عندما تكون الآلة على منحدر شديد.
لا تشغل الآلة أثناء هبوب الرياح القوية أو العاصفة. لا تزد من مساحة سطح المنصة أو الحمولة. فزيادة المساحة المتعرضة للرياح ستعمل على قلة استقرار الآلة.
     
   
     
   
لا تقد الألة على الطرق غير الممهدة أو بالقرب منها أو الأسطح غير المستقرة أو الأحوال الأخرى الخطيرة عندما يكون عمود الرفع مرفوعًا أو ممددًا.
لا تستخدم الآلة كمرفاع.
لا تدفع الألة أو الأشياء الأخرى بعمود الرفع.
لا تلامس الهياكل القريبة بعمود الرفع.
لا تربط عمود الرفع أو المنصة بالهياكل القريبة.
لا تضع الحمولات خارج محيط المنصبة.
     
   
لا تغير مكونات الألة أو تعطلها بأي طريقة يمكن أن تؤثر على السلامة أو الاستقرار.
لا تستبدل أجزاء الآلة التي تمثل أهمية لاستقرار ها بأشياء مختلفة الوزن أو المواصفات.
لا تستبدل الإطار ات المركبة من المصنع بإطار ات مختلفة المواصفات أو معدل الإطار المطاطي الخارجي.
لا تستخدم الإطارات المملوءة بالهواء. هذه الألات مجهزة بالإطارات المعبأة بالرغوة. وزن العجلات يمثل أهمية للثبات.
لا تستخدم أدوات تحكم المنصة لتحرير المنصة العالقة أو المحجوزة أو الممنوعة من الحركة العادية بسبب هيكل مجاور. يتعين إخراج جميع أفراد العمل من المنصة قبل محاولة تخليص المنصة باستخدام أدوات التحكم الأرضية.
لا تعدل أو تغير منصة العمل الهوائية بدون الحصول على إذن كتابي مسبق من المصنِّع. يمكن أن يعمل توصيل المرفقات للإمساك بالأدوات أو المواد الأخرى على المنصة أو قوائم الحماية أو نظام حواجز الأمان على زيادة الوزن في المنصة ومنطقة السطح الخاصة بالمنصة أو الحمولة.
     
   
لا تنقل الأدوات والمواد ما لم تكن موز عة بالتساوي ويمكن للشخص (الأشخاص) الموجود في المنصة أن يتناولها بأمان.
لا تستخدم الآلة على سطح أو مركبة متحركة أو متنقلة.
تأكد أن الإطارات بحالة جيدة وأن صواميل العجلات مربوطة بشكل صحيح.
لا تقد الآلة على منحدر يتجاوز الحد الأقصى من معدل الصعود أو النزول أو الانحدار الجانبي للآلة. تنطبق معدلات الانحدار فقط على الآلات التي تكون في وضع التخزين.
| الحد الأقصى لمعدل الانحدار ، وضع التخزين | |
|---|---|
| 35% (19°) | هبوط المنصبة | 
| 35% (19°) | صعود المنصة | 
| 25% (14°) | الانحدار الجانبي | 
ملاحظة: يخضع معدل الانحدار لأحوال الأرض مع وجود شخص واحد على المنصة وقوة الجر المناسبة. قد يقلل الوزن الإضافي على المنصة من معدل الانحدار. راجع القيادة على منحدر في قسم تعليمات التشغيل.
____ Genîe . __ SX™-135 XC™
A مخاطر السقوط يتعين على ركاب المنصة ارتداء حزام الأمان أو عدة الأمان التي تتوافق مع التنظيمات الحكومية. قم بتوصيل
التنظيمات الحكومية. قم بتوصيل الحبل بحلقة التثبيت المتوفرة في المنصة.
السلامة في منطقة العمل
لا تجلس أو تقف أو تتسلق حواجز حماية المنصبة. اجعل قدمك ثابتة على أرضية المنصبة في جميع الأوقات.
     
   
احعل أر ضبة المنصة خالبة دائمًا من الركام
اخفض الحاجز النصفي لمدخل المنصة أو أغلق بوابة الدخول قبل التشغيل.
لا تدخل المنصبة أو تخرج منها ما لم نكن الآلة في وضبع التخزين والمنصبة في مستوى الأرض.
A مخاطر الاصطدام
     
   
يتعين على المشغلين الالتزام بقواعد صاحب العمل وموقع العمل والقواعد الحكومية التي تتعلق باستخدام معدة الحماية الشخصية.
قم دومًا بتشغيل الآلة في مكان جيد التهوية لتجنب التسمم بغاز أول أكسيد الكربون.
لا تشغل الألة مع تسرب زيت هيدروليكي أو هواء. يمكن للتسرب في الهواء أو التسرب الهيدروليكي أن يخترق و/أو يحرق الجلد.
الاحتكاك غير السليم بأي مكونات تحت أي غطاء يمكن أن يؤدي إلى إصابة خطيرة. يتعين وصول أفراد الصيانة المدربين فقط لحجرات التشغيل. ينصح بوصول المشغل فقط للآلة عند إجراء فحص ما قبل التشغيل. يجب أن تظل جميع الغرف مغلقة ومؤمنة أثناء التشغيل.
لا تبدأ تشغيل المحرك إذا شممت أو وجدت غاز البترول السائل (LPG) أو البنزين أو وقود الديزل أو المواد الأخرى القابلة للانفجار.
لا تعد تزويد الألة بالوقود والمحرك في وضع التشغيل.
يجب أيضًا إعادة تزويد الألة بالوقود وشحن البطارية في مكان مفتوح وجيد التهوية وخال من ألسنة الشرر أو اللهب أو السجائر المشتعلة.
لا تشغل الآلة أو تشحن البطارية في المواقع الخطيرة أو المواقع التي يمكن أن تتواجد فيها غازات أو أشياء قابلة للانفجار أو الاحتراق.
لا ترش الإيثير داخل المحركات المزودة بشمعات احتراق.
A مخاطر الآلة التالفة
لا تستخدم آلة تالفة أو آلة لا تعمل على الوجه الصحيح.
قم بعمل فحص شامل للألة قبل عملية التشغيل واختبار جميع الوظائف قبل كل وردية عمل. قم على الفور بتمييز وتسريح الألة التالفة أو التي تعاني من قصور في الوظائف من الخدمة.
تأكد من إجراء جميع أعمال الصيانة كما هو محدد في هذا الدليل ودليل الخدمة الخاص بآلات Genie.
تأكد من أن جميع الملصقات في مكانها ومقروءة.
تأكد من أن أدلة المشغل والسلامة والمسؤوليات كاملة ومقروءة بوضوح وموضوعة في حاوية التخزين الموجودة على المنصة.
لا تستخدم أي بطارية أو شاحن أعلى من 12 فولت لبدء تشغيل المحرك في الآلة التي تعاني من ضعف في البطارية.
لا تستخدم الألة كطرف تأريض لعملية اللحام.
لا تشغل الآلة في المواقع التي يمكن أن تتواجد فيها مجالات مغناطيسية شديدة للغاية.
سلامة البطارية
خطر الاحتراق
     
   
البطاريات تحتوي على أحماض. ارتد دومًا الملابس الواقية مع وضع واق على العينين عند العمل مع البطاريات.
تجنب سكب أو ملامسة الأحماض الموجودة في البطارية. قم بتحبيد أحماض البطارية المسكوبة بالماء والصودا الخاصة بالخبز .
مخاطر الانفجار
     
   
أبق الشرر وألسنة اللهب والتبغ المشتعل بعيدًا عن البطاريات. حيث تُطلق البطاريات غازات قابلة للانفجار.
     
   
کطر الصعق بالکهرباء تجنب الاتصال بالأطراف الکهربیة.
الأنبوب على الحد من أقصى عدد ركاب مسموح به في المنصة. ضع الحمولة في المنتصف داخل محيط المنصة. اربط الحمولة في المنصة. لا تسد مدخل المنصة أو مخرجها. لا تُعِق القدرة على تشغيل أداوت التحكم في المنصة أو زر توقف الطوارئ الأحمر.
سلغ وزن محموعة حامل الأنبوب 5.9 كحم
يبلغ الحد الأقصى لسعة مجموعة حامل الأنبوب 91 كجم.
قد يعمل وزن مجموعة حامل الأنبوب والحمولة الموجودة في حوامل
سلامة حامل الأنبوب
لا تقم بعملية التشغيل ما لم تتلق التعليمات الكافية وتكون على علم بجميع المخاطر المتعلقة بحركة المنصبة مع حمولة متدلية.
يرجى قراءة كل التحذيرات والتعليمات الملحقة بحوامل الأنبوب وفهمها والالتزام بها.
لا تتجاوز أبدًا سعة المنصة المقررة تعمل مجموعة حامل الأنبوب والوزن الموجود في حوامل الأنبوب على تقليل سعة قدرة الاستيعاب المقررة للمنصة الأمر الذي يتعين تحديده في الحمولة الكلية للمنصة.
لا تتسبب في حدوث قوة دفع أفقية أو حمولة جانبية على الآلة من خلال رفع أو خفض حمولة ثابتة أو متدلية.
خطر الصعق بالكهرباء: أبعد الأنابيب عن كل الموصلات الكهربية النشطة كهربيًا.
يرجى قراءة التحذيرات والتعليمات الملحقة بوحدة طاقة اللحام وفهمها والالتزام بها.
لا توصل أسلاك أو كبلات اللحام ما لم تكن وحدة طاقة اللحام مطفأة من مفاتيح التحكم في المنصة.
لا تقم بعملية التشغيل ما لم تكن كبلات اللحام موصلة بشكل صحيح وتكون ماكينة اللحام مؤرضة على النحو الصحيح.
يعمل وزن ماكينة اللحام على تقليل سعة قدرة الاستيعاب المقررة للمنصبة، الأمر الذي يجب تحديده في الحمولة الكلية للمنصبة. يبلغ وزن مزود الطاقة الخاص بماكينة اللحام 34 كجم.
لا تقم بتشغيل ماكينة اللحام ما لم تكن مطفأة الحرائق جاهزة للاستخدام الفوري، بمقتضى قانون الصحة والسلامة المهنية 1926.352(d).
يرجى قراءة كل التحذيرات والتعليمات الملحقة بحوامل اللوحة وفهمها والالتزام بها.
لا تتجاوز أبدًا سعة المنصة المقررة يجب ألا يتعدى مجموع وزن الحوامل واللوحات والركاب والأدوات وأي معدات أخرى السعة المقررة.
تزن مجموعة حامل اللوحة 13.6 كجم.
السعة القصوى لحوامل اللوحة 113 كجم.
قد يعمل وزن حوامل اللوحة والحمولة الموجودة في حوامل اللوحة على الحد من أقصى عدد مسموح للركاب في المنصة ليصل إلى شخص واحد.
اربط الحوامل بالمنصة. اربط اللوحة أو اللوحات بنظام الحواجز بالمنصة مستخدمًا الشرائط المتوفرة.
لا تقم بعملية التشغيل ما لم تتلق التعليمات الكافية وتكون على علم بجميع المخاطر المتعلقة بلوحات الرفع.
لا تتسبب في حدوث قوة دفع أفقية أو حمولة جانبية على الآلة من خلال رفع أو خفض حمولة ثابتة أو متدلية.
الحد الأقصى لمساحة اللوحة: 3 م2.
     
   
     
   
     
   
لوحة تحكم الأرضية
10 شاشة إظهار القراءة LCD
ادفع زر التوقف في حالة الطوارئ الأحمر إلى وضع الإيقاف لإيقاف جميع الوظائف وإيقاف تشغيل المحرك. اسحب زر التوقف في حالة الطوارئ الأحمر إلى وضع التشغيل لتشغيل الآلة.
12 أزرار تحديد سرعة الوظيفة
اضغط على زر تحديد سرعة الوظيفة لتحديد سرعة الوظيفة. عند إضاءة السهم الموجود فوق رمز السلحفاة، ستعمل وظائف الألة بسرعة منخفضة. وعند إضاءة السهم الموجود فوق رمز الأرنب، ستعمل وظائف الألة بسرعة عالية.
13 المفتاح الدوار لاختيار إيقاف التشغيل/التأريض/المنصة
أدر المفتاح الدوار لوضع إيقاف التشغيل وستتوقف الآلة عن العمل. أدر المفتاح الدوار إلى وضع التأريض وسوف تعمل أدوات التحكم الأرضية. أدر المفتاح الدوار إلى وضع المنصة وسوف تعمل مفاتيح التحكم في المنصة.
14 زر بدء تشغيل المحرك اضغط زر بدء تشغيل المحرك لبدء المحرك.
25 زر تدوير المنصة لليسار اضغط على زر دوران المنصة جهة اليسار وسوف تدور المنصة جهة اليسار. 26 زر مصدر الطاقة في وضع الطوارئ
استخدم مصدر الطاقة في وضع الطوارئ في حالة فشل مصدر الطاقة الرئيسي (المحرك). اضغط في نفس الوقت على زر مصدر الطاقة في وضع الطوارئ وقم بتنشيط الوظيفة المرغوبة.
27 زر خفض عمود الرفع النصفي اضغط على زر خفض عمود الرفع النصفي وسينخفض عمود الرفع النصفي. 28 زر تمكين الوظيفة
اضغط مع الاستمرار على زر تمكين الوظيفة لتمكين الوظائف في التحكم الأرضي من العمل.
دليل المشغل
أدوات التحكم
     
   
لوحة تحكم المنصة
     
   
اصبط السواء الفلصة إلى أن يتوقف الصوع، سيعمل معاج تحويل مستوى المنصة فقط في الاتجاه الذي سيجعل المنصة في وضع استواء.
قم برفع/سحب عمود الرفع إلى أن ينطفئ الضوء.
استخدم مصدر الطاقة في وضع الطوارئ في حالة فشل مصدر الطاقة الرئيسي (المحرك). اضغط على مفتاح القدم وحرك في نفس الوقت مفتاح مصدر الطاقة في وضع الطوارئ وقم بتنشيط الوظيفة المرغوبة. سيضيء مصباح المؤشر عندما يكون مصدر الطاقة في حالة الطوارئ قيد الاستخدام.
9 طرز الديزل: المصباح الإشاري لشمعة الاحتراق تشير إضاءة المصباح إلى أن شمعات الاحتراق نشطة.
10 مفتاح تشغيل المحرك المزود بمصباح مؤشر
حرك مفتاح بدء تشغيل المحرك وسيبدأ تشغيل المحرك. سيومض مصباح مؤشر بدء تشغيل المحرك أثناء بدء تشغيل المحرك وسيظل ثابتًا بمجرد تشغيل المحرك.
11 مفتاح اختيار تباطؤ المحرك المزود بمصباح مؤشر:
حرك هذا المفتاح لاختيار إعداد تباطؤ المحرك. إضاءة رمز الأرنب تشير إلى اختيار التباطؤ العالي. إضاءة رمز السلحفاة تشير إلى اختيار التباطؤ المنخفض.
تشير إضاءة المصباح إلى أن مدى الحركة غير محدد.
14 مصباح مؤشر زيادة الحمولة في المنصة
يشير المصباح الوامض إلى أن المنصة بها حمولة زائدة. سيتوقف المحرك ولن يتم تشغيل الوظائف. تخاص من الوزن الزائد إلى أن يتوقف هذا المصباح وأعد تشغيل المحرك.
إضاءة المصباح تعني حدوث خطأ بالمحرك.
17 مصباح مؤشر انخفاض مستوى الوقود
إضباءة المصباح تعني أن مستوى الوقود بالألة منخفض.
18 مصباح مؤشر الخطأ
إضاءة المصباح تعني حدوث خطأ بالنظام.
19 زر التوقف في حالة الطوارئ الأحمر
ادفع زر التوقف في حالة الطوارئ الأحمر إلى وضع الإيقاف لإيقاف جميع الوظائف وإيقاف تشغيل المحرك. اسحب زر التوقف في حالة الطوارئ الأحمر إلى وضع التشغيل لتشغيل الآلة.
20 مقبض التحكم النسبي ثنائي المحور لوظائف القيادة والتوجيه أو مقبض التحكم النسبي لوظيفة القيادة ومفتاح الضغط بالأصبع لوظيفة التوجيه.
حرك مقبض التحكم في الاتجاه المحدد بالسهم الأزرق في لوحة التحكم وسوف تتحرك الآلة إلى الأمام. حرك مقبض التحكم في الاتجاه المحدد بالسهم الأصفر وسوف تتحرك الآلة إلى الخلف. حرك مقبض التحكم في الاتجاه المحدد بالمثلث الأزرق وسوف بالمثلث الأصفر وسوف تتحرك الآلة إلى جهة اليمين. أو حرك مقبض التحكم في الاتجاه المشار إليه بالسهم الأزرق في لوحة التحكم وسوف تتحرك الآلة إلى المام. حرك مقبض التحكم في الاتجاه المحدد بالسهم الأصفر وسوف تتحرك الألة إلى الخلف. الاتجاه المحدد بالسهم الأصفر وسوف تتحرك الضغط بالإصبع وسوف تسير الألة في اتجاه اليسار. الضغط بالإصبع وسوف تسير الألة في اتجاه اليسار. اضغط على الجهة اليمنى من مفتاح الضغط بالإصبع وسوف تسير الآلة في اتجاه اليمين.
21 زر اختیار وضع التوجیه مزود بمصابیح مؤشر
     
   
22 مفتاح الضغط بالإصبع لوظيفة مد/سحب عمود الرفع النصفي
| 1 | اضغط أعلى مفتاح الضغط وسيتم سحب عمود الرفع النصفي. اضغط أسفل مفتاح الضغط وسيتم | 
|---|---|
| مد عمود الرقع النصفي. | 
23 مقبض التحكم النسبي ثنائي المحاور لوظائف التحكم في رفع/خفض عمود الرفع النصفي ولوظائف تدوير المنصة لليسار /لليمين
حرك مقبض التحكم لأعلى وسيتم رفع عمود الرفع النصفي. حرك مقبض التحكم لأسفل وسيتم خفض عمود الرفع النصفي.
     
   
حرك مقبض التحكم لليسار وستدور المنصة جهة اليسار . حرك مقبض لتحكم لليمين وستدور المنصة جه البمين
     
   
24 مفتاح تحديد القيادة مزود بمصابيح مؤشر
حرك مفتاح اختيار القيادة لاختيار  🌉 01 وضع القيادة. سيضيء مصباح المؤشّر الموجود بجانب الوضع الحالي. رمز حالة ميلان الألة: تشغيل المدى المنخفض لحالات الميلان. رمز وجود الآلة على سطح مستو تشغيل المدى العالى للسرعة القصوى من القيادةً.
25 مقبض التحكم النسبى أحادي المحور لوظيفة مد/سحب عمود الرفع
     
   
26 مفتاح مد/سحب المحور المزود بمصابيح مؤشر
حرك مفتاح اختبار المحور لاختبار وضع المحور . سنومض مصابيح مؤشر مد وسحب المحور أثناء تحرك المحاور . سيظل مصباح مؤشر مد المحور مضيبًا عندما تكون المحاورة ممتدة تمامًا. سيظل مصبح مؤشر سحب المحور مضبئًا عندما تكون المحاورة مسحوبة تمامًا.
27 مفتاح تمكين القيادة المزود بمصياح مؤشر
قد تجاوز الإطار مستدير الطرف وأن
وظيفة القيادة قد أُعيقت. لكي تتمكن من
المركز استخدم أسهم التوجيه ذات
äŇ
الرموز اللونية الموجودة في صندوق المنصة وشاسيه القيادة لتحديد اتجاه سير
القيادة، حرك مفتاح تمكين القيادة وحرك مقبض التحكم في القيادة ببطء بعيدًا عن
     
   
28 مقبض التحكم النسبي ثنائي المحور لوظائف التحكم في عمود الرفع لأعلى/لأسفل ولوظائف دوران صينية الدوران لليسار (لليمين
حرك مقبض التحكم لأعلى وسيرتفع عمود الرفع. حرك مقبض التحكم لأسفل وسينخفض عمود الرفع.
حرك مقبض التحكم لليسار وستدور صينية الدوران جهة اليسار. حرك مقبض التحكم لليمين وستدور صينية الدوران جهة اليمين.
     
   
29 مفتاح مستوى المنصبة
مستوى المنصبة.
مستوى المنصبة لأسفل وسينخفض
     
   
27
أساسيات فحص ما قبل التشغيل
يتولى المشغل مسؤولية إجراء فحص ما قبل التشغيل وأعمال الصيانة الدورية.
يعد فحص ما قبل التشغيل عبارة عن فحص بالعين يقوم به المشغل قبل كل وردية عمل. و هذا الفحص مصمم لاكتشاف ما إذا كان أي شيء خطأ في الألة قبل قيام المشغل بإجراء الاختبارات الوظيفية.
ويعمل فحص ما قبل التشغيل أيضًا على تحديد ما إذا كانت إجراءات الصيانة الدورية مطلوبة أم لا. يمكن للمشغل إجراء أعمال الصيانة الروتينية المحددة في هذا الدليل فقط.
ارجع إلى القائمة الموجودة في الصفحة التالية وتحقق من جميع الأشياء.
إذا عُثر على تلف أو أي اختلاف غير مرخص به عن الحالة المستلمة من المصنع، فلا بد من تمييز الآلة وإخراجها من الخدمة.
يمكن إجراء الإصلاحات للألة فقط من خلال فني الخدمة المؤهل، وذلك طبقًا لمواصفات المصنّع. وبعد إكمال عمليات الإصلاح، يتعين على المشغل إجراء فحص ما قبل التشغيل مرة أخرى قبل المتابعة إلى مرحلة الاختبارات الوظيفية.
يتعين إجراء فحوصات الصيانة المجدولة على يد فنيي الخدمة المؤهلين، وذلك طبقًا لمواصفات جهة التصنيع ومتطلباتها المذكورة في دليل المسؤوليات.
     
   
تعرف على وتفهم فحص ما قبل التشغيل قبل الانتقال إلى القسم التالي.
     
   
أي تتعلم مبادئ التشغيل الآمن للآلة المتضمنة في دليل المشغل هذا وتتدرب عليها. 1 تتجنب المواقف الخطيرة. 2 قم بإجراء فحص ما قبل التشغيل على الدوام. 3 قم بإجراء الاختبارات الوظيفية قبل الاستخدام على الدوام. تعرف على وتفهم الاختبارات الوظيفية قبل الانتقال إلى القسم التالي. 4 افحص مكان العمل.
5 استخدم الآلة في الأغراض التي صنعت من أجلها فقط.
أساسيات اختبار الوظائف
الاختبارات الوظيفية مصممة لاكتشاف أي قصور في الوظائف قبل دخول الألة الخدمة. لا بد أن يتبع المشغل التعليمات المتتالية لاختبار جميع وظائف الآلة.
يجب عدم استخدام الآلة التي تعاني من قصور في الوظائف. في حالة اكتشاف قصور في الوظائف، فلا بد أن يتم تمبيز الآلة وإخراجها من الخدمة. يمكن إجراء الإصلاحات للآلة فقط من خلال فني الخدمة المؤهل، وذلك طبقًا لمواصفات المصنّع.
بعد إكمال عمليات الإصلاح، يتعين على المشغل إجراء فحص ما قبل التشغيل والاختبارات الوظيفية مرة أخرى قبل إدخال الآلة إلى الخدمة.
6 اسحب زر توقف الطوارئ الأحمر إلى وضع التشغيل وأعد تشغيل المحرك.
ملاحظة: ابدأ هذا الاختبار بالمحاور التي تم سحبها.
ملاحظة: للحفاظ على طاقة البطارية، اختبر كل وظيفة واحدة من خلال دورة جزئية. ۞ النتيجة: يجب أن تعمل جميع وظائف عمود الرفع.
23 ابدأ تشغيل المحرِّك.
اختبار مستشعر الامالة
شاشة LCD حَتَّى يَظهر
     
   
ر لدور ان). النتيجة: ستعرض الشاشة LCD الزاوية بالدرجات.
(اتجاه-X لمستشعر مستوى صينية
اختبار بيئة التشغيل
     
   
28 اضغط أحد أزرار التحكم في شاشة LCD الظاهرة حتى يتم عرض DEGREES (درجات الزاوية الأولية)
     
   
     
   
33
دليل المشغل
اختبار مفتاح القدم 88 اضغط على زر توقف الطوارئ الأحمر بالمنصة إلى وضع إيقاف التشغيل. 99 اسحب زر توقف الطوارئ الأحمر إلى وضع التشغيل ولا تبدأ يتشغيل المحرك. 90 اضغط لأسفل على مفتاح القدم وحاول بدء تشغيل المحرك. 91 النتيجة: لن يبدأ المحرك في التشغيل. 91 النتيجة: لن يبدأ المحرك في التشغيل المحرك. 91 النتيجة: لن يبدأ المحرك في التشغيل. 92 النتيجة: لن يبدأ المحرك في التشغيل. 93 النتيجة: لن يبدأ المحرك في التشغيل. 94 النتيجة: لن يبدأ المحرك في التشغيل. 94 لا تضغط على مفتاح القدم وأعد تشغيل المحرك. 94 النتيجة: الن يبدأ المحرك. 95 النتيجة: الن يبدأ تشغيل المحرك. 96 النتيجة: الن يبدأ تشغيل المحرك. 97 النتيجة: الن يبدأ تشغيل المحرك. 96 النتيجة: الن يعمل أية وظائف. 96 النتيجة: الن تعمل أية وظائف.
43 اضىغط على مفتاح القدم.
33 أدر المفتاح الدوار إلى التحكم بالمنصة. 34 اضغط على زر توقف الطوارئ الأحمر بالمنصة إلى وضع إيقاف التشغيل. التشغيل. النتيجة: سيتوقف المحرك عن العمل ولن تعمل أي وظيفة. 35 اسحب زر توقف الطوارئ الأحمر وأعد تشغيل المحرك.
     
   
57 حرك مفتاح اختيار وضع التوجيه واختر وضع التوجيه المنسق.
ملاحظة: يجب أن تكون الفرامل قادرة على تثبيت الألة على أي منحدر تقدر على صعوده.
ملاحظة: عندما يكون نظام تمكين القيادة قيد الاستخدام، قد تسير الآلة في الاتجاه المعاكس للطريقة التي يتم بها تحريك مقبض تحكم القيادة والتوجيه.
استخدم أسهم التوجيه ذات الرموز اللونية الموجودة في أدوات تحكم المنصة وشاسيه القيادة لتحديد اتجاه السير.
أصفر
أزرق
في حالة عدم تحريك مقبض التحكم في القيادة في غضون ثانيتين من تحريك مفتاح تحويل تمكين القيادة، فلن يتم تشغيل وظيفة القيادة.
اختبار سرعة القيادة المحدودة 68 اضغط على مفتاح القدم 69 ارفع عمود الرفع بمقدار °10 فوق المستوى الأفقى. 70 حرك مقبض تحكم القيادة ببطء إلى وضع القيادة الكاملة. النتيجة: الحد الأقصى من سرعة القيادة التي يمكن الحصول عليها أثناء ارتفاع عمود الرفع الرئيسي يجب ألا يتعدى 18 سم في الثانية. ملاحظة: ستسبر الآلة مسافة 12 م في 68 ثانية. 71 اخفض عمود الرفع إلى وضع التخزين. 72 قم بإطالة عمود الرفع الأولى 1.2 م. 73 حرك مقبض تحكم القيادة ببطء إلى وضع القيادة الكاملة. النتيجة: الحد الأقصى من سرعة القيادة التي يمكن الحصول عليها اثناء ارتفاع عمود الرفع الرئيسي يجب ألا يتعدى 18 سم في الثانية. ملاحظة: ستسير الآلة مسافة 12 م في 68 ثانية. 74 اسحب عمود الرفع إلى وضع التخزين. 75 قم بمد عمود الرفع النصفي 30 سم. 76 حرك مقبض تحكم القيادة ببطء إلى وضع القيادة الكاملة. النتيجة: إن يتعدى الحد الأقصبي لسر عة القيادة التي يمكن الحصول عليها أثناء مد عمود الرفع النصفي 30 سم/الثانية.
إذا تجاوزت سرعة السير مع رفع أو مد عمود الرفع 18 سم في الثانية، فضع على الفور علامة على الألة وأخرجها من الخدمة. إذا تجاوزت سرعة القيادة مع مد عمود الرفع النصفي 30 سم في الثانية، فضع على الفور علامة على الألة وأخرجها من الخدمة.
ملاحظة: للحفاظ على طاقة البطارية، اختبر كل وظيفة واحدة من خلال دورة جزئية. النتبجة: ستعمل جميع وظائف عمود الرفع والتوجيه.
99 اضغط على مفتاح القدم.
اجذر المواقف الخطيرة التلابة متحزمان
5 استخدم الآلة في الأغراض التي صنعت من أجلها فقط.
يساعد فحص مكان العمل المشغل على تحديد ما إذا كان مكان العمل مناسبًا للتشغيل الأمن للألة أم لا. ولا بد من إجراء هذا الفحص على يد المشغل قبل نقل الآلة إلى مكان العمل.
وتقع على كاهل المشغل مسؤولية قراءة واستذكار مخاطر أماكن العمل ثم تقصي هذه المخاطر وتجنبها أثناء نقل الآلة وتثبيتها وتشغيلها.
استخدم الصور الموجودة بالصفحة التالية للتأكد من أن جميع الملصقات مقروءة وفي مكانها الصحيح.
توجد أدناه قائمة عددية بالكميات والمواصفات.
| الكمية | وصف الملصق | رقم الجزء | 
|---|---|---|
| 2 | سهم – أزرق | 27204 | 
| 2 | سهم ـــ أصفر | 27205 | 
| 4 | مثلث – أزرق | 27206 | 
| 4 | مثلث — أصفر | 27207 | 
| 1 | ملصق – الديز ل | 28159 | 
| 3 | ملصق – توصيل الطاقة بالمنصة، 230 فولت | 28174 | 
| 3 | ملصق – توصيل الطاقة بالمنصة، 115 فولت | 28235 | 
| 1 | ملصق – براءة اختراع | 38149 | 
| 8 | ملصق – حلقات تثبيت الحبل | 40434 | 
| 2 | ملصق – خط المهواء إلى المنصبة (خيار) | 44981 | 
| 8 | ملصق – ربط النقل | 52475 | 
| 6 | تنبيه – ممنوع التخطي | 65278 | 
| 4 | ملصق – نقطة الرفع | 72086 | 
| 2 | ملصق – سلامة الشاحن/البطارية | 82481 | 
| 2 | ملصق – اقرأ الدليل | 82487 | 
| 2 | ملصق – اقرأ الدليل (حامل اللوحة) (خيار) | 82487 | 
| 2 | ملصق – اقرأ الدليل (حامل الأنبوب) (خيار) | 82487 | 
| 1 | ملصق – منسوب الزيت الهيدروليكي | 97757 | 
| 1 | ملصق – خفض الحاجز النصفي | 97815 | 
| 4 | ملصق – مخاطر الانقلاب، الإطارات | 114249 | 
| 1 | ملصق – خطر الانفجار | 114251 | 
| 5 | ملصق – خطر الانقلاب، مفاتيح الحدود | 114252 | 
| 1 | ملصق – إنذار الإمالة | 114473 | 
| لكمية | وصف الملصق | رقم الجزء | 
|---|---|---|
| 3 | ملصق – خطر الصعق بالكهرباء | 133067 | 
| 2 | ملصق – خطر الصعق بالكهرباء/الاحتراق | 133205 | 
| 1 | ملصق – تصنيف الانحدار | 161691 | 
| 1 | ملصق – خطر الانقلاب، خطر الانسحاق | 219958 | 
| 1 | لوحة التحكم الأرضية | 230984 | 
| 1 | ملصق – 112 دیسیبل | 1254807 | 
| 2 | تجميلي – Genie | 1255581 | 
| 1 | تجميلي – Genie | 1255582 | 
| 1 | ملصق – خطر، خطر الصعق بالكهرباء | 1256425 | 
| 1 | لوحة تحكم المنصبة، SX-135 XC | 1262446 | 
| 5 | ملصق - الوصول للغرفة | 1263542 | 
| 1 | المفتاح الدوار للتحويل | 1263544 | 
| 1 | تعليمات – المفتاح الدوار للتحويل | 1263545 | 
| 1 | ملصق – تسجيل الآلة/ نقل ملكية الآلة | 1272242 | 
| 1 | ملصق – خطر الانقلاب | 1273026 | 
| 4 | ملصق – حمولة العجلات | 1273027 | 
| 1 | تجميلي – Genie | 1273991 | 
| 1 | تجميلي – SX-135 XC | 1273992 | 
| 1 | تجميلي – Genie | 1273993 | 
| 1 | تجميلي – SX-135 XC | 1273994 | 
| 2 | ملصق – تعليمات النقل والرفع | 1274962 | 
| 1 | ملصق – تعليمات التخزين | 1275417 | 
| 1 | ملصق – تعليمات الخفض في حالة الطوارئ | 1275451 | 
| 1 | ملصق – خطر الصعق بالكهرباء، التخزين | 1276008 | 
| 1 | ملصق – تعليمات التخزين، مفاتيح التحكم الأرضية | 1276684 | 
| 1 | ملصق – ضوء التخزين | 1276685 | 
| 1-sti *. | 
الإصدار الأول • الطباعة الثانية
ا يشير التظليل إلى إخفاء الملصق بعيدًا عن الرؤية، أي تحت الأغطية *هذه الملصقات متعلقة بطرز أو خيارات أو تكوينات محددة.
     
   
     
   
يقدم قسم تعليمات التشغيل التعليمات اللاز مة لكل جانب من جوانب تشغيل الألة. يتحمل المشغل مسئولية انباع جميع قواعد السلامة والتعليمات الموجودة في أدلة المشغل والسلامة والمسئوليات.
يعتبر استخدام الآلة في أي شيء غير رفع أفراد العمل مع ما يخصهم من أدوات ومواد لموقع عمل هوائي أمرًا غير آمن وخطير.
غير مسموح بتشغيل هذه الآلة إلا لأفراد العمل المدربين والمرخصين. في حالة قيام أكثر من مشغل واحد باستخدام الآلة في أوقات متباينة في نفس وردية العمل، فيتعين على كل مشغل أن يكون مؤ هلاً مع اتباع جميع قواعد السلامة والتعليمات الموجودة في دليلي السلامة والمسئوليات. و هذا يعني أن كل مشغل جديد يجب أن يجري فحص ما قبل التشغيل بالإضافة إلى الاختبارات الوظيفية وفحص مكان العمل قبل استخدام الآلة.
1 اضغط على زر بدء تشغيل المحرك. يمكن الضغط على زر بدء تشغيل المحرك في أي وقت عندما تكون شمعات الاحتراق قيد التشغيل. في حالة فشل المحرك في بدء التشغيل أو حدوث عطل به، سيؤدي التأخر في إعادة التشغيل إلى تعطيل مفتاح بدء التشغيل لمدة 3 ثوان.
1 اضغط على زر بدء تشغيل المحرك.
     
   
في حالة فشل المحرك في البدء بعد 15 ثانية من تدوير المحرك، حدد السبب وأصلح هذا القصور الوظيفي. انتظر مدة 60 ثانية قبل إجراء المحاولة مرة أخرى.
في الأجواء الباردة، عندما تبلغ درجة الحرارة °6 مئوية تحت الصفر أو أقل، قم بتسخين المحرك لمدة 5 دقائق قبل عملية التشغيل للوقاية من تلف النظام الهيدروليكي.
أما في الظروف الجوية شديدة البرودة عندما تبلغ درجة الحرارة °18 مئوية تحت الصفر أو أقل، يجب تزويد الألة بأدوات التشغيل البارد الاختيارية. إن محاولة تشغيل المحرك في درجة حرارة أقل من °18 مئوية تحت الصفر قد تتطلب استخدام بطارية تقوية.
ادفع زر توقف الطوارئ الأحمر إلى وضع إيقاف التشغيل من خلال أدوات التحكم الأرضية أو أدوات تحكم المنصنة لإيقاف جميع وظائف الآلة وإيقاف تشغيل المحرك.
قم بإصلاح أي وظيفة تعمل أثناء الضغط على أي من زري توقف الطوارئ.
سيؤدي تحديد مفاتيح التحكم الأرضية وتشغيلها إلى إلغاء زر توقف الطوارئ الأحمر في المنصة.
مصدر الطاقة في حالة الطوارئ
استخدم مصدر الطاقة في وضع الطوارئ في حالة فشل مصدر الطاقة الرئيسي (المحرك).
لن تعمل وظائف القيادة تزامنًا مع عمل مصدر الطاقة في حالة الطوارئ.
ستومض مصابيح مؤشر مد وسحب المحور أثناء تحرك المحاور. سيظل مصباح مؤشر مد المحور مضيئًا عندما تكون المحاورة ممندة تمامًا. سيظل مصباح مؤشر سحب المحور مضيئًا عندما تكون المحاورة مسحوبة تمامًا.
يمكن سحب المحاور فقط إذا تم خفض عمود الرفع وسحبه تمامًا وكانت المنصة بين العجلات ذات الأطر اف المستديرة.
التشغيل من الأرض 1 أدر المفتاح الدوار إلى التحكم الأرضي. 2 اسحب زر توقف الطوارئ الأحمر إلى الوضع "تشغيل". 3 ابدأ تشغيل المحرِّك.
     
   
استخدم أزرار تحديد سرعة الوظيفة لتحديد سرعة الوظيفة.
     
   
عند إضاءة السهم الموجود فوق رمز السلحفاة، ستعمل وظائف الآلات بسرعة منخفضة. عند إضاءة السهم الموجود فوق رمز الأرنب، ستعمل وظائف الآلات بسرعة عالية.
يرجى ملاحظة أن وظائف القيادة والتوجيه غير متاحة من أدوات التحكم الأرضية.
استخدم أسهم التوجيه ذات الرموز اللونية الموجودة في مفاتيح تحكم المنصة وشاسيه القبادة لتحديد اتجاه سير الآلة.
يرجى ملاحظة أن سرعة سير الآلة تكون محددة عندما يكون عمود الرفع مرفوعًا أو ممتدًا.
3 حرك ببطء مقبض التحكم في القيادة في الاتجاه المحدد بالمثلث الأزرق أو الأصفر أو اضغط على مفتاح الضغط بالأصبع في أعلى مقبض التحكم في القيادة.
استخدم أسهم التوجيه ذات الرموز اللونية الموجودة في مفاتيح تحكم المنصة وشاسيه القيادة لتحديد الاتجاه الذي ستدور فيه العجلات.
حدد معدلات الصعود والنزول وجانب المنحدر للألة وحدد مستوى الانحدار.
     
   
الحد الأقصى من معدل الانحدار، والمنصة في اتجاه نزول المنحدر (إمكانية التدرج): (19°) 35%
     
   
الحد الأقصى من معدل الانحدار ، والمنصة في اتجاه صعود المنحدر : (19°) 35%
     
   
ملاحظة: يخضع معدل الانحدار لأحوال الأرض مع وجود شخص واحد على المنصة وقوة الجر المناسبة. قد يقلل الوزن الإضافي على المنصة من معدل الانحدار. ينطبق مصطلح إمكانية التدرج على ضبط علو الثقل المقابل فقط.
تأكد من أن عمود الرفع تحت المستوى الأفقي وأن المنصة بين العجلات ذات الأطراف المستديرة.
حرك مفتاح تحديد سرعة القيادة إلى رمز حالة ميلان الآلة.
لتحديد مستوى الانحدار: قم بقياس المنحدر بجهاز قياس مستوى الانحدار الرقمي أو استخدام الإجراء التالي. • ميز ان الفقاعة الذي يستخدمه النجار • قطعة مستقيمة من الخشب طولها 1 م على الأقل • مقياس شريطي عند نهاية المنحدر، ضع المنحدر. عند نهاية المنحدر، ضع الميز ان على أعلى حافة قطعة الخشب وارفع مؤخرتها إلى أن تصبح قطعة الخشب مستوية. الأناء الإمساك بقطعة الخشب إلى الأرض
اقسم المسافة التي تم قياسها بالمقياس الشريطي (الارتفاع) على طول قطعة الخشب (الميل) و اضرب في 100.
مثال:
     
   
قطعة الخشب = 3.6 م
الميل = 3.6 م
الارتفاع = 0.3 م
0.3 م ÷ 3.6 م = 8.3% × 100 × 8.3% درجة
إذا تجاوز المنحدر الحد الأقصى لمعدل انحدار الصعود أو النزول أو الميل الجانبي، فلا بد من رفع الآلة بالونش أو نقلها أعلى المنحدر أو أسفله. راجع قسم النقل والرفع.
تدل إضاءة المصباح على أن عمود الرفع قد تجاوز الإطار مستدير الطرف وأن وظيفة القيادة قد أُعَيقت.
     
   
لكي تتمكن من القيادة، حرك مفتاح تمكين القيادة وحرك مقبض التحكم في القيادة/التوجيه ببطء بعيدًا عن المركز .
في حالة عدم تحريك مقبض التحكم في القيادة/التوجيه خلال ثانيتين من تحريك مفتاح تمكين القيادة، لن تعمل وظيفة القيادة. حرر وحرك مفتاح تمكين القيادة مر ة أخر ي
يتعين عليك الاحتياط من أن الآلة قد تسير في الاتجاه المعاكس لمفاتيح التحكم في القيادة والتوجيه التي يتم تحريكها.
استخدم دومًا أسهم التوجيه ذات الرموز اللونية الموجودة في مفاتيح تحكم المنصة وشاسيه القيادة لتحديد اتجاه سير الآلة.
عندما يضيء مصباح تمكين القيادة، يتعذر سحب المحاور.
اختيار تباطؤ المحرك (لفة في الدقيقة)
     
   
فحص مصباح المحرك
الوضع الحالي.
     
   
ستضيء مصابيح المؤشر الخاصة ببيئة التشغيل لتنبه المشغل إلى إعاقة إحدى الوظائف و/أو إنه يتعين اتخاذ إجراء من جانب المشغل.
وميض مصباح مؤشر رفع/سحب عمود الرفع: قم برفع/سحب عمود الرفع إلى أن ينطفئ مصباح المؤشر.
وميض مصباح مؤشر خفض عمود الرفع: قم بخفض عمود الرفع إلى أن ينطفئ مصباح المؤشر .
وميض مصباح المؤشر الخاص بعدم استواء الألة: سينطلق جهاز إنذار الإمالة عندما يومض هذا المصباح. انقل الألة إلى سطح مستو وثابت.
     
   
في حالة انطلاق صوت جهاز إنذار الإمالة أثناء انخفاض المنصة:
     
   
وميض مصباح مؤشر عدم استواء المنصة: سينطلق جهاز إنذار الإمالة عندما يومض هذا المصباح. سيعمل مفتاح تحويل مستوى المنصة فقط في الاتجاه الذي سيجعل المنصة في وضع استواء. اضبط استواء المنصة إلى أن يتوقف ضوء مصباح المؤشر.
يستخدم موضع مفتاح التحويل في تسوية المنصة إذا أظهرت شاشة التحكم الأرضية أن المنصة غير مستوية (P22) وأن أدوات التحكم في استواء المنصة لا تعمل.
للتشغيل:
     
   
إذا أظهرت شاشة أدوات التحكم في الأرضية رسالة PLATFORM LEVEL > 15 DEGREES FAULT (مستوى المنصة > خطأ 15 درجة) وكانت أدوات التحكم في مستوى المنصة لا تعمل، فستحتاج الآلة إلى إصلاح من قبل أفراد العمل المدربين والمعتمدين أو فني صيانة مؤهل.
مصباح مؤشر زيادة الحمولة في المنصبة
     
   
يشير المصباح الوامض إلى أن المنصبة بها حمولة زائدة. سيتوقف المحرك ولن يتم تشغيل الوظائف.
تخلص من الوزن الزائد عن المنصة إلى أن يتوقف هذا المصباح وأعد تشغيل المحرك.
لتشغيل المولد، حرّك مفتاح تحويل المولد.
ملاحظة: إذا تم تنشيط مفتاح القدم أثناء بدء تشغيل المولد، فلن يعمل المولد.
سيومض مصباح مؤشر المولد أثناء بدء تشغيل المولد. بعد اكتمال بدء تشغيل المولد، سيظل مصباح مؤشر المولد مضيئًا وتتحرك سرعة المحرك (لفة في الدقيقة) إلى قيمة مرتفعة للفة في الدقيقة، وضع رمز الأرنب.
صل إحدى أدوات الطاقة بنقطة قاطع دائرة العطل الأرضي بالمنصة. توجد حماية GFCI مدمجة في الصندوق الكهربي للمولد و هي موجودة على شاسيه صينية الدوران.
لإيقاف تشغيل المولد، حرّك مفتاح تحويل المولد. سيومض مصباح مؤشر المولد أثناء تسلسل إيقاف تشغيل المولد. بعد اكتمال تسلسل إيقاف تشغيل المولد، سينطفئ مصباح مؤشر المولد وستتحرك سرعة المحرك (لفة في الدقيقة) إلى قيمة منخفضة للفة في الدقيقة، وضع رمز السلحفاة.
يتم التحكم تلقائيًا في مدى الحركة حسب حمولة المنصبة.
مدى الحركة غير المحدد: عندما تكون حمولة المنصنة أقل من 300 كجم، يضيء مصباح مدى الحركة غير المحدد.
     
   
     
   
     
   
     
   
تعرض شاشة LCD عداد الساعات والجهد وضغط الزيت ودرجة حرارة سائل التبريد. كما تعرض الشاشة الرموز الخطأ وغيرها من معلومات الصيانة.
نتمتع الألات المزودة بمحركات Perkins 854F-34T الديزل بوجود وضع إعادة التوليد الذي من المفترض أن يعمل تلقائيًا عند الحاجة.
ستعرض شاشة LCD REGEN FORCED (إعادة التوليد القسري) و WARNING HIGH EXHAUST SYSTEM TEMP (تحذير ارتفاع درجة حرارة نظام العادم) عندما يكون نظام إعادة التوليد قيد العمل. لا تلزم صيانة.
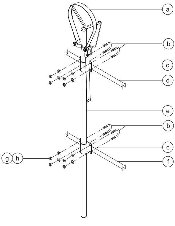
تتكون مجموعة حامل الأنبوب من حاملي أنبوب على أي من جانبي المنصة ومركبين بحواجز الأمان بمسمارين على شكل حرف U.
     
   
| الحد الأقصى للقدرة الاستيعابية لحامل الأنبوب | |
|---|---|
| 90.7 کجم | كل الطرز | 
| 9.5 کجم | وزن مجموعة حامل الأنبوب | 
ملاحظة: قم بهذا الإجراء على سطح ثابت مستوٍ في حالة وجود الألة في وضع التخزين.
1 قم بتركيب قطعتي البطانة على حواجز المنصة. ضع البطانة بحيث تحمي اللوحات من الاحتكاك بحواجز المنصة.
     
   
     
   
أي توفر شركة Genie معلومات التأمين هذه من باب التوصية. يتحمل السائقون وحدهم مسؤولية التأكد من أن الألة مؤمنة على النحو الصحيح وأنه قد تم اختيار المقطورة الصحيحة وفقًا لقوانين وزارة النقل بالولايات المتحدة والتنظيمات الأخرى المحلية وسياسة الشركة التي يعملون بها.
أحكم تثبيت العجلات لحماية الآلة من الانز لاق أثناء العمل.
     
   
نفذ عكس الإجراءات المذكورة لإعادة تعشيق الفرامل.
ملاحظة: يجب أن يظل صمام العجلة الحرة بالمصد مغلقًا دائمًا.
الربط فى شاحنة أو قاطرة لنقل الآلة
استخدم دومًا دبوس تأمين دوران صينية الدوران في كل مرة يتم فيها نقل الألة.
     
   
1 دبوس تأمين دوران صينية الدوران أدر المفتاح الدوار لوضع إيقاف التشغيل وانزع المفتاح قبل النقل. افحص الآلة برمتها للتأكد من عدم وجود أجزاء مرتخية أو غير محكمة الربط.
التخزين من أجل النقل
ملاحظة: قبل تخزين الآلة بغرض النقل، تأكد من سحب عمود الرفع النصفي كليًا، وأن عمود الرفع مسحوب تمامًا، وصينية الدوران بين العجلات ذات الأطراف المستديرة، والمحاور مسحوبة بالكامل.
4 أدخل مفتاحًا في المفتاح الدوار للاستعادة/التحويل، الموجود على جانب صندوق التحكم الأرضي. أدر المفتاح إلى وضع التحويل، P22.
     
   
     
   
اضغط على الذراع الأصفر الموجود بالقرب من موجهات التأرجح لضبط مثبت النقل لعمود الرفع.
     
   
8 اضغط مع الاستمرار على زر التمكين وزر خفض عمود الرفع النصفي لخفض عمود الرفع النصفي. سيبدأ عمود الرفع النصفي في الدخول أسفل عمود الرفع. عند توقف عمود الرفع النصفي، استمر في الضغط على زر خفض عمود الرفع النصفي. ستنسحب أسطوانات استواء عمود الرفع النصفي واستواء المنصة بالكامل لتخزين المنصة.
     
   
9 اخفض عمود الرفع إلى أن يصبح تحت المستوى الأفقي. تحقق من ضوء مؤشر تخزين عمود الرفع الرئيسي الموجود على جانب لوحة التحكم الأرضية. ينبغي أن يكون المصباح مضيئًا عندما يكون عمود الرفع تحت المستوى الأفقي، مما يشير إلى أن عمود الرفع مخزن.
     
   
10 ضع أحزمة من النايلون حول الشريحة السوداء الموجودة عند طرف عمود الرفع النصفي. ثبت عمود الرفع النصفي في ظهر الشاحنة. لا تستخدم القوة المفرطة في الضغط لأسفل عند تثبيت عمود الرفع النصفي.
     
   
     
   
6 اسحب الذراع الأصفر لتحرير مثبت النقل لعمود الرفع، الموجود بالقرب من موجهات التأرجح.
     
   
7 ارفع عمود الرفع النصفي حتى تصبح المنصة غير موجودة أسفل عمود الرفع، ويتوقف ذراع الإدارة الجرسي عن الحركة وتبدأ أسطوانة رفع عمود الرفع النصفي في الامتداد.
     
   
     
   
10 أدر المفتاح إلى وضع التشغيل، ثم انزع المفتاح من المفتاح الدوار للاستعادة/التحويل. أدخل المفتاح في المفتاح الدوار في مفاتيح التحكم الأرضية.
     
   
     
   
     
   
     
   
     
   
| المحور Y | المحور X | مركز الجاذبية | 
|---|---|---|
| 1.6 م | 2.1 م | SX-135 XC | 
     
   
     
   
تم استخدام الرموز التالية في هذا الدليل للمساعدة على توصيل الهدف من التعليمات. ففي حالة ظهور رمز واحد أو أكثر في بداية إجراء أعمال الصيانة، فإنه يعنى المعنى المذكور أدناه.
     
   
10
يشير إلى أنه ستكون هناك حاجة لأجزاء جديدة لأداء هذا الإجراء.
     
   
فحص مستوى زيت المحرك 10
يعتبر الحفاظ على المستوى المناسب لزيت المحرك أمرًا ضروريًا للحصول على الأداء الجيد للمحرك وللحفاظ على العمر المتوقع للمحرك. أما تشغيل الألة بمستوى الزيت غير الصحيح فيمكن أن يتسبب في تلف مكونات المحرك.
ملاحظة: افحص منسوب الزيت أثناء توقف المحرك.
1 افحص أداة قياس مستوى الزيت. قم بإضافة الزيت حسب الحاجة.
| محرك Perkins 1104D-44T | |
|---|---|
| 15W-40 | نوع الزيت | 
| 10W-30 | نوع الزيت - ظروف باردة | 
| محرك Deutz TD2011 L04i | |
| 15W-40 | نوع الزيت | 
| 5W-30 | نوع الزيت - ظروف باردة | 
| محرك Perkins 854F-34T | |
| 15W-40 | نوع الزيت | 
| 5W-30 | نوع الزيت - ظروف باردة | 
| محرك Deutz TD2.9L | |
| 15W-40 | نوع الزيت | 
| 5W-30 | نوع الزيت - ظروف باردة | 
الصيانة
متطلبات وقود الديزل م 🗱 ا
يعتمد الأداء المرضي للمحرك على استخدام وقود بنوعية جيدة. استخدام وقود بنوعية جيدة سيؤدي إلى ما يلي: إطالة عمر المحرك ومستويات انبعاث وقود مقبولة.
تجد أدناه الحد الأدنى من متطلبات وقود الديزل لكل محرك.
| محرك Perkins 1104D-44T | |
|---|---|
| الدين منخفض الكيريت (DL L) | نوع الوقور. | 
| محرك Perkins 654F-54T | |
| ل منخفض الكبريت للغاية (ULSD) | نوع الوقود الديز | 
| محرك Deutz TD2011 L04i | |
| الديزل منخفض الكبريت (LSD) | نوع الوقود | 
| محرك Deutz TD2.9L | |
| ل منخفض الكبريت للغاية (ULSD) | نوع الوقود الديز | 
فحص منسوب الزيت الهيدروليكى Po
تعتبر المحافظة على الزيت الهيدروليكي عند مستوى مناسب أمرًا مهمًا لعمل الآلة. حيث يمكن لمستويات الزيت الهيدروليكي غير المناسبة أن تتسبب في تلف المكونات الهيدروليكية. أما الفحوصات اليومية فتتيح لمن يقوم بالفحص تحديد التغييرات في منسوب الزيت التي يمكن أن تشير إلى وجود مشكلات في النظام الهيدروليكي.
ملاحظة: تحقق من الزيت الهيدروليكي عندما يكون الزيت باردًا أو قريبًا من درجة الحرارة المحيطة.
لحد الأقصى لمنسوب الزيت
الحد الأدنى لمنسوب الزيت
| مواصفات الزيت الهيدروليكي | |
|---|---|
| مكافئ Chevron Rando HD | نوع الزيت الهيدروليكي | 
10
التبر بد
1
۲
A
يعتبر الحفاظ على المستوى المناسب لسائل تبريد المحرك أمرًا ضروريًا للحفاظ على العمر المتوقع للمحرك. فالمستوى غير المناسب من مستوى سائل التبريد يؤثر على قدرة تبريد المحرك ويتسبب في تلف مكونات
المحرك. أما الفحوصات اليومية فتتيح لمن يقوم بالفحص تحديد التغييرات
في منسوب سائل التبريد والَّتي يمكن أن تشير إلى وجود مشكلات في نظام
تحقق من مستوى سائل التبريد. قم بإضافة السائل حسب الحاجة.
النتيجة (جميع طُرز المحركات الأخرى): سيكون منسوب الوقود
مخاطر الإصابة البدنية. تتعرض السوائل الموجودة في المبرد
وخزان طرد الغاز إلى الضغط والحرارة الشديدة. يرجّى توخي
مرئيًا في مقياس المراقبة بخزان طرد الغاز.
الحذر عند نزع الغطاء وإضبافة السوائل.
عند المعدل الطبيعي.
النتيجة (محرك Deutz TD2.9L): يجب أن يكون مستوى السائل
تعتبر حالة البطارية المناسبة أمرًا ضروريًا للأداء الجيد للألة وسلامتها أثناء التشغيل. ويمكن أن تؤدي مستويات السانل غير الصحيحة أو الكابلات والوصلات التالفة إلى تلف المكونات وحالات التعرض للخطر.
ملاحظة: تساعد إضافة مواد الحفاظ على أطراف التوصيل ومواد الوقاية من الصدأ على إزالة الصدأ والتآكل في أطراف توصيل وكابلات البطارية.
يجب أن يقوم بأعمال الصيانة ربع السنوية والسنوية والتي تجرى كل عامين شخص مدرب ومؤهل لإجراء أعمال الصيانة على هذه الآلة طبقًا للإجراءات الموجودة في دليل الخدمة الخاص بهذه الآلة.
أما الآلات التي تم تسريحها من الخدمة لأكثر من ثلاثة أشهر، فيجب أن تخضع للفحص ربع السنوي قبل إعادتها للخدمة مرة أخرى.
| SX-135 XC | الطراز | 
|---|---|
| 43.15 | الارتفاع، الحد الأقصبي أثناء التشغيل | 
| 41.15 | الحد الأقصى لار تفاع المنصبة | 
| 3.05 | الارتفاع، الحد الأقصى في وضع التخزين | 
| 27.43 م | الحد الأقصى للوصول الأفقي | 
| 2.49 م | العرض، عند سحب المحاور | 
| 3.91 م | العرض، عند مد المحاور | 
| 19.76 م | الطول، في وضع التخزين | 
| 13.28 م | طول التخزين للنقل | 
| (عمود الرفع النصفي مخزن للنقل) | |
| 300 کجم | الحد الأقصى لسعة المنصبة، | 
| مجال حرکه غیر مقید | |
| 454 كجم | الحد الاقصى للحموله، مدى الحركة غير المحدد | 
| 12.5 م/ت | الحد الاقصى لسرعه الريح | 
| 4.11 4.11 | فاعدة العجلات، عند مد المحاور | 
| 4.11 | الارتفاع من الأرمن | 
| ا .00 سم | أدريعاع على إدريص | 
| 29 | من الداخل | 
| 6.17 م | من الخارج | 
| نصف قطر الدوران، عند سحب المحاور | |
| 8.03 م | من الداخل | 
| 9.96 م | من الخارج | 
| °360 متواصل | صينية الدوران (درجات) | 
| 1.7 م | مؤخرة صينية الدوران، مع مد المحاور | 
| 1.14 م | مؤخرة صينية الدوران، مع سحب المحاور | 
| 12 فولت تيار مستمر نسبي | أدوات التحكم | 
| 76 x 183 سم | أبعاد المنصبة، 6 أقدام (الطول × العرض) | 
| 91 x 244 سم | أبعاد المنصبة، 8 أقدام (الطول × العرض) | 
| الضبط الذاتي للاستواء | ضبط مستوى المنصبة | 
| 160° | دوران المنصة | 
| 70° | تدوير عمود الرفع النصفي عموديًا، لأعلى | 
| 55° | تدوير عمود الرفع النصفي عموديًا، لأسفل | 
| قياسي | مخرج التيار المتردد في المنصبة | 
| 151 لترًا | سعة خزان الوقود | 
| 200 بار | الحد الافصبي للضبغط الهيدروليكي (ه ظائف عمود الدفع) | 
| يار 220 | رولي محرب مرحى الحد الأقصبي للضغط المبدر ولبكي | 
| J | وحدة الطاقة المساعدة) | 
| الثانية | الطباعة | الأول • | الإصدار | 
|---|
| 12 فولت | جهد النظام | 
|---|---|
| 445I، 18 طية قلابة HD FF | مقاس الإطار 250/710 | 
| 21,727 کجم | الوزن | 
| ملصق المسلسل الذي يبين وزن | (تتباين أوزان الآلة مع التكوينات الخيارية. انظر | 
| الألة تحديدًا.) | |
| انبعاثات الضوضاء المحمولة جوًا | |
| <91 ديسيبل صوتي | مستوى ضغط الصوت في المحطة الأرضية | 
| <75 ديسيبل صوتي | مستوى ضغط الصوت في محطة المنصبة | 
| 112 ديسيبل صوتي | مستوى طاقة الصوت المضمون | 
| نظام اليد/الذراع 2.5 م/ث 2 . | لا نتجاوز قيمة الاهتزاز الكلية التي يتعرض لها | 
| ع المرجح الذي يتعرض له الجسم | أعلى قيمة لجذر متوسط المربع الخاص بالتسارغ لا نتجاوز 0.5 م/ث 2 . | 
| الحد الأقصى للانحدار، وضع التخزين، 4WD | |
| 19° 35% | الصعود بعكس انجاه الوزن | 
| 19° 35% | النزول بعكس اتجاه الوزن | 
| 14° 25% | الانحدار الجانبي | 
| مع وجود شخص واحد على افي على المنصة من معدل | ملاحظة: يخضع معدل الانحدار لأحوال الأرض المنصة وقوة الجر المناسبة. قد يقلل الوزن الإض الانحدار. | 
| مع وجود شخص واحد على افي على المنصة من معدل | ملاحظة: يخضع معدل الانحدار لأحوال الأرض المنصة وقوة الجر المناسبة. قد يقلل الوزن الإض الانحدار. سرعات القيادة | 
| مع وجود شخص واحد على لفي على المنصة من معدل 4.3 كم/الساعة 12 م/1.18 ثانية | ملاحظة: يخضع معدل الانحدار لأحوال الأرض المنصة وقوة الجر المناسبة. قد يقلل الوزن الإض الانحدار. سرعات القيادة سرعة القيادة، في وضع التخزين | 
| مع وجود شخص واحد على افي على المنصة من معدل 4.3 كم/الساعة 11.8/م 12 0.65 كم/الساعة | ملاحظة: يخضع معدل الانحدار لأحوال الأرض المنصة وقوة الجر المناسبة. قد يقلل الوزن الإض الانحدار. سرعات القيادة سرعة القيادة، في وضع التخزين سرعة القيادة، أثناء الرفع أو المد | 
| مع وجود شخص واحد على افي على المنصة من معدل 4.3 كم/الساعة 11.8/م 12 م/الساعة 6.65 كم/الساعة 12 م/8/1 | ملاحظة: يخضع معدل الانحدار لأحوال الأرض المنصة وقوة الجر المناسبة. قد يقلل الوزن الإض الانحدار. سرعات القيادة سرعة القيادة، أثناء الرفع أو المد | 
| مع وجود شخص واحد على لفي على المنصة من معدل 4.3 كم/الساعة 12 م/الساعة 12 م/8 ثانية 12 م/86 ثانية | ملاحظة: يخضع معدل الانحدار لأحوال الأرض المنصة وقوة الجر المناسبة. قد يقلل الوزن الإض الانحدار . سرعات القيادة، في وضع التخزين سرعة القيادة، أثناء الرفع أو المد معلومات تحميل الأرضية | 
| مع وجود شخص واحد على لفي على المنصة من معدل 4.3 كم/الساعة 12 م/12 ثانية 0.65 كم/الساعة 12 م/68 ثانية 11,975 كجم | ملاحظة: يخضع معدل الانحدار لأحوال الأرض المنصة وقوة الجر المناسبة. قد يقلل الوزن الإض سرعات القيادة سرعة القيادة، في وضع التخزين سرعة القيادة، أثناء الرفع أو المد معلومات تحميل الأرضية الحد الأقصى لحمولة الإطار | 
| مع وجود شخص واحد على افي على المنصة من معدل 4.3 كم/الساعة 11.8/م 12 م/الساعة 0.65 كم/الساعة 12 م/68 ثانية 11,975 كجم/سم 2 9.13 | ملاحظة: يخضع معدل الانحدار لأحوال الأرض المنصة وقوة الجر المناسبة. قد يقلل الوزن الإض الانحدار. سرعات القيادة، في وضع التخزين سرعة القيادة، أثناء الرفع أو المد معلومات تحميل الأرضية الحد الأقصى لحمولة الإطار الضغط الناتج عن احتكاك الإطار | 
| مع وجود شخص واحد على لفي على المنصة من معدل 4.3 كم/الساعة 12 م/86 ثانية 12 م/86 ثانية 12 مر9.13 كجم 13 كجم 896 كيلو باسكال | ملاحظة: يخضع معدل الانحدار لأحوال الأرض المنصة وقوة الجر المناسبة. قد يقلل الوزن الإض الانحدار. سرعات القيادة، في وضع التخزين سرعة القيادة، أثناء الرفع أو المد معلومات تحميل الأرضية الحد الأقصى لحمولة الإطار الضغط الناتج عن احتكاك الإطار | 
| مع وجود شخص واحد على افي على المنصة من معدل افي على المنصة من معدل 11.8/ 4.3 12 م/الساعة 0.65 كم/الساعة 12 م/68 ثانية 11,975 2 مرايم 9.13 2 مرايم 9.13 2 مرايم 9.13 2 مرايم 9.13 2 مرايم 9.13 2 مرايم 9.13 2 مرايم 9.13 2 مرايم 9.13 2 مرايم 9.13 2 مرايم 9.13 3 مرايم 9.13 3 مرايم 9.13 3 مرايم 9.13 3 مرايم 9.13 3 مرايم 9.13 3 مرايم 9.13 3 مرايم 9.13 3 مرايم 9.13 3 مرايم 9.13 3 مرايم 9.13 3 مرايم 9.13 3 مرايم 9.13 3 مرايم 9.13 3 مرايم 9.13 3 مرايم 9.13 3 مرايم 9.13 3 مرايم 9.14 3 مرايم 9.13 3 مرايم 9.13 3 مرايم 9.13 3 مرايم 9.13 3 مرايم 9.13 3 مرايم 9.13 3 مرايم 9.14 3 مرايم 9.14 3 مرايم 9.14 3 مرايم 9.14 3 مرايم 9.14 3 مرايم 9.14 3 مرايم 9.14 3 مرايم 9.14 3 مرايم 9.14 3 مرايم 9.14 3 مرايم 9.14 3 مرايم 9.14 3 مرايم 9.14 3 مرايم 9.14 3 مرايم 9.14 3 مرايم 9.14 3 مرايم 9.14 3 مرايم 9.14 3 مرايم 9.14 3 مرايم 9.14 3 مرايم 9.14 3 مرايم 9.14 3 مرايم 9.14 3 مرايم 9.14 3 مرايم 9.14 3 مرايم 9.14 3 مرايم 9.14 3 مرايم 9.14 3 مرايم 9.14 3 مرايم 9.14 3 مرايم 9.14 3 مرايم 9.14 3 مرايم 9.14 3 مرايم 9.14 3 مرايم 9.14 3 مرايم 9.14 3 مرايم 9.14 3 مرايم 9.14 3 مرايم 9.14 3 مرايم 9.14 3 مرايم 9.14 3 مرايم 9.14 3 مرايم 9.14 3 مرايم 9.14 3 مرايم 9.14 3 مرايم 9.14 3 مرايم 9.14 3 مرايم 9.14 3 مرايم 9.14 3 مرايم 9.14 3 مرايم 9.14 3 مرايم 9.14 3 مرايم 9.14 3 مرايم 9.14 3 مرايم 9.14 3 مرايم 9.14 3 مرايم 9.14 3 مرايم 9.14 3 مرايم 9.14 3 مرايم 9.14 3 مرايم 9.14 3 مرايم 9.14 3 مرايم 9.14 3 مرايم 9.14 3 مرايم 9.14 3 مرايم 9.14 3 مرايم 9.14 3 مرايم 9.14 3 مرايم 9.14 3 مرايم 9.14 3 مرايم 9.14 3 مرايم 9.14 3 مرايم 9.14 3 مرايم 9.14 3 مرايم 9.14 3 مرايم 9.14 3 مرايم 9.14 3 مرايم 9.14 3 مرايم 9.14 3 مرايم 9.14 3 مرايم 9.14 3 مرايم 9.14 3 مرايم 9.14 3 مرايم 9.14 3 مرايم 9.14 3 مرايم 9.14 3 مرايم 9.14 3 مرايم 9.14 3 مرايم 9.14 3 مرايم 9.14 3 مرايم 9.14 3 مرايم 9.14 3 مرايم 9.14 3 مرايم 9.14 3 مرايم 9.14 3 مرايم 9.14 3 مرايم 9.14 3 مرايم 9.14 3 مرايم 9.14 3 مرايم 9.14 3 مرايم 9.14 3 مرايم 9.14 3 مرايم 9.14 3 مرايم | ملاحظة: يخضع معدل الانحدار لأحوال الأرض المنصة وقوة الجر المناسبة. قد يقلل الوزن الإض سرعات القيادة سرعة القيادة، في وضع التخزين سرعة القيادة، أثناء الرفع أو المد معلومات تحميل الأرضية الحد الأقصى لحمولة الإطار الضغط الناتج عن احتكاك الإطار ضغط الأرضية المستخدمة | 
| مع وجود شخص واحد على على المنصة من معدل على المنصة من معدل 4.3 كم/الساعة 12 م/86 كم/الساعة 68/ 12 11,975 2 ماري 11,975 2 ماري 10,975 2 ماري 10,975 2 ماري 10,082 2 ماري 10,62 3 ماري 10,02 | ملاحظة: يخضع معدل الانحدار لأحوال الأرض المنصة وقوة الجر المناسبة. قد يقلل الوزن الإض سرعات القيادة سرعة القيادة، في وضع التخزين سرعة القيادة، أثناء الرفع أو المد معلومات تحميل الأرضية الحد الأقصى لحمولة الإطار الخد المحاور مع فرد المحاور | 
| مع وجود شخص واحد على افي على المنصة من معدل افي على المنصة من معدل 11.8/ 2 م/الساعة 12 م/65 كم/الساعة 12 م/66 ثانية 12 م/68 ثانية 10.62 كجم/مر 2 10.62 كيلو باسكال 10.62 كيم/م 2 10.62 كيلو باسكال | ملاحظة: يخضع معدل الانحدار لأحوال الأرض المنصة وقوة الجر المناسبة. قد يقلل الوزن الإض الانحدار. سرعات القيادة، في وضع التخزين سرعة القيادة، أثناء الرفع أو المد معلومات تحميل الأرضية الحد الأقصى لحمولة الإطار الحد الأرضية المستخدمة مع فرد المحاور ضغط الأرضية المستخدمة | 
| مع وجود شخص واحد على افي على المنصة من معدل افي على المنصة من معدل 11.8/ 20 كم/الساعة 20.65 كم/الساعة 12 م/68 ثانية 20.75 كجم/سم 2 20.75 كجم/سم 2 20.82 كيلو باسكال 20.62 كيلو باسكال 20.62 كيلو باسكال 20.63 كيلو باسكال | ملاحظة: يخضع معدل الانحدار لأحوال الأرض المنصة وقوة الجر المناسبة. قد يقلل الوزن الإض الانحدار. سرعات القيادة، في وضع التخزين سرعة القيادة، أثناء الرفع أو المد معلومات تحميل الأرضية الحد الأقصى لحمولة الإطار الحد الأرضية المستخدمة مع فرد المحاور منخط الأرضية المستخدمة ضغط الأرضية المستخدمة منغط الأرضية المستخدمة منغط الأرضية المستخدمة | 
| مع وجود شخص واحد على الفي على المنصة من معدل الفي على المنصة من معدل 11.8/ 4.3 12 م/12 ثانية 0.65 كم/الساعة 12 م/68 ثانية 11,975 2 م/0.62 كجم/سم 2 10.62 كيلو باسكال 10.62 كيلو باسكال 16.79 كيلو باسكال 16.79 كيلو باسكال يتمار التكوينات الخيارية المختلفة. | ملاحظة: يخضع معدل الانحدار لأحوال الأرض المنصة وقوة الجر المناسبة. قد يقلل الوزن الإض الانحدار. سرعات القيادة، في وضع التخزين سرعة القيادة، أثناء الرفع أو المد معلومات تحميل الأرضية الحد الأقصى لحمولة الإطار الحد الأصى المستخدمة مغط الأرضية المستخدمة منغط الأرضية المستخدمة معلومات حمولة الأرضية تقريبية ولا ت و بجب أن تستخدم فقط مع عوامل السلامة المناس | 
يعتبر التطوير المتواصل لمنتجاتنا بمثابة السياسة المتبعة لشركة Genie. تخضع مواصفات المنتج للتغيير دون إخطار أو إجبار.
     
   
www.genielift.com




































































 Loading...
 Loading...