دليل المشغل
اقرأ قواعد السلامة هذه وافهمها والتزم بها بالإضافة إلى تعليمات التشغيل قبل تشغيل هذه الآلة. لا يسمح بتشغيل هذه الآلة إلا لأفراد العمل المدربين والمرخصين. يجب اعتبار هذا الدليل جزءًا لا يتجزأ من الآلة ويجب أن يظل مرفقًا بالآلة في جميع الأوقات. إذا كانت لديك أية استفسارات، فاتصل بنا.
| www.genielift.com | نت: | الإنتر | عبر |
|---|
بريد إلكتروني: awp.techpub@terex.com
| 1 | مقدمة |
|---|---|
| 3 | تعريفات الرموز وملصقات الخطر |
| 5 | السلامة العامة |
| 7 | السلامة الشخصية |
| 8 | السلامة في منطقة العمل |
| 15 | قائمة تفسيرية |
| 16 | أدوات التحكم |
| 19 | الفحوصات |
| 32 | تعليمات التشغيل |
| 43 | تعليمات النقل والتحميل |
| 48 | الصيانة |
| 50 | المو اصفات |
حقوق الطبع © 2011 شركة Terex Corporation
الإصدار الثالث: الطباعة الرابعة، أكتوبر 2014
تُعد Genie علامة تجارية مسجلة لشركة Terex South Dakota, Inc. في الولايات المتحدة الأمريكية والعديد من الدول الأخرى. "GRC" تعد علامة تجارية لشركة Terex. South Dakota. Inc.
شكرًا على اختيارك لآلتنا لاستخدامها في تطبيقاتك. والأولوية التي تحتل المرتبة الأولى لدينا هي سلامة المستخدم، والتي تتحقق على الوجه الأمثل من خلال جهودنا المتضافرة. ولدينا شعور بأنك تسهم إسهامًا كبيرًا في عملية السلامة باعتبارك مستخدم ومشغل المعدة من خلال:
خطر قد ينجم عن عدم اتباع التعليمات وقواعد السلامة الواردة بهذا الدليل التعرض للموت أو الإصابة الخطيرة.
تعرّف على قواعد السلامة وافهمها قبل الانتقال إلى القسم التالي.
تستخدم الملصقات الموجودة على هذا المنتج الرموز والرموز اللونية والكلمات التعبيرية لتحديد ما يلي:
رمز تنبيه السلامة — ويستخدم لتنبيهك لمخاطر التعرض للإصابات الشخصية المحتملة. التزم بجميع رسائل السلامة التي تتبع هذا الرمز لتجنب الموت أو الإصابة المحتملة.
تستخدم هذه الآلة فقط في رفع أفراد العمل بالإضافة إلى أدواتهم والمواد المتعلقة بهم إلى موقع عمل هوائي.
استبدل أي لافتات مفقودة أو تالفة تتعلق بالسلامة. اجعل سلامة المشغل في ذهنك على الدوام. استخدم الماء والصابون المخفف في تنظيف لافتات السلامة. لا تستخدم منظفات تعتمد على المذيبات حيث إنها قد تتسبب في تلف مادة لافتة السلامة.
| え | ||||
|---|---|---|---|---|
| خطر الاصطدام | ممنوع التدخين | خطر الانسحاق | اقرأ دليل الخدمة | اقرأ دليل المشغل |
| خطر الصعق بالكهرباء |
استخدام قطعة من الورق
المقوى أو ورقة للبحث عن التسريبات |
خطر الانقلاب | خطر الانقلاب | خطر الاصطدام |
| E CONTRACTOR | Jel 1 | |||
| خطر الإصابة الجلدية | خطر الاحتراق | خطر الحريق | خطر الانفجار | خطر الصعق بالكهرباء |
| Q | T | |||
|
بطاريات مستخدمة كثقل
موازن |
انقل الآلة إلى مستوى
الأرض |
ابتعد عن الأجزاء المتحركة | ثبت بحبل | مخطط النقل |
تعريفات الرموز وملصقات الخطر
دليل المشغل
الحماية الشخصية من السقوط
لا يشترط وجود المعدة الشخصية للحماية من السقوط (PFPE) عند تشغيل هذه الآلة. إذا كانت قواعد موقع العمل أو صاحب العمل تشترط وجود مُعدة PFPE، فينطبق ما يلي على هذا الأمر:
يتعين أن تكون جميع معدات PFPE متوافقة مع القواعد الحكومية القابلة للتطبيق ولا بد من إجراء الاختبارات عليها واستخدامها بالتوافق مع تعليمات الشركة المصنعة.
هذه الآلة غير معزولة كهربيًا ولا توفر الحماية من الاتصال أو الاقتراب من التيار الكهربي.
ابق بعيدًا لمسافات آمنة بين خطوط الطاقة والآلة بما يتوافق مع القوانين الحكومية القابلة للتطبيق والمخطط التالي.
| المسافة المطلوبة | فولتية خط الكهرباء |
|---|---|
| 3.05 م | من 0 إلى 50 كيلو فولت |
| 4.60 م | من 50 إلى 200 كيلو فولت |
| 6.10 م | من 200 إلى 350 كيلو فولت |
| 7.62 م | من 350 إلى 500 كيلو فولت |
| 10.67 م | من 500 إلى 750 كيلو فولت |
| 13.72 م | من 750 إلى 1,000 كيلو فولت |
ينبغي ألا يتجاوز ركاب المنصة والمعدات والمواد الموجودة في المنصة الحد الأقصى لقدرة استيعاب المنصة. يعد الوزن المحمول في الأدراج وفي كل رف جانبي جزءًا من الحمولة الإجمالية للمنصة. الحد الأقصى لقدرة الاستيعاب - QS-12W
A مخاطر الإنقلاب
| 227 کجم | قدرة استيعاب المنصبة |
| 68 کجم | درج العمل أو درج العمل القابل للتعديل |
| 68 کجم | درج الطرود |
| 20 کجم | رف جانبي (اختياري) (لکل طراز) |
| 1 | الحد الأقصى للأفراد المتواجدين في المنصبة |
| الحد الأقصى لقدرة الاستيعاب - QS-15W | |
| 227 کجم | قدرة استيعاب المنصبة |
| 68 کجم | درج العمل أو درج العمل القابل للتعديل |
| 68 کجم | درج الطرود |
| 20 کجم | رف جانبي (اختياري) (لکل طراز) |
| 1 | الحد الأقصى للأفراد المتواجدين في المنصبة |
| الحد الأقصى لقدرة الاستيعاب - QS-20W | |
| 159 کجم | قدرة استيعاب المنصبة |
| 68 کجم | درج العمل أو درج العمل القابل للتعديل |
| 20 کجم | رف جانبي (اختياري) (لکل طراز) |
| 1 | الحد الأقصى للأفراد المتواجدين في المنصة |
اترك متسعًا لحركة المنصنة وخط الكهرباء بالتأرجح أو الارتخاء وتوخ الحذر من الرياح القوية أو العاتية.
ابق بعيدًا عن الآلة إذا اتصلت بخطوط طاقة موصلة بالتيار الكهربي. يتعين على أفراد العمل الموجودين على الأرض أو في المنصة عدم لمس أو تشغيل الآلة إلا بعد إيقاف تشغيل خطوط الطاقة الكهربائية.
يجب عدم تشغيل الألة أثناء الرعد أو العواصف. لا تستخدم الألة كطرف تأريض لعملية اللحام.
إذا أطلق جهاز إنذار الإمالة صوتًا: اخفض المنصة. انقل الألة إلى سطح مستو وثابت. إذا أطلق جهاز إنذار الإمالة صوتًا أثناء رفع المنصة، فتوخَ الحذر الشديد لخفض المنصة.
لا تزد سرعة القيادة عن 0.8 كم/الساعة أثناء رفع المنصة.
عند رفع المنصة، اتبع معدلات الحد الأقصى للقوة اليدوية وعدد الركاب المشار إليهم في الصفحة التالية.
لا تشغل الآلة أثناء هبوب الرياح القوية أو العاصفة. لا تزد من مساحة سطح المنصة أو الحمولة. فزيادة المساحة المتعرضة للرياح ستعمل على قلة استقرار الآلة.
توخ الحذر الشديد واخفض السرعات أثناء قيادة الآلة في وضع التخزين عبر الطرق غير الممهدة والركام والأسطح الزلقة أو غير المستقرة والحفر والمنحدرات القريبة. أو بالقرب منها أو الأسطح غير المستقرة أو الأحوال الأخرى الخطيرة عندما تكون المنصة
الألة مصممة للاستخدام الداخلي فقط. لا ترفع المنصة عند تجاوز سرعات الرياح 0 م/الثانية.
مرفوعةً.
لا تستخدم الآلة كمرفاع.
لا تدفع الألة أو الأشياء الأخرى بالمنصىة.
لا تلامس الهياكل القريبة بالمنصبة.
لا تربط المنصة بالهياكل القريبة.
لا تضع الحمولات خارج الجزء المحيطي للمنصة. تُعد الأرفف الجانبية وأدراج الطرود جزءًا من المنصة.
لا تستخدم أدوات تحكم المنصة لتحرير المنصة العالقة أو المحجوزة أو الممنوعة من الحركة العادية بسبب هيكل مجاور . يتعين إخراج جميع أفراد العمل من المنصة قبل محاولة تخليص المنصة باستخدام أدوات التحكم الأرضية.
| الحد الأقصى لعدد الركاب |
الحد الأقصى المسموح به للقوة
اليدوية |
الطراز |
|---|---|---|
| 1 | 200 نيوتن | CE |
لا تغير مفاتيح الحدود أو تقوم بتعطيلها.
لا تغير مكونات الآلة أو تعطلها بأي طريقة يمكن أن تؤثر على السلامة أو الاستقرار .
لا تستبدل أجزاء الآلة التي تمثل أهمية لاستقرار ها بأشياء مختلفة الوزن أو المواصفات.
لا تستخدم بطاريات يزيد وزنها عن وزن الجهاز الأصلي. فالبطاريات تستخدم كثقل موازن وتعد ضرورية لاستقرار الآلة. يجب أن تزن كل بطارية 28 كجم.
لا تعدل أو تغير منصة العمل الهوائية بدون الحصول على إذن كتابي مسبق من المصنِّع. يمكن أن يعمل توصيل المرفقات للإمساك بالأدوات أو المواد الأخرى على المنصة أو قوائم الحماية أو نظام حواجز الأمان على زيادة الوزن في المنصة ومنطقة السطح الخاصة بالمنصة أو الحمولة.
لا تضع أو ترفق حمولات متدلية أو ثابتة بأي جزء من هذه الآلة. لا تضع سلالم أو سقالات في المنصة أو على أي جانب من الآلة.
لا تنقل الأدوات والمواد ما لم تكن موز عة بالتساوي ويمكن للشخص (الأشخاص) الموجود في المنصة أن يتناولها بأمان.
مربوطة بإحكام وبشكل صحيح وأن دبابيس كوتر مربوطة بشكل صحيح.
يوفر نظام حواجز الأمان الحماية ضد السقوط. إذا كان من المفترض على الشخص (الأشخاص) الذي يعتلي المنصة ارتداء المعدة الشخصية للحماية من السقوط (PFPE) بسبب موقع العمل أو القواعد لدى صاحب العمل، فيتعين أن تكون معدة PFPE واستخدامها تتوافق مع تعليمات الشركة المصنعة لمعدة PFPE والمتطلبات الحكومية القابلة للتطبيق. قم بتوصيل الحبل بحلقة التثبيت المتوفرة في المنصة.
اجعل أرضية المنصة خالية دائمًا من الركام.
أغلق بوابة الدخول قبل التشغيل.
لا تجلس أو تقف أو تتسلق حواجز حماية المنصة. اجعل قدمك ثابتة على أرضية المنصة في جميع الأوقات.
لا تتسلق المنصة نزولاً عند رفعها.
لا تدخل أو تخرج من المنصبة ما لم تكن الآلة في وضع التخزين.
حافظ على وجود اليدين والأطراف بعيدًا عن القائم. لا تعمل تحت المنصة أو القائم بدون رفع غطاء البطارية. استخدم الحس العام أو التخطيط عند تشغيل الآلة بجهاز التحكم من على الأرض. حافظ على وجود مسافات آمنة بين المشغل والآلة والأشياء الثابتة. تأكد من أن الأحمال بالأرفف الجانبية وأدراج الطرود مثبتة بإحكام ومتوازنة.
توخ الحرص عند نقل الأحمال من أدراج الطرود وإليها ومن الأرفف الجانبية وإليها.
لا تقم بقيادة الآلة على منحدر يتجاوز معدل الانحدار أو الانحدار الجانبي للآلة. تنطبق معدلات الانحدار على الآلات التي تكون في وضع التخزين.
| 30% (17°) | الحد الأقصى لمعدل الانحدار ، وضع التخزين |
|---|---|
| 30% (17°) | الحد الأقصى لمعدل الانحدار الجانبي، وضع التخزين |
ملاحظة: يخضع معدل الانحدار لأحوال الأرض وقوة الجر المناسبة.
احذر من وضع المنصة الممند عند تحرك الآلة. ينبغي أن تكون الآلة على سطح مستو أو مؤمنة قبل تحرير المكابح. يتعين على المشغلين الالتزام بقواعد صاحب العمل وموقع العمل والقواعد الحكومية التي تتعلق باستخدام معدة الحماية الشخصية.
لا تشغل آلة في طريق أي مرفاع أو تحرك أي آلات علوية ما لم تكن أدوات التحكم في المرفاع مؤمنة و/أو إذا كانت الاحتياطات قد تم اتخاذها للوقاية من أي اصطدام.
ممنوع القيادة الجنونية أو المزاح الخشن أثناء تشغيل الألة.
لا تستخدم آلة تالفة أو آلة لا تعمل على الوجه الصحيح.
قم بعمل فحص شامل للألة قبل عملية التشغيل واختبار جميع الوظائف قبل كل وردية عمل. قم على الفور بتمييز وتسريح الألة التالفة أو التي تعاني من قصور في الوظائف من الخدمة.
تأكد من إجراء جميع أعمال الصيانة كما هو محدد في هذا الدليل ودليل الخدمة الخاص بآلات Genie.
تأكد من أن جميع الملصقات في مكانها ومقروءة.
تأكد من أن أدلة المشغل والسلامة والمسؤوليات كاملة ومقروءة بوضوح وموضوعة في حاوية التخزين الموجودة على المنصة.
لا تستخدم أي شاحن بطارية أكبر من 24 فولت لشحن البطاريات. لا تستخدم الآلة كطرف تأريض لعملية اللحام.
لا تشغل الآلة مع تسرب زيت هيدروليكي أو هواء. يمكن للتسرب في الهواء أو التسرب الهيدروليكي أن يخترق و/أو يحرق الجلد.
الاحتكاك غير السليم بأي مكونات تحت أي غطاء يمكن أن يؤدي إلى إصابة خطيرة. يتعين وصول أفراد الصيانة المدربين فقط لحجرات التشغيل. ينصح بوصول المشغل فقط للألة عند إجراء فحص ما قبل التشغيل. يجب أن تظل جميع الغرف مغلقة ومؤمنة أثناء التشغيل.
لا تشغل الآلة أو نشحن البطارية في المواقع الخطيرة أو المواقع التي يمكن أن تتواجد فيها غازات أو أشياء قابلة للانفجار أو الاحتراق.
سلامة البطارية
خطر الاحتراق
البطاريات تحتوي على أحماض. ارتد دومًا الملابس الواقية مع وضع واق على العينين عند العمل مع البطاريات.
تجنب سكب أو ملامسة الأحماض الموجودة في البطارية. قم بتحييد أحماض البطارية المسكوبة بالماء والصودا الخاصة بالخيز .
لا تعرض البطاريات أو الشاحن للماء أو المطر أثناء الشحن.
مخاطر الانفجار
يجب أن تظل علبة البطارية مفتوحة أثناء دورة الشحن الكاملة
لا تعرض أطراف توصيل البطارية أو مشابك الكابل للاحتكاك بأدوات قد تتسبب في اندلاع الشرر.
مخاطر تلف المكونات لا تستخدم أي شاحن بطارية أكبر من 24 فولت لشحن البطاريات. لا تستخدم الآلة كطرف تأريض لعملية اللحام.
خطر الصعق بالكهرباء/الاحتراق
لا توصل شاحن البطاريات إلا بمأخذ ثلاثي الأسلاك من التيار المتردد فقط. افحص الآلة يوميًا بحثًا عن أسلاك أو كابلات أو
اقحص الآلة يوميا بحنا عن اسلاك او كابلات او توصيلات تالفة. استبدل العناصر التالفة قبل عملية التشغيل.
تجنب التعرض لصدمة كهربية نتيجة ملامسة أطراف توصيل البطارية. تخلص من كافة الخواتم والساعات والمجوهرات الأخرى.
لا تستخدم بطاريات يزيد وزنها عن وزن الجهاز الأصلي. فالبطاريات تستخدم كثقل موازن وتعد ضرورية لاستقرار الآلة. يجب أن تزن كل بطارية 28 كجم.
مخاطر الرفع
استخدم العدد المناسب من الأفراد وتقنيات الرفع المناسبة عند رفع البطاريات.
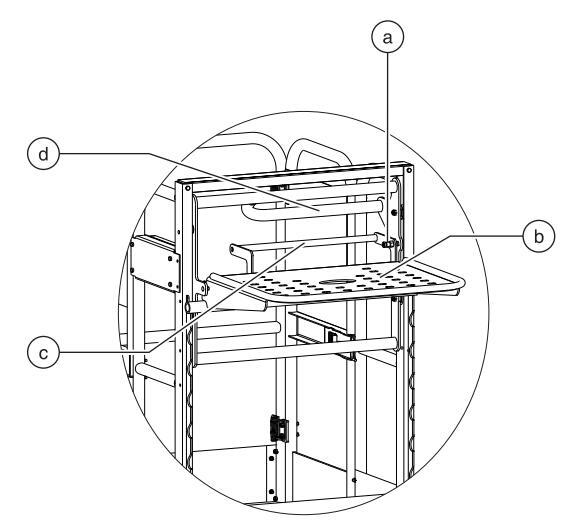
12 رف جانبي (إن وجد)
دليل المشغل
1 زر تمكين الرفع منخفض السر عة
اضغط مع الاستمرار على هذا الزر لتنشيط وظبفة منصة السرعة المنخفضة.
2 زر التوقف في حالة الطوارئ الأحمر
ادفع زر توقف الطوارئ الأحمر إلى وضع الإيقاف وذلك لإيقاف جميع الوظائف. اسحب زر التوقف في حالة الطوارئ الأحمر إلى وضع التشغيل لتشغيل الآلة.
3 زر تمكين الرفع عالى السرعة
4 زر البوق
اضغط على زر البوق وسيصدر البوق ٍصوتًا. حرر زر البوق ولن يصدر البوق صوتًا.
اضبغط على هذا الزر لتنشيط وظيفة القيادة البطيئة سيضيء مصباح المؤشر عند تحديد القيادة البطيئة.
6 مقبض التحكم النسبي ومفتاح تمكين الوظيفة لوظيفة القيادة
وظيفة القيادة: اضبغط مع الاستمرار على مفتاح تمكين الوظيفة لتمكين وظيفة القيادة في مقبض التحكم في المنصة. حرك مقبض التحكم في الاتجاه المحدد بالسهم الأزرق في لوحة التحكم وسوف تتحرك الآلة في الاتجاه الذي يشير إليه السهم الأزرق. حرك مُقبض التحكم في الاتجاه المحدد بالسهم الأصفر في لوحة التحكم وسوف تتحرك الآلة في الاتجاه الذي يُشْير إليه السهّم الأصغر.
7 مفتاح الضغط بالإصبع لوظيفة التوجيه
اضغط على الجهة اليسرى من مفتاح الضغط بالإصبع وسوف تسبر الآلة في اتجاه نقاط المثلث الأزرق في لوحة التحكم في المنصة. اضغط على الجهة اليمنى من مفتاح الضغط بالإصبع وسوف تسبر الآلة في اتجاه نقاط المثلث الأصفر في لوحة التحكم في المنصة.
10 زر خفض المنصة
اضغط مع الاستمرار على زر خفض المنصبة وسيتم خفض المنصبة.
11 زر وظيفة الرفع
اضغط على هذا الزر لتنشيط وظيفة الرفع.
12 مقبض التحكم النسبي ومفتاح تمكين الوظيفة لوظائف القيادة والتوجيه والرفع
وظيفة الرفع: اضغط مع الاستمرار على مفتاح تمكين الوظيفة لتمكين وظيفة الرفع في مقبض التحكم في المنصة. حرك مقبض التحكم في الاتجاه المحدد بالسهم الأزرق وسوف ترتفع الآلة. حرك مقبض التحكم في الاتجاه المحدد بالسهم الأصفر وسوف تنخفض الآلة. سينطلق إندار النزول أثناء خفض المنصة.
وظيفة القيادة: اضغط مع الاستمرار على مفتاح تمكين الوظيفة لتمكين وظيفة القيادة في مقبض التحكم في المنصة. حرك مقبض التحكم في الاتجاه المحدد بالسهم الأزرق في لوحة التحكم وسوف تتحرك الآلة في الاتجاه الذي يشير إليه السهم الأزرق. حرك مقبض التحكم في الاتجاه المحدد بالسهم الأصفر في لوحة التحكم وسوف تتحرك الآلة في الاتجاه الذي يشير إليه السهم الأصفر.
تعرف على وتفهم فحص ما قبل التشغيل قبل الانتقال إلى القسم التالي.
أساسيات فحص ما قبل التشغيل
يتولى المشغل مسؤولية إجراء فحص ما قبل التشغيل وأعمال الصيانة الدورية.
يعد فحص ما قبل التشغيل عبارة عن فحص بالعين يقوم به المشغل قبل كل وردية عمل. و هذا الفحص مصمم لاكتشاف ما إذا كان أي شيء خطأ في الألة قبل قيام المشغل بإجراء الاختبارات الوظيفية.
ويعمل فحص ما قبل التشغيل أيضًا على تحديد ما إذا كانت إجراءات الصيانة الدورية مطلوبة أم لا. يمكن للمشغل إجراء أعمال الصيانة الروتينية المحددة في هذا الدليل فقط.
ارجع إلى القائمة الموجودة في الصفحة التالية وتحقق من جميع الأشياء.
إذا عُثر على تلف أو أي اختلاف غير مرخص به عن الحالة المستلمة من المصنع، فلا بد من تمبيز الألة وإخراجها من الخدمة.
يمكن إجراء الإصلاحات للألة فقط من خلال فني الخدمة المؤهل، وذلك طبقًا لمواصفات المصنّع. وبعد إكمال عمليات الإصلاح، يتعين على المشغل إجراء فحص ما قبل التشغيل مرة أخرى قبل المتابعة إلى مرحلة الاختبارات الوظيفية.
يتعين إجراء فحوصات الصيانة المجدولة على يد فنيي الخدمة المؤهلين، وذلك طبقًا لمواصفات جهة التصنيع ومتطلباتها المذكورة في دليل المسؤوليات.
ملاحظة: إذا كان يجب رفع المنصة لفحص الآلة، فتأكد من أن غطاء البطارية في مكانه الصحيح. راجع قسم تعليمات التشغيل.
3 قم بإجراء الاختبارات الوظيفية قبل الاستخدام على الدوام.
تعرف على وتفهم الاختبارات الوظيفية قبل الانتقال إلى القسم التالي.
أساسيات اختبار الوظائف
الاختبارات الوظيفية مصممة لاكتشاف أي قصور في الوظائف قبل دخول الآلة الخدمة. لا بد أن يتبع المشغل التعليمات المتتالية لاختبار جميع وظائف الآلة.
يجب عدم استخدام الآلة التي تعاني من قصور في الوظائف. في حالة اكتشاف قصور في الوظائف، فلا بد أن يتم تمبيز الآلة وإخراجها من الخدمة. يمكن إجراء الإصلاحات للآلة فقط من خلال فني الخدمة المؤهل، وذلك طبقًا لمواصفات المصنّع.
بعد إكمال عمليات الإصلاح، يتعين على المشغل إجراء فحص ما قبل التشغيل والاختبارات الوظيفية مرة أخرى قبل إدخال الآلة إلى الخدمة.
تصدر التحذيرات المسموعة لهذه الآلة والبوق القياسي من نفس مصدر التنبيه المركزي. يكون صوت البوق عبارة عن نغمة ثابتة. ينطلق جهاز إنذار النزول بمعدل 60 صفارة في الدقيقة. ينطلق جهاز الإنذار بمعدل 180 صفارة في الدقيقة عند عدم نشر عوامل الحماية من الحفر الدائرية وعندما يكون الجهاز في حالة عدم استواء. يتوافر أيضًا بوق اختياري بطراز أبواق السيارات.
19 اسحب زر توقف الطوارئ الأحمر إلى وضع التشغيل. 20 اضغط على زر البوق. • النتيجة: بحب أن ينطلة رصوت البوق
استخدم نمط الزر الموجود في مفاتيح التحكم في المنصة لتحديد أي من اختباري الوظائف التاليين يجب إجراؤه.
استخدم إجراء اختبار الوظيفة هذا إذا كان الملصق الموجود في مفاتيح التحكم في المنصة يتضمن هذه الأزرار.
اختبار مفتاح تمكين الوظيفة ووظائف الرفع/الخفض
21 لا تضغط على مفتاح تمكين الوظيفة الموجود في مقبض التحكم. 22 حرك ببطء مقبض التحكم في الاتجاه المشار إليه بالسهم الأزرق، ثم في الاتجاه المشار إليه بالسهم الأصفر. ٥ النتيجة: لن تعمل أية وظائف. 23 لا تضغط على أزرار تمكين الرفع عالي السرعة العالية أو الرفع منخفض السرعة.
النتيجة: يجب أن تتوقف المنصبة عن الانخفاض.
فاتيح 46 حرر مقبض التحكم.
اختبار زر وظيفة القيادة
استخدم إجراء اختبار الوظيفة هذا إذا كان الملصق الموجود في مفاتيح التحكم في المنصة يتضمن هذه الأزرار.
استخدم إجراء اختبار الوظيفة هذا إذا كان الملصق الموجود في مفاتيح التحكم في المنصبة يتضمن هذه الأزرار.
39 لا تضغط على مفتاح تمكين الوظيفة الموجود في مقبض التحكم.
اختبار التوجيه
ملاحظة: عند إجراء اختبارات وظيفتي التوجيه والقيادة، قف بالمنصة مواجهًا طرف توجيه الآلة.
اختبار القيادة ونظام الفرامل
ملاحظة: يجب أن تكون الفرامل قادرة على تثبيت الألة على أي منحدر تقدر على صعوده.
اختبار عمل مستشعر الإمالة
ملاحظة: قم بإجراء هذا الاختبار من على الأرض باستخدام جهاز التحكم في المنصة. لا تقف بالمنصة.
66 ارفع المنصة لحوالي 1.2 م عن الأرض.
اختبار سرعة القيادة المرتفعة
دليل المشغل
ملاحظة: يجب بسط عوامل الحماية من الحفر الدائرية تلقائيًا عند رفع المنصة. تعمل عوامل الحماية من الحفر الدائرية على تنشيط مفاتيح الحدود التي تتيح للآلة المتابعة إلى الوظيفة. في حالة عدم بسط عوامل الحماية من الحفر الدائرية، يصدر صوت إنذار ولا تدور الآلة أو يتم توجيهها.
69 ارفع المنصة.
تعرف على وتفهم فحص مكان العمل قبل الانتقال إلى القسم التالي.
5 استخدم الآلة في الأغراض التي صنعت من أجلها فقط.
يساعد فحص مكان العمل المشغل على تحديد ما إذا كان مكان العمل مناسبًا للتشغيل الأمن للألة أم لا. ولا بد من إجراء هذا الفحص على يد المشغل قبل نقل الآلة إلى مكان العمل.
وتقع على كاهل المشغل مسؤولية قراءة واستذكار مخاطر أماكن العمل ثم تقصي هذه المخاطر وتجنبها أثناء نقل الألة وتثبيتها وتشغيلها.
🔲 الظروف غير الأمنة الأخرى المحتملة
استخدم الفحص المناسب للتأكد من أن جميع الملصقات قابلة للقراءة وفي مكانها الصحيح.
| الكمية | وصف الملصق | رقم الجزء |
|---|---|---|
| 2 | ملصق ــ توصيل الطاقة بالمنصبة، 230 فولت | 28174 |
| 2 | ملصق – توصيل الطاقة بالمنصبة، 115 فولت | 28235 |
| 1 | ملصق – حلقات تثبيت الحبل | 40434 |
| 1 | ملصق ــ توصيل الطاقة بالشاحن، 230 فولت | 43658 |
| 1 | ملصق – توصيل الطاقة بالشاحن، 115 فولت | 44980 |
| 3 | ملصق - ربط النقل | 52475 |
| 1 | ملصق – نقطة الرفع | 72086 |
| 2 | ملصق – الأسهم التوجيهية | 72188 |
| 1 | ملصق – الوصول للغرفة | 82473 |
| 1 | ملصق – سلامة الشاحن/البطارية | 82481 |
| 2 | ملصق – اقرأ الدليل | 82487 |
| 1 | ملصق – تعليمات التشغيل وأمان تحرير | 82495 |
| الفرامل | ||
| 1 | تحذير – خطر الاصطدام | 82614 |
| 2 | ملصق – فتحة ونش الشوكة | 82666 |
| 1 |
ملصق - أقصى حد للقوة اليدوية، 200 نيوتن،
CE |
82830 |
| 1 | ملصق – الخفض في حالة الطوارئ | 82836 |
| 1 |
ملصق – الحد الأقصى لقدرة الاستيعاب، 227
كجم، 12-QS وQS-15 |
97834 |
| 1 |
ملصق – الحد الأقصى لقدرة الاستيعاب،
159كجم، QS-20 |
97835 |
| 1 | ملصق – الحد الأقصى لقدرة الاستيعاب، الرف | 97871 |
| الجانبي، 20 كجم، QS-12 وQS-15 وQS |
| الكمية | وصف الملصق | رقم الجزء |
|---|---|---|
| 1 |
ملصق – الحد الأقصى لقدرة الاستيعاب، 45
رطلاً/20 كجم، الأرفف الجانبية |
97872 |
| 1 |
ملصق – الحد الأقصى لقدرة الاستيعاب، درج
الطرود، 68 كجم، QS-12W وQS-15W |
97898 |
| 1 | ملصق – استخدام حبل السلامة | 97899 |
| 1 | ملصق – خطر الصعق بالكهرباء، قابس | 114334 |
| 1 | ملصق – خطر الانقلاب، إنذار الإمالة | 114338 |
| 1 | خطر - خطر الصعق بالكهرباء | 133015 |
| 2 | ملصق ــ مخطط النقل | 133144 |
| 1 | خطر – خطر الانقلاب، البطاريات | 133146 |
| 1 | ملصق – خطر الانقلاب، مفتاح الحد | 133147 |
| 2 | ملصق - خطر الانقلاب، الرف الجانبي | 133498 |
| 4 | ملصق – حمولة العجلات | 133505 |
| 1 | زخرفي – Genie Quick Stock | 133506 |
| 2 | زخرفي – Genie QS-12W | 133510 |
| 2 | زخرفي – Genie QS-15W | 133511 |
| 2 | زخرفي – Genie QS-20W | 133512 |
| 1 |
الحد الأقصى لقدرة الاستيعاب، درج العمل،
68 كجم، 12-QS وQS-15 |
133513 |
| 1 |
الحد الأقصى لقدرة الاستيعاب، درج العمل،
68 كجم، 20-QS |
133514 |
| 1 | ملصق – توقف الطوارئ، التحكم في المنصبة | 137605 |
| 1 | ملصق – لوحة تحكم الأرضية | 137635 |
| 1 | غطاء – لوحة التحكم في المنصبة | 137636 |
| 1 | ملصق – اتجاه القيادة/التوجيه، التحكم | 137656 |
| في المنصبة | ||
| 1 | غطاء – لوحة التحكم في المنصبة | 1256702 |
| 2 | ملصق – Smartlink | 1257923 |
يقدم قسم تعليمات التشغيل التعليمات اللاز مة لكل جانب من جوانب تشغيل الألة. يتحمل المشغل مسئولية انباع جميع قواعد السلامة والتعليمات الموجودة في أدلة المشغل والسلامة والمسئوليات.
يعتبر استخدام الآلة في أي شيء غير رفع أفراد العمل مع ما يخصهم من أدوات ومواد لموقع عمل هوائي أمرًا غير آمن وخطير.
غير مسموح بتشغيل هذه الآلة إلا لأفراد العمل المدربين والمرخصين. في حالة قيام أكثر من مشغل واحد باستخدام الآلة في أوقات متباينة في نفس وردية العمل، فيتعين على كل مشغل أن يكون مؤ هلاً مع اتباع جميع قواعد السلامة والتعليمات الموجودة في دليلي السلامة والمسئوليات. و هذا يعني أن كل مشغل جديد يجب أن يجري فحص ما قبل التشغيل بالإضافة إلى الاختبارات الوظيفية وفحص مكان العمل قبل استخدام الآلة.
اضغط على زر توقف الطوارئ الأحمر إلى وضع إيقاف النشغيل في مفاتيح التحكم الأرضية أو في المنصة لإيقاف جميع وظائف الآلة.
قم بإصلاح أي وظيفة تعمل أثناء الضغط على أي من زري توقف الطوارئ.
اسحب مقبض الخفض في حالة الطوارئ لخفض المنصة.
1 تأكد من أن حز مة البطارية متصلة قبل تشغبل الآلة.
تم إنتاج هذه الألات بطرازين مختلفين من وحدات التحكم في المنصة. استخدم نمط الزر الموجود في وحدات التحكم في المنصة لتحديد أي التعليمات تطبق على الآلة الخاصة بك.
لتحديد وضع المنصة
لتحديد وضع المنصة
التشغيل من الأرض
2 أدر المفتاح الدوار إلى التحكم الأرضى.
والمنصنة إلى وضع التشغيل
يرجى ملاحظة أن وظائف القيادة والتوجيه غير متاحة من أدوات التحكم الأرضية.
Genie. QS™-12W • QS™-15W • QS™-20W
التوقف: أعد مقبض التحكم إلى المركز أو حرر مفتاح تمكين الوظيفة.
استخدم أسهم التوجيه ذات الرموز اللونية الموجودة في مفاتيح تحكم المنصة والمنصة لتحديد اتجاه سير الألة.
يرجى ملاحظة أن سرعة سير الآلة تكون محددة عندما تكون المنصة مرفوعة.
ستؤثر حالة البطارية على أداء الآلة. ستنخفض سرعة قيادة الآلة وسرعة الوظيفة عندما يومض مؤشر مستوى البطارية.
يمكن أن تعمل أدوات التحكم في القيادة في وضعين مختلفين من سرعة القيادة أثناء التواجد في وضع التخزين. عندما يضيء مصباح زر سرعة القيادة، يتم تتشيط وضع سرعة القيادة البطيئة. عندما تتوقف إضاءة مصباح زر سرعة القيادة، يتم تنشيط وضع سرعة القيادة السريعة.
اضغط على زر سرعة القيادة لتحديد سرعة القيادة المطلوبة.
ملاحظة: عند رفع المنصبة، يظل مصباح زر سرعة القيادة في وضع التشغيل دائمًا، مما يشير إلى سرعة قيادة الرفع.
1 اضغط على زر وظيفة الرفع. في شاشة LCD، سوف يتم تشغيل الدائرة الموجودة تحت رمز وظيفة الرفع.
إذا لم يتحرك مقبض التحكم في غضون سبع ثوان من الضغط على زر وظيفة الرفع، سوف تتوقف الدائرة الموجودة تحتّ رمز وظيفة الرفع ولن تعمل وظيفة الرفع. اضغط على زر وظيفة الرفع مرة أخرى.
1 اضغط على زر وظيفة القيادة. في شاشة LCD، سوف يتم تشغيل دائرة تحت رمز وظيفة القيادة.
إذا لم يتحرك مقبض التحكم في غضون سبع ثوانٍ من الضغط على زر وظيفة القيادة، سوف تتوقف الدائرة الموجودة تحت رمز وظيفة القيادة ولن تعمل وظيفة القيادة. اضغط على زر وظيفة القيادة مرة أخرى.
2 أدر عجلات التوجيه باستخدام مفتاح الضغط بالتحكم.
1 اضغط على زر وظيفة القيادة. في شاشة LCD، سوف يتم تشغيل دائرة تحت رمز وظيفة القيادة.
إذا لم يتحرك مقبض التحكم في غضون سبع ثوانٍ من الضغط على زر وظيفة القيادة، سوف تتوقف الدائرة الموجودة تحت رمز وظيفة القيادة ولن تعمل وظيفة القيادة. اضغط على زر وظيفة القيادة مرة أخرى.
اضغط مع الاستمرار على مفتاح تمكين الوظيفة بمقبض التحكم. زيادة السرعة: حرك مقيض التحكم يبطء يعددًا عن المركز .
زيادة السرعة: حرك مقبض التحكم ببطء بعيدًا عن المركز. تقليل السرعة: حرك مقبض التحكم ببطء باتجاه المركز. التوقف: أعد مقبض التحكم إلى المركز أو حرر مفتاح تمكين الوظيفة.
استخدم أسهم التوجيه ذات الرموز اللونية الموجودة في مفاتيح تحكم المنصة والمنصة لتحديد اتجاه سير الآلة.
يرجى ملاحظة أن سرعة سير الألة تكون محددة عندما تكون المنصة مرفوعة.
ستَوْثر حالة البطارية على أداء الآلة. ستنخفض سرعة قيادة الآلة وسرعة الوظيفة عندما يومض مؤشر مستوى البطارية.
يمكن أن تعمل أدوات التحكم في القيادة في وضعين مختلفين من سرعة القيادة أثناء التواجد في وضع التخزين. عندما يضيء مصباح زر سرعة القيادة، يتم تنشيط وضع سرعة القيادة البطيئة. عندما تتوقف إضاءة مصباح زر سرعة القيادة، يتم تنشيط وضع سرعة القيادة السربعة.
اضغط على زر سرعة القيادة لتحديد سرعة القيادة المطلوبة.
ملاحظة: عند رفع المنصة، يظل مصباح زر سرعة القيادة في وضع التشغيل دائمًا، مما يشير إلى سرعة قيادة الرفع.
حدد معدلات الانحدار والميل الجانبي للألة وحدد مستوى الانحدار.
ملاحظة: يخضع معدل الانحدار لأحوال الأرض وقوة الجر المناسبة. اضغط على زر سرعة القيادة حتى تصل إلى وضع سرعة القيادة السريعة.
ستحتاج إلى:
ضع قطعة الخشب على المنحدر.
عند نهاية المنحدر، ضع الميزان على أعلى حافة قطعة الخشب وارفع مؤخرتها إلى أن تصبح قطعة الخشب مستوية.
أثناء الإمساك بقطعة الخشب و هي في حالة الاستواء قم بقياس المسافة الرأسية من أسفل قطعة الخشب إلى الأرض.
اقسم المسافة التي تم قياسها بالمقياس الشريطي (الارتفاع) على طول قطعة الخشب (الميل) واضرب في 100.
مثال:
قطعة الخشب = 3.6 م الميل = 3.6 م الارتفاع = 0.3 م 0.3 م ÷ 3.6 م = 0.080 × 100 = 0.8% درجة
إذا تجاوز المنحدر الحد الأقصى لمعدل انحدار الصعود أو النزول أو الميل الجانبي، فلا بد من رفع الآلة بالونش أو نقلها أعلى المنحدر أو أسفله. راجع قسم النقل والرفع.
إذا كانت شائنة LED الخاصة بأدوات التحكم في المنصة أو شائنة LCDالخاصة بالقراءة التشخيصية لأدوات التحكم في الأرضية تعرض رمز مؤشر تشغيلي مثل LL، فيجب إصلاح حالة الخطأ أو إزالته قبل استئناف تشغيل الآلة. ادفع واسحب زر توقف الطوارئ الأحمر لإعادة ضبط النظام.
قراءة شاشة LED
قراءة شاشة LCD
| أكواد المؤشر ا | لتشغيلي |
|---|---|
| الكود | الحالة |
| LL | عدم الاستواء |
| OL | زيادة حمولة المنصبة |
| СН | تشغيل وضع الشاسيه |
| PHS | ملصق عوامل الحماية من الحفر الدائرية |
| nd | بدون قيادة (خيار) |
للمزيد من المعلومات، يرجى استشارة دليل خدمة Genie المناسب. ويمكن أيضًا مشاهدة الرمز ووصف الرمز في شاشة LCD الخاصة بالتحكم الأرضى.
إذا كانت شائشة للقراءة LED التشخيصية تعرض رمز OL الوامض وتعرض شائشة قراءة التحكم LCD في الأرضية رمز :OL OL: الحمولة الزائدة في المنصة) تشير إلى أن المنصة بها حمولة زائدة وأنه لن يتم تشغيل الوظائف. سوف ينطلق صوت الإنذار.
قراءة شاشة LED
قراءة شاشة LCD
إذا كانت قراءة شاشة LCD الخاصة بأدوات التحكم في الأرضية تعرض Overload Recovery (إصلاح زيادة الحمولة)، فهذا يعني استخدام نظام الخفض في حالة الطوارئ في وقت زيادة حمولة المنصة. للمعلومات حول كيفية إعادة تعيين هذه الرسالة، استشر دليل خدمة Genie المناسب.
_____
حافظ على وجود مسافات أمنة بين المشغل والألة والأشياء الثابتة. احذر من الاتجاه الذي ستسير فيه الآلة عند استخدام أدوات التحكم في المنصة.
استخدم قراءة شاشة LED التشخيصية لتحديد مستوى البطارية.
ملاحظة: عندما يظهر رمز LO الوامض على شاشة للتحكم LED في المنصة، يجب إخراج الآلة من الخدمة وشحنها، وإلا سوف يتم تعطيل جميع وظائف الألة.
أمسك قضيبًا جانبيًا بحرص بيد واحدة. أمسك الفتحة الموجودة في وسط درج العمل باليد الأخرى. ارفع درج العمل حتى يكون مستويًا مع حامل درج العمل. اخفض درج العمل حتى يتم تعشيق دبوس القفل. ملاحظة: يجب أن يكون دبوس القفل معشقًا جيدًا لاستخدام درج العمل المناسب
6 عند الوصول إلى الارتفاع المطلوب، استخدم المقبض السفلي لإدارة الدرج بالكامل إلى وضع أفقي. قم بتعشيق قضيب الدعم مع أسنان القضيب. قم بتعشيق دبوس القفل في وضع القفل.
ملاحظة: يجب أن يكون دبوس القفل معشقًا جيدًا لاستخدام درج العمل المناسب.
تعليمات البطارية والشاحن
انتبه إلى التعليمات التالية والتزم بها: الاتستخدم شاحنًا خارجيًا أو بطارية تعزيز.
استخدم جهد دخل التيار المتردد المناسب لعملية الشحن كما هو موضح على الشاحن.
✓ استخدم البطارية والشاحن المرخصين من Genie فقط.
لا تملأ إلى أقصى مستوى إلى أن تكتمل دورة الشحن. يمكن أن يتسبب تجاوز حد الملء في تدفق حمض البطارية أثناء الشحن. قم بتحييد أحماض البطارية المسكوبة بالماء والصودا الخاصة بالخبز.
توفر شركة Genie معلومات التأمين هذه من باب التوصية. يتحمل السائقون وحدهم مسؤولية التأكد من أن الآلة مؤمنة على النحو الصحيح وأنه قد تم اختيار المقطورة الصحيحة وفقًا لقوانين وزارة النقل بالولايات المتحدة والتنظيمات الأخرى المحلية وسياسة الشركة التي يعملون بها.
O)
بعد تحميل الآلة:
لا يوصى بجر الطراز QS-12W وQS-15W وQS-20W. في حالة ضرورة جر الألة، لا تتجاوز سرعة 3.2 كم/الساعة.
افحص الآلة برمتها للتأكد من عدم وجود أجزاء مرتخية أو غير محكمة الربط. استخدم نقاط الربط الموجودة بالشاسيه للتثبيت في سطح النقل. استخدم السلاسل أو الحزامات لسعة الحمولة المتسعة. استخدم أر 4 من السلاسل أو الأحزمة كحد أدنى. اضبط تجهيزات الربط للوقاية من تلف السلاسل.
الربط في شاحنة أو قاطرة لنقل الآلة
استخدم دومًا وحدة تأمين ملحقة الامتداد عند نقل الألة. أدر المفتاح الدوار لوضع إيقاف التشغيل وانزع المفتاح قبل النقل.
دليل المشغل
تعليمات النقل والتحميل
🗹 يجب استخدام أحبال معتمدة فقط في ربط وتحميل الألة.
أك تأكد من أن سعة المرفاع وأسطح التحميل والسلاسل والأحزمة كافية لمقاومة وزن الآلة. انظر ملصق المسلسل الذي يبين وزن الآلة.
رفع الآلة باستخدام رافعة استخدم عروة الرفع الموجودة في مؤخرة عمود القائم. تأكد من أن القائم منخفض تمامًا. افحص الآلة برمتها وأزل أي أجزاء مرتخية أو غير محكمة الربط. ضع دومًا مشبك الرفع خلال عروة الرفع بحيث يكون اتجاهه في عكس اتجاه الآلة.
تأكد من تأمين أطباق المكونات وأدوات التحكم وملحقة الامتداد. قم بإزالة كافة الأجزاء المفكوكة على الآلة.
اخفض المنصبة تمامًا. يجب أن تظل المنصبة منخفضة أثناء جميع إجر اءات التحميل والنقل.
استخدم فتحات ونش الشوكة الموجودة على جانبي الشاسيه تحت الأغطية.
ضع الرافعة الشوكية في موضع مع جيوب الرافعة الشوكية. قد للأمام حتى المدى الكامل للشوكات. ارفع الآلة على مسافة 15 سم، ثم قم بإمالة الشوكات للوراء قليلاً للحفاظ على تأمين الآلة. تأكد من أن الآلة مستوية عند خفض الشوكات.
إخطار ليمكن أن يؤدي رفع الآلة من الجانب إلى تدمير الخطار المكونات.
تم استخدام الرموز التالية في هذا الدليل للمساعدة على توصيل الهدف من التعليمات. ففي حالة ظهور رمز واحد أو أكثر في بداية إجراء أعمال الصيانة، فإنه يعني المعنى المذكور أدناه.
يشير إلى أنه ستكون هناك حاجة لأجزاء جديدة لأداء هذا الإجراء.
فحص منسوب الزيت الهيدروليكي
تعتبر المحافظة على الزيت الهيدروليكي عند مستوى مناسب أمرًا مهمًا لعمل الآلة. حيث يمكن لمستويات الزيت الهيدروليكي غير المناسبة أن نتسبب في تلف المكونات الهيدروليكية. أما الفحوصات اليومية فتتيح لمن يقوم بالفحص تحديد التغييرات في منسوب الزيت التي يمكن أن تشير إلى وجود مشكلات في النظام الهيدروليكي.
| مواصفات الزيت الهيدروليكي | |
|---|---|
| مكافئ Chevron Rando HD | نوع الزيت الهيدروليكي |
ľ,
تعتبر حالة البطارية المناسبة أمرًا ضروريًا للأداء الجيد للآلة وسلامتها أثناء التشغيل. ويمكن أن تؤدي مستويات السائل غير الصحيحة أو الكابلات والوصلات التالفة إلى تلف المكونات وحالات التعرض للخطر.
ملاحظة: قم بإجراء هذا الاختبار بعد شحن البطاريات تمامًا.
ملاحظة: تساعد إضافة مواد الحفاظ على أطراف التوصيل ومواد الوقاية من الصدأ على إزالة الصدأ والتآكل في أطراف توصيل وكابلات البطارية.
جدول الصيانة
بجب أن بقوم بأعمال الصبانة ربع السنوبة والسنوبة والتي تجري كل
ين من
تخضع للفحص ربع السَّنوي قبل إعادتها للخدمة مرة أخرى.
عامين شخص مدرب ومؤهل لاحراء أعمال الصيانة على هذه الآلة طبقًا
أما الآلات التي تم تسريحها من الخدمة لأكثر من ثلاثة أشهر، فيجب أن
| QS-12W | الطراز |
|---|---|
| 5.3 م | الارتفاع، الحد الأقصى أثناء التشغيل |
| 3.5 م | الحد الأقصى لارتفاع المنصبة |
| 1.57 سم | الارتفاع، الحد الأقصى في وضع التخزين |
| 74.9 سم | العرض |
| 1.35 م | الطول، في وضع التخزين |
| 1.77 م |
الطول مع منصبة الثقاط الحمولة بما في ذلك
الدرج القابل للتعديل |
| 142.2 سم × 74.9 سم |
المنصة مع درج العمل
(الطول × العرض) |
| 227 کجم |
الحد الأقصى لقدرة الاستيعاب
(منصة التقاط بضائع التخزين) |
| 68 کجم |
قدرة الاستيعاب القصوى
(درج العمل أو درج العمل القابل للتعديل) |
| 68 کجم |
قدرة الاستيعاب القصوي
(درج الطرود) |
| 0 سم | نصف قطر الدوران (داخلي) |
| 132.1 سم | نصف قطر الدوران (الخارج) |
| 6.4 سم | الارتفاع عن الأرض |
| 749 کجم | الوزن |
| لملصق التسلسلي الذي يوضح |
(تباين أوزان الآلة مع التكوينات الخيارية. انظر ا
وزن الآلة المحدد.) |
| ، بطاريات، 6 فولت، AH225 | مصدر الطاقة 4 |
| القياسي | مخرج التيار المتردد في المنصة |
| 207 بار | الحد الأقصى للضىغط الـهيدروليكي (الوظائف) |
| 25.4 x 7.6 x 2.5 سم | مقاس الإطار |
| انبعاثات الضوضاء المحمولة جؤا | |
| 70> ديسيبل صوتي | مستوى ضنغط الصوت في المحطة الأرضية |
| 70> ديسيبل صوتي | مستوى ضبغط الصوت في محطة المنصبة |
| ظام اليد/الذراع 2.5 م/ث 2 . | لا تتجاوز قيمة الاهتزاز الكلية التي يتعرض لها ن |
| المرجح الذي يتعرض له الجسم |
أعلى قيمة لجذر متوسط المربع الخاص بالتسارع
لا تتحاوز 0.5 هراث 2 |
| الرابعة | الطبعة | ٠ | الثالث | الإصدار |
|---|---|---|---|---|
| • | . |
| 30% (17°) | الحد الأقصى لمعدل الانحدار ، وضع التخزين |
| 30% (17°) | الحد الأقصى لمعدل الانحدار الجانبي، وضع التخزين |
| جر المناسبة. | ملاحظة: يخضع معدل الانحدار لأحوال الأرض وقوة ال |
| سرعات القيادة | |
| 4.0 كم/ساعة | التخزين، الحد الأقصى |
| 12.2 م/10.9 ٹ | |
| 0.8 كم/ساعة | المنصبة مرفوعة، الحد الأقصبي |
| 12.2 م/55 ٹ | |
| معلومات تحميل الأرضية | |
| 308 کجم | الحد الأقصىي لحمولة الإطار |
| 2 كجم/سم 7.36 | الضبغط الناتج عن احتكاك الإطار |
| 721.3 كىلو باسكال | |
| 936 کجم/م 2 | ضبغط الأرضبية المستخدمة |
| 9.18 كىلو باسكال |
ملاحظة: معلومات حمولة الأرضية تقريبية ولا تشمل التكوينات الخيارية المختلفة. ويجب أن تستخدم فقط مع عوامل السلامة المناسبة.
يعتبر التطوير المتواصل لمنتجاتنا بمثابة السياسة المتبعة لشركة Genie. تخضع مواصفات المنتج للتغيير دون إخطار أو إجبار.
| 30% (17°) | الحد الأقصى لمعدل الانحدار، وضع التخزين |
|---|---|
| 30% (17°) | الحد الأقصى لمعدل الانحدار الجانبي، وضع التخزين |
| جر المناسبة. | ملاحظة: يخضع معدل الانحدار لأحوال الأرض وقوة ال |
| سرعات القيادة | |
| 4.0 كم/ساعة | التخزين، الحد الأقصىي |
| 12.2 م/10.9 ث | |
| 0.8 كم/ساعة | المنصبة مرفوعة، الحد الأقصبي |
| 12.2 م/55 ٹ | |
| معلومات تحميل الأرضية | |
| 327 کجم | الحد الأقصىي لحمولة الإطار |
| 2 كجم/سم 2 | الضغط الناتج عن احتكاك الإطار |
| 763.7 كىلو باسكال | c - |
| 1209 کجم/م 2 | ضبغط الأرضية المستخدمة |
| 11.87 كىلو باسكال |
ملاحظة: معلومات حمولة الأرضية تقريبية ولا تشمل التكوينات الخيارية المختلفة. ويجب أن تستخدم فقط مع عوامل السلامة المناسبة.
يعتبر التطوير المتواصل لمنتجاتنا بمثابة السياسة المتبعة لشركة Genie. تخضع مواصفات المنتج للتغيير دون إخطار أو إجبار.
| QS-15W | الطراز |
|---|---|
| 6.3 م | الارتفاع، الحد الأقصى أثناء التشغيل |
| 4.5 م | الحد الأقصى لارتفاع المنصبة |
| 1.57 م | الارتفاع، الحد الأقصى في وضع التخزين |
| 74.9 سم | العرض |
| 1.35 سم | الطول، في وضع التخزين |
| 1.77 م |
الطول مع منصبة الثقاط الحمولة بما في ذلك
الدرج القابل للتعديل |
| 142.2 سم × 74.9 سم |
المنصبة مع درج العمل
(الطول × العرض) |
| 227 کجم |
الحد الأقصى لقدرة الاستيعاب
(منصة التقاط بضائع التخزين) |
| 68 كجم |
قدرة الاستيعاب القصوى
(درج العمل أو درج العمل القابل للتعديل) |
| 68 كجم |
قدرة الاستيعاب القصوى
(درج الطرود) |
| 0 سم | نصف قطر الدوران (داخلي) |
| 132.1 سم | نصف قطر الدوران (الخارج) |
| 6.4 سم | الارتفاع عن الأرض |
| 1028 کجم | الوزن |
| الملصق التسلسلي الذي يوضح |
(تباين أوزان الآلة مع التكوينات الخيارية. انظر
وزن الآلة المحدد.) |
| 4 بطاريات، 6 فولت، AH225 | مصدر الطاقة |
| القياسي | مخرج التيار المتردد في المنصىة |
| 207 بار | الحد الأقصى للضغط الهيدروليكي (الوظائف) |
| 25.4 x 7.6 x 2.5 سم | مقاس الإطار |
| انبعاثات الضوضاء المحمولة جؤا | |
|
70> ديسيبل
صوتي |
مستوى ضنغط الصوت في المحطة الأرضية |
|
70>دىسىبل
صوتى |
مستوى ضغط الصوت في محطة المنصة |
| نظام اليد/الذراع 2.5 م/ث 2 . | لا تتجاوز قيمة الاهتزاز الكلية التي يتعرض لها |
|
ع المرج
|
أعلى قبمة لجذر متوسط المريع الخاص بالتسار |
اعلى فيمة لجدر منوسط المربع الخاص بالنسارع المرجح الذي ينعر ض لا تتجاوز 0.5 م/ث2.
| QS-20W | الطراز |
|---|---|
| 7.9 م | الارتفاع، الحد الأقصى أثناء التشغيل |
| 6.0 م | الحد الأقصى لارتفاع المنصة |
| 1.98 م | الارتفاع، الحد الأقصى في وضع التخزين |
| 80 سم | العرض |
| 1.35 سم | الطول، في وضع التخزين |
| 1.77 م |
الطول مع منصبة التقاط الحمولة بما في ذلك
الدرج القابل للتعديل |
| 142.2 سم × 74.9 سم |
المنصبة مع درج العمل
(الطول × العرض) |
| 159 كجم |
الحد الأقصى لقدرة الاستيعاب
(منصة التقاط بضائع التخزين) |
| 68 كجم |
قدرة الاستيعاب القصوى
(درج العمل أو درج العمل القابل للتعديل) |
| 0 سم | نصف قطر الدوران (داخلي) |
| 134.6 سم | نصف قطر الدوران (الخارج) |
| 6.4 سم | الارتفاع عن الأرض |
| 1140 کجم | الوزن |
| ِ الملصق التسلسلي الذي يوضح |
(تباين أوزان الآلة مع التكوينات الخيارية. انظر
وزن الآلة المحدد.) |
| 4 بطاريات، 6 فولت، AH225 | مصدر الطاقة |
| القياسي | مخرج التيار المتردد في المنصة |
| 207 بار | الحد الأقصبي للضبغط الهيدروليكي (الوظائف) |
| 25.4 x 7.6 x 2.5 سم | مقاس الإطار |
| البعاثات الضوضاء المحمولة جؤا | |
| 70> دىسىبىل | مستوى ضنغط الصوت في المحطة الأرضية |
| صوتي | |
|
70>دیسیبل
صبوتہ |
مستوى ضنغط الصوت في محطة المنصنة |
| لا تتحاوز قدمة الإهتزاز الكلية التي يتعرض لم | |
| ع المرجح الذي يتعرض له الجسم |
أعلى قيمة لجذر متوسط المربع الخاص بالتسار
الانتحاذ 2.0 / 22 |
| الر ابعة | الطيعة | الثالث • | الاصدار |
|---|---|---|---|
| • • | • | J 1 |
| 30% (17°) | الحد الأقصى لمعدل الانحدار، وضع التخزين |
|---|---|
| 30% (17°) | الحد الأقصى لمعدل الانحدار الجانبي، وضع التخزين |
| بر المناسبة. | ملاحظة: يخضع معدل الانحدار لأحوال الأرض وقوة ال |
| سرعات القيادة | |
| 4.0 كم/ساعة | التخزين، الحد الأقصى |
| 12.2 م/10.9 ث | |
| 0.8 كم/ساعة | المنصبة مرفوعة، الحد الأقصبي |
| 12.2 م/55 ٹ | |
| معلومات تحميل الأرضية | |
| 395 کجم | الحد الأقصبي لحمولة الإطار |
| 9.41 کجم/سم 2 | الضبغط الناتج عن احتكاك الإطار |
| 922.84 كيلو بأسكال | |
| 1,180 کجم/م 2 | ضغط الأرضية المستخدمة |
| 11.57 كىلو باسكال |
ملاحظة: معلومات حمولة الأرضية تقريبية ولا تشمل التكوينات الخيارية المختلفة. ويجب أن تستخدم فقط مع عوامل السلامة المناسبة.
يعتبر التطوير المتواصل لمنتجاتنا بمثابة السياسة المتبعة لشركة Genie. تخضع مواصفات المنتج للتغيير دون إخطار أو إجبار.
www.genielift.com























































Loading...