 
   
| Serienummerintervall | |
|---|---|
| Skong 500 liter | |
| SKUPA SUU IIIEr Från serienr: 61559 | |
| Skopa 800 liter Från serienr: 61557 | |
| Korg för Tegelstenar Från serienr: 52981 | |
| Blandarskopa 250 liter Från serienr: 61523 | |
| Blandarskopa 500 liter Från serienr: 61504 | |
| Manuell Skopa för Betong 500 liter Från serienr: 53019 | Innehåller information | 
| Hydraulisk Skopa för Betong 500 liter Från serienr: 53143 | om Underhåll | 
| Manuell Skopa för Betong 800 liter Från serienr: 52988 | |
| Hydraulisk Skopa för Betong 800 liter Från serienr: 53058 | |
| Första Upplaga | 
Kod 57.0303.5177
Läs, förstå och följ säkerhetsföreskrifterna och driftanvisningarna innan maskinen används. Endast kvalificerad och behörig personal ska arbeta med maskinen. Denna handbok ska förvaras i maskinen under hela dess livslängd.
Om du har frågor kan du kontakta Terexlift.
| Inlednings | sid. | 3 | 
|---|---|---|
| Identifikation Av Tillbehör s | sid. | 5 | 
| Etiketter Och Märkplåtars | sid. | 7 | 
| Säkerhetsföreskrifter s | sid. | 9 | 
| Beskrivning Av Tillbehörs | sid. | 17 | 
| Kontroller s | sid. | 21 | 
| Funktion Och Användning s | id. | 25 | 
| Underhåll s | sid. | 47 | 
| Tekniska Datas | sid. | 51 | 
| Lasttabellers | sid. | 57 | 
| Schemans | id. | 69 | 
| EG-Försäkran Om Överensstämmelse, s | id. | 71 | 
ZONA INDUSTRIALE I-06019 UMBERTIDE (PG) - ITALIEN Telefon +39 075 941811 Fax +39 075 9415382
Telefon: +39 075 9418129 +39 075 9418175
e-mail: UMB.Service@terex.com
Översättning av bruksanvisning i original Första upplaga - Första omtryck, Maj 2011
För att konsultera den elektroniska versionen av denna handbok hänvisas till webbplatsen www.genielift.com/operator_manuals.asp
Copyright © 2011 TEREXLIFT srI - Alla rättigheter är reserverade.
Utförd av: Avdelningen för teknisk dokumentation TEREXLIFT Umbertide (PG) Italien
     
   
     
   
Symboler för fara: Används för att upplysa personalen om en potentiell risk för personskador. Respektera alla säkerhetsföreskrifter som föregås av denna symbol för att undvika allvarliga personskador eller dödsfall.
Grön färg: För att rikta
uppmärksamheten mot viktig information för att värna om miljön.
     
   
     
   
Sidan har lämnats blank med avsikt
     
   
Kontrolleraattbruksanvisningenöverensstämmer med tillbehör som den hänvisar till.
Zona Industriale - I-06019 UMBERTIDE (PG) - ITALIEN
Reg. domstolen i Perugia nr. 4823 CCIAA Perugia nr. 102886
Skattekod och momsnr. 00249210543
Efter riskanalyser av teleskoptrucken har följande standarder tillämpats för att värna om operatörens säkerhet:
| Direktiv | Titel | |
|---|---|---|
| 2006/42/EG | Maskindirektiv | |
| Standard | Titel | |
| EN 1459:1988/A2:20 | 009 Säkerhetskrav på industritruckar. med variabe räckvidd. | Madainatuder | 
På tillbehören sitter märkskylten som visas nedan.
På märkskylten finns följande information ingraverad: modell, benämning, serienummer, vikt, kapacitet och tillverkningsår för tillbehöret.
     
   
     
   
Sidan har lämnats blank med avsikt
     
   
     
   
Genîa
     
   
Sidan har lämnats blank med avsikt
     
   
     
   
På maskinen har säkerhetsanordningar monterats och dessa får inte modifieras eller nedmonteras.
Kontrollera regelbundet att dessa fungerar korrekt.
Avbryt arbetet och byt ut dem om de inte fungerar på ett korrekt sätt.
Angående procedurer för kontroll av säkerhetsanordningar hänvisas till avsnittet "Underhåll" i lyftdonets operatörshandbok.
Lastbegränsningssystemet har tagits fram för att hjälpa operatören att upprätthålla maskinens stabilitet i längdled. När stabiliteten i längdled hotas informeras operatören med ljud- och ljussignaler.
Denna anordning kan dock inte ersätta operatörens erfarenhet: operatören har ansvaret för att åtgärderna utförs under säkra förhållanden och att alla föreskrivna säkerhetsnormer iakttas.
     
   
Försummelse av instruktionerna och säkerhetsföreskrifternaidenna handbok kan leda till dödsfall eller allvarliga personskador.
De flesta olyckor som orsakas av arbetsmaskiner och i samband med underhållsarbeten eller reparationer sker till följd av att man har försummat de mest grundläggande säkerhetsföreskrifterna.
Därför är det nödvändigt att man är uppmärksam på de potentiella risker som maskinens användning innebär och riktar konstant uppmärksamhet till de effekter som maskinens olika rörelser kan orsaka.
Genom att i förväg upptäcka de potentiellt farliga situationerna kan man undvika en olycka!
     
   
Anvisningarna som beskrivs i denna handbok är samma som föreskrivs av TEREXLIFT: Det är möjligt att det finns enklare sätt (som är lika säkra) för att starta maskinen och/eller tillbehöret, arbeta med och reparera tillbehöret, även med hänsyn till utrymmen och tillgängliga hjälpmedel.
Om man vill göra på ett annorlunda sätt än vad som anges i den här handboken måste man tänka på följande:
Det är nödvändigt att operatören som regelbundet eller tillfälligtvis använder maskinen och/eller tillbehöret ska uppfylla följande krav:
han får inte ha intagit alkoholdrycker. läkemedel eller andra ämnen som kan försämra det fysiska och psykiska tillståndet innan arbetet och inte under arbetets gång, eftersom sättet att köra maskinen med tillbehör skulle försämras
god syn, god hörsel, god samordning och kapacitet att på ett säkert sätt utföra alla de funktioner som användningen kräver och som beskrivs i den här handbokon
kapabel att förstå och tillämpa de fastställda normerna, reglerna och säkerhetsvarningarna: vara uppmärksam mot och visa omdöme för sin egen och andras säkerhet: ska utföra arbetet korrekt och anevarefullt
ska vara lugn och kunna hålla igen stressymptom; ska kunna värdera korrekt sina egna fysiska och mentala tillstånd
Operatören ska noggrant ha läst igenom och studerat denna handbok, diagram och bifogade scheman samt etiketter angående varning och fara. Operatören ska vara specialiserad och kompetent inom alla områden som rör funktion och användning av maskinen och/eller tillbehöret.
Det kan hända att lagarna i vissa länder kräver att operatören ska tillhandahålla en licens (eller körkort) för att kunna använda en sådan här tvp av maskin. Användaren är skyldig att informera sia om detta.
Personalen som har i uppdrag att underhålla maskinen och/eller tillbehöret ska ha nödvändig mekanisk behörighet för underhåll av jordförflyttningsmaskiner i allmänhet och ska uppfylla följande obligatoriska krav: fvsiska:
god syn, god hörsel, god samordning och kapabel att på ett säkert sätt utföra alla de funktioner som underhållsarbetet kräver och som beskrivs i den här handboken
kapabel att förstå och tillämpa de fastställda normerna, reglerna och säkerhetsvarningarna; vara uppmärksam mot och visa omdöme för sin egen och andras säkerhet: ska utföra arbetet korrekt och ansvarsfullt
ska ha läst och noggrant studerat den här handboken. de bifogade diagrammen och ritningarna, etiketterna och dekalerna för anvisningar och faror; ska vara specialiserad och kompetent inom alla aspekter som rör maskinens funktion
Det löpande underhållet av maskinen och/eller tillbehöret omfattar inga svåra tekniska ingrepp, och därför är det vanligt att det är operatören som sköter om det. förutsett att denna innehar det nödvändiga mekaniska kunnandet.
Man ska alltid använda följande klädsel och material för olycksskydd under arbetet, under underhållet eller reparationen.
     
   
     
   
Använd endast typgodkänd utrustning och som är i gott skick.
Man ska tillhandahålla följande personliga skyddsutrustning och använda den i de fall det krävs av arbetsförhållandet:
Ha alltid i åtanke egenskaperna till arbetsområdet som man arbetar i:
• Studera arbetsområdet noggrant: jämför det med de olika maskinkonfigurationernas dimensioner.
     
   
Maskinen är inte elektriskt isolerad och ger inget skydd mot kontakt med eller närhet till elektriska ledningar.
Håll alltid minsta säkerhetsavstånd (5 meter i Italien) till elektriska ledningar: både till teleskopbommen och till eventuell upplyft last. Fara för elchock från elstötar.
Flytta dig från maskinen om du kommer i kontakt med spänningsförande ledningar. Personalen på marken eller på maskinen ska inte vidröra eller använda maskinen förrän strömförsörjningen till den elektriska ledningen har kopplats från.
| RISK SKAD FÖRA | FÖR OR V NDE | DÖD E ID KO ELLEI | ELLER NAKT DNING | ALLVAR MED SP AR. | LIG. ÄNN | 4 INGS- | 
|---|---|---|---|---|---|---|
| KONT. ARBE POTEI SPÄNI ARBE | AKTA TE U NTIEL NING TET I | ALLTI TFÖRS .LA FA SFÖRA MED M/ | ID ELB I OMR ROR. I NDE K ASKINI | OLAGET ÅDEN ME (OPPLA I (ABLAR I EN PÅBÖ | INN/ D RÅI NNA RJA: | AN ETT I N S. | 
| LEDN | INGEI | VS SPÄ | NNING | MINIMA | LTA | VSTÅND | 
| 0 | til | 50 | kV | 3.00 | т | 10 ft | 
| 50 | til | 200 | kV | 4.60 | т | 15 ft | 
| 200 | til | 350 | kV | 6.10 | т | 20 ft | 
| 350 | til | 500 | kV | 7.62 | т | 25 ft | 
| 500 | til | 750 | kV | 10.67 | т | 35 ft | 
| 750 | til | 1000 | kV | 13.72 | т | 45 ft | 
     
   
Maskinen får inte användas under åskväder.
     
   
Operatören ska kontrollera siktfältet när gaffeltrucken används.
_____SKOPA - KORG
Innan arbetet påbörjas ska man förbereda sig:
• Först av allt ska man kontrollera att allt underhållsarbete har utförts noggrant och i enlighet med de förutsedda intervallerna.
     
   
Placera maskinen i arbetsställning och var noggrann med att placera den korrekt med hjälp av det avsedda instrumentet med vattenpass till höger om förarsätet.
När man arbetar, underhåller eller reparerar ska man alltid vidta största möjliga försiktighet:
     
   
För att gå upp eller ner från hytten eller från andra höga delar ska man alltid ha näsan mot maskinen och aldrig ha ryggen vänd mot den.
     
   
Kod 57.0303.5177
Ge
     
   
Ingrepp på hydraulsystemet får enbart utföras av auktoriserad personal.
Hydraulsystemet på den här maskinen är försett med tryckackumulatorer som kan sätta personalens säkerhet i fara om de inte tömts helt från tryck innan ingreppet på systemet ifråga påbörjas.
För att tömma ackumulatorerna från tryck räcker det att man trycker ned bromspedalen 8-10 gånger med stillastående maskin.
     
   
     
   
material finns kvar i de utrymmen som innehåller rörliga delar eller där luftflöde ska cirkulera för hyttens luftcirkulation eller för nedkylning.
     
   
     
   
Sidan har lämnats blank med avsikt
     
   
Skopan består av en svetsad stålkonstruktion som är konkavformad och projekterad för att lasta och flytta löst material såsom jord, sand, spannmål och inerta material.
Strukturens viktigaste komponenter består i huvudsak av det främre skärbladet som används för att skära och separera materialet som ska samlas upp av skopan. Den centrala konkava kroppen och de slutna sidoväggarna fylls med materialet som tas upp.
I skopans bakre del sitter två profilerade plattor fastsvetsade i huvudstrukturen. Dessa är projekterade för att kopplas samman med standardutrustningsplattan som sitter på de teleskopiska lyftdonen av typ GTH Med hänsyn till den typiska begränsningen vad gäller max. rotation för utrustningsplattan, har projekteringen av skopan och den mekaniska sammankopplingsplattan optimerats för att uppnå den bästa kompromissen i fråga om förmåga att lasta och lossa material.
Detta tillbehör är projekterat för att flytta lastpallar med tegelstenar och placera dem på fastställd plats på byggarbetsplatsen.
Den består av en huvudkorg som är tillverkad av svetsade fyrkantsstål och stålgaller som förhindrar att skräp av en viss dimension ramlar ned från korgen när den lyfts upp från marken
På korgens högra sida finns en gångjärnsförsedd grind som underlättar lastningen och avlastningen av lastpallarna med tegelstenar.
Grinden kan låsas i stängt läge med därtill avsedd låsregel. Hela buren sitter monterad på en basstruktur bestående av två ihåliga rektangulära balkar som fungerar som instickningszoner för lyftdonets gafflar. Burens längsgående rörelse blockeras med en hakbult när gafflarna har satts in Det är viktigt att fästa hakbulten innan någon typ av rörelse görs med tillbohörot
     
   
     
   
Detta tillbehör sitter fast på lvftdonet med utrustningsplatta B.
     
   
Detta tillbehör fästs på lvftdonet med hiälp av de två ihåliga rektangulära balkar som fungerar som instickningszoner för lyftdonets gafflar A.
Denna skopa är projekterad för att producera mindre mängder betong genom att blanda huvudingredienserna (cement, inerta materia, sand och vatten) och för att tömma (efter blandningen) på fastställd punkt på byggarbetsplatsen. Skopan består i huvudsak av en svetsad stålkonstruktion av konkav form som är projekterad för att före blandningen samla upp inert material cement och sand från marken och sedan blanda dessa ingredienser med vatten för att bereda cementblandningen. Strukturens viktigaste komponenter består i huvudsak av det främre skärbladet som används för att skära och separera materialet som ska samlas upp av skopan. Den centrala konkava kroppen och de slutna sidoväggarna fylls med materialet som tas upp. För blandningen av ingredienserna finns en blandningsskovel som består av svetsade och profilerade plattor som sitter monterade i längdled i förhållande till skopans huvudaxel. Denna skovel roterar på lager som sitter installerade på skopans sidoväggar och drivs av en hydraulisk motor och en reduktionsväxel som sitter utvändigt på skopans högra sidovägg
Efter blandningen töms betongen ut via en särskild lucka på skopans botten som drivs av en mekanism och en hydraulisk cylinder. Blandningsskoveln och luckan för tömning av betongen drivs hydrauliskt från hjälpledningen som finns på skopans ände. Dessa två funktioner kontrolleras av en därtill avsedd fjärrmanöverpanel som även kan manövreras av operatörer utanför förarhytten. Innan blandningen påbörias är det nödvändigt att stänga den övre delen av skopan med det därtill avsedda skyddet. som består av ett stålgaller som sitter fast med gångjärn i skopans bakre del. för att undvika någon tvp av kontakt med delar som är i rörelse. Tack vare gallret kan operatören kontrollera när betongen är klar för att tömmas ut. I skopans bakre del sitter två profilerade plattor fastsvetsade i huvudstrukturen. Dessa är projekterade för att kopplas samman med standardutrustningsplattan som sitter på de teleskopiska lyftdonen av typ GTH.
     
   
     
   
Detta tillbehör sitter fast på lyftdonet med utrustningsplatta B.
Genîe
Skopan består av en svetsad stålkonstruktion av pyramidform som är projekterad för att flytta en mindre mängd betong från en punkt till en annan på en byggarbetsplats och för att tömma ut innehållet på fastställda punkter.
Denna pyramidformade struktur är öppen i den övre änden för att underlätta påfyllningen och har ett tvärsnitt som smalnar av gradvis mot botten för att underlätta tömningen av betongen.
Tömningen sker med hjälp av en därtill avsedd stållucka som sitter på skopans botten. Operatören kan öppna och stänga luckan med en manuell spak eller med en mekanisk led (beroende på modell) som drivs hydrauliskt med hjälpledningen som sitter på bommens ände.
Skopan och luckans öppningsmekanism sitter monterad på en basstruktur bestående av två ihåliga rektangulära balkar som fungerar som instickningszoner för lyftdonets gafflar.
Skopans längsgående rörelse blockeras med en hakbult när gafflarna har satts in. Det är viktigt att fästa hakbulten innan någon typ av rörelse görs med tillbehöret.
     
   
Detta tillbehör fästs på lyftdonet med hjälp av de två ihåliga rektangulära balkar som fungerar som instickningszoner för lyftdonets gafflar A.
Med olämplig användning avses användning av tillbehöret på ett sådant sätt som inte överensstämmer med instruktionerna i denna handbok och som är farlig för dig och andra.
En rigorös respekt för tillverkarens föreskrifter angående användning, underhåll och reparation är grundläggande för att använda tillbehöret på ett korrekt sätt.
     
   
Nedan följer en lista över de vanligaste och farligaste exemplen på olämplig användning av skopa och korg.
Det är dessutom nödvändigt att respektera alla olycksförebyggande föreskrifter, säkerhetsföreskrifter och arbetsmedicin, samt alla trafikregler för körning på allmän väg.
Det är förbjudet att utföra ändringar eller någon typ av ingrepp på maskinen eller tillbehören, förutom de ingrepp som omfattas av normalt underhåll.
Alla modifieringar som utförs på maskinen och/ eller tillbehören som inte utförs av TEREXLIFT eller auktoriserade serviceverkstäder, leder automatiskt till att överensstämmelsen med maskindirektiv 2006/42/EG upphör att gälla.
     
   
I tabellen som följer visas de olika lyftdonsmodellerna av märket Terexlift på vilka det går att montera tillbehören som tas upp i denna handbok:
| Skopa 500 liter | Skopa 800 liter | Korg för Tegelstenar | Blandar- skopa 250 liter | Blandar- skopa 500 liter | Man./Hydr. Skopa för Betong 500 liter | Man./Hydr. Skopa för Betong 800 liter | |
|---|---|---|---|---|---|---|---|
| GTH-2506 | × | × | × | × | × | ||
| GTH-3007 | × | × | × | × | × | ||
| GTH-4013SX GTH-4017SX | × | × | × | × | × | ||
| GTH-4013EX GTH-4017EX | × | × | × | × | × | ||
| GTH-4016SR GTH-4018SR | × | × | × | × | × | 
     
   
     
   
Läs igenom och försäkra dig om att du har förstått den föreberedande kontrollen innan du går vidare till nästa kapitel.
Förberedande kontroll och löpande underhåll av maskinen ska utföras av operatören.
Den förberedande kontrollen är en okulärbesiktning som utförs av operatören före varje arbetspass för att fastställa om det förekommer felfunktioner på lyftdonet och/eller tillbehöret innan funktionstestet utförs.
Syftet med den förberedande kontrollen är dessutom att fastställa om det är nödvändigt att utföra ingrepp för löpande underhåll. Operatören ska endast utföra de löpande underhållsingrepp som specificeras i denna handbok.
Vid skada eller någon typ av ej auktoriserad modifiering i förhållande till de ursprungliga förhållandena ska en skylt sättas upp på lyftdonet och/eller tillbehöret, samt ska dessa sättas ur funktion.
Reparationer på lyftdonet och/eller tillbehöret ska endast utföras av behörig teknisk personal och baserat på tillverkarens tekniska specifikationer. Efter att reparationerna har slutförts ska operatören åter utföra den förberedande kontrollen innan funktionstestet utförs.
Ingreppen för det löpande underhållet ska endast utföras av tekniskt kvalificerad personal, baserat på tillverkarens tekniska specifikationer.
FÖRBEREDANDE KONTROLL
     
   
För underhåll och förberedande kontroll på lyftdonet hänvisas till respektive operatörshandbok som finns inuti förarhytten.
Kontrollera följande komponenter eller områden för att upptäcka eventuella skador, saknade eller felaktigt monterade komponenter och icke auktoriserade modifieringar:
Kontrollera hela strukturen för att upptäcka eventuella:
     
   
Ett däck som exploderar kan leda till allvarliga olyckor; använd inte maskinen om däcken är förstörda, inte korrekt uppumpade eller utslitna.
     
   
Om maskinen ska användas i en marin miljö eller liknande, ska den skyddas med en lämplig saltskyddsbehandling för att undvika att den rostar.
Funktionstestet har tagits fram med syfte att upptäcka eventuella fel innan maskinen används. Operatören ska följa respektive anvisningar för att testa maskinens alla funktioner.
Använd aldrig maskinen om något fel förekommer. Om något fel förekommer ska detta markeras och maskinen sättas ur funktion. Reparationer ska endast utföras av tekniskt kvalificerad personal, baserat på tillverkarens tekniska specifikationer.
Efter att reparationerna har slutförts ska operatören åter utföra den förberedande kontrollen och funktionstestet innan maskinen används.
Läs igenom och försäkra dig om att du har förstått den föreberedande kontrollen innan du går vidare till nästa kapitel.
Gällande lyftdonet:
     
   
Utför alla erforderliga tester för lyftdonet och som listas i respektive operatörshandbok.
     
   
Genom att inspektera arbetsområdet kan operatören fastställa om maskinen kan användas på platsen under säkra förhållanden. Kontrollen ska göras innan maskinen flyttas till arbetsområdet.
Det är operatörens ansvar att informera sig om och komma ihåg vilka faror som kan förekomma på arbetsområdet och därefter vara beredd att undvika dem vid förflyttning, förberedelse och användning av maskinen.
Var uppmärksam på och undvik följande farliga situationer:
     
   
Syftet med detta avsnitt är att steg för steg beskriva för operatören och personal på marken hur lyftdonet utrustat med skop eller korg används.
Både operatören och personal på marken ska uppfylla alla kraven för att manövrera lyftdonet med tillbehör och ha god kännedom om dess funktion före användning.
Denna kunskap är mycket viktig för att använda utrustningen på ett korrekt sätt under arbetet.
     
   
Innan maskinen används ska man undersöka arbetsområdet för att säkerställa att inga risker förekommer. Kontrollera att inga gropar, ostadiga vägbankar eller skräp som kan utgöra en risk för maskinens styrning förekommer.
     
   
Var särskild uppmärksam mot elektriska kablar.
Kontrollera var de finns och säkerställ att ingen del av maskinen arbetar på ett avstånd som är mindre än 6 meter från dessa kablar.
     
   
För att använda maskinen med tillbehör under fullständigt säkra förhållanden är det alltid nödvändigt att kontrollera lastens vikt innan den flyttas.
     
   
BYTE AV TILLBEHÖR
Gör på följande sätt för att byta tillbehöret:
     
   
     
   
När man har bytt redskapet ska man okulärt kontrollera att det är korrekt fastkopplat på bommen innan maskinen används. Ett redskap som inte är korrekt fastkopplat är en fara både för operatören och för eventuella personer eller föremål som befinner sig i närheten.
Gör på följande sätt för att byta tillbehöret:
     
   
1. Reglering av gafflar : Gafflarna ska regleras i breddled för att passa balkarna där de ska stickas in.
Med gafflar av typ FEM:
Med FLYTANDE gafflar:
     
   
Blockera tillbehörets rörelse i längdled med kedjan och hakbulten som sitter på baksidan genom att fästa tillbehöret på gafflarna.
     
   
Stick in gafflarna i skopan för betong med hänsyn till platsen där materialet ska tömmas.
För att använda tillbehöret, är det nödvändigt att utföra den hydrauliska anslutningen enligt anvisningarna som följer nedan:
     
   
Denna hydrauliska anslutning används för att styra tillbehören med olika reglage, t.ex. för att blockera eller lossa redskapen. Detta beskrivs i respektive avsnitt.
     
   
Alla lyftdon är försedda med ett automatiskt system för stabilitetskontroll. Detta system signalerar en gradvis variation av stabiliteten och blockerar maskinen innan läget blir kritiskt. En display som sitter inuti förarhytten visar stabilitetsförhållandet för maskinen och respektive tillbehör.
LLMI/LLMC fungerar enligt gällande specifikationer, under förutsättning att:
LLMI är begränsat till att signalera instabila förhållanden till operatören längs det främre längsgående planet.
I följande fall varnar inte LLMI/LLMC operatören vid tippningsrisk:
Regleringar som påverkare inställningarna av LLMI/ LLMC ska endast utföras av auktoriserad personal.
Systemet för stabilitetskontroll skiljer sig åt beroende på lyftdonets modell och kan enkelt identifieras med typen av display som sitter monterad i förarhytten.
     
   
Vid start tänds kontrollampa 3 , lysdiodsstapel 2 och knapparna 4 och 5 .
Kontrollsystemet utför en felsökning. När maskinen används tänds lysdiodsstapeln 2 gradvis beroende på stabilitetsförhållandena.
     
   
Gröna lysdioder (L1 och L2): Dessa lyser under normala arbetsförhållanden, d.v.s. när procentsatsen tippningsrisk i förhållande till gränsvärdet varierar mellan 0 och 89. Maskinen är stabil.
Orange lysdioder (L3 och L4): Dessa tänds när maskinen är i närheten av det instabila gränsvärdet: Procentsatsen tippningsrisk i förhållande till gränsvärdet varierar mellan 90 och 99. Systemet växlar över till förlarmsläge: Det hörs upprepade signaler och rörelserna för utdragning och sänkning av bommen och tippning av gafflarna framåt bromsas ned.
Röda lysdioder (L5 och L6): Tippningsrisk! Procentsatsen tippningsrisk i förhållande till gränsvärdet är över 100.
Maskinen försätts i larmläge . En oavbruten ljudsignal hörs och alla farliga rörelser blockeras: Lyft av bommen, sänkning av bommen, utdragning samt tippning framåt med gafflarna. Endast manövrer som hämtar in lasten inom säkerhetsgränsvärdena är tillåtna.
Lastbegränsarenärförseddmedettfelsökningssystem som upptäckerfel på omvandlaren, brott på kablar och fel på elektroniska system. När ett fel upptäcks försätts lastbegränsaren i ett säkerhetsläge och blockerar farliga manövrer. Lysdioden L6 börjar att blinka för att indikera en larmkod. Koderna för eventuella fel som påträffas beskrivs i avsnittet "Felfunktion och felsökning" i lyftdonets operatörshandbok.
     
   
Innan maskinen används ska du försäkra dig om att den första gröna stabilitetslampan är tänd.
     
   
Stabilt förhållande. Lasten som lyft överstiger inte 90 % av tillåten last enligt tabellen i respektive arbetsposition.
Förlarmsläge. Lasten som lyfts överstiger 90 % av max. tillåten last, men är under 100 %. Bommens rörelser bromsas in och en rad korta pipljud signaleras.
Larmsituation. Lasten som lyfts väger mer än max. tillåten last. Ett långt pipljud hörs och maskinens rörelser blockeras, förutom rörelserna som drar tillbaka lasten till ett stabilt läge för maskinen.
Lastbegränsarens panel är uppdelad i tre sektioner:
Sektion för lysdioder: Det finns tre lysdioder som indikerar de olika driftförhållandena:
| 1 | 55% | 
|---|---|
| 2 | FORKS | 
| 3 | OUTRIGGERS LATERAL | 
| 4 | MAX LOAD 50.3t | 
| 5- | RAISED LOAD 10.2t | 
| 6 | -ANGLE 12.3° | 
| 7 | EXTENSION 12.3m | 
| 8 | RADIUS 7m | 
| fig. A | 
     
   
     
   
Innan maskinen används ska du kontrollera att den första gröna lysdioden lyser, samt att driftläget som anges på rad 3 och typen av tillbehör som anges på rad 2 motsvarar de som för tillfället används.
Lasttabellen 1 indikerar max. tillåten last i förhållande till boomens utdragning och typen av påmonterat redskap som används. För att arbeta under säkra förhållanden hänvisas alltid till dessa tabeller.
Längden utdragen bom markeras med bokstäverna (A, B, C, D och E) som har målats på själva bommen
(pos.3), medan armens lutningsvinkel visas på vinkelmätaren 2.
Alla lasttabeller sitter på en specifik hållare ovanför instrumentpanelen i förarhytten.
Fliken 4 som sitter högst upp på varje lasttabell anger typen av redskap som används.
     
   
Tabellerna som visas här är endast exempel. För att fastställa lastgränser hänvisas endast till de tabeller som finns i maskinens förarhytt.
     
   
Tabellerna som sitter i förarhytten gäller en stillastående maskin som står på stadig och nivellerad mark.
     
   
Lasttabellerna som ska användas för manuell och hydraulisk betongskopa och korgen för tegelstenar är desamma som för GAFFLAR.
     
   
Manöverdon GTH-2506 och GTH-3007
     
   
Innan materialet töms ut ska du försäkra dig om att inga personer finns inom maskinens aktionsradie.
För lastningen eller tömning av material:
     
   
     
   
     
   
Innan materialet töms ut ska du försäkra dig om att inga personer finns inom maskinens aktionsradie.
För lastningen eller tömning av material:
     
   
     
   
Innan materialet töms ut ska du försäkra dig om att inga personer finns inom maskinens aktionsradie.
För lastningen eller tömning av material:
     
   
     
   
Manöverdon GTH-4016SR och GTH-4018SR
     
   
Innan materialet töms ut ska du försäkra dig om att inga personer finns inom maskinens aktionsradie.
För lastningen eller tömning av material:
     
   
     
   
Respektera följande anvisningar:
     
   
A
För användning av detta tillbehör och respektive fjärrkontroll hänvisas till därtill avsedd handbok.
Respektera följande anvisningar:
     
   
För användning av detta tillbehör och respektive fjärrkontroll hänvisas till därtill avsedd handbok.
     
   
MANÖVERDON för HYDRAULISK BETONGSKOPA
Manöverdon GTH-2506 och GTH-3007
     
   
Innan betongen töms ut ska du försäkra dig om att inga personer finns inom maskinens aktionsradie.
Öppna eller stänga tömningsluckan:
     
   
SKOPA - KORG
     
   
Innan betongen töms ut ska du försäkra dig om att inga personer finns inom maskinens aktionsradie.
     
   
     
   
Innan betongen töms ut ska du försäkra dig om att inga personer finns inom maskinens aktionsradie.
Öppna eller stänga tömningsluckan:
     
   
     
   
Innan betongen töms ut ska du försäkra dig om att inga personer finns inom maskinens aktionsradie
Öppna eller stänga tömningsluckan:
     
   
     
   
LASTNING AV TILLBEHÖR
     
   
Operatören ska kontrollera siktfältet när gaffeltrucken används.
     
   
• När skopan används rekommenderas att endast fylla skopan med fullständigt indragen bom och köra mot högen som ska lastas med raka hiul.
     
   
• Man ska närma sig vinkelrätt mot lasten som ska hanteras och kontrollera med hiälp av vattenpasset att maskinen är korrekt parallellförd.
     
   
     
   
Om det lastas runda produkter eller föremål i skopan, som t.ex. oljefat o.s.v., ska dessa material fästas med vairar eller remmar. Dessutom ska maskinen köras med låg hastighet.
     
   
Inte lämplig för grävning i marken.
     
   
Använd inte skopan för att lyfta eller transportera personer.
     
   
     
   
     
   
Potentiell risk för att löst material ramlar ut!
     
   
Korgen för tegelstenar är projekterad för flytt av lastpallar med tegelstenar. KORGEN FÅR INTE UNDER NÅGRA OMSTÄNDIGHETER ANVÄNDAS SOM EN PERSONLIFT! Använd inte korgen för att lyfta eller transportera personer!
     
   
     
   
SKOPA - KOBG
     
   
För användning av detta tillbehör och respektive fjärrkontroll hänvisas till därtill avsedd handbok.
     
   
• Häll i betongen i den övre änden.
     
   
När materialet har lastats ska du ta hänsyn till följande anvisningar:
     
   
     
   
• Vid körning i nedförsbackar med lastat tillbehör ska maskinen alltid köras bakåt.
     
   
Vid körning i uppförsbackar med tom tillbehör ska maskinen alltid köras bakåt.
     
   
• Vid körning i nedförsbackar med tom tillbehör ska maskinen alltid köras framåt.
     
   
Innan en last lyfts upp ska du välja en plats där den ska ställas ned. Iordningställandet av denna plats beror på typen av last.
     
   
     
   
Lossa tillbehöret från lyftdonet på följande sätt:
     
   
Tillbehöret kan flyttas med respektive lyftdon eller med lvftdon med gafflar av lämplig kapacitet.
Vid slutet av varje arbetsdag, varje skift eller i varje fall inför nattens avbrott ska maskinen parkeras på ett sätt så att den inte utgör en fara.
Vidta alla försiktighetsåtgärder för att undvika faror för de personer som närmar sig den när den inte är i drift:
Om maskinen och/eller tillbehöret inte ska användas under en längre tid, förutom anvisningarna vid kortare stopp, ska även följande rekommendationer följas:
Tvätta maskinen noggrant. Till detta ändamål rekommenderas att avlägsna skyddsgaller och huvar för att erhålla ett bättre resultat.
     
   
Använd inte bensin, lösningsmedel eller andra lättantändliga vätskor som rengöringsmedel. Använd i stället rekommenderade giftfria och flamsäkra lösningsmedel som säljs i handeln. Om tryckluft används, bär skyddsglasögon och andningsmask för att skydda luftvägarna. Om en vattenstråle används ska denna inte riktas mot elektriska delar.
     
   
Kom ihåg att det löpande underhållet ska utföras regelbundet även när maskinen och/ eller tillbehöret står stilla för ett långvarigt uppehåll med särskild uppmärksamhet till vätskorna och alla förslitningskomponenter. Innan maskinens och/eller tillbehörets drift återupptas rekommenderas det att utföra ett extra underhållsingrepp och noggrant kontrollera alla mekaniska, hydrauliska och elektriska komponenter.
När maskinen eller tillbehöret inte längre ska användas får inga delar lämnas i miljön. Vänd dig i stället till specialiserade företag för kassering av delarna i enlighet med gällande bestämmelser.
Bortskaffning av batteri
     
   
Förbrukade blybatterier ska inte slängas tillsammans med det normala fasta industriavfallet eftersom de är sammansatta av giftigt materia. Dessa ska i stället sorteras, deponeras och/eller återvinnas i enlighet med medlemsstaternas lagar.
Det använda batteriet ska placeras på en torr och isolerad plats. Kontrollera att även batteriet är torrt och att elementens lock är ordentligt slutna. Sätt en varningsskylt på batteriet som upplyser om att användningen är förbjuden. Om batteriet lämnas utomhus innan det deponeras ska detta torkas och man ska stryka ett lager fett
på boxen och på elementen och stänga locken på själva elementen. Låt det inte ligga direkt på marken; det bästa är att förvara det på träbrädor eller på ett bord och att eventuellt täcka över
eller på ett bord och att eventuellt tacka over det. Deponeringen av batteriet ska ske så snart som möjligt.
Denna symbol indikerar intervallet för underhållsingreppen i drifttimmar.
Ett noggrant och periodiskt underhåll kan garantera operatören en alltid pålitlig och säker maskin.
Därför rekommenderas det att tvätta, smörja och utföra ett korrekt underhåll på maskinen efter att den har arbetat under särskilt svåra förhållanden (lerig eller dammig mark, kraftigt arbete etc.).
Kontrollera alltid att alla delar är i gott skick, att inga oljeläckor förekommer, att skydden och säkerhetsanordningarna är funktionsdugliga och vid behov sök efter felet och återgärda det.
Det löpande underhållet baseras även på maskinens arbetstimmar; kontrollera därför timmätaren och håll den funktionsduglig för att kunna fastställa underhållsintervallen.
Vid försummelse av dessa regler rörande det löpande underhållet som anges i den här handboken upphävs automatiskt garantin från TEREXLIFT.
Det är förbjudet att utföra ändringar eller någon typ av ingrepp på maskinen eller tillbehören, förutom de ingrepp som omfattas av normalt underhåll. Alla modifieringar som utförs på maskinen och/ eller tillbehören som inte utförs av TEREXLIFT eller auktoriserade serviceverkstäder, leder automatiskt till att överensstämmelsen med maskindirektiv 2006/42/EG upphör att gälla.
     
   
En långvarig kontakt med oljor kan orsaka hudirritationer. Därför rekommenderas det att använda gummihandskar och skyddsglasögon. Efter att man har hanterat oljor rekommenderas det att noggrant tvätta händerna med tvål och vatten.
Förvara alltid smörjmedlen på en stängd plats och utom räckhåll för barn. Förvara aldrig smörjmedlen på öppen plats och utan en etikett som anger innehållet.
Olja som hälls ut i naturen, oavsett om ny eller använd, är mycket förorenande!
Konservera den nya oljan noggrant, och den slutanvända oljan ska konserveras i för ändamålet avsedda behållare för att sedan deponeras till de specifika återvinningsplatserna.
Om man oavsiktligt skulle spilla ut olja ska man låta den sugas upp med hjälp av sand eller en godkänd typ av granulat.
Samla in den massa som erhålls och deponera den som kemiskt avfall.
Vid brand ska man använda kolsyresläckare med pulver eller skum. Använd inte vatten.
Ett felaktigt eller bristfälligt underhåll kan göra maskinen och tillbehöret farligt för operatören och personer som befinner sig i dess närhet. Underhåll och smörjning ska utföras regelbundet enligt tillverkarens anvisningar för att upprätthålla maskinen och tillbehöret effektivt och säkert. Underhållsingreppen ska utföras i förhållande till maskinens och tillbehörets drifttimmar. Kontrollera timmätaren och håll den funktionsduglig för att kunna fastställa underhållsintervallen korrekt. Säkerställ att alla fel som upptäckts under underhållsarbetet åtgärdats innan maskinen tas i bruk på nytt.
     
   
     
   
Alla underhållsingrepp ska utföras med avstängd motor, ilagd parkeringsbroms, arbetskomponenter helt sänkta till marken och växeln i friläge.
     
   
Ingrepp på hydraulsystemet får enbart utföras av auktoriserad personal.
Hydraulsystemet på den här maskinen är försett med tryckackumulatorer som kan sätta personalens säkerhet i fara om de inte tömts helt från tryck innan ingreppet på systemet ifråga påbörjas.
För att tömma ackumulatorerna från tryck räcker det att trycka ned bromspedalen 8-10 gånger med avstängd motor.
     
   
Innan ingrepp på ledningar eller på hydrauliska komponenter påbörjas ska man vara säker på att inget tryck finns kvar i anläggningen. För att säkerställa detta ska man, efter att motorns stängts av och parkeringsbromsen aktiverats, manövrera fördelarnas styrspakar (omväxlande i de olika körriktningarna) för att avlägsna allt tryck ur den hydrauliska kretsen.
     
   
Högtrycksledningarna får enbart bytas ut av särskilt kvalificerad personal.
Smuts som kommer in i den slutna kretsens cirkulation kan orsaka att transmissionen plötsligt förstörs.
     
   
Den kvalificerade personalen som ingriper på hydraulkretsen ska utföra en mycket noggrann rengöring av de närliggande områdena innan ingreppet påbörjas.
     
   
Manipulering och deponering av använda oljor kan vara förordnade av nationella och regionala normer eller lagar. Vänd er till auktoriserade deponeringsanläggningar.
När någon typ av reparations- eller underhållsingrepp ska utföras, och i synnerhet om svetsningar ska utföras på maskinen, är det nödvändigt att koppla från batteriets huvudströmbrvtare som sitter i motorrummet.
     
   
     
   
Sidan har lämnats blank med avsikt
     
   
     
   
     
   
     
   
     
   
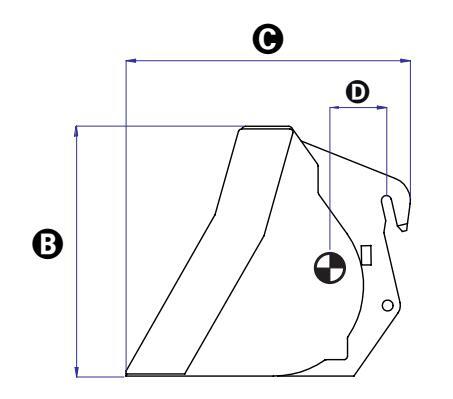
| TEKNISKA DATA | |||||
|---|---|---|---|---|---|
| Bredd | 2036 mm | ||||
| ₿ | Höjd | 810 mm | |||
| Θ | Längd | 980 mm | |||
| Vikt | 355 kg | ||||
| Tillbehörets kapacitet | 500 L | ||||
| D | Tyngdpunkt | 360 mm | |||
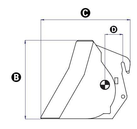
| TEKNISKA DATA | ||||
|---|---|---|---|---|
| A | Bredd | 2036 mm | ||
| ₿ | Höjd | 940 mm | ||
| Θ | Längd | 1175 mm | ||
| Vikt | 420 kg | |||
| Tillbehörets kapacitet | 800 L | |||
| D | Tyngdpunkt | 485 mm | ||
     
   
     
   
     
   
     
   
| TEKNISKA DATA | ||||||
|---|---|---|---|---|---|---|
| Bredd | 2435 mm | |||||
| ₿ | Höjd | 940 mm | ||||
| Θ | Längd | 1070 mm | ||||
| Vikt | 450 kg | |||||
| Tillbehörets kapacitet | 800 L | |||||
| D | Tyngdpunkt | 440 mm | ||||
| TEKNISKA DATA | ||||
|---|---|---|---|---|
| A | Bredd | 2435 mm | ||
| € | Höjd | 1170 mm | ||
| Θ | Längd | 1140 mm | ||
| Vikt | 510 kg | |||
| Tillbehörets kapacitet | 800 L | |||
| D | Tyngdpunkt | 420 mm | ||
• kod 59.0401.2003 för GTH-2506 och GTH-3007
kod 59.0401.2002 för GTH-4013SX, GTH-4013EX, GTH-4017SX, GTH-4017EX, GTH-4016SR och GTH-4018SR
     
   
     
   
| ſ | A | ) | - | 
|---|
     
   
| TEKNISKA DATA | |||||
|---|---|---|---|---|---|
| Bredd | 1506 mm | ||||
| ₿ | Höjd | 840 mm | |||
| Θ | Längd | 795 mm | |||
| Vikt | 460 kg | ||||
| Tillbehörets kapacitet | 250 L | ||||
| D | Tyngdpunkt | 470 mm | |||
| Max. hydraulisk kapacitet (l/min)/(bar) 65 | |||||
| TEKNISKA DATA | |||
|---|---|---|---|
| A | Bredd | 1650 mm | |
| € | Höjd | 990 mm | |
| Θ | Längd | 880 mm | |
| Vikt | 550 kg | ||
| Tillbehörets kapacitet | 450 L | ||
| D | Tyngdpunkt | 415 mm | |
| Max (I/mi | . hydraulisk kapacitet n)/(bar) | 60/220 | |
Kod 57.0303.5177
Genîc
MANUELL SKOPA FÖR BETONG 500 LITER kod 59.0400.0000 för ALLA MODELLER
     
   
| TEKNISKA DATA | |||||||
|---|---|---|---|---|---|---|---|
| Bredd | 1110 mm | ||||||
| ₿ | Höjd | 1320 mm | |||||
| Θ | Längd | 1110 mm | |||||
| Vikt | 230 kg | ||||||
| Tillbehörets kapacitet | 500 L | ||||||
| D | Tyngdpunkt | 700 mm | |||||
     
   
| TEKNISKA DATA | ||||
|---|---|---|---|---|
| Bredd | 1110 mm | |||
| ₿ | Höjd | 1320 mm | ||
| Θ | Längd | 1110 mm | ||
| Vikt | 244 kg | |||
| Tillbehörets kapacitet | 500 L | |||
| D | Tyngdpunkt | 700 mm | ||
| Max. hydraulisk kapacitet (l/min)/(bar) | 65/250 | |||
| TEKNISKA DATA | ||||
|---|---|---|---|---|
| A | Bredd | 1110 mm | ||
| ₿ | Höjd | 1520 mm | ||
| Θ | Längd | 1110 mm | ||
| Vikt | 250 kg | |||
| Tillbehörets kapacitet | 800 L | |||
| D | Tyngdpunkt | 750 mm | ||
     
   
| TEKNISKA DATA | ||||
|---|---|---|---|---|
| Bredd | 1110 mm | |||
| ₿ | Höjd | 1520 mm | ||
| Θ | Längd | 1110 mm | ||
| Vikt | 264 kg | |||
| Tillbehörets kapacitet | 800 L | |||
| D | Tyngdpunkt | 750 mm | ||
| Max. hydraulisk kapacitet (I/min)/(bar) | 60/220 | |||
Kod 57.0303.5177
■ KORG FÖR TEGELSTENAR
• kod 59.0400.7000 för ALLA MODELLER
     
   
     
   
| TEKNISKA DATA | ||||
|---|---|---|---|---|
| Bredd | 800 mm | |||
| 6 | Höjd | 1150 mm | ||
| Θ | Längd | 1110 mm | ||
| Vikt | 120 kg | |||
| Tillbehörets kapacitet | 500 L | |||
| D | Tyngdpunkt | 550 mm | ||
     
   
     
   
Kapaciteten beräknas genom att lägga till det transporterade materialets (t.ex. tegel, betong o.s.v.) vikt till tillbehörets vikt.
     
   
GTH-3007 MED SKOPA OCH BLANDARSKOPA
     
   
Kapaciteten beräknas genom att lägga till det transporterade materialets (t.ex. tegel, betong o.s.v.) vikt till tillbehörets vikt.
     
   
GTH-4013SX OCH GTH-4013EX MED SKOPA OCH BLANDARSKOPA
     
   
     
   
     
   
Kapaciteten beräknas genom att lägga till det transporterade materialets (t.ex. tegel, betong o.s.v.) vikt till tillbehörets vikt.
     
   
GTH-4017SX OCH GTH-4017EX MED SKOPA OCH BLANDARSKOPA
     
   
     
   
     
   
Kapaciteten beräknas genom att lägga till det transporterade materialets (t.ex. tegel, betong o.s.v.) vikt till tillbehörets vikt.
Genîe
GTH-4016SR MED SKOPA OCH BLANDARSKOPA
     
   
     
   
Kapaciteten beräknas genom att lägga till det transporterade materialets (t.ex. tegel, betong o.s.v.) vikt till tillbehörets vikt.
Kod 57.0303.5177
GTH-4018SR MED SKOPA OCH BLANDARSKOPA
     
   
     
   
     
   
Kapaciteten beräknas genom att lägga till det transporterade materialets (t.ex. tegel, betong o.s.v.) vikt till tillbehörets vikt.
Genîe
     
   
     
   
     
   
GTH-3007 MED KORG FÖR TEGELSTENAR OCH SKOPA FÖR BETONG
     
   
     
   
Kapaciteten beräknas genom att lägga till det transporterade materialets (t.ex. tegel, betong o.s.v.) vikt till tillbehörets vikt.
     
   
■ GTH-4013SX OCH GTH-4013EX MED KORG FÖR TEGELSTENAR OCH SKOPA FÖR BETONG
     
   
     
   
     
   
Kapaciteten beräknas genom att lägga till det transporterade materialets (t.ex. tegel, betong o.s.v.) vikt till tillbehörets vikt.
     
   
■ GTH-4017SX OCH GTH-4017EX MED KORG FÖR TEGELSTENAR OCH SKOPA FÖR BETONG
     
   
     
   
Kapaciteten beräknas genom att lägga till det transporterade materialets (t.ex. tegel, betong o.s.v.) vikt till tillbehörets vikt.
     
   
     
   
Kapaciteten beräknas genom att lägga till det transporterade materialets (t.ex. tegel, betong o.s.v.) vikt till tillbehörets vikt.
Kod 57.0303.5177
■ GTH-4018SR MED KORG FÖR TEGELSTENAR OCH SKOPA FÖR BETONG
     
   
Kapaciteten beräknas genom att lägga till det transporterade materialets (t.ex. tegel, betong o.s.v.) vikt till tillbehörets vikt.
Genie
ENDAST för Hydraulisk Skopa för Betong
     
   
ENDAST för Blandarskopa
     
   
Tillverkare och person som är behörig att sammanställa den tekniska dokumentationen
TEREXLIFT s.r.I. Zona Industriale Buzzacchero 06019 Umbertide (PG) Italia Vi förklarar att följande maskin Benämning: Höjningsbar och rörlig arbetsplattform (PLE) Funktion: Lyfta av personer och föremål Modell: XXXXX Serienummer: XXXXX Överensstämmer med alla bestämmelser i Maskindirektiv 2006/42/EG bilaga IV Har erhållit certifikat typ CE nr. XXXXXXXX utfärdat av följande erkänd myndighet XXXXX Överensstämmer dessutom med följande europeiska standard, nationell lagstiftning och tekniska specifikationer: EN 280/A2:2009
     
   








































































 Loading...
 Loading...