 
   
| Intervallo di matricola | |
|---|---|
| Benna 500 litri Da matr. nº: 61559 | |
| Benna 800 litri Da matr. nº: 61557 | |
| Cestello per Mattoni Da matr. nº: 52981 | |
| Benna Miscelatrice 250 litri Da matr. nº: 61523 | |
| Benna Miscelatrice 500 litri Da matr. nº: 61504 | |
| Benna Calcestruzzo Man. 500 litri Da matr. nº: 53019 | Contiene informazion | 
| Benna Calcestruzzo Idr. 500 litri Da matr. nº: 53143 | sulla Manutenzione | 
| Benna Calcestruzzo Man. 800 litri Da matr. nº: 52988 | |
| Benna Calcestruzzo Idr. 800 litri Da matr. nº: 53058 | |
| Prima Edizione | |
| Prima Ristampa | 
Codice 57.0303.5173
Leggere, comprendere e seguire le norme di sicurezza e le istruzioni di funzionamento prima di utilizzare la macchina. Solo il personale qualificato ed autorizzato dovrebbe poter operare con la macchina. Questo manuale deve essere custodito nella macchina per tutto il tempo.
Per eventuali chiarimenti, rivolgersi a Terexlift.
| Introduzione | Pag. | 3 | 
|---|---|---|
| Identificazione Degli Accessori | Pag. | 5 | 
| Etichette E Targhe Applicate | Pag. | 7 | 
| Norme Di Sicurezza | Pag. | 9 | 
| Descrizione Degli Accessori | Pag. | 17 | 
| Verifiche | Pag. | 21 | 
| Funzionamento E Uso | Pag. | 25 | 
| Manutenzione | Pag. | 47 | 
| Dati Tecnici | Pag. | 51 | 
| Tabelle Di Carico | Pag. | 57 | 
| Schemi | Pag. | 69 | 
| Dichiarazione Di Conformità CE | Pag. | 71 | 
ZONA INDUSTRIALE I-06019 UMBERTIDE (PG) - ITALY Telefono +39 075 941811 Telefax +39 075 9415382
Telefono: +39 075 9418129 +39 075 9418175
e-mail: UMB.Service@terex.com
Istruzioni Originali Prima Edizione - Prima Ristampa, Giugno 2011
Per consultare la versione elettronica di questo manuale visitare il sito www.genielift.com/operator_manuals.asp
© Copyright 2011 TEREXLIFT srI Tutti i diritti riservati.
Realizzazione: Ufficio Documentazione Tecnica TEREXLIFT Umbertide (PG) Italia
     
   
     
   
Simbolo di pericolo: viene . utilizzato per avvisare il personale di un potenziale pericolo di lesioni personali. . Rispettare tutti ali avvisi di sicurezza che seguono questo simbolo per evitare il pericolo di gravi lesioni personali o di morte.
Di colore rosso: indica la presenza di una situazione di , pericolo imminente che. se non evitata, può provocare gravi lesioni personali o la morte.
presenza di una situazione . di potenziale pericolo che. se non evitata, può provocare gravi lesioni personali o la morte.
Di colore giallo con il simbolo di pericolo: indica la presenza di una situazione di potenziale pericolo che, se non evitata, può provocare lesioni di minore o moderata gravità.
ATTENZIONE Di colore blu: indica la presenza di una situazione di potenziale pericolo che, se non evitata, , può provocare danni alla macchina e agli impianti.
Di colore verde: per attirare l'attenzione verso importanti informazioni per il rispetto dell'ambiente.
     
   
Pagina lasciata intenzionalmente bianca
     
   
Verificare che il Manuale dell'Operatore sia corrispondente all'accessorio cui si fa riferimento.
Zona Industriale - I-06019 UMBERTIDE (PG) - ITALIA Reg. Tribunale di Perugia n. 4823 C.C.I.A.A. 102886
Codice Fiscale e Partita IVA 00249210543
Per la sicurezza dell'operatore, nell'analisi dei rischi del sollevatore con braccio telescopico, sono state considerate, per gli aspetti di pertinenza, le seguenti norme:
| Direttiva | Titolo | 
|---|---|
| 2006/42/CE | Direttiva Macchine | 
| Norma | Titolo | 
EN 1459:1988/A2:2009 Sicurezza dei carrelli industriali. Carrelli semoventi a braccio telescopico.
Sugliaccessori è applicata la targhetta di identificazione mostrata di seguito.
Nella targhetta di identificazione sono stampigliati modello, denominazione, numero di serie, peso, portata ed anno di fabbricazione dell'accessorio.
     
   
     
   
Pagina lasciata intenzionalmente bianca
     
   
     
   
     
   
Pagina lasciata intenzionalmente bianca
     
   
     
   
Sulla macchina sono stati montati dispositivi di sicurezza che non devono essere manomessi o smontati.
Effettuare controlli periodici sulla loro efficienza. Nel caso che non siano efficienti fermare il lavoro e provvedere alla loro sostituzione.
Per le modalità di verifica dei dispositivi di sicurezza consultare il cap. "Manutenzione" del Manuale dell'Operatore del sollevatore.
Il sistema limitatore di carico è stato sviluppato per aiutare l'Operatore a mantenere la stabilità longitudinale della macchina avvertendo con segnalazioni visive ed acustiche l'approssimarsi del limite di stabilità longitudinale.
Tuttavia tale dispositivo non può sostituire la buona esperienza dell'operatore: la responsabilità delle operazioni in sicurezza rimangono a cura dell'operatore ed all'osservanza di tutte le norme di sicurezza prescritte.
     
   
La mancata osservanza delle istruzioni e norme sulla sicurezza contenute nel presente manuale può provocare lesioni gravi o mortali.
In mancanza dei seguenti requisiti, non utilizzare l'accessorio:
La maggior parte degli incidenti che derivano dall'uso delle macchine operatrici e dalla loro manutenzione o riparazione hanno alla loro origine la mancata osservanza delle più basilari precauzioni di sicurezza. È dunque necessario rendersi sempre più sensibili nei confronti dei rischi potenziali insiti nell'uso della macchina, prestando costante attenzione agli effetti che potrebbero derivare da ogni azione compiuta sulla macchina stessa.
Riconoscendo in anticipo le situazioni potenzialmente pericolose si può evitare un incidente!
     
   
Le istruzioni riportate in questo manuale sono quelle previste da TEREXLIFT: non è escluso che vi siano modi più convenienti ed altrettanto sicuri per mettere in servizio la macchina e/o l'accessorio, lavorarci e ripararli, anche tenendo conto degli spazi e dei mezzi ausiliari disponibili.
Se, comunque, si intendesse procedere diversamente rispetto a quanto riportato in questo manuale, occorre tassativamente:
L'operatore che usa abitualmente o saltuariamente la macchina e/o l'accessorio deve rispondere obbligatoriamente ai seguenti requisiti:
prima e durante il lavoro non deve assumere alcolici, farmaci o altre sostanze che possano alterare le sue condizioni psico-fisiche e, conseguentemente, la sua attitudine a condurre la macchina con accessorio.
buona vista, buon udito, buona coordinazione e capacità di eseguire in modo sicuro tutte le funzioni richieste per l'uso, come specificato in questo manuale.
capacità di comprendere ed applicare le norme stabilite, le regole e le precauzioni di sicurezza; deve essere attento ed usare giudizio per la sicurezza di se stesso e degli altri; deve impegnarsi ad eseguire il lavoro correttamente ed in modo responsabile.
deve essere calmo ed in grado di sostenere lo stress; sapere valutare correttamente le proprie condizioni fisiche e mentali.
deve aver letto e studiato attentamente questo manuale, i grafici e gli schemi allegati, le etichette e decalcomanie di avvertenza e pericolo; deve essere specializzato e competente in tutti gli aspetti concernenti il funzionamento e l'uso della macchina e/o dell'accessorio.
All'operatore potrebbe essere necessaria una licenza (o patente) quando le leggi del paese nel quale si opera con questo tipo di macchina lo prevedano. Assumere informazioni al riguardo. Per il territorio italiano si raccomanda che l'operatore sia maggiorenne.
Il personale addetto alla manutenzione della macchina e/o dell'accessorio deve disporre della qualifica di meccanico qualificato nella manutenzione di macchine movimento terra in genere, e deve rispondere obbligatoriamente ai seguenti requisiti: fisici:
buona vista, buon udito, buona coordinazione e capacità di eseguire in modo sicuro tutte le funzioni richieste per la manutenzione, come specificato in questo manuale.
capacità di comprendere ed applicare le norme stabilite, le regole e le precauzioni di sicurezza; deve essere attento ed usare giudizio per la sicurezza di se stesso e degli altri; deve impegnarsi ad eseguire il lavoro correttamente ed in modo responsabile.
deve aver letto e studiato attentamente questo manuale, i grafici e gli schemi allegati, le etichette e decalcomanie di indicazione e di pericolo; deve essere specializzato e competente in tutti gli aspetti concernenti il funzionamento della macchina.
La manutenzione ordinaria della macchina e/o dell'accessorio non prevede operazioni molto complesse dal punto di vista tecnico, ed è quindi normale che anche l'operatore possa occuparsene, a condizione che possegga i necessari rudimenti di meccanica.
Quando si lavora, o si eseguono manutenzioni e riparazioni, deve sempre essere utilizzato il seguente abbigliamento e materiale antinfortunistico:
     
   
Utilizzare solo materiale antinfortunistico omologato ed in buono stato di conservazione.
Nel caso le condizioni operative lo richiedano, occorre disporre del seguente equipaggiamento personale di sicurezza:
Tenere sempre conto delle caratteristiche dell'area di lavoro nella guale ci si trova ad operare:
• Studiare attentamente l'area di lavoro: rapportarla alle dimensioni della macchina nelle varie configurazioni.
La macchina non è elettricamente isolata e non fornisce protezione dal contatto o dalla prossimità a linee elettriche.
Mantenere sempre una distanza di sicurezza minima da esse: sia dal braccio telescopico che dall'eventuale carico sollevato. Pericolo di folgorazione da scariche elettriche.
Allontanarsi dalla macchina in caso di contatto con linee elettriche in tensione. Il personale a terra o sulla macchina non deve toccare o far funzionare la macchina fino a quando non sia stata interrotta l'alimentazione alla linea elettrica.
| RISCI CONT TENS | HIO FATI IONE | DIMOI TO CO | RTE N L | 0 DI I INEE | LESI ELI | ONI ETT | GRA RICH | VIA EIN | 
|---|---|---|---|---|---|---|---|---|
| CONT DELLA CON F IN TEI LA MA | ATTA A CO POTE VSIOI ACCH | ARE SI RRENTI NZIALI I NE PRIM INA. | empf e pr Peri 1A di | re l'e Ima di Coli. S I Inizia | ENTE OPE SCOL RE I | E El ERAI LEC L LA | ROGA RE IN SARE I VORO | TORE ZONE CAVI CON | 
| TENS | IONE | LINEA | DIST | ANZ | 'A MIN | IIMA | ||
| 0 | а | 50 | kV | 3.00 | т | 10 | ft | |
| 50 | а | 200 | kV | 4.60 | т | 15 | ft | |
| 200 | а | 350 | kV | 6.10 | т | 20 | ft | |
| 350 | а | 500 | kV | 7.62 | т | 25 | ft | |
| 500 | а | 750 | kV | 1 | 0.67 | т | 35 | ft | 
| 750 | а | 1000 | kV | 1. | 3.72 | т | 45 | ft | 
     
   
È vietato utilizzare la macchina con temporali in corso.
     
   
L'operatore deve esaminare il proprio campo visivo quando utilizza il sollevatore.
BENNA - CESTELLO
Prima di cominciare un lavoro occorre prepararsi:
• Accertarsi prima di tutto che le operazioni di manutenzione siano state svolte con scrupolo, rispettando gli intervalli di tempo stabiliti.
     
   
Mettere in posizione di lavoro il sollevatore avendo cura di livellarlo correttamente.
Lavorando, svolgendo manutenzioni o riparazioni, occorre sempre usare la massima prudenza:
     
   
• Per salire o scendere dalla cabina o da altre parti sopraelevate, occorre mantenersi sempre di fronte alla macchina e mai rivolgere la schiena ad essa.
     
   
     
   
Sono vietati interventi sull'impianto idraulico se non eseguiti da personale autorizzato. L'impianto idraulico di questa macchina è dotato di accumulatori di pressione che potrebbero dare luogo a gravi rischi di incolumità personale se, prima di effettuare interventi sull'impianto stesso, non fossero scaricati completamente. Per effettuare lo scarico degli accumulatori è sufficiente azionare, a macchina ferma, 8/10 volte il pedale del freno.
     
   
     
   
     
   
     
   
Pagina lasciata intenzionalmente bianca
     
   
La benna si compone di una struttura in acciaio saldata di forma concava ed è progettata per il carico e la movimentazione di materiale sciolto guale terra. sabbia, cereali, materiali inerti.
I componenti principali della struttura sono la lama frontale che funge da estremità di guida della benna "tagliando" il volume del materiale e separando la parte che viene raccolta all'interno della benna stessa, il corpo concavo centrale che garantisce lo spazio per raccogliere il materiale, e le pareti laterali chiuse ai lati per trattenere il volume utile della benna Nella parte posteriore della benna sono presenti due piastre sagomate, saldate alla struttura principale e progettate per interfacciarsi meccanicamente con la piastra porta-attrezzi standard dei sollevatori telescopici GTH. Considerata la limitazione tipica in termini di rotazione massima della piastra portaattrezzi, la progettazione della benna e dell'interfaccia meccanica è stata ottimizzata per raggiungere il miglior compromesso in termini di capacità di carico e scarico materiale.
Questo accessorio è progettato per movimentare pallet di mattoni e posizionarli nel punto prescelto in contioro
Si compone di una gabbia principale realizzata con tubolari quadrati in acciaio saldati e griglie in acciaio che evitano la caduta accidentale di detriti di una certa dimensione dalla gabbia quando questa è sollevata da terra
Sul lato destro della gabbia è incernierato un cancello che agevola le operazioni di carico e scarico dei pallet di mattoni.
Il cancello può essere bloccato in posizione chiusa mediante apposito chiavistello. L'intera gabbia è installata su una struttura di base composta da due tubolari cavi rettangolari in acciaio che fungono da tasche di inserimento per le forche del sollevatore.
Il movimento longitudinale della gabbia, una volta inforcata, è bloccato da una catena con grillo che deve essere fissata prima di qualsiasi movimentazione dell'accessorio
     
   
     
   
Questo accessorio è fissato al sollevatore tramite la piastra porta-attrezzi B.
     
   
     
   
Questo accessorio è fissato al sollevatore tramita la tascha di inserimento forche A
BENNA - CESTELLO
Questa benna è progettata per produrre volumi, ridotti di calcestruzzo miscelandone gli ingredienti principali (cemento, inerti, sabbia ed acqua) e per scaricare tali volumi (al termine della preparazione) nel punto prescelto in cantiere. Consiste prevalentemente di una struttura in acciaio di forma concava saldata progettata per raccogliere da terra, prima dell'inizio della fase di miscelazione, inerti, cemento e sabbia e per miscelare tali ingredienti con acqua per preparare la miscela cementizia. I componenti principali della struttura saldata sono la lama frontale che funge da estremità di quida della benna "tagliando" il volume del materiale e separando la parte che viene raccolta all'interno della benna stessa, il corpo concavo centrale che garantisce lo spazio per raccogliere il materiale, e le pareti laterali chiuse ai lati per trattenere il volume utile della benna. Per la miscelazione degli ingredienti è presente una pala miscelatrice realizzata con piastre sagomate e saldate, installate longitudinalmente rispetto all'asse principale della benna. Tale lama ruotar su cuscinetti installati sulle pareti laterali della benna ed è azionata da un motore idraulico ed un riduttore posti esternamente sulla parete laterale destra della benna
Dopo la miscelazione, il calcestruzzo viene scaricato attraverso un'apposita portella ricavata sul fondo della benna ed azionata da un meccanismo ed un martinetto idraulico. La pala miscelatrice e la portella di scarico calcestruzzo sono azionate idraulicamente dalla linea ausiliaria presenta nella sommità del braccio. Queste due funzioni sono controllate da un apposito quadro di comando a distanza che può essere azionato anche da operatori all'esterno della cabina di conduzione. Prima dell'inizio della fase di miscelazione, è necessario chiudere la parte superiore della benna mediante l'apposita protezione realizzata in grigliato di acciaio ed incernierata all'estremità superiore della parete posteriore della benna per evitare qualsiasi contatto con organi in movimento. La griglia consente all'operatore di verificare quando il calcestruzzo è pronto per lo scarico. Nella parte posteriore della benna sono presenti due piastre sagomate, saldate alla struttura principale e progettate per interfacciarsi meccanicamente con la piastra porta-attrezzi standard dei sollevatori telescopici GTH.
     
   
Questo accessorio è fissato al sollevatore tramite la piastra porta-attrezzi B.
BENNA - CESTELLO
La benna consiste di una struttura in acciaio saldata a forma piramidale progettata per movimentare quantità ridotte di calcestruzzo da un punto all'altro di un cantiere edile e per scaricarne il contenuto nei punti prescelti.
Tale struttura piramidale è aperta all'estremità superiore per agevolare le operazioni di carico e presenta una sezione che si restringe gradualmente verso il fondo per semplificare lo scarico del calcestruzzo.
Quest'ultima operazione avviene tramite un'apposita portella in acciaio, posta sul fondo della benna, azionabile sia tramite una leva manuale azionata dall'operatore o, in funzione del modello scelto, tramite un'articolazione meccanica azionata idraulicamente dalla linea ausiliaria presente sulla sommità del braccio.
L'assieme benna e meccanismo di apertura portella è installato su una struttura di base composta da due
tubolari cavi rettangolari in acciaio che fungono da tasche di inserimento per le forche del sollevatore. Il movimento longitudinale della benna, una volta inforcata, è bloccato da una catena con grillo che deve essere fissata prima di qualsiasi azionamento della benna
     
   
Questo accessorio è fissato al sollevatore tramite le tasche di inserimento forche A.
Per uso improprio si intende l'uso dell'accessorio secondo criteri di lavoro non conformi alle istruzioni contenute in questo manuale e che, comunque, possono risultare pericolosi per sè e per gli altri.
La conformità ed il rigoroso rispetto delle condizioni d'uso, manutenzione e riparazione specificate dal costruttore, costituiscono una componente essenziale dell'uso previsto.
     
   
Di seguito si elencano alcuni dei casi più frequenti e pericolosi di uso improprio di benne e cestelli.
È inoltre necessario che siano rispettate tutte le norme antinfortunistiche, le norme generalmente riconosciute per la sicurezza e la medicina del lavoro nonché tutte le norme previste per la circolazione stradale.
È vietato apportare modifiche od effettuare interventi di qualsiasi tipo sulla macchina o sull'accessorio, esclusi quelli di normale manutenzione. Qualunque modifica apportata alla macchina o all'accessorio non effettuata da TEREXLIFT o da centri di assistenza autorizzati fa decadere automaticamente la conformità della macchina alla Direttiva 2006/42/CE.
     
   
La tabella seguente mostra i modelli di sollevatori Terexlift sui quali è possibile installare gli accessori trattati nel presente manuale:
| Benna 500 litri | Benna 800 litri | Cestello per Mattoni | Benna Miscelatrice 250 litri | Benna Miscelatrice 500 litri | Benna Calcestruzzo Man./Idr. 500 litri | Benna Calcestruzzo Man./Idr. 800 litri | |
|---|---|---|---|---|---|---|---|
| GTH-2506 | × | × | × | × | × | ||
| GTH-3007 | × | × | × | × | × | ||
| GTH-4013SX GTH-4017SX | × | × | × | × | × | ||
| GTH-4013EX GTH-4017EX | × | × | × | × | × | ||
| GTH-4016SR GTH-4018SR | × | × | × | × | × | 
     
   
Controllo preoperativo e manutenzione ordinaria sono di competenza all'operatore.
Il controllo preoperativo è un'ispezione visiva eseguita dall'operatore prima di ogni turno di lavoro per determinare l'esistenza di anomalie sul sollevatore e/o sull'accessorio prima di procedere alla prova delle funzioni.
Il controllo preoperativo serve inoltre a stabilire se sono necessari interventi di manutenzione ordinaria. L'operatore può eseguire solo gli interventi di manutenzione ordinaria specificati nel presente manuale.
Se si rileva un danno o una qualsiasi modifica non autorizzata rispetto alle condizioni originarie, contrassegnare e porre fuori servizio il sollevatore e/o l'accessorio.
Le riparazioni del sollevatore e/o dell'accessorio devono essere eseguite esclusivamente da personale tecnico qualificato, in base alle specifiche tecniche del produttore. Dopo aver completato le riparazioni, l'operatore deve eseguire nuovamente il controllo preoperativo prima di procedere alla prova delle funzioni.
Gli interventi di manutenzione programmata devono essere eseguiti da personale tecnico qualificato, in base alle specifiche tecniche del costruttore.
     
   
Per la Manutenzione ed il Controllo pre-operativo del sollevatore, consultare il relativo Manuale dell'operatore posto all'interno della cabina.
Per l'accessorio:
Controllare i seguenti componenti o le seguenti aree per rilevare eventuali danni, componenti mancanti o non adeguatamente montati e modifiche non autorizzate:
Controllare l'intera struttura per rilevare l'eventuale presenza di:
     
   
Qualora anche un solo controllo non dia esito positivo, non iniziare il lavoro. Arrestare la macchina e procedere alla riparazione.
     
   
Qualora la macchina debba essere utilizzata in ambiente marino o similare proteggerla con appropriato trattamento di antisalsedine per evitare la formazione di ruggine.
     
   
La prova delle funzioni è stata progettata per rilevare eventuali guasti prima dell'utilizzo della macchina. L'operatore deve attenersi alle istruzioni fornite per eseguire la prova di tutte le funzioni della macchina. Non utilizzare mai una macchina guasta. In presenza
di guasti, contrassegnare e porre fuori servizio la macchina. Le riparazioni devono essere eseguite esclusivamente da personale tecnico qualificato, in base alle specifiche tecniche del produttore.
Al termine delle riparazioni, l'operatore deve eseguire nuovamente il controllo preoperativo e la prova delle funzioni prima di utilizzare la macchina.
Prendere visione e comprendere il controllo preoperativo prima di procedere al capitolo successivo.
     
   
Eseguire tutte le prove previste per il sollevatore ed elencate nel relativo Manuale dell'Operatore.
L'ispezione dell'area di lavoro consente all'operatore di determinare se la stessa è compatibile con un funzionamento della macchina in condizioni di sicurezza. Il controllo deve essere eseguito prima di spostare la macchina sul luogo di lavoro.
È responsabilità dell'operatore apprendere e ricordare i pericoli relativi all'area di lavoro e, di conseguenza, essere pronto ad evitarli durante lo spostamento, la messa in servizio ed il funzionamento della macchina.
Riconoscere ed evitare le seguenti situazioni di pericolo:
Questa sezione ha lo scopo di fornire all'operatore ed
al personale a terra un supporto per l'apprendimento graduale dell'uso del sollevatore attrezzata con benne o cestello.
Sia l'operatore che il personale a terra devono possedere tutti i requisiti per manovrare il sollevatore con accessorio e devono conoscerne il funzionamento prima di utilizzarli.
Questa familiarizzazione è determinante per un corretto impiego in fase di lavoro.
     
   
Prima di utilizzare il sollevatore, esaminare l'area di lavoro per verificare l'eventuale presenza di condizioni di pericolo. Verificare che non vi siano buche, terrapieni cedevoli o detriti che possano compromettere il controllo della macchina.
     
   
Prestare particolare attenzione alla presenza di cavi elettrici. Controllarne la posizione accertandosi che nessuna parte della macchina si trovi ad operare ad una distanza inferiore a 6 metri dai cavi stessi.
     
   
Per un utilizzo in piena sicurezza della macchina con accessorio, verificare sempre il peso dei carichi da movimentare prima di procedere alla movimentazione.
     
   
SOSTITUZIONE DEGLI ACCESSORI
Per la sostituzione degli accessori procedere come segue:
     
   
     
   
Dopo la sostituzione dell'accessorio, prima di operare con la macchina, verificare visivamente che l'accessorio sia ben agganciato al braccio. Un accessorio non agganciato correttamente è un pericolo sia per l'operatore che per eventuali persone o cose presenti sul posto.
Per la sostituzione degli accessori procedere come segue:
     
   
Procedere come seque:
1. Regolazione forche : Le forche devono essere regolate in larghezza per corrispondere alle tasche di inserimento. Allo scopo:
Con forche FEM:
Con forche FLOTTANTI:
     
   
• Bloccare il movimento longitudinale dell'accessorio con la catena con grillo posta sul retro fissando l'accessorio alle forche.
     
   
Inforcare la benna per calcestruzzo tenendo conto del lato in cui il materiale deve essere scaricato.
BENNA - CESTELLO
Per utilizzare gli accessori, è necessario procedere al collegamento idraulico seguendo le istruzioni di seguito riportate:
     
   
Tale collegamento idraulico consente il funzionamento degli accessori, tramite le combinazioni di comandi che normalmente si utilizzano per bloccare o sbloccare gli accessori, descritte nei paragrafi corrispondenti.
Tutti i sollevatori sono dotati di sistema automatico di controllo stabilità che segnala il progressivo variare del grado di stabilità e blocca la macchina prima di raggiungere condizioni critiche. Un display posto all'interno della cabina mostra la condizione di stabilità della macchina e dell'accessorio ad essa agganciato.
Il sistema LLMI/LLMC è progettato per funzionare unicamente nel caso in cui:
Il sistema LLMI si limita a segnalare all'operatore condizioni di stabilità non adeguate lungo il piano longitudinale frontale.
Il sistema LLMI/LLMC non è progettato per allertare l'operatore di un rischio di ribaltamento in caso di:
Le regolazioni che influenzano i parametri del sistema LLMI/LLMC devono essere affidate unicamente a personale autorizzato.
Il sistema di controllo stabilità varia in funzione del modello di sollevatore e può essere facilmente identificato dal tipo di display installato in cabina..
     
   
Alla messa in moto della macchina la spia 3, la barra a LED 2 e i pulsanti 4 e 5 si accendono.
Il dispositivo effettua un check diagnostico.
Durante l'uso della macchina la barra a led 2 si accende gradualmente in proporzione alle condizioni di stabilità.
     
   
Led verdi (L1 e L2): sono accesi in condizione normale di lavoro, quando la percentuale di momento ribaltante rispetto al valore limite varia da 0 a 89. La macchina è stabile
Led arancioni (L3 e L4): si accendono quando la macchina è prossima all'instabilità: la percentuale di momento ribaltante rispetto al valore limite è compresa tra 90 e 99. Il sistema entra in pre-allarme : il cicalino emette un suono intermittente ed i movimenti di sfilo e discesa braccio e brandeggio forche in avanti vengono rallentati.
Led rossi (L5 e L6): Pericolo di ribaltamento! la percentuale di momento ribaltante rispetto al valore limite è maggiore di 100.
La macchina entra in condizione di allarme : il cicalino emette un suono continuo ed ogni movimento pericoloso viene bloccato: sollevamento del braccio, discesa del braccio, sfilo del braccio, brandeggio in avanti delle forche. Sono permesse solo le manovre di richiamo del carico entro i limiti di sicurezza.
Il limitatore è munito di sistema di auto-diagnostica in grado di rilevare avarie dei trasduttori, rotture di cavi e guasti del sistema elettronico. Quando viene rilevato un guasto, il limitatore si pone in condizioni di sicurezza bloccando le manovre pericolose. Il LED L6 inizia a lampeggiare indicando un codice di allarme. I codici relativi al guasto individuato sono riportati nella sezione "Malfunzionamento e Ricerca guasti" del Manuale dell'Operatore del sollevatore.
     
   
Prima di utilizzare la macchina, accertarsi che il primo LED verde del sistema di controllo sia acceso.
     
   
Condizione di stabilità. Il carico sollevato non supera il 90% del carico ammesso dalla tabella in quella determinata posizione di lavoro.
Condizione di pre-allarme. Il carico sollevato è superiore al 90% ma inferiore del carico massimo consentito. I movimenti del braccio sono rallentati ed il cicalino emette una serie di brevi bip.
Condizione di allarme. Il carico sollevato è superiore al carico massimo consentito. Il cicalino emette lunghi bip e si bloccano i movimenti della macchina, ad eccezione dei movimenti di rientro in posizione di stabilità.
Il pannello del limitatore è suddiviso in tre zone:
Zona LED: Sono presenti tre LED che indicano il variare delle condizioni operative:
....................................... MAXIOAD 50 3t RAISED LOAD .... 10.2+ 12.3 RADIUS
     
   
     
   
Prima di utilizzare la macchina accertarsi che il primo LED di colore verde sia acceso, che il modo operativo indicato nella riga 3 ed il tipo di accessorio indicato nella riga 2 corrispondano a quanto in uso.
     
   
Le tabelle di carico 1 indicano il carico massimo ammissibile in funzione dell'estensione del braccio e del tipo di accessorio utilizzato.
Consultarle sempre per operare in sicurezza.
L'entità di sfilo del braccio è rilevabile mediante le lettere ( A , B , C , D , E ) verniciate sul braccio (pos.3).
I gradi di inclinazione reali del braccio, invece, sono visibili mediante l'indicatore d'angolo 2.
Tutte le tabelle di carico sono posizionate su uno speciale supporto installato in cabina.
La linguetta 4 posta nella parte superiore di ogni tabella di carico indica il tipo di accessorio utilizzato.
     
   
Le tabelle qui rappresentate hanno soltanto valore illustrativo. Per determinare i limiti di carico riferirsi esclusivamente a quelle applicate all'interno della cabina della macchina.
     
   
Le tabelle applicate in cabina si riferiscono a macchina ferma su terreno solido e ben livellato.
     
   
Le tabelle di carico da utilizzare per la Benna per Calcestruzzo Manuale ed Idraulica ed il Cestello per Mattoni sono quelle riferite alle FORCHE.
     
   
COMANDI per BENNA
Comandi GTH-2506 e GTH-3007
     
   
Prima di scaricare il materiale, assicurarsi che nel raggio operativo non vi siano astanti.
Per il carico o lo scarico di materiale:
     
   
Comandi GTH-4013SX e GTH-4017SX
     
   
Prima di scaricare il materiale, assicurarsi che nel raggio operativo non vi siano astanti.
Per il carico o lo scarico di materiale:
     
   
Comandi GTH-4013EX e GTH-4017EX
     
   
Prima di scaricare il materiale, assicurarsi che nel raggio operativo non vi siano astanti.
Per il carico o lo scarico di materiale:
     
   
Comandi GTH-4016SR e GTH-4018SR
     
   
Prima di scaricare il materiale, assicurarsi che nel raggio operativo non vi siano astanti.
Per il carico o lo scarico di materiale:
     
   
     
   
Rispettare le seguenti istruzioni:
     
   
Per l'uso di questo accessorio e del relativo radiocomando, consultare il manuale specifico.
Rispettare le sequenti istruzioni:
     
   
Per l'uso di questo accessorio e del relativo radiocomando, consultare il manuale specifico.
COMANDI per BENNA CALCESTRUZZO IDRAULICA
Comandi GTH-2506 e GTH-3007
     
   
Prima di scaricare il calcestruzzo, assicurarsi che nel raggio operativo non vi siano astanti.
Per aprire o chiudere la portella di scarico:
     
   
BENNA - CESTELLO
Comandi GTH-4013SX e GTH-4017SX
     
   
Prima di scaricare il calcestruzzo, assicurarsi che nel raggio operativo non vi siano astanti.
Per aprire o chiudere la portella di scarico:
     
   
Comandi GTH-4013EX e GTH-4017EX
     
   
Prima di scaricare il calcestruzzo, assicurarsi che nel raggio operativo non vi siano astanti.
Per aprire o chiudere la portella di scarico:
     
   
BENNA - CESTELLO
     
   
Prima di scaricare il calcestruzzo, assicurarsi che nel raggio operativo non vi siano astanti.
Per aprire o chiudere la portella di scarico: CON JOYSTICK SINISTRO ( Configurazione Opzionale )
     
   
     
   
CARICO DEGLI ACCESSORI
     
   
L'operatore deve esaminare attentamente il proprio campo visivo quando utilizza il sollevatore.
Utilizzando la benna si raccomanda di eseguire l'imbenno soltanto con il braccio completamente chiuso e di spingere contro il cumulo con le ruote diritte.
     
   
• Avvicinarsi perpendicolarmente al carico e controllare, attraverso l'inclinometro presente in cabina, che la macchina sia livellata.
     
   
     
   
Qualora vengono caricati manufatti od oggetti rotondi come ad esempio, bidoni per carburante,
ecc., provvedere a fissare con funi o cinghie questi materiali e procedere a velocità ridotta.
     
   
Non utilizzare per operazioni di scavo.
     
   
Non utilizzare la benna per sollevare o trasportare persone.
     
   
     
   
     
   
Rischio potenziale di caduta di materiale sfuso!
     
   
Il cestello per mattoni è progettato per la movimentazione di pallet di mattoni. NON PUÒ ESSERE CONSIDERATO IN ALCUN CASO UNA NAVICELLA PORTAPERSONE! Non utilizzarlo per sollevare o
trasportare persone!
     
   
     
   
BENNA - CESTELLO
Cod. 57.0303.5173
     
   
• Versare il calcestruzzo dall'apertura superiore.
     
   
Per l'uso di questo accessorio, consultare il manuale specifico.
     
   
Una volta caricato il materiale, attenersi alle seguenti istruzioni:
     
   
     
   
• Dovendo procedere su pendii in salita con l'accessorio carico di materiale, procedere sempre con il mezzo in marcia avanti e traslare mantenendo il carico nella posizione più bassa possibile.
     
   
• Dovendo procedere su pendii in discesa con l'accessorio carico di materiale, procedere sempre in retromarcia.
     
   
• Dovendo procedere su pendii in salita con la benna vuota, procedere con il mezzo in retromarcia.
     
   
Dovendo procedere su pendii in discesa con la benna vuota, procedere con il mezzo in marcia avanti.
     
   
Prima del sollevamento di un carico, selezionare un'area in cui appoggiarlo. La preparazione di tale area dipende dalla natura del carico.
Appoggiare l'accessorio su un terreno asciutto e ben livellato.
Per sganciare l'accessorio dal sollevatore:
     
   
L'accessorio può essere movimentato mediante il sollevatore su cui è montato o con mezzi dotati di forche di portata adeguata.
Alla fine di ogni giornata di lavoro, di ogni turno, o comunque durante le soste notturne, parcheggiare la macchina in modo che non rappresenti un pericolo. Prendere tutte le precauzioni per evitare rischi alle persone che si avvicinano alla macchina quando questa non è in funzione:
Dovendo parcheggiare la macchina e/o l'accessorio per un lungo periodo di inattività, oltre al rispetto delle norme relative alle soste brevi, si raccomanda di:
Lavare accuratamente la macchina. A tale scopo, per eseguire nel migliore dei modi questa operazione, si consiglia di smontare griglie e cofani di protezione.
     
   
Non utilizzare benzina, solventi od altri liquidi infiammabili come detergenti; ricorrere invece a solventi commerciali autorizzati, ininfiammabili e atossici. Se si usa aria compressa, indossare occhiali antinfortunistici e mascherina di protezione per le vie respiratorie. Se si fa uso di un getto d'acqua, non dirigere il getto su parti elettriche.
     
   
Ricordare che anche durante i periodi di inattività prolungata la manutenzione periodica deve essere regolarmente eseguita con particolare riguardo ai liquidi e a tutti gli elementi soggetti ad invecchiamento. In ogni caso, prima della rimessa in servizio della macchina e dell'accessorio, effettuare una manutenzione straordinaria con accurato controllo di tutte le parti meccaniche, idrauliche ed elettriche.
Alla fine del ciclo di lavoro della macchina e/o dell'accessorio, si raccomanda di non disperderne le parti nell'ambiente, ma affidarsi a ditte specializzate in grado di provvedere a tale operazione nel rispetto delle norme vigenti.
     
   
Le batterie al piombo esauste non possono essere abbandonte fra i normali rifiuti solidi industriali. ma. essendo composte da materiali nocivi. devono essere raccolte, smaltite e/o riciclate sotto tutela di leggi degli Stati membri. La batteria esausta deve essere lasciata in posto asciutto ed isoloato ed i tappi degli elementi ben chiusi. Porre un cartello di avvertimento sulla batteria che ne segnali il divieto di utilizzo. Se la batteria, prima dello smaltimento, viene lasciata all'aperto sara necessario asciugarla, stendere un velo di grasso sul cassone e sugli elementi e chiudere i tappi degli elementi stessi. Evitare di farla appoggiare direttamente sul terreno: meglio su assi dei legno o su un bancale ed eventualmentecoprirla. Lo smaltimento della batteria deve essere eseguito il più rapidamente possibile.
L'operatore può eseguire solo la manutenzione ordinaria specificata nel presente manuale
     
   
* Gli interventi di manutenzione programmata devono essere completati da personale tecnico qualificato, in base alle specifiche tecniche del Costruttore.
Il seguente simbolo indica l'intervallo degli interventi di manutenzione espresso in ore di lavoro.
     
   
Un'accurata e periodica manutenzione garantisce all'operatore una macchina sempre affidabile e sicura.
Per questo motivo, dopo aver operato in condizioni particolari (terreni fangosi, polverosi, lavori gravosi, ecc.) è opportuno lavare, ingrassare ed eseguire una corretta manutenzione della macchina.
Controllare sempre che tutte le parti siano in buone condizioni, che non vi siano perdite di olio, che le protezioni ed i dispositivi di sicurezza siano efficienti, in caso contrario ricercarne le cause e porvi rimedio.
La mancata osservanza delle norme di manutenzione programmata indicata nel presente manuale annulla automaticamente la garanzia di TEREXLIFT.
È vietato apportare modifiche od effettuare interventi di qualsiasi tipo sulla macchina o sugli accessori, esclusi quelli relativi alla normale manutenzione. Qualunque modifica apportata alla macchina o all'accessorio non effettuata da TEREXLIFT o da centri di assistenza autorizzati, fa decadere automaticamente la conformità della macchina alla Direttiva 2006/42/CE.
Il contatto prolungato degli oli con la pelle può essere causa di irritazione. È pertanto consigliabile munirsi di guanti in gomma ed occhiali di protezione. Dopo aver maneggiato olii è consigliabile lavare accuratamente le mani con acqua e sapone.
Tenere sempre i lubrificanti in luogo chiuso e lontani dalla portata dei bambini. Non tenere mai i lubrificanti all'aperto e senza etichetta che ne indichi il contenuto.
L'olio disperso nell'ambiente, nuovo od esausto che sia, è altamente inquinante! Conservare con cura l'olio nuovo e conservare quello esausto in appositi contenitori per il successivo smaltimento attraverso gli specifici centri di raccolta.
In caso di perdite accidentali di olio agire perchè possa venire assorbito con sabbia o granulato di tipo approvato. Raschiare il composto così ottenuto e provvedere allo smaltimento come rifiuto chimico.
In caso di incendio utilizzare estintori ad anidride carbonica, a secco oppure a schiuma. Non usare acqua.
Una manutenzione errata o carente può rendere la macchina e l'accessorio pericolosi per l'operatore e per le persone intorno ad esse. Provvedere affinché la manutenzione e la lubrificazione siano regolarmente eseguite secondo quanto indicato dal costruttore in modo da mantenere la macchina e l'accessorio efficienti e sicuri. Le operazioni di manutenzione sono in relazione alle ore di lavoro eseguite dalla macchina e dall'accessorio. Controllare e mantenere efficiente il contaore per poter definire correttamente gli intervalli di manutenzione. Assicurarsi che tutti i difetti riscontrati durante la manutenzione vengano prontamente eliminati prima di un nuovo impiego della macchina.
     
   
     
   
Tutti gli interventi di manutenzione devono essere effettuati con motore spento, freno di stazionamento inserito, organi di lavoro completamente appoggiati a terra e cambio in folle.
     
   
Sono tassativamente vietati interventi sull'impianto idraulico se non eseguiti da personale autorizzato.
L'impianto idraulico di questa macchina è dotato di accumulatori di pressione che potrebbero dare luogo a gravi rischi di incolumità personale se, prima di effettuare interventi sull'impianto stesso, non fossero stati scaricati completamente.
Per effettuare lo scarico degli accumulatori è sufficiente azionare 8/10 volte il pedale del freno, a motore spento.
     
   
Prima di eseguire interventi sulle linee o su componenti idraulici assicurarsi che non vi siano pressioni residue nell'impianto. A tale scopo, dopo aver spento il motore ed inserito il freno di stazionamento, agire sulle leve di comando dei distributori(alternativamente nei sensi di lavoro) per scaricare la pressione dal circuito idraulico.
     
   
Le condotte ad alta pressione possono essere sostituite solo da personale particolarmente qualificato.
Qualsiasi impurità che entra in circolazione nel circuito chiuso determina il repentino deterioramento della trasmissione.
     
   
Il personale qualificato che interviene sul circuito idraulico deve curare nel modo più scrupoloso la pulizia delle zone circostanti prima di eseguire l'intervento.
La manipolazione e lo smaltimento di oli esausti potrebbe essere disciplinata da norme o regolamenti nazionali e regionali. Servirsi di impianti di smaltimento autorizzati.
Dovendo eseguire qualsiasi intervento di riparazione o manutenzione ed, in particolare, dovendo eseguire saldature sulla macchina, è necessario disinserire l'interruttore generale della batteria posto all'interno del vano motore.
     
   
Pagina lasciata intenzionalmente bianca
     
   
Manuale dell'Operatore
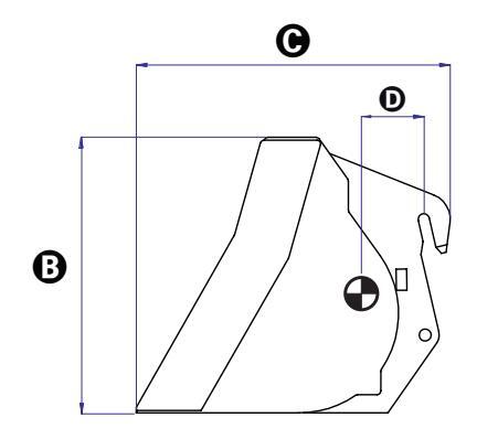
BENNA 500 LITRI
     
   
     
   
     
   
     
   
| DATI TECNICI | |||||
|---|---|---|---|---|---|
| Larghezza | 2036 mm | ||||
| ₿ | Altezza | 810 mm | |||
| Θ | Lunghezza | 980 mm | |||
| Peso | 355 kg | ||||
| Capacità accessorio | 500 litri | ||||
| D | Centro di gravità | 360 mm | |||
| DATI TECNICI | ||||
|---|---|---|---|---|
| A | Larghezza | 2036 mm | ||
| ₿ | Altezza | 940 mm | ||
| Θ | Lunghezza | 1175 mm | ||
| Peso | 420 kg | |||
| Capacità accessorio | 800 litri | |||
| D | Centro di gravità | 485 mm | ||
     
   
     
   
     
   
     
   
| DATI TECNICI | |||||
|---|---|---|---|---|---|
| Larghezza | 2435 mm | ||||
| 0 | Altezza | 940 mm | |||
| Θ | Lunghezza | 1070 mm | |||
| Peso | 450 kg | ||||
| Capacità accessorio | 800 litri | ||||
| D | Centro di gravità | 440 mm | |||
| DATI TECNICI | ||||
|---|---|---|---|---|
| Larghezza | 2435 mm | |||
| ₿ | Altezza | 1170 mm | ||
| Θ | Lunghezza | 1140 mm | ||
| Peso | 510 kg | |||
| Capacità accessorio | 800 litri | |||
| D | Centro di gravità | 420 mm | ||
Manuale dell'Operatore
• cod. 59.0401.2002 per GTH-4013SX, GTH-4013EX. GTH-4017SX. GTH-4017EX. GTH-4016SR e GTH-4018SR
     
   
     
   
| DATI TECNICI | |||
|---|---|---|---|
| Larghezza | 1506 mm | ||
| ₿ | Altezza | 840 mm | |
| Θ | Lunghezza | 795 mm | |
| Peso | 460 kg | ||
| Capacità accessorio | 250 litri | ||
| D | Centro di gravità | 470 mm | |
| Port | Portata idraulica max. (I/min)/(bar) 65/250 | ||
| DATI TECNICI | ||
|---|---|---|
| Larghezza | 1650 mm | |
| € | Altezza | 990 mm | 
| Θ | Lunghezza | 880 mm | 
| Peso | 550 kg | |
| Capacità accessorio | 450 litri | |
| D | Centro di gravità | 415 mm | 
| Porta | ata idraulica max. (I/min)/(bar) | 60/220 | 
BENNA - CESTELLO
     
   
     
   
BENNA CALCESTRUZZO MANUALE 500 LITRI cod. 59.0400.0000 per TUTTI I MODELLI
     
   
| DATI TECNICI | ||||||
|---|---|---|---|---|---|---|
| Larghezza | 1110 mm | |||||
| ₿ | Altezza | 1320 mm | ||||
| Θ | Lunghezza | 1110 mm | ||||
| Peso | 230 kg | |||||
| Capacità accessorio | 500 litri | |||||
| D | Centro di gravità | 700 mm | ||||
     
   
| DATI TECNICI | ||||
|---|---|---|---|---|
| A | Larghezza | 1110 mm | ||
| ₿ | Altezza | 1320 mm | ||
| Θ | Lunghezza | 1110 mm | ||
| Peso | 244 kg | |||
| Capacità accessorio | 500 litri | |||
| D | Centro di gravità | 700 mm | ||
| Porta | ata idraulica max. (I/min)/(bar) | 65/250 | ||
| DATI TECNICI | |||||
|---|---|---|---|---|---|
| Larghezza | 1110 mm | ||||
| ₿ | Altezza | 1520 mm | |||
| Θ | Lunghezza | 1110 mm | |||
| Peso | 250 kg | ||||
| Capacità accessorio | 800 litri | ||||
| D | Centro di gravità | 750 mm | |||
BENNA CALCESTRUZZO IDRAULICA 800 LITRI cod. 59.0400.3000 per TUTTI I MODELLI
     
   
| DATI TECNICI | ||
|---|---|---|
| Larghezza | 1110 mm | |
| ₿ | Altezza | 1520 mm | 
| Θ | Lunghezza | 1110 mm | 
| Peso | 264 kg | |
| Capacità accessorio | 800 litri | |
| D | Centro di gravità | 750 mm | 
| Portata idraulica max. (I/min)/(bar) | 60/220 | |
CESTELLO PER MATTONI
• cod. 59.0400.7000 per TUTTI I MODELLI
     
   
     
   
| DATI TECNICI | ||
|---|---|---|
| Larghezza | 800 mm | |
| 6 | Altezza | 1150 mm | 
| Θ | Lunghezza | 1110 mm | 
| Peso | 120 kg | |
| Capacità accessorio | 500 litri | |
| D | Centro di gravità | 550 mm | 
     
   
     
   
     
   
La portata è calcolata aggiungendo al peso dell'accessorio il peso del materiale trasportato (es. mattoni, calcestruzzo, ecc.).
■ BENNA E BENNA MISCELATRICE APPLICATE A GTH-3007
     
   
     
   
La portata è calcolata aggiungendo al peso dell'accessorio il peso del materiale trasportato (es. mattoni, calcestruzzo, ecc.).
BENNA - CESTELLO
     
   
     
   
     
   
La portata è calcolata aggiungendo al peso dell'accessorio il peso del materiale trasportato (es. mattoni. calcestruzzo. ecc.).
     
   
■ BENNA E BENNA MISCELATRICE APPLICATE A GTH-4017SX E GTH-4017EX
     
   
     
   
     
   
La portata è calcolata aggiungendo al peso dell'accessorio il peso del materiale trasportato (es. mattoni, calcestruzzo, ecc.).
BENNA - CESTELLO
     
   
     
   
     
   
La portata è calcolata aggiungendo al peso dell'accessorio il peso del materiale trasportato (es. mattoni, calcestruzzo, ecc.).
     
   
     
   
     
   
BENNA - CESTELLO
     
   
     
   
La portata è calcolata aggiungendo al peso dell'accessorio il peso del materiale trasportato (es. mattoni, calcestruzzo, ecc.).
BENN
CESTELLO PER MATTONI E BENNA CALCESTRUZZO APPLICATI A GTH-3007
     
   
     
   
La portata è calcolata aggiungendo al peso dell'accessorio il peso del materiale trasportato (es. mattoni, calcestruzzo, ecc.).
BENNA - CESTELLO
■ CESTELLO PER MATTONI E BENNA CALCESTRUZZO APPLICATI A GTH-4013SX E GTH-4013EX
     
   
     
   
     
   
La portata è calcolata aggiungendo al peso dell'accessorio il peso del materiale trasportato (es. mattoni, calcestruzzo, ecc.).
CESTELLO PER MATTONI E BENNA CALCESTRUZZO APPLICATI A GTH-4017SX E GTH-4017EX
     
   
     
   
     
   
La portata è calcolata aggiungendo al peso dell'accessorio il peso del materiale trasportato (es. mattoni, calcestruzzo, ecc.).
BENNA - CESTELLO
     
   
     
   
La portata è calcolata aggiungendo al peso dell'accessorio il peso del materiale trasportato (es. mattoni, calcestruzzo, ecc.).
Genîe BENNA - CESTELLO
■ CESTELLO PER MATTONI E BENNA CALCESTRUZZO APPLICATI A GTH-4018SR
     
   
La portata è calcolata aggiungendo al peso dell'accessorio il peso del materiale trasportato (es. mattoni, calcestruzzo, ecc.).
SCHEMA IDRAULICO
SOLO per Benna per Calcestruzzo Idraulica
     
   
SCHEMA IDRAULICO
SOLO per Benna miscelatrice
     
   
Fabbricante e persona autorizzata a costituire il fascicolo tecnico TEREXLIFT s.r.l. Zona Industriale Buzzacchero 06019 Umbertide (PG) Italia Dichiariamo che la seguente macchina Denominazione: Piattaforma di Lavoro Mobile Elevabile (PLE) Funzione: sollevamento di persone e oggetti Modello XXXXX Numero di serie XXXXX È conforme a tutte le disposizioni pertinenti della Direttiva Macchine 2006/42/CE Allegato IV Ha ottenuto un certificato di tipo CE n° XXXXXXXXX rilasciato dal seguente organismo notificato XXXXX È inoltre conforme alle seguenti norme europee, norme nazionali e specificazioni tecniche: EN 280/A2:2009
ESEMPIO DI LAYOUT
     
   








































































 Loading...
 Loading...