 
   
Przedział numeru fabrycznego
Etap 3A Etap 3B
Etap 3A Etap 3B
Od nr fabr.: GTH250614-101
Od nr fabr.: GTH300716M-101
Tłumaczenie instrukcji oryginalnych
Drugie wydanie
Pierwszy druk
Kod 57.0009.0661
| Wstęp | 1 | 
|---|---|
| Określenie symboli i piktogramów | |
| niebezpieczeństwa 5 | |
| Ogólne bezpieczeństwo | 6 | 
| Bezpieczeństwo strefy pracy | 14 | 
| Środki ostrożności | 21 | 
| Legenda | 24 | 
| Sterowania | 25 | 
| Przeglądy | 31 | 
| Funkcjonowanie i obsługa | 48 | 
| Parkowanie i wyłączenie | 63 | 
| Instrukcje odnośnie transportu i podnoszenia. | 65 | 
| Konserwacja | 70 | 
| Akcesoria | 78 | 
| Dane Techniczne | 86 | 
| Tabele udźwigu | 87 | 
| Testy | 93 | 
| Deklaracja Zgodności CE | 96 | 
Bleicheplatz 2 8200 Schaffhausen Szwajcaria
Telefon +39 075 9418129 +39 075 9418175 e-mail: UMB.Service@terex.com
Copyright © 2016 Terex Corporation
Drugie wydanie: pierwszy druk, luty 2016
Genie jest zarejestrowanym znakiem towarowym Terex South Dakota, Inc. w Stanach Zjednoczonych i wielu innych państwach. "GTH" jest zarejestrowanym znakiem towarowym Terex South Dakota, Inc.
Firma "Genie" jest zaszczycona, że zdecydowali się Państwo na wybór jednej z naszych maszyn. Naszym priorytetem jest bezpieczeństwo użytkowników, cel, do którego dążymy łącząc jak najlepiej nasze włożone wysiłki.
Niniejszy podręcznik jest instrukcją obsługi i codziennej konserwacji przeznaczoną dla użytkownika lub operatora maszyny "Genie".
Podręcznik ten stanowi integralną część maszyny i musi jej zawsze towarzyszyć. W przypadku wszelkich wątpliwości, prosimy skontaktować się z "Genie".
W przypadku podręczników odnoszących się do dodatkowego wyposażenia (jeżeli występują):
Urządzenie odblokowujące z klawiaturą (kod oprzyrządowania 58.2513.1089) Prosimy zapoznać się ze stroną internetową pod adresem
www.genielift.com/en/service-support/manuals
Numer seryjny maszyny znajduje się na etykiecie numeru seryjnego.
     
   
Wózek podnośnikowy terenowy o zmiennym udźwigu z wysięgnikiem teleskopowym jest określony jako wózek kołowy z wysięgnikiem obrotowym, który może być wyposażony w różne dodatkowe oprzyrządowanie do podnoszenia, transportowania i ustawiania ładunków w oparciu o ustalone tabele udźwigu.
Jakiekolwiek inne użycie tego produktu jest niedozwolone i niezgodne z przewidzianym zastosowaniem.
Bezpieczeństwo użytkowników produktów jest najwyższą kwestią dla "Genie". "Genie" wydaje szereg biuletynów mających na celu przekazanie dystrybutorom oraz właścicielom maszyn ważnych informacji odnośnie bezpieczeństwa jak i samych produktów.
Informacje zawarte w biuletynach dotyczą konkretnych maszyn ze wskazaniem ich modelu i numeru fabrycznego.
Dystrybucja biuletynów odnosi się do ostatniego zarejestrowanego właściciela oraz jego sprzedawcy: w związku z tym ważne jest zarejestrowanie własnej maszyny i utrzymanie aktualnych informacji kontaktowych.
W celu zagwarantowania bezpieczeństwa pracowników oraz ciągłości funkcjonowania i niezawodności maszyny, upewnić się czy działania podane w biuletynie są przestrzegane.
Czasami może zdarzyć się konieczność skontaktowania z Genie.
W taki wypadku, należy podać numer modelu oraz numer seryjny waszej maszyny, swoje nazwisko oraz informacje kontaktowe. Przede wszystkim, z "Genie" powinno się skontaktować w celu:
Poświęcić jedną minutę na zaktualizowanie informacji odnośnie właściciela zapewni Wam uzyskanie ważnych informacji dotyczących bezpieczeństwa, konserwacji i używania Waszej maszyny.
Prosimy zarejestrować Waszą maszyną wchodząc na stronę internetową www.genielift.co.uk.
     
   
Brak przestrzegania instrukcji i norm bezpieczeństwa zawartych w niniejszym podręczniku może spowodować śmierć lub ciężkie obrażenia ciała.
Zrozumieć i stosować podstawowe zasady odnośnie funkcjonowania maszyny w warunkach bezpieczeństwa zawartych w niniejszym podręczniku.
     
   
Znak zagrożenia: jest używany w celu ostrzeżenia pracowników o potencialnym niebezpieczeństwie obrażeń ciała. Respektować wszystkie uwagi o bezpieczeństwie, które znaiduja sie obok niniejszego znaku w celu uniknięcia niebezpieczeństwa cieżkich obrażeń ciała i śmierci.
UWAGA Svonalizuje uszkodzenie mienia.
W niniejszej maszynie zostały zastosowane następujące normy i/lub normatywy (tylko dla maszvny ETAPU 3B):
| 2006/42/WE | Dyrektywa Maszynowa | 
|---|---|
| 2008/104/WE | Kompatybilność Elektromagnetyczna | 
| 2000/14/WE | Emisja Akustyczna w Środowisku | 
| EN 1459:1998+ | A3:2012 | 
Wymienić wszystkie brakujące lub uszkodzone znaki bezpieczeństwa.
Zawsze dbać o bezpieczeństwo operatora. Wyczyścić znaki bezpieczeństwa woda i delikatnym detergentem. Nie używać detergentów na bazie rozpuszczalników, ponieważ mogłyby uszkodzić materiał znaku bezpieczeństwa.
| 1 | 1 | 1 1 | , | ||
|---|---|---|---|---|---|
| T | 7.2 | え | ↓ ↔ † | ||
| Niebezpieczeństwo porażenia pradem elektrycznym | Zachować odległość bezpieczeństwa | Niebezpieczenstwo zgniecenia. | Nie przechodzic pod ładunkiem. | Przeczytac podręcznik obsługi i konserwacji. | Nie przechodzic pod ładunkiem. | 
| Niebezpieczeństw zgniecenia. | o Założyć kołnierz do konserwacji. | Niebezpieczeństwo zgniecenia. | Zapiąć zawsze pas bezpieczeństwa. | Niebezpieczeństwo wybuchu. | Nie używać. | 
| Niebezpieczeństwo zaniecenia. | Niebezpieczeństwo zgniecenia. | Niebezpieczeństwo poparzenia. | Poczekać na ochłodzenie przed poluzawajow korka | ||
| Niebezpieczeństwo wybuchu/poparzenia. | Nie palić. Nie używać wolnego płomienia. | Niebezpieczeństwo poparzenia. | Poczekać na ochłodzenie powierzchni. | Niebezpieczeństwo wtrysku. | Używać kawałka kartonu przy wyszukiwaniu wycieków. | 
| Tylko wykwalifikowani pracownicy konserwacyjni mają dostęp do przegród. | Niebezpieczeństwo wybuchu/poparzenia. | Nie palić. Nie używać wolnego płomienia. | Niebezpieczeństwo upadku. | Nie transportować pasażerów na widłach. | Patrz tabele udźwigu i podręcznik. | 
| Niebezpieczeństwo przewrócenia. | Podczas ruchu utrzymać ładunek w pozycji obniżonej. | Nie używać urządzeń pomocniczych do rozruchu. | Niebezpieczeństwo wybuchu. | Niebezpieczeństwo przewrócenia. | Niebezpieczeństwo zaplątania. | 
| Zachować odległość od pasa. | Nie poziomować maszyny z podniesionym wysięgnikiem. | 
     
   
     
   
     
   
     
   
     
   
     
   
8
37721
     
   
Używając tabeli udźwigu, sprawdzić czy ładunek zawiera się w zakresie udźwigu maszyny. Nie przekraczać ładunku nominalnego.
Środek ładunku wideł (jeżeli są na wyposażeniu) musi być mniejszy lub równy środkowi załadunku wskazanemu w tabeli udźwigu.
Wszystkie udźwigi wskazane w tabeli udźwigu opierają się na założeniu, że maszyna jest ustawiona na twardym terenie, rama jest wypoziomowana, widły są ustawione symetrycznie na przyłączu, ładunek jest wypośrodkowany na widłach, opony są odpowiednich wymiarów i odpowiednio napompowane i podnośnik teleskopowy prawidłowo funkcjonuje.
Jeżeli używa się dodatkowego oprzyrządowania, przeczytać, zrozumieć i przeanalizować naklejki, instrukcje i podręczniki używanego przyrządu.
Nie podnosić ładunku jeżeli podłoże nie jest w stanie utrzymać siły wykonywanej przez maszynę.
Nie podnosić ładunku przed przywołaniem wysięgnika.
Nie używać akcesoriów, które nie są zatwierdzone przez Genie.
Nie używać maszyny przy nieobecności tabeli udźwigu.
Nie przekraczać ładowności nominalnej każdej konfiguracji.
     
   
Nie podnosić wysięgnika jeżeli maszyna nie jest wypoziomowana. Wskaźnik poziomu maszyny powinien wskazywać powyżej +/-0,5 stopni.
Nie pracować z wyłączonym ogranicznikiem ładunku. Nie podnosić ładunku i nie przesuwać maszyny w celu jego ustawienia.
     
   
Podczas ruchu, utrzymać wysięgnik w pozycji poziomej lub poniżej pozycji poziomej i utrzymać ładunek jak najbliżej ziemi.
Używać maszynę z prędkością pozwalającą na utrzymanie ładunku pod kontrolą. Włączać i wyłączać ruchy delikatnie.
     
   
Nie podnosić ładunku, jeżeli nie jest ustawiony lub przymocowany prawidłowo do wideł lub homologowanego przyrządu.
Nie używać maszyny podczas silnego wiatru lub wichury. Nie zwiększać powierzchni narażonej złącza i ładunku. Zwiększenie powierzchni wystawionej na działanie wiatru zmniejsza stabilność maszyny.
Zachować szczególną ostrożność i pracować ze zredukowaną prędkością, gdy maszyna zostaje przemieszczona na powierzchnie nie wypoziomowane, niestabilne, śliskie lub pokryte gruzem, w pobliżu rowów i skarp.
Nie zamieniać ani nie wyłączać komponentów maszyny, które mogłyby w jakiś sposób wpłynąć na bezpieczeństwo i stabilność.
Nie wymieniać elementów krytycznych maszyny na elementy posiadające odmienny ciężar lub specyfikację.
Nie wymieniać opon zainstalowanych fabrycznie na opony o odmiennej charakterystyce lub różnej ilości splotów.
     
   
Podczas ruchu, utrzymać wysięgnik w pozycji poziomej lub poniżej pozycji poziomej i utrzymać ładunek jak najbliżej ziemi.
Gdy maszyna jest rozładowana, poruszać się z widłami lub przyrządem skierowanym do dołu.
Na stromym terenie, postępować wyłącznie w górę lub w dół i utrzymać zawsze maszynę z włączonym biegiem. Nie wykonywać skrętów przy wjeżdżaniu w górę lub w dół.
Ograniczyć przejazd i prędkość przesuwania w oparciu o warunki powierzchni terenu, trakcji, nachylenia, stacjonowania personelu i każdy inny czynnik, który mógłby stanowić niebezpieczeństwo. Nie uruchamiać maszyny jeżeli wysięgnik i oprzyrządowanie nie znajdują się w prawidłowej pozycji jazdy. Ryzyko, że maszyna wywrócić się podczas działań dynamicznych zależy od wielu czynników, które należy wziąć pod uwagę. Do nich należą warunki podłoża/terenu, stabilność i nachylenie, oprzyrządowanie maszyny, sprawność operatora, pozycja ładunku, napompowanie opon, predkość ruchu itp.
Ponadto, przewrócenie maszyny zależy w dużym stopniu od umiejętności operatora, jak szybkość i delikatność wykonywania operacji, jak również pozycji przyrządu i jego ładunku.
Place budowy, drogi często zmieniają swoje nachylenie, mogą posiadać twarde lub miękkie nawierzchnie w oparciu o działania budowlane i klimat.
Operatorzy muszą być odpowiednio przeszkoleni, zachować zdrowy rozsądek oraz mieć doświadczenie stosując środki ostrożności celem uniknięcia wywrócenia.
Ponadto muszą ocenić zmieniające się warunki strefy pracy i unikać przekraczania udźwigu maszyny (lub zdolności operatora) dla danego terenu i jego warunków.
     
   
Gdy używa się maszynę, należy z a w s z e z a p i ą ć p a s y bezpieczeństwa.
Pozostawać zawsze w środku kabiny podczas używania maszyny.
W celu wejścia lub wyjścia z kabiny, ustawić się w kierunku maszyny, skorzystać ze stopni i poręczy i zachować zawsze trzy punkty kontaktu.
Nie używać kierownicy ani innych przyrządów jako zaczepu.
     
   
Nie transportować pasażerów na widłach.
     
   
Nie transportować ani nie podnosić pracowników na tej maszynie.
Nie wrzucać biegu jeżeli hamulec postojowy nie jest zaciągnięty.
Nie uruchamiać maszyny w przypadku złej widoczności.
Nie podnosić wysięgnika jeżeli hamulec postojowy nie jest zaciągnięty.
Nie używać maszyny bez błotników chroniących operatora przed gruzem oraz chroniących szyby kabiny przed zabrudzeniem.
Nie używać maszyny jeżeli sygnalizator dźwiękowy biegu wstecznego jest uszkodzony. Sygnalizator dźwiękowy biegu wstecznego musi uaktywnić się podczas jazdy maszyny do tyłu.
Nie używać maszyny przy słabym oświetleniu.
Operatorzy muszą przestrzegać zasad pracodawcy, placu budowy i przepisów krajowych w zakresie środków ochrony indywidualnej.
Nie kierować maszyny w stronę osób.
Jeżeli maszyna jest wyposażona w radio i/lub mp3, utrzymać głośność na umiarkowanym poziomie, aby można było usłyszeć odgłosy najbliższego otoczenia (np. ruch drogowy, ewentualne alarmy, osoby itp.). Nie regulować sterowań podczas ruchu lub manipulowania ładunkiem.
Używać maszynę z prędkością pozwalającą na utrzymanie ładunku pod kontrolą. Włączać i wyłączać ruchy delikatnie.
     
   
Utrzymać strefę pracy opróżnioną z urządzeń i materiałów oraz ludzi. Nie używać maszyny w obecności osób poniżej lub w pobliżu podniesionego wysięgnika, obojętnie czy ma on zaczepiony ładunek czy też nie.
Przed podniesieniem ładunku upewnić się czy jest on przymocowany.
     
   
Przed włączeniem silnika, wyregulować siedzenie i zapiąć pas bezpieczeństwa.
     
   
Nie używać maszyny w przypadku wycieków oleju z systemu hydraulicznego lub powietrza. Ubytki hydrauliczne lub powietrza mogą spowodować obrażenia skóry oraz poparzenia.
     
   
Wyładować ciśnienie przed odłączeniem linii hydraulicznych. Trzymać się z dala od wycieków i otworów. Posłużyć się kawałkiem kartonu lub papieru w celu wyszukania ubytków. Nie używać
rąk.
Płyny penetrujące skórę muszą być usunięte chirurgicznie w ciągu kilku godzin przez lekarza specjalistę od tego typu obrażeń w celu zapobieżenia gangrenie.
     
   
Trzymać się z dala od pasów i wirników, gdy włączony jest silnik.
Używać maszynę tylko w miejscach odpowiednio wentylowanych w celu uniknięcia zatrucia tlenkiem węgla.
Niewłaściwy kontakt z komponentami zabezpieczonymi przez powłoki może spowodować poważne obrażenia. Tylko wykwalifikowani pracownicy konserwacyjni mają dostęp do przegród. Operator może mieć dostęp do przegród tylko w celu przeprowadzenia kontroli przed pracą. Wszystkie przegrody muszą być zamknięte i zablokowane podczas funkcjonowania maszyny.
Nie używać uszkodzonych lub źle funkcjonujących maszyn.
Najpierw przeprowadzić dokładną kontrolę maszyny i spróbować wszystkie funkcje przed rozpoczęciem każdej zmiany pracy. Oznaczyć i natychmiast postawić w stan nieczynności uszkodzone lub źle funkcjonujące maszyny.
Upewnić czy się czy wszystkie kontrole konserwacyjne zostały wykonane w sposób podany w niniejszym podręczniku i w odpowiednim podręczniku konserwacji.
Upewnić się czy wszystkie naklejki są obecne i czytelne.
Upewnić się czy podręczniki operatora i bezpieczeństwa są kompletne, czytelne i czy znajdują się w schowku znajdującym się w kabinie.
Nie próbować uruchamiać maszyny holując ją lub pchając.
Nie próbować używać wideł ani żadnych przyrządów w celu uwolnienia zablokowanych lub zamrożonych ładunków.
Nie popychać ani nie holować przedmiotów ani ładunków na widłach, przyrządzie lub wysięgniku.
Nie używać akumulatorów ani ładowarek z napięciem powyżej 12 V w celu włączenia awaryjnego silnika.
Nie używać maszyny jako masy do wykonywania prac spawalniczych.
Nieskręcać przednich kół na suchych nawierzchniach, gdy blokada mechanizmu różnicowego jest załączona.
Zachować odległość od części w ruchu, gdy maszyna jest włączona.
Zaciągnąć hamulec postojowy, ustawić na luzie maszynę i obniżyć łącznik lub przyrząd aż do położenia go na ziemi przed opuszczeniem maszyny.
Zachować odległość od podniesionych komponentów.
Przed wykonaniem operacji, przygotować wsporniki do komponentów. Zachować odległość od części w ruchu, gdy maszyna jest włączona.
     
   
Poczekaćnaschłodzenierozgrzanych powierzchni przed ich dotknięciem lub przeprowadzeniem konserwacji.
Nie włączać silnika w przypadku wyczuwania zapachu lub śladów LPG, benzyny, ropy lub innych substancji wybuchowych.
Nie wlewać do maszyny paliwa z włączonym silnikiem.
     
   
Wlewać paliwo do maszyny i ładować akumulatory wyłącznie w strefie odpowiednio wentylowanej, z dala od iskier, płomieni i zapalonych papierosów.
Nie używać maszyny w środowisku niebezpiecznym lub w obecności gazu lub materiałów łatwopalnych lub wybuchowych.
Nie pryskać eteru na silniki wyposażone w świece zapłonowe lub rozgrzane kratki ssawne.
Nie używać powietrza ani tlenu do ładowania akumulatorów.
Maszyna nie jest elektryczne izolowana i nie posiada zabezpieczeń przed kontaktem lub bliskością linii elektrycznych.
     
   
Przestrzegać wszystkich norm lokalnych i krajowych odnoszących się do odległości wymaganych dla linii elektrycznych. Jako minimum, muszą być przestrzegane odległości podane w poniższej tabeli.
Nie używać maszyny jako masy do wykonywania prac spawalniczych.
Skontaktować się zawsze z właścicielem linii elektrycznej. Odłączyć zasilanie elektryczne lub przestawić lub odizolować linie elektryczne przed rozpoczęciem używania maszyny.
Dopilnować wyznaczenia strefy koniecznej do ruchu wysięgnika, poluzowania lub wypoziomowania kabli elektrycznych i zachować ostrożność przy silnym wietrze i wichurach.
Oddalić się od maszyny w przypadku kontaktu z liniami elektrycznymi pod napięciem. Pracownicy na ziemi lub w kabinie nie mogą dotykać ani uruchamiać maszyny dopóki linie elektryczne pod napięciem nie zostaną odłączone.
Nie używać maszyny podczas burzy lub wichury.
     
   
| Napięcie linii | Odległość | min. | 
|---|---|---|
| Od 0 do 50 kV | 10 ft | 3,05 m | 
| >50 przy 200 kV | 15 ft | 4,60 m | 
| >200 przy 350 kV | 20 ft | 6,10 m | 
| >350 przy 500 kV | 25 ft | 7,62 m | 
| >500 przy 750 kV | 35 ft | 10,67 m | 
| >7500 przy 1000 kV | 45 ft | 13,72 m | 
| powyżej 1000 kV | patrz niżej | 
W przypadku linii elektrycznych powyżej 1000 kV, minimalna odległość musi być ustalona przez właściciela lub operatora sieci lub technika zawodowego zarejestrowanego i eksperta w zakresie transmisji i dystrybucji energii elektrycznej.
Niebezpieczeństwo poparzenia
     
   
Akumulatory zawierają kwas. Nosić zawsze odzież i okulary ochronne, gdy wykonuje się operacje na akumulatorach.
Unikać wlewania lub kontaktu z kwasem akumulatorów. Neutralizować wypływ kwasu akumulatorów za pomocą sody oczyszczonej i wody.
     
   
Trzymać akumulatory z dala od iskier, wolnych płomieni, zapalonych papierosów. Akumulatory wytwarzają gaz wybuchowy.
Unikać kontaktu z podłączeniami elektrycznymi.
Jeżeli używa sięładowarek (jeżeli są na wyposażeniu), upewnić się czy urządzenie funkcjonuje na 12 volt i czy nie przekracza 15 amperów.
Podczas jakiejkolwiek interwencji konserwacyjnej lub naprawczej i przede wszystkim podczas spawania, odłączyć akumulator przekręcając wyłącznik akumulatora (skonsultować rozdział "Kontrola naklejek").
Po wyłączeniu odłącznika akumulatora, poczekać 60 sekund przed włączeniem silnika.
Pracodawcy są odpowiedzialni za zagwarantowanie bezpieczeństwa środowiska pracy oraz przestrzeganie lokalnych i krajowych przepisów.
Upewnić się, żeby każda osoba pracująca na maszynie lub w jej pobliżu zna wszystkie stosowane normy bezpieczeństwa.
     
   
     
   
Operatorzy, którzy regularnie lub sporadycznie używają maszynę (np. w celach transportowych) muszą spełniać poniższe wymagania:
przed i podczas pracy nie może spożywać alkoholu, leków lub innych substancji, które mogą zaważyć na jego stanie psychiczno-fizycznym i w konsekwencji wpłynąć negatywnie na jego zdolność obsługi maszyny.
dobry wzrok, dobry słuch, dobra koordynacja i zdolność wykonywania w bezpieczny sposób wszystkich wymaganych czynności do obsługi, w sposób podany w niniejszym podręczniku.
zdolność zrozumienia i zastosowania ustalonych norm, przepisów i środków ostrożności; musi być uważny i potrafić przedsięwziąć wszystkie środki ostrożności w celu zachowania bezpieczeństwa dla siebie i innych; musi angażować się w pełni w celu prawidłowego i odpowiedzialnego wykonania powierzonych mu obowiązków.
musi być spokojny i być w stanie panować nad stresem; umieć prawidłowo ocenić swój stan fizyczny i umysłowy.
musi przeczytać i uważnie przeanalizować zawartość niniejszego podręcznika, załączone rysunki oraz schematy, etykiety i nalepki ostrzegające przed niebezpieczeństwem; musi być poinstruowany i kompetentny we wszystkich dziedzinach dotyczących funkcjonowania i obsługi maszyny.
Od operatora może być wymagane posiadanie licencji (lub prawa jazdy), jeżeli prawo obowiązujące w państwie użytkowania tego typu maszyny ustala taką konieczność. Uzyskać informacje w tej kwestii. W przypadku terytorium Włoch, operator musi być pełnoletni.
Pracownicy odpowiedzialni za konserwację maszyny muszą posiadać kwalifikację mechanikakonserwatora maszyn do robót ziemnych ogólnie i musi obowiązkowo spełniać poniższe wymagania: fizyczne:
dobry wzrok, dobry słuch, dobra koordynacja i zdolność wykonywania w bezpieczny sposób wszystkich wymaganych czynności do konserwacji,
w sposób podany w niniejszym podręczniku. umysłowe :
zdolność zrozumienia i zastosowania ustalonych norm, przepisów i środków ostrożności; musi być uważny i potrafić przedsięwziąć wszystkie środki ostrożności w celu zachowania bezpieczeństwa dla siebie i innych; musi angażować się w pełni w celu prawidłowego i odpowiedzialnego wykonania powierzonych mu obowiazków.
musi przeczytać i uważnie przeanalizować zawartość niniejszego podręcznika, załączone rysunki oraz schematy, etykiety i nalepki ostrzegające przed niebezpieczeństwem; musi być wyspecjalizowany i kompetentny we wszystkich aspektach dotyczących funkcjonowania maszyny.
Z punktu widzenia technicznego, konserwacja rutynowa maszyny nie zakłada złożonych operacji i może być wykonana przez operatora pod warunkiem, że posiada on odpowiednie podstawy techniczne.
Podczas pracy, a szczególnie podczas operacji konserwacyjnych i naprawczych maszyny, operatorzy muszą zawsze nosić odpowiednią odzież roboczą:
     
   
Używać wyłącznie profesjonalnej odzieży ochronnej, homologowanej i w odpowiednio dobrym stanie.
W przypadku, jeżeli warunki operatywne tego wymagają, należy stosować osobiste środki ochrony osobistej:
Maszyna jest wyposażona w wiele wskaźników kontroli i blokady wewnętrzne. W żadnym wypadku nie naruszać ich ani nie usuwać.
Przeprowadzić zawsze próbę funkcjonowania w celu sprawdzenia prawidłowego funkcjonowania tych urządzeń.
Nigdy nie używać uszkodzonej maszyny. Jeżeli maszyna zaczyna mieć znaki złego działania, natychmiast przerwać jej używanie i naprawić ją.
Ogranicznik obciążenia został zaprojektowany jako pomoc dla operatora w utrzymaniu stabilności wzdłużnej maszyny. Gdy osiąga się granice stabilności maszyny, włączają się komunikaty dźwiękowe i wizualne.
Jednakże urządzenie nie może zastąpić doświadczenia Operatora: Odpowiedzialnością użytkownika jest przedsięwzięcie odpowiednich środków bezpieczeństwa koniecznych podczas
działania w zakresie nominalnych granic maszyny. Ogranicznik obciążenia będzie funkcjonował tylko w przypadku, gdy:
pojazd jest unieruchomiony;
Ogranicznik obciążenia ogranicza się do zasygnalizowania operatorowi nieodpowiednich warunków stabilności wzdłuż wzdłużnej frontowej płaszczyzny.
Ogranicznik obciążenia nie został zaprojektowany do ostrzeżenia operatora przed ryzykiem wywrócenia w przypadku:
przesuwu na zakręcie z dużą prędkością lub ze zbyt wąskim promieniem skrętu.
Regulacje, które wpływają na parametry ogranicznika ładunku muszą być powierzone wyłącznie upoważnionym pracownikom.
Mikrowyłącznik jest umieszczony w poduszce siedzenia, jego funkcją jest niedopuszczenie do jakiegokolwiek ruchu transmisyjnego maszyny jeżeli operator nieprawidłowo siedzi na siedzeniu kierowcy.
Niniejszy przyrząd można użyć w celu zatrzymania maszyny podczas sytuacji awaryjnej.
Naciskając na ten przycisk, silnik wyłącza się podczas gdy ogranicznik obciążenia pozostaje aktywny.
Przed ponownym włączeniem maszyny, należy przywrócićdopierwotnegostanu przycisk przekręcając go w kierunku zgodnym z ruchem wskazówek zegara.
Joystick jest wyposażony w wyłącznik aktywacji funkcji. Przycisk w czerwonym kolorze musi być wciśnięty i przytrzymany do zakończenia funkcji wykonywanych za pomocą joysticka; jeżeli się go puści, wykonywany manewr zostaje przerwany.
     
   
     
   
1 Kierownica
Przekręcić w prawo kierownicę w celu obrócenia przednich kół w prawo. Przekręcić w lewo kierownicę w celu obrócenia przednich kół w lewo.
2 Przycisk Zatrzymania Awaryjnego
Skonsultować rozdział "Wskaźniki kontroli i blokady wewnetrzne".
3 Sterowania siedzenia
Skonsultować rozdział "Regulacia siedzenia".
4 Przełącznik kierunkowskazów - Spryskiwacza szyb/Wycieraczek - Świateł drogowych
Przesunąć dźwignię do przodu w celu włączenia lewego kierunkowskazu. Przesunąć dźwignię do tyłu w celu włączenia prawego kierunkowskazu.
W celu spryskania wody na przednią szybę kabiny nacisnąć na przycisk na końcówce dźwigni.
Przekręcić dźwignię w celu włączenia wycieraczek.
Nacisnąć na dźwignię w dół w celu włączenia świateł drogowych (po naciśnięciu wyłącznika świateł drogowych 30 ). Nacisnąć na dźwignię w górę w celu użycia świateł drogowych w celach sygnalizacyjnych.
5 Przełącznik trybu skręcania
Ustawić przełącznik trybu skręcania w środkowej pozycji w celu wybrania skręcania na cztery koła. Ustawić przełącznik trybu skręcania w środkowej pozycji w celu wybrania skręcania na dwa koła. Przekręcić przełącznik trybu skręcania w lewo w celu wybrania przesuwu "krabowego".
6 Przełącznik kluczykowy obejścia ogranicznika obciążenia
Patrz sekcja "Panel sterowniczy ogranicznika obciążenia"
9 Wyłącznik hamulca postojowego
Nacisnąć na dolną część wyłącznika w celu włączenia hamulca postojowego. Nacisnąć na górną część wyłącznika w celu wyłączenia hamulca postojowego.
sterowniczej
Nacisnąć przycisk w celu przesuwania się po menu na ekranie LCD.
Przekręcić klucz i przytrzymać go w pozycji aż do wyłączenia lampki kontrolnej wstępnego podgrzewania ze świecami; gdy zostanie puszczony, klucz powraca automatycznie do pozycji I. Przekręcić klucz do pozycji P w celu przekazania kontroli z kabiny do kosza.
16. Wyłącznik świateł roboczych (jeżeli są na wyposażeniu)
Nacisnąć na wyłącznik w celu włączenia świateł roboczych: wybrać pierwszą pozycję w celu włączenia przednich świateł roboczych i wysięgnika, drugą pozycję w celu włączenia przednich świateł roboczych, wysięgnika i tylnych.
17. Blokada regulacji nachylenia kolumny kierownicy
Poluzować dźwignię po prawej dolnej stronie i przybliżyć lub oddalić kierownicę do wymaganej pozycji, następnie ponownie dokręcić dźwignię.
18 Wyłącznik klimatyzatora
Nacisnąć na wyłącznik w celu włączenia klimatyzacji. Nacisnąć na wyłącznik w celu wyłączenia klimatyzacji.
19 Przełącznik wentylatora ogrzewania kabiny
Nacisnąć na dolną część przełącznika w celu włączenia wirnika ogrzewania kabiny: wybrać pierwszą pozycję do małej prędkości, drugą pozycję do dużej prędkości. Nacisnąć na górną część wyłącznika w celu wyłączenia ogrzewania kabiny.
20 Przełącznik pomocniczego obwodu hydraulicznego (jeżeli jest na wyposażeniu)
Nacisnąć na przełącznik w celu uaktywnienia obwodu hydraulicznego zasilania linii pomocniczych.
21 Wyłącznik czerpaka mieszającego (jeżeli jest na wyposażeniu)
Nacisnąć na dolną część wyłącznika w celu włączenia hydraulicznego czerpaka mieszającego. Nacisnąć na dolną część wyłącznika w celu wyłączenia hydraulicznego czerpaka mieszającego.
22 Wyłącznik świateł awaryjnych (jeżeli są na wyposażeniu)
Nacisnąć na dolną część wyłącznika w celu włączenia świateł awaryjnych. Nacisnąć na górną część wyłącznika w celu wyłączenia świateł awaryjnych.
23. Wyłącznik świateł drogowych
Nacisnąć na wyłącznik w celu włączenia świateł drogowych: wybrać pierwszą pozycję w celu włączenia świateł pozycyjnych, drugą pozycję w celu włączenia świateł mijania.
24. Przełącznik przepływu oleju hydraulicznego czerpaka mieszającego (jeżeli jest na wyposażeniu)
Nacisnąć na górną część przełącznika w celu skierowania strumienia oleju w prawo, nacisnąć
na dolną część w celu skierowania strumienia oleju w lewo.
25. Wyłącznik do uruchomienia szybkozłączki hydraulicznej (jeżeli jest na wyposażeniu)
Trzymać wciśnięty wyłącznik w celu uaktywnienia zaczepienia lub odczepienia przyrządu końcowego sterowanego za pomocą joysticka .
26 Przełącznik droga/budowa
Nacisnąć na dolną część przełącznik w celu wybrania trybu budowy. Nacisnąć na górną część przełącznik w celu wybrania trybu przejazdu drogą.
27 Dźwignia selekcji przesuwu - Przycisk sygnalizatora świetlnego
Przestawić dźwignię selekcji przesuwu do przodu w celu wrzucenia biegu do przodu. Przestawić dźwignię selekcji przesuwu do tyłu w celu zmiany biegu. Przestawić dźwignię do środkowej pozycji w celu wrzucenia luźnego biegu.
Nacisnąć przycisk na górnej końcówce dźwigni w celu uaktywnienia sygnalizatora dźwiękowego. Puścić przycisk w celu przerwania sygnału dźwiękowego.
     
   
1. Lampka kontrolna - niskie ciśnienie oleju silnika
Gdy jest zapalona, lampka ta wskazuje, że ciśnienie oleju silnika jest za niskie oraz ryzyko uszkodzenia maszyny. Wyłączyć maszynę i poddać ją konserwacji.
3. Lampka kontrolna - zapchanie filtra oleju hydraulicznego
Gdy jest zapalona, lampka ta wskazuje, że filtr oleju hydraulicznego jest zapchany oraz ryzyko uszkodzenia maszyny. Wyłączyć maszynę i poddać ja konserwacji.
4. Lampka kontrolna-niski poziomoleju hydraulicznego
Gdy jest zapalona, lampka ta wskazuje, że poziom oleju hydraulicznego jest za niski oraz ryzyko uszkodzenia maszyny. Wyeliminować ubytki oleju i uzupełnić poziom.
10 Lampka kontrolna - zapchanie filtra powietrza silnika
Gdy jest zapalona, lampka ta wskazuje, że filtr powietrza jest zapchany: przystąpić do czyszczenia lub wymiany wkładu filtra powietrza.
Ta lampka służy do zasygnalizowania problemu w silniku. W celu określenia problemu, odnieść się do rozdziału "Logika lampek kontrolnych silnika".
12 Lampka kontrolna - poważna usterka silnika
Gdy jest zapalona, lampka ta sygnalizuje problem w silniku. W celu określenia problemu, odnieść się do rozdziału "Logika lampek kontrolnych silnika".
15 Wskaźnik temperatury płynu chłodzącego z lampką kontrolną wysokiej temperatury
Gdy osiągnie czerwoną strefę. wskaźnik sygnalizuje, że temperatura płynu chłodzącego silnika jest za wysoka oraz ryzyko uszkodzenia silnika. Wyłączyć silnik i poddać go konserwacji.
19 Lampka kontrolna - wysoka temperatura oleju hydraulicznego
Gdy jest zapalona, lampka ta wskazuje, że temperatura oleju hydraulicznego w zbiorniku jest za wysoka oraz ryzyko uszkodzenia maszyny. Wyłączyć maszynę i poddać ją konserwacji.
22 Lampka kontrolna - niskie ciśnienie hamulców
Gdy jest zapalona, lampka ta wskazuje, że ciśnienie obwodu hamowania jest za niskie do prawidłowego działania oraz ryzyko uszkodzenia maszyny. Wyłączyć maszynę i poddać ją konserwacji.
25. Lampka kontrolna diagnostyki
     
   
✓ Zrozumieć i stosować podstawowe zasady odnośnie funkcjonowania maszyny w warunkach bezpieczeństwa zawartych w niniejszym podręczniku.
2. Przed rozpoczęciem pracy przeprowadzić zawsze przegląd.
Zapoznać się i zrozumieć wstępną kontrolę operatywną przed przystąpieniem do następnego rozdziału.
Wstępna kontrola operacyjna i konserwacja rutynowa maszyny należą do kompetencji operatora.
Wstępna kontrola operacyjna jest przeglądem wizualnym wykonywanym przez operatora przed każdą zmianą roboczą w celu ustalenia występowania usterek przed przystąpieniem do przetestowania funkcji.
Wstępna kontrola operacyjna służy ponadto do ustalenia czy są konieczne interwencje konserwacji rutynowej. Operator może wykonywać tylko interwencje konserwacji rutynowej określone w niniejszym podręczniku.
Odnieść się do spisu na następnej stronie i sprawdzić każdy komponent.
W przypadku wykrycia uszkodzenia lub jakiejkolwiek nie autoryzowanej modyfikacji na maszynie w stosunku do normalnych warunków oznakować i wycofać maszynę z użytku.
Naprawy mogą być przeprowadzane jedynie przez wykwalifikowany personel na podstawie specyfikacji technicznych producenta. Po zakończeniu napraw operator musi ponownie dokonać przeglądu przed przystąpieniem do przetestowania działania.
Czynności konserwacji programowej mogą zostać przeprowadzone jedynie przez wykwalifikowany personel na podstawie specyfikacji technicznej producenta i spełniając wymogi wymienione w podręczniku dotyczącym odpowiedzialności.
Sprawdzićnastępujące części w celu zidentyfikowania ewentualnych uszkodzeń, części brakujących lub nieprawidłowo zamontowanych oraz nieautoryzowanych modyfikacji:
Sprawdzić całą maszynę w celu określenia:
     
   
Zapoznać się i zrozumieć wstępną kontrolę operatywną próbując funkcje przed przystąpieniem do następnego rozdziału.
Przetestowanie funkcji zostało zaprojektowane do wykrywania ewentualnych usterek przed przystąpieniem do używania maszyny. Operator musi odnieść się do instrukcji dostarczonych w celu przeprowadzenia wszystkich funkcji maszyny.
Nigdy nie używać uszkodzonej maszyny. W przypadku występowania usterek, oznaczyć i ustawić w stan nieczynności maszynę. Naprawy mogą być przeprowadzane jedynie przez wykwalifikowany personel na podstawie specyfikacji technicznych producenta.
Na zakończenie naprawy, operator musi ponownie przeprowadzić wstępną kontrolę operacyjną oraz próbę funkcji przed użyciem maszyny.
30 Sprawdzić czy wszystkie światła robocze i drogowe działają prawidłowo.
Zrozumieć i stosować podstawowe zasady odnośnie funkcjonowania maszyny w warunkach bezpieczeństwa zawartych w niniejszym podręczniku.
5. Używać maszynę wyłącznie do celów, do których została zaprojektowana.
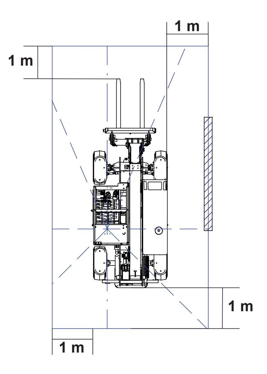
Przegląd strefy pracy pozwala operatorowi na określenie czy jest ona kompatybilna z funkcjonowaniem maszyny w warunkach bezpieczeństwa. Kontrola musi być wykonana przed przestawieniem maszyny do miejsca pracy.
Odpowiedzialnością operatora jest poznanie i zapamiętanie zagrożeń związanych ze strefą pracy i w konsekwencji być przygotowanym do ich zapobieżenia podczas przemieszczania, przystosowania i funkcjonowania maszyny.
Rozpoznanie i uniknięcie następujących sytuacji zagrożenia:
Przeprowadzić odpowiednie kontrole w celu upewnienia się czy wszystkie naklejki są obecne i czytelne.
Poniżej został załączony spis numeryczny z liczbą i opisem poszczególnych naklejek.
| Kod artykułu | Opis naklejki | ١١. | 
|---|---|---|
| 215645 | Niebezpieczeństwo - Niebezpieczeństwo wybuchów/ poparzenia, zaopatrzenie | 1 | 
| 215646 | Uwaga - Niebezpieczeństwo porażenia prądem elektrycznym | 2 | 
| 09.4618.1818 | Niebezpieczeństwo - Nie transportować pasażerów na widłach | 1 | 
| 82560 | Uwaga – Niebezpieczeństwo wtrysku | 1 | 
| 237720 | Uwaga - Niebezpieczeństwo zgniecenia, maszyna w ruchu | 3 | 
| 237721 | Uwaga - Założyć pas bezpieczeństwa | 1 | 
| 237726 | Uwaga - Niebezpieczeństwo poparzenia | 1 | 
| 09.4616.0102 | Etykieta - 2500 kg | 1 | 
| 09.4618.0776 | Etykieta - Wewnętrzny system odblokowujący górną część drzwi | 1 | 
| 09.4618.0920 | Uwaga - Przegroda silnika | 1 | 
| 09.4618.0922 | Uwaga - Niebezpieczeństwo zgniecenia | 2 | 
| 09.4618.0924 | Niebezpieczeństwo - Niebezpieczeństwo wybuchów/ poparzenia | 1 | 
| 09.4618.0923 | Uwaga - Niebezpieczeństwo poparzenia, rozgrzane komponenty | 3 | 
| 09.4618.1691 | Etykieta - Punkty testowe | 1 | 
| 09.4618.1375 | Uwaga - Przewrócenie, respektować dopuszczalny udźwig | 1 | 
| 09.4618.1398 | Etykieta - Sworzeń mocujący przyrządu | 1 | 
| 09.4618.1025 | Etykieta - Odblokowanie zewnętrzne drzwi | 1 | 
| 09.4618.1742 | Etykieta - Wyjście bezpieczeństwa | 1 | 
| 09.4618.1419 | Etykieta - Olej hydrauliczny Naturelle | 1 | 
| 09.4618.1423 | Niebezpieczeństwo - Niebezpieczeństwo wybuchów/ poparzenia | 1 | 
| Kod artykułu | Opis naklejki | ١١. | 
|---|---|---|
| 09.4618.1687 | Etykieta - Joystick | 1 | 
| 09.4618.1689 | Etykieta - Joystick z zablokowaniem/ odblokowaniem (jeżeli jest na wyposażeniu) | 1 | 
| 09.4618.1458 | Uwaga - Przewrócenie, respektować dopuszczalny udźwig | 2 | 
| 09.4618.0390 | Naklejka dekoracyjna - Genie
       
        GTH- 2506 | 2 | 
| 09.4618.0930 | Naklejka dekoracyjna - Genie
       
        GTH- 2506 | 1 | 
| 1258639 | Naklejka dekoracyjna - Genie | 1 | 
| 09.4618.1645 | Etykieta - Wstrzymanie ogranicznika obciążenia | 1 | 
| 09.4618.1670 | Etykieta - Olej hydrauliczny | 2 | 
| 28159 | Etykieta - Diesel | 1 | 
| 09.4618.1674 | Uwaga - Niebezpieczeństwo zgniecenia, kołnierz bezpieczeństwa | 1 | 
| 09.4618.1681 | Etykieta - Ciśnienie opon 4,5 bar | 4 | 
| 09.4618.1690 | Etykieta - Zakotwienie i podnoszenie | 1 | 
| 09.4618.1678 | Etykieta - Wyłącznik baterii | 1 | 
| 09.4618.1679 | Uwaga - 7 naklejek | 1 | 
| 09.4618.1713 | Uwaga - Niebezpieczeństwo poparzenia | 1 | 
| 09.4618.1781 | Uwaga - Niebezpieczeństwo upadku przedmiotów | 1 | 
| 09.4618.1782 | Niebezpieczeństwo - Niebezpieczeństwo porażenia prądem elektrycznym | 1 | 
| 09.4618.1999 | Etykieta - Nie używać płynu hamulcowego DOT | 1 | 
| Tabele udźwigu GTH-2506 | ||
|---|---|---|
| Kod artykułu | Opis | 11. | 
| 09.4618.1637 | Etykieta - Widły na gumie | 1 | 
| 09.4618.0835 | Etykieta - Stały hak | 1 | 
| 09.4618.0837 | Etykieta - Pal kotwiący do konserwacji 2000 kg | 1 | 
| 09.4618.1426 | Etykieta - Czerpak | 1 | 
| 09.4618.1515 | Etykieta - Widły MANITOU | 1 | 
     
   
Zacienienie wskazuje, że naklejka jest schowana, na przykład znajduje się pod pokrywą
Przeprowadzić odpowiednie kontrole w celu upewnienia się czy wszystkie naklejki są obecne i czytelne.
Poniżej został załączony spis numeryczny z liczbą i opisem poszczególnych naklejek.
| Kod artykułu | Opis naklejki | П. | 
|---|---|---|
| 215645 | Niebezpieczeństwo - Niebezpieczeństwo wybuchów/ poparzenia, zaopatrzenie | 1 | 
| 215646 | Uwaga - Niebezpieczeństwo porażenia prądem elektrycznym | 2 | 
| 09.4618.1818 | Niebezpieczeństwo - Nie transportować pasażerów na widłach | 1 | 
| 82560 | Uwaga – Niebezpieczeństwo wtrysku | 1 | 
| 237720 | Uwaga - Niebezpieczeństwo zgniecenia, maszyna w ruchu | 3 | 
| 237721 | Uwaga - Założyć pas bezpieczeństwa | 1 | 
| 237726 | Uwaga - Niebezpieczeństwo poparzenia | 1 | 
| 09.4616.0102 | Etykieta - 2500 kg | 1 | 
| 09.4618.0776 | Etykieta - Wewnętrzny system odblokowujący górną część drzwi | 1 | 
| 09.4618.0920 | Uwaga - Przegroda silnika | 1 | 
| 09.4618.0922 | Uwaga - Niebezpieczeństwo zgniecenia | 2 | 
| 09.4618.0924 | Niebezpieczeństwo - Niebezpieczeństwo wybuchów/ poparzenia | 1 | 
| 09.4618.0923 | Uwaga - Niebezpieczeństwo poparzenia, rozgrzane komponenty | 3 | 
| 09.4618.1691 | Etykieta - Punkty testowe | 1 | 
| 09.4618.1375 | Uwaga - Przewrócenie, respektować dopuszczalny udźwig | 1 | 
| 09.4618.1398 | Etykieta - Sworzeń mocujący przyrządu | 1 | 
| 09.4618.1025 | Etykieta - Odblokowanie zewnętrzne drzwi | 1 | 
| 09.4618.1742 | Etykieta - Wyjście bezpieczeństwa | 1 | 
| 09.4618.1419 | Etykieta - Olej hydrauliczny Naturelle | 1 | 
| Kod artykułu | Opis naklejki | П. | 
|---|---|---|
| 09.4618.1423 | Niebezpieczeństwo - Niebezpieczeństwo wybuchów/ poparzenia | 1 | 
| 09.4618.1687 | Etykieta - Joystick | 1 | 
| 09.4618.1689 | Etykieta - Joystick z zablokowaniem/ odblokowaniem (jeżeli jest na wyposażeniu) | 1 | 
| 09.4618.1458 | Uwaga - Przewrócenie, respektować dopuszczalny udźwig | 2 | 
| 09.4618.0390 | Naklejka dekoracyjna - Genie GTH- 2506 | 2 | 
| 09.4618.0930 | Naklejka dekoracyjna - Genie
       
        GTH- 2506 | 1 | 
| 1258639 | Naklejka dekoracyjna - Genie | 1 | 
| 09.4618.1645 | Etykieta - Wstrzymanie ogranicznika obciążenia | 1 | 
| 09.4618.1670 | Etykieta - Olej hydrauliczny | 2 | 
| 09.4618.1671 | Etykieta - Paliwo ULSD | 1 | 
| 09.4618.1674 | Uwaga - Niebezpieczeństwo zgniecenia, kołnierz bezpieczeństwa | 1 | 
| 09.4618.1681 | Etykieta - Ciśnienie opon 4,5 bar | 4 | 
| 09.4618.1690B | Etykieta - Zakotwienie i podnoszenie | 1 | 
| 09.4618.1678 | Etykieta - Wyłącznik baterii | 1 | 
| 09.4618.1679 | Uwaga - 7 naklejek | 1 | 
| 09.4618.1713 | Uwaga - Niebezpieczeństwo poparzenia | 1 | 
| 09.4618.1781 | Uwaga - Niebezpieczeństwo upadku przedmiotów | 1 | 
| 09.4618.1782 | Niebezpieczeństwo - Niebezpieczeństwo porażenia prądem elektrycznym | 1 | 
| 09.4618.1822 | Etykieta - Poziom akustyczny 101 dB | 1 | 
| 09.4618.1829 | Etykieta - Naklejka EcoLogo | 3 | 
| 09.4618.1999 | Etykieta - Nie używać płynu hamulcowego DOT | 1 | 
| Tabele udźwigu GTH-2506 | ||
| Kod artykułu | Opis | ١١. | 
| 09.4618.1637 | Etykieta - Widły na gumie | 1 | 
| 09.4618.0835 | Etykieta - Stały hak | 1 | 
| 09.4618.0837 | Etykieta - Pal kotwiący do konserwacji 2000 kg | 1 | 
| 09.4618.1426 | Etykieta - Czerpak | 1 | 
| 09.4618.1515 | Etykieta - Widły MANITOU | 1 | 
     
   
Zacienienie wskazuje, że naklejka jest schowana, na przykład znajduje się pod pokrywą
Kontrola konfiguracji do homologacji drogowej
     
   
     
   
| Poz. | Kod artykułu | ΤÜV | Szwajcaria | Włochy | 
|---|---|---|---|---|
| 1 | 09.4618.0339 | Max prędkość 20 km/h | ||
| 2 | 09.4618.0276 | Żółte światło odblaskowe | ||
| 3 | 56.0010.0020 | Pomarańczowe światło odblaskowe | ||
| 4 | 09.0803.0081 | Ograniczniki do kół | ||
| 7 | 09.4616.0155 | Tabliczka homologacyjna | ||
| 7 | 09.4616.0153 | Tabliczka homologacyjna | 
Przeprowadzić odpowiednie kontrole w celu upewnienia się czy wszystkie naklejki są obecne i czytelne.
Poniżej został załączony spis numeryczny z liczbą i opisem poszczególnych naklejek.
| Kod artykułu | Opis naklejki | II. | 
|---|---|---|
| 215645 | Niebezpieczeństwo - Niebezpieczeństwo wybuchów/ poparzenia, zaopatrzenie | 1 | 
| 215646 | Uwaga - Niebezpieczeństwo porażenia prądem elektrycznym | 2 | 
| 09.4618.1818 | Niebezpieczeństwo - Nie transportować pasażerów na widłach | 1 | 
| 82560 | Uwaga – Niebezpieczeństwo wtrysku | 1 | 
| 237720 | Uwaga - Niebezpieczeństwo zgniecenia, maszyna w ruchu | 3 | 
| 237721 | Uwaga - Założyć pas bezpieczeństwa | 1 | 
| 237726 | Uwaga - Niebezpieczeństwo poparzenia | 1 | 
| 09.4616.0002 | Etykieta - 3000 kg | 1 | 
| 09.4618.0776 | Etykieta - Wewnętrzny system odblokowujący górną część drzwi | 1 | 
| 09.4618.0920 | Uwaga - Przegroda silnika | 1 | 
| 09.4618.0922 | Uwaga - Niebezpieczeństwo zgniecenia | 2 | 
| 09.4618.0924 | Niebezpieczeństwo - Niebezpieczeństwo wybuchów/ poparzenia | 1 | 
| 09.4618.0923 | Uwaga - Niebezpieczeństwo poparzenia, rozgrzane komponenty | 3 | 
| 09.4618.1691 | Etykieta - Punkty testowe | 1 | 
| 09.4618.1375 | Uwaga - Przewrócenie, respektować dopuszczalny udźwig | 1 | 
| 09.4618.1398 | Etykieta - Sworzeń mocujący przyrządu | 1 | 
| 09.4618.1025 | Etykieta - Odblokowanie zewnętrzne drzwi | 1 | 
| 09.4618.1742 | Etykieta - Wyjście bezpieczeństwa | 1 | 
| 09.4618.1419 | Etykieta - Olej hydrauliczny Naturelle | 1 | 
| 09.4618.1423 | Niebezpieczeństwo - Niebezpieczeństwo wybuchów/ poparzenia | 1 | 
| Kod artykułu | Opis naklejki | ١١. | 
|---|---|---|
| 09.4618.1687 | Etykieta - Joystick | 1 | 
| 09.4618.1689 | Etykieta - Joystick z zablokowaniem/ odblokowaniem (jeżeli jest na wyposażeniu) | 1 | 
| 09.4618.1458 | Uwaga - Przewrócenie, respektować dopuszczalny udźwig | 2 | 
| 09.4618.1992 | Naklejka dekoracyjna - Genie GTH- 3007 | 1 | 
| 09.4618.1993 | Naklejka dekoracyjna - GTH-3007 | 1 | 
| 09.4618.1994 | Naklejka dekoracyjna - Genie
       
        GTH- 3007 | 1 | 
| 1258639 | Naklejka dekoracyjna - Genie | 1 | 
| 09.4618.1645 | Etykieta - Wstrzymanie ogranicznika obciążenia | 1 | 
| 09.4618.1670 | Etykieta - Olej hydrauliczny | 2 | 
| 28159 | Etykieta - Diesel | 1 | 
| 09.4618.1674 | Uwaga - Niebezpieczeństwo zgniecenia, kołnierz bezpieczeństwa | 1 | 
| 09.4618.1682 | Etykieta - ciśnienie opon 5,5 bar | 4 | 
| 09.4618.1995 | Etykieta - Zakotwienie i podnoszenie | 1 | 
| 09.4618.1678 | Etykieta - Wyłącznik baterii | 1 | 
| 09.4618.1679 | Uwaga - 7 naklejek | 1 | 
| 09.4618.1713 | Uwaga - Niebezpieczeństwo poparzenia | 1 | 
| 09.4618.1781 | Uwaga - Niebezpieczeństwo upadku przedmiotów | 1 | 
| 09.4618.1782 | Niebezpieczeństwo - Niebezpieczeństwo porażenia prądem elektrycznym | 1 | 
| 09.4618.1999 | Etykieta - Nie używać płynu hamulcowego DOT | 1 | 
| Tabele udźwigu GTH-3007 | ||
| Kod artykułu | Opis | ١١. | 
| 09.4618.2016 | Etykieta - Widły na gumie | 1 | 
| 09.4618.2022 | Etykieta - Stały hak | 1 | 
| 09.4618.2023 | Etykieta - Pal kotwiący do konserwacji 2000 kg | 1 | 
| 09.4618.2024 | Etykieta - Pal kotwiący do konserwacji 900 kg | 1 | 
| 09.4618.2025 | Etykieta - Czerpak | 1 | 
     
   
Przeprowadzić odpowiednie kontrole w celu upewnienia się czy wszystkie naklejki są obecne i czytelne.
Poniżej został załączony spis numeryczny z liczbą i opisem poszczególnych naklejek.
| Kod artykułu | Opis naklejki | ١١. | 
|---|---|---|
| 215645 | Niebezpieczeństwo - Niebezpieczeństwo wybuchów/poparzenia, zaopatrzenie | 1 | 
| 215646 | Uwaga - Niebezpieczeństwo porażenia prądem elektrycznym | 2 | 
| 09.4618.1818 | Niebezpieczeństwo - Nie transportować pasażerów na widłach | 1 | 
| 82560 | Uwaga – Niebezpieczeństwo wtrysku | 1 | 
| 237720 | Uwaga - Niebezpieczeństwo zgniecenia, maszyna w ruchu | 3 | 
| 237721 | Uwaga - Założyć pas bezpieczeństwa | 1 | 
| 237726 | Uwaga - Niebezpieczeństwo poparzenia | 1 | 
| 09.4616.0002 | Etykieta - 3000 kg | 1 | 
| 09.4618.0776 | Etykieta - Wewnętrzny system odblokowujący górną część drzwi | 1 | 
| 09.4618.0920 | Uwaga - Przegroda silnika | 1 | 
| 09.4618.0922 | Uwaga - Niebezpieczeństwo zgniecenia | 2 | 
| 09.4618.0924 | Niebezpieczeństwo - Niebezpieczeństwo wybuchów/poparzenia | 1 | 
| 09.4618.0923 | Uwaga - Niebezpieczeństwo poparzenia, rozgrzane komponenty | 3 | 
| 09.4618.1691 | Etykieta - Punkty testowe | 1 | 
| 09.4618.1375 | Uwaga - Przewrócenie, respektować dopuszczalny udźwig | 1 | 
| 09.4618.1398 | Etykieta - Sworzeń mocujący przyrządu | 1 | 
| 09.4618.1025 | Etykieta - Odblokowanie zewnętrzne drzwi | 1 | 
| 09.4618.1742 | Etykieta - Wyjście bezpieczeństwa | 1 | 
| 09.4618.1419 | Etykieta - Olej hydrauliczny Naturelle | 1 | 
| 09.4618.1423 | Niebezpieczeństwo - Niebezpieczeństwo wybuchów/poparzenia | 1 | 
| 09.4618.1687 | Etykieta - Joystick | 1 | 
| 09.4618.1689 | Etykieta - Joystick z zablokowaniem/ odblokowaniem (jeżeli jest na wyposażeniu) | 1 | 
| Kod artykułu | Opis naklejki | П. | 
|---|---|---|
| 09.4618.1458 | Uwaga - Przewrócenie, respektować dopuszczalny udźwig | 2 | 
| 09.4618.1992 | Naklejka dekoracyjna - Genie GTH- 3007 | 1 | 
| 09.4618.1993 | Naklejka dekoracyjna - GTH-3007 | 1 | 
| 09.4618.1994 | Naklejka dekoracyjna - Genie GTH-3007 | 1 | 
| 1258639 | Naklejka dekoracyjna - Genie | 1 | 
| 09.4618.1645 | Etykieta - Wstrzymanie ogranicznika obciążenia | 1 | 
| 09.4618.1670 | Etykieta - Olej hydrauliczny | 2 | 
| 09.4618.1671 | Etykieta - Paliwo ULSD | 1 | 
| 09.4618.1674 | Uwaga - Niebezpieczeństwo zgniecenia, kołnierz bezpieczeństwa | 1 | 
| 09.4618.1682 | Etykieta - ciśnienie opon 5,5 bar | 4 | 
| 09.4618.1995 | Etykieta - Zakotwienie i podnoszenie | 1 | 
| 09.4618.1678 | Etykieta - Wyłącznik baterii | 1 | 
| 09.4618.1679 | Uwaga - 7 naklejek | 1 | 
| 09.4618.1713 | Uwaga - Niebezpieczeństwo poparzenia | 1 | 
| 09.4618.1781 | Uwaga - Niebezpieczeństwo upadku przedmiotów | 1 | 
| 09.4618.1782 | Niebezpieczeństwo - Niebezpieczeństwo porażenia prądem elektrycznym | 1 | 
| 09.4618.1829 | Etykieta - EcoLogo | 3 | 
| 09.4618.2026 | Etykieta - Poziom akustyczny 104 dB | 1 | 
| 09.4618.1999 | Etykieta - Nie używać płynu hamulcowego DOT | 1 | 
| Tabele udźwigu GTH-3007 | ||
| Kod artykułu | Opis | Ш. | 
| 09.4618.2016 | Etykieta - Widły na gumie | 1 | 
| 09.4618.2022 | Etykieta - Stały hak | 1 | 
| 09.4618.2023 | Etykieta - Pal kotwiący do konserwacji 2000 kg | 1 | 
| 09.4618.2024 | Etykieta - Pal kotwiący do | 1 | 
konserwacji 900 kg
09.4618.2025 Etykieta - Czerpak
     
   
     
   
Kontrola konfiguracji do homologacji drogowej
     
   
Rozdział "Funkcjonowanie i obsługa" dostarcza instrukcji dotyczących każdego aspektu związanego z obsługą maszyny. Odpowiedzialnością operatora jest przestrzeganie wszystkich norm bezpieczeństwa i instrukcji wskazanych w podręcznikach operatora, bezpieczeństwa i odpowiedzialności.
Wózek podnośnikowy terenowy o zmiennym udźwigu jest określony jako typ wózka kołowego zaprojektowanego przede wszystkim jako wózek widłowy z wysięgnikiem obrotowym, który może być wyposażony w różne oprzyrządowanie do podnoszenia materiałów. Jakiekolwiek użycie inne od tego wskazanego jest niebezpieczne.
Tylko upoważnieni pracownicy mogą używać maszynę. Jeżeli przewiduje się, że maszyna będzie używana przez więcej niż jednego operatora w różnych momentach podczas tej samej zmiany roboczej, wszyscy operatorzy muszą przestrzegać norm bezpieczeństwa oraz instrukcji wskazanych w podręcznikach operatora, bezpieczeństwa i odpowiedzialności. Oznacza to, że każdy nowy operator musi przeprowadzić przed
rozpoczęciem pracy kontrolę i próbę funkcji oraz sprawdzić strefę pracy.
Ponadto, każda osoba działająca w pobliżu urządzenia musi znać stosowane środki ostrożności.
     
   
W celu wyregulowania pozycji siedzenia, działać na dźwigni A w celu przesunięcia siedzenia do przodu lub do tyłu. Po przesunięciu zwolnić dźwignię, sprawdzając czy siedzenie pozostaje zablokowane w wybranej pozycji.
W celu wyregulowania wysokości i amortyzacji siedzenia, przekręcić pokrętło B w kierunku zgodnym lub przeciwnym do ruchu wskazówek zegara aż do uzyskania wymaganej amortyzacji. W celu wykonania prawidłowej regulacji, upewnić się czy wskaźnik żółty C znajduje się w zielonym polu, gdy operator siedzi w miejscu kierowania.
W celu wyregulowania oparcia, działać na dźwigni D i nacisnąć plecami na oparcie aż do uzyskania wymaganego nachylenia, następnie puścić dźwignie.
W celu wyregulowania podłokietnika, podnieść podłokietnik E i działać na kółku F w celu doprowadzenia go na wymaganą wysokość.
A Siedzenie tylko dla jednej osoby.
Nie regulować siedzenia z włączoną maszyną.
     
   
Usiąść na siedzenie przed kierownicą:
Maszyna dysponuje pięcioma lusterkami wstecznymi. W celu ich wyregulowania, przekręcić je ręcznie do pozycji gwarantującej jak najlepszą widoczność.
     
   
     
   
Użyć zawsze wyłącznika hamulca postojowego w celu zaciągnięcia hamulca postojowego przed podniesieniem wysięgnika.
Przed zejściem z siedzenia kierowcy, zaciągnąć zawsze hamulec postojowy.
Nacisnąć na dolną część wyłącznika w celu włączenia hamulca postojowego.
Nacisnąć na górną część wyłącznika w celu wyłączenia hamulca postojowego.
Użyć pedału hamulca w celu sprawdzenia prędkości maszyny i w celu zatrzymania ruchu maszyny.
Trzymać wciśnięty pedał hamulca w celu zatrzymania maszyny.
Jeżeli silnik nie włącza się w ciągu 30 sekund, wyszukać przyczynę problemu i naprawić ewentualne usterki. Poczekać 20 sekund przed ponowną próbą włączenia.
W zimnym klimacie, przy temperaturach 20°F/-6°C lub niższych, rozgrzać silnik przez 5 minut przed użyciem maszyny w celu uniknięcia uszkodzenia instalacji hydraulicznej. W bardzo zimnym klimacie, przy temperaturach 0°F/-18°C lub niższych, maszyny muszą być wyposażone w opcjonalny zestaw do rozruchu na zimno. Rozruch silnika przy w temperaturach poniżej 0°F/-18°C może wymagać używania dodatkowego akumulatora.
Wyrównać zawsze koła z maszyną przed wybraniem trybu skręcania.
Nie wyrównywać kół podczas jazdy.
W celu wyrównania tylnych kół:
Przechodząc ze skrętu na czterech kołach do przesuwu "krabowego" (lub odwrotnie), maszyna wyrówna automatycznie tylne koła.
     
   
Podnieść dwie dźwignie i wykręcić nakrętki motylkowe, które mocując dźwignie na ramie.
     
   
     
   
Użyć dźwigni wyboru przesuwu w celu sprawdzenia kierunku biegu maszyny.
Przed wrzuceniem biegu nacisnąć na pedał hamulca.
Aby przesuwać się do przodu, przestawić dźwignię wyboru przesuwu w górę i w stronę przedniej części maszyny.
W celu przesuwu wstecz, przestawić dźwignię wyboru przesuwu w stronę tyłu maszyny: sygnalizator dźwiękowy biegu wstecznego włącza się i zapalają się tylne światła robocze (jeżeli są na wyposażeniu).
W celu powrotu do pozycji luzu, ustawić dźwignię wyboru przesuwu do środkowej pozycji.
     
   
Wypośrodkować ładunek na widłach. Ustawić ładunek w taki sposób, aby był kompletnie ustawiony na ramie wideł.
Podczas transportu utrzymać ładunek możliwie jak najbliżej ziemi. Załadowane maszyny muszą być zawsze przesuwane ze wskaźnikiem nachylenia wysięgnika ustawionym na 0 stopni lub mniej.
W celu dodatkowego zabezpieczenia ładunku, przechylić widły nieznacznie do tyłu.
Przed zaciągnięciem hamulca postojowego, zatrzymać kompletnie maszynę.
Tabela udźwigu znajdująca się w kabinie zawiera granice operatywne odpowiednio utrzymanej i używanej maszyny. W celu posłużenia się tabelą udźwigu, operator musi znać ciężar ładunku, jego środek i odległość oraz wysokość, na którą ładunek musi być ustawiony.
Ta maszyna ma kilka tabel udźwigu. Upewnić się czy używa się tabeli udźwigu odpowiedniej do przyrządu końcowego zamontowanego na maszynie.
Jeżeli nie jest możliwe ustawienie ciężaru ładunku na wysokości i pod wymaganym kątem, istnieją następujące rozwiązania:
     
   
     
   
5 Poruszać stopniowo urządzeniem sterującym do opuszczenia i rozkładania wysięgnika na wymaganą wysokość. Obniżyć ładunek do momentu, aż jego ciężar pozostanie poza widłami. Nie forsować do dołu wideł.
     
   
6 Poruszać stopniowo urządzeniem sterującym do podnoszenia i złożyć wysięgnik. Ta operacja powoduje wyciągnięcie wideł spod ładunku.
     
   
7 Gdy widły i struktura są rozładowane, wysięgnik może być obniżony.
     
   
     
   
Szybkozłączka hydrauliczna (jeżeli jest na wyposażeniu)
     
   
Zablokować lub odblokować hydrauliczną szybkozłączkę naciskając jednocześnie wyłącznik zablokowania/odblokowania szybkozłączki hydraulicznej, przycisk aktywacji (B) joysticka wielofunkcyjnego i białe kółko (A)
W tylnej części kabiny znajduje się zespół, który pozwala na zarządzanie ogranicznikiem obciążenia maszyny.
Zebrane dane, w odniesieniu z typem używanego przyrządu, są stale porównywane z danymi wprowadzonymi do programu systemu. Wynik przetwarzania zostaje przełożony na trzy możliwe sytuacje na displayu, wyświetlone przez lampki kontrolne znajdujące się po lewej stronie displayu.
Stan stabilności. ( L1 , L2 , L3 ): podczas zwykłego funkcjonowania maszyny, gdy procent momentu wywrócenia zawiera się między 0 a 79, te diody sa zapalone.
Stan przed-alarmu. (L4 i L5): zapalają się gdy maszyna ma skłonności do wywrócenia się i procent wywrócenia w stosunku do wartości granicznej zawiera się między 80 a 99: ruchy wysięgnika są zwolnione i alarm dźwiękowy emituje wolne dźwięki.
Sytuacja alarmowa. (L6 i L7): Niebezpieczeństwo wywrócenia! Procent momentu wywrócenia przekracza 100 w stosunku do wartości granicznej: alarm dźwiękowy emituje szybkie dźwięki, ruchy maszyny zostają zablokowane i tylko ruchy powrotne w pozycji stabilności są dopuszczalne.
     
   
Gdy zasilanie jest aktywne, system ograniczenia obciążenia wykonuje autodiagnozę:
Podczas używania maszyny, PASEK z diodami 2 zapala się stopniowo proporcjonalnie do warunków stabilności.
Ogranicznik jest wyposażony w urządzenia diagnostyczne służące do określenia ewentualnych usterek przetworników, uszkodzenia kabli lub nieprawidłowego funkcjonowania systemu elektronicznego.
Gdy zostaje zasygnalizowana usterka, ogranicznik ustawia się w trybie bezpieczeństwa blokując wszystkie możliwe niebezpieczne manewry: Lampka alarmowa ogólna systemu ogranicznika obciążenia zapala się razem z DIODĄ L8, która zaczyna migać sygnalizując kod alarmu.
Przed użyciem maszyny, upewnić się czy pierwsza zielona Dioda systemu alarmowego przeciążenia jest zapalona. System alarmowy przeciążenia został zaprojektowany wyłącznie w celu sygnalizowania możliwych zaburzeń równowagi maszyny wzdłuż jej osi ruchu i nie może w związku z tym być używany do sprawdzania ładunku do podnoszenia. Te wytrącenia z równowagi mogą być również spowodowane zbyt gwałtownym używaniem dźwigni sterującej podczas przenoszenia ładunków. Jeżeli podczas pracy zapaliłaby się większa ilość świateł sygnalizacyjnych, należy używać mniej siły przy przestawianiu dźwigni.
Ten wyłącznik pozwala na obejście ogranicznika obciążenia w celu przywrócenia funkcjonowania maszyny:
W celu uniknięcia niewłaściwego używania urządzenia (np. w celu niedopuszczenia do pracy poza limitami obciążenia i stabilności maszyny), ogranicznik obciążenia jest wyposażony w timer (ustawiony na 10 sekund), który po upływie ustawionego czasu przywraca automatycznie funkcje blokady.
Gdy wyłącznik wstrzymania ogranicznika obciążenia jest aktywny, dioda funkcjonalna L8 zapala się na czerwono.
Przełącznik kluczykowy obejściowy ogranicznika obciążenia jest aktywny tylko w trybie Placu Budowy. W trybie Kosza, ogranicznik obciążenia nie może być wyłączony.
Tabele udźwigu umieszczone w kabinie wskazują maksymalnie dozwolony udźwig w oparciu o funkcję rozkładania wysięgnika oraz typu przyrządu końcowego. W celu zachowania bezpieczeństwa podczas pracy, należy zawsze odnosić się do tych tabel.
Stopień rozkładania wysięgnika jest określany za pomocą liter (A, B, C, D, E) znajdujących się na wysięgniku, natomiast rzeczywiste stopnie nachylenia wysięgnika są wskazane przez wskaźnik nachylenia.
To urządzenie, zainstalowane na dachu kabiny, jest podłączone do ogranicznika obciążenia i pokazuje tę samą sekwencję diod co ta wyświetlona na displayu ogranicznika obciążenia.
Gdy osiąga się czerwoną strefę, wyświetla się alarm dźwiekowy.
     
   
     
   
     
   
Gdy akumulator jest wyczerpany do takiego stopnia, że nie można włączyć rozrusznika, konieczny jest wtedy rozruch awaryjny działając na akumulatorze lub wymiana akumulatora.
Nigdy nie wykonywać rozruchu awaryjnego maszyny działając bezpośrednio na rozruszniku lub solenoidzie rozruchu. Przesunięcie maszyny do przodu lub do tyłu mogłoby spowodować poważne obrażenia osób a nawet śmierć.
W celu uniknięcia obrażeń ciała podczas rozruchu awaryjnego wykonanego z inną maszyną, upewnić się czy maszyny nie mają kontaktu ze sobą.
Nie wykonywać rozruchu awaryjnego zamrożonego akumulatora ponieważ mógłby on wybuchnąć.
Trzymać akumulator z dala od płomieni i iskier. Podczas ładowania, akumulatory ołowiowokwasowe wytwarzają gazy wybuchowe. Gdy wykonuje się operacje w pobliżu akumulatorów, nosić okulary ochronne.
Akumulator pomocniczy musi mieć 12 V. Używana maszyna musi być wyposażona w instalację elektryczną z masą ujemną.
Gdy maszyna jest załadowana, postępować zawsze z widłami skierowanymi w górę. Gdy maszyna jest rozładowana, poruszać się z widłami lub przyrządem skierowanym do dołu.
Na stromym terenie, postępować wyłącznie w górę lub w dół i utrzymać zawsze maszynę z włączonym biegiem. Nie wykonywać skrętów na terenie pochyłym.
Ograniczyć przebieg i prędkość przesuwania w oparciu o warunki powierzchni terenu, trakcji, nachylenia, stacjonowania personelu i każdy inny czynnik, który mógłby stanowić niebezpieczeństwo. Nie uruchamiać maszyny jeżeli wysięgnik i oprzyrządowanie nie znajdują się w prawidłowej pozycji biegu.
Ryzyko, że maszyna wywrócić się podczas działań dynamicznych zależy od wielu czynników, które należy wziąć pod uwagę. Do nich należą warunki podłoża/terenu, stabilność i nachylenie, oprzyrządowanie maszyny, sprawność operatora, pozycja ładunku, napompowanie opon, prędkość ruchu itp.
Ponadto, przewrócenie maszyny zależy w dużym stopniu od umiejętności operatora, jak szybkość i delikatność wykonywania operacji, jak również pozycji przyrządu i jego ładunku.
Place budowy, drogi często zmieniają swoje nachylenie, mogą posiadać twarde lub miękkie nawierzchnie w oparciu o działania budowlane i klimat.
Operatorzy muszą być odpowiednio przeszkoleni, zachować zdrowy rozsądek oraz mieć doświadczenie stosując środki ostrożności celem uniknięcia wywrócenia. Ponadto muszą ocenić zmieniające się warunki strefy pracy i unikać przekraczania udźwigu maszyny (lub zdolności operatora) dla danego terenu i jego warunków.
Jeżeli lampka kontrolna alarmowa i/lub lampka kontrola wskazująca poważną usterkę silnika zapalą się, należy skontaktować się z serwisem technicznym.
W przypadku przemieszczania się po drogach publicznych, odnieść się ściśle do przepisów lokalnych lub krajowych odnośnie ruchu drogowego. Przed wjazdem na drogę publiczną należy:
Ustawić przełącznik Droga/Plac budowy/kosz w trybie "Droga".
     
   
     
   
     
   
Holowanie maszyny jest zalecane wyłącznie w przypadku gdy nie ma innych możliwości transportu. Zawsze zaleca się, gdy jest to możliwe, naprawę maszyny na miejscu.
W przypadku konieczności holowania:
W celu odblokowania hamulca ujemnego uszkodzonej maszyny należy:
Oddalić pracowników ze strefy przed usunięciem zablokowania ze wszystkich czterech kół i przeholować pojazd w bezpieczne miejsce.
W celu ponownego włączenia hamulca ujemnego:
Hamulce postojowe są teraz ponownie załączone i koła są zablokowane.
Oddalić pracowników od strefy i sprawdzić prawidłowe działania hamulca postojowego.
     
   
W celu odblokowania hamulca ujemnego uszkodzonej maszyny należy:
▲ Oddalić pracowników ze strefy przed usunięciem zablokowania ze wszystkich czterech kół i przeholować pojazd w bezpieczne miejsce.
W celu ponownego włączenia hamulca ujemnego:
Hamulce postojowe są teraz ponownie załączone i koła są zablokowane.
Oddalić pracowników od strefy i sprawdzić prawidłowe działania hamulca postojowego.
     
   
Na koniec każdego dnia pracy, każdej zmiany lub podczas postojów w nocy, zaparkować maszynę w taki sposób, aby nie stanowiła ona zagrożenia. Przedsięwziąć wszystkie środki ostrożności w celu uniknięcia obrażeń osób zbliżających się do maszyny, gdy nie jest ona włączona:
Odłączyć akumulator przekręcając wyłącznik akumulatora (umieszczony w przegrodzie silnika) w pozycji "OFF" (odnieść się do rozdziału "Kontrola naklejek").
     
   
W przypadku dłuższego okresu nieczynności maszyny, należy przedsięwziąć wyżej wymienione środki ostrożności. Ponadto:
Pamiętać również, że podczas okresu wydłużonej nieczynności, konserwacja okresowa maszyny musi być zawsze regularnie wykonywana. Ze szczególnym uwzględnieniem płynów i wszystkich elementów ulegających zestarzeniu. W każdym razie, przed ponownym wprowadzeniem maszyny do eksploatacji, przeprowadzić kontrolę wstępną z dokładnym sprawdzeniem wszystkich części mechanicznych, hydraulicznych i elektrycznych.
W celu prawidłowego wyczyszczenia maszyny należy wykonać poniższe operacje:
Podczas mycia unikać używania lanc z wodą pod ciśnieniem, przede wszystkim na dystrybutorze, elektrozaworach i cześciach elektrycznych.
Przed przystąpieniem do mycia upewnić się czy silnik jest wyłączony i są zamknięte wszystkie drzwi i szyby. Nie używać paliwa do czyszczenia maszyny. Użyć wody lub pary. W zimnym klimacie, w celu niedopuszczania do zablokowania zamków po umyciu, należy wysuszyć je lub ewentualnie nasączyć antyfryzem.
Przed użyciem doprowadzić maszynę do stanu sprzed mycia.
Umyć wnętrze maszyny tylko i wyłącznie ręcznie wodą w wiadrze i gąbką. Nie używać strumienia wody pod ciśnieniem. Na zakończenie należy wysuszyć szmatka.
Umyć silnik dopilnowując zabezpieczenia ssania filtra suchego powietrza przed wlotem wody.
W przypadku, gdyby maszyna miałaby być używana w środowisku morskim lub podobnym, należy zabezpieczyć ją za pomocą odpowiedniego działania przeciw zasoleniu w celu uniknięcia tworzenia się rdzy.
Na zakończenie cyklu pracy maszyny, należy pamiętać, aby nie pozostawiać jej części w środowisku, tylko przekazać je do specjalistycznych zakładów, które dopilnują likwidacji odpadów z maszyny w oparciu o obowiązujące w tej materii normy.
Wyczerpane akumulatory ołowiowe nie mogą być wyrzucane razem z innymi trwałymi odpadkami przemysłowymi. Ponieważ zawierają szkodliwe substancje, muszą być zebrane, zlikwidowane i/lub ponownie utylizowane według obowiązujących przepisów unijnych.
Wyczerpany akumulator musi być pozostawiony w suchym i odizolowanym miejscu. Upewnić się również czy bateria jest sucha i czy zatyczki elementów są odpowiednio dobrze zamknięte. Przyczepić
kartkę ostrzegawczą na akumulatorze, która sygnalizuje zakaz używania. Jeżeli akumulator, przed jego likwidacją, zostanie pozostawiony na wolnym powietrzu, konieczne należy go wysuszyć, pokryć warstwą smaru skrzynkę i elementy i zamknąć zatyczki tych elementów. Nie kłaść jej bezpośrednio na ziemi; lepiej na deskach drewnianych lub palecie i ewentualnie przykryć ją. Likwidacja akumulatora musi być wykonana jak najszybciej to możliwe.
     
   
Upewnić się czy ładowność pojazdu, powierzchnia ładunku i łańcuchy lub pasy są wystarczające do utrzymania ciężaru maszyny. Podnośniki teleskopowe "Genie" są bardzo ciężkie w stosunku do ich gabarytów. Odnośnie wysokości maszyny, patrz etykieta z numerem seryjnym. Skonsultować rozdział "Kontrole" odnośnie umieszczenia etykiety z numerem seryjnym.
Przekręcić klucz do pozycji wyłączenia i wyciągnąć go ze stacyjki przed wykonaniem transportu.
Przeprowadzić przegląd całej maszyny w celu sprawdzenia czy nie występują luźne i nie przymocowane części.
Upewnić się czy drzwiczki i okna są zablokowane i przymocowane.
Przed załadowaniem, wypoziomować podnośnik teleskopowy i uzbroić wysiegnik.
Skorzystać z usług obserwatora podczas ładowania i wyładowywania podnośnika teleskopowego. Podczas załadunku i wyładunku utrzymać wysięgnik możliwie jak najniżej ziemi.
Zaciągnąć hamulec postojowy.
Użyć łańcuchów z wysoką zdolnością ładowności.
Użyć minimum 4 łańcuchów. Maszyna dysponuje 4 punktami zaczepowymi, dwoma w przedniej części i dwoma w tylnej części.
Obniżyć całkowicie widły lub przyrząd końcowy na płaszczyznę ciężarówki. Zabezpieczyć widły lub przyrząd końcowy odpowiednim pasem lub łańcuchem w celu zablokowania ruchu.
Wyregulować uprząż w celu niedopuszczenia do uszkodzenia łańcuchów.
     
   
     
   
Obniżyć i złożyć całkowicie wysięgnik.
Określić środek ciężkości własnej maszyny posługując się rysunkiem przedstawionym na tej stronie.
Usunąć wszystkie luźne części maszyny.
Zaczepić uprząż tylko w zaznaczonych punktach podnoszenia maszyny.
Wyregulować uprząż w taki sposób, aby nie uszkodzić maszyny i utrzymać ją w pozycji poziomej.
     
   
Przekręcić klucz do pozycji wyłączenia i wyciągnąć go ze stacyjki przed wykonaniem transportu.
Przeprowadzić przegląd całej maszyny w celu sprawdzenia czy nie występują luźne i nie przymocowane części.
Upewnić się czy drzwiczki i okna są zablokowane i przymocowane.
Przed załadowaniem, wypoziomować podnośnik teleskopowy i uzbroić wysięgnik.
Skorzystać z usług obserwatora podczas ładowania i wyładowywania podnośnika teleskopowego. Podczas załadunku i wyładunku utrzymać wysięgnik możliwie jak najniżej ziemi.
Zaciągnąć hamulec postojowy.
Użyć łańcuchów z wysoką zdolnością ładowności.
Użyć minimum 4 łańcuchów. Maszyna dysponuje 4 punktami zaczepowymi, dwoma w przedniej części i dwoma w tylnej części.
Obniżyć całkowicie widły lub przyrząd końcowy na płaszczyznę ciężarówki. Zabezpieczyć widły lub przyrząd końcowy odpowiednim pasem lub łańcuchem w celu zablokowania ruchu.
Wyregulować uprząż w celu niedopuszczenia do uszkodzenia łańcuchów.
     
   
     
   
Obniżyć i złożyć całkowicie wysięgnik.
Określić środek ciężkości własnej maszyny posługując się rysunkiem przedstawionym na tej stronie.
Usunąć wszystkie luźne części maszyny.
Zaczepić uprząż tylko w zaznaczonych punktach podnoszenia maszyny.
Wyregulować uprząż w taki sposób, aby nie uszkodzić maszyny i utrzymać ją w pozycji poziomej.
     
   
     
   
W niniejszym podręczniku zostały wykorzystane poniższe symbole do przedstawienia celów instrukcji. Jeden lub kilka symboli na początku procedury konserwacyjnej mają znaczenie wskazane poniżej.
     
   
Oznacza, że wykonanie tej procedury wymaga użycia narzędzi.
     
   
Oznacza, że wykonanie tej procedury wymaga użycia nowych komponentów.
     
   
Oznacza, że procedurę należy można wykonać z ochłodzonym silnikiem.
     
   
Uwaga: Maszyny wyposażone w opony wypełnione pianą nie wymagają zastosowania tej procedury.
1 Sprawdzić wszystkie opony za pomocą manometru. W razie konieczności napompować je.
| Opony | 12-16,5 | 
|---|---|
| Obręcz | 9,75x16,5 | 
| Koła | 8 otworów DIN 70361 | 
| Ciśnienie opon | 4,5 bar (65 psi) | 
| Opony | 405/70-20 | 
|---|---|
| Obręcz | 13x20 | 
| Koła | 8 otworów DIN 70361 | 
| Ciśnienie opon | 5,5 bar (80 psi) | 
     
   
Utrzymanie oleju na prawidłowym poziomie jest podstawą do zagwarantowania odpowiednich osiągów oraz długiego czasu eksploatacji silnika. Używanie maszyny z nieprawidłowym poziomem oleju silnika może spowodować uszkodzenie komponentów silnika.
Uwaga: Sprawdzać poziom oleju przy wyłączonym silniku i na płaskiej powierzchni.
1 Sprawdzić miarkę poziomu oleju. W razie konieczności dolać olej.
| Doutz | тп | 29 | 11 | FTAD | (model | IIE) | 
|---|---|---|---|---|---|---|
| Deutz | טו | Z. 9 | L4, | LIAP | (model | UC) | 
Typ oleju SHELL RIMULA R4 L 15W-40
Deutz TD 2.9 L4, ETAP III A
Typ oleju SHELL RIMULA R4 L 15W-40
Zadowalające osiągi silnika zależą od dobrej jakości stosowanego paliwa. Użycie dobrej jakości paliwa gwarantuje długi czas eksploatacji silnika oraz akceptowalne poziomy emisji gazów spalinowych.
Silnik Diesla Etapu III musi być używany wyłącznie z paliwem o niskiej zawartości siarki (Ultra Low Sulfur Fuel). Zawartość siarki musi być poniżej 15 PPM.
| Zbiornik GTH 2506 | 60 I | 15 gal | 
|---|---|---|
| Zbiornik GTH 3007 | 90 | | 23 gal | 
Ultra Low Sulfur Fuel (ULSD)
Typ paliwa
. ) [0 ]
Deutz TD 2.9 L4, ETAP 3 A
Typ paliwa
     
   
Utrzymanie oleju na prawidłowym poziomie jest podstawą do zagwarantowania funkcjonowania maszyny. Nieprawidłowe poziomy oleju hydraulicznego mogą spowodować uszkodzenie komponentów hydraulicznych. Codzienne kontrole pozwalają sprawdzającemu na określenie zmian poziomu oleju, które mogłyby oznaczać obecność problemów w instalacji hydraulicznej.
Typ oleju hydraulicznego
GAZPROMNEFT HYDRAULIC HDZ 46
Diese
Kontrola poziomu płynu chłodzącego - Modele chłodzone płynem
     
   
Utrzymanie płynu chłodzącego na prawidłowym poziomie jest podstawą do zagwarantowania długiego czasu eksploatacji silnika. Nieprawidłowy poziom płynu chłodzącego zmniejsza zdolność chłodzenia silnika i może uszkodzić komponenty. Codzienne kontrole pozwalają sprawdzającemu na określenie zmian poziomu płynu chłodzącego, które mogłyby oznaczać obecność problemów w instalacji chłodzenia.
Utrzymanie w odpowiednim stanie pomocniczych lusterek wstecznych jest podstawą do zagwarantowania dobrej widoczności w strefie pracy.
1. Przeprowadzić kontrolę wizualną wszystkich lusterek w celu sprawdzenia czy działają prawidłowo i nie są pokryte brudem i innymi obcymi ciałami.
     
   
Akumulator w odpowiednio dobrym stanie jest podstawą do zagwarantowania osiągów i bezpiecznego funkcjonowania maszyny. Nieprawidłowy poziom cieczy lub uszkodzone kable i połączenia mogą spowodować uszkodzenie komponentów i stwarzać zagrożenie.
Uwaga: Użycie zatyczek ochronnych na terminalach oraz spoiwo przeciwkorozyjne pomoże w usunięciu korozji kabli i terminali akumulatora.
Maszyny pozostające nieczynne przez ponad trzy miesiące muszą być poddawane kontroli co trzy miesiące przed ponownym jej wprowadzeniem do użytkowania.
| Model | |
| Numer fabryczny | |
| Data | |
| Licznik godzinowy | |
| Właściciel maszyny | |
| Sprawdzona przez (pieczątka) | |
| Podpis sprawdzającego | |
| Tytuł sprawdzającego | |
| Spółka sprawdzającego | |
Instrukcje
Codziennie lub co 8 godzin Przeglady: A
| List | a kontroli A | т | Ν | R | 
|---|---|---|---|---|
| A-1 | Podręczniki i naklejki | |||
| A-2 | Wstępna kontrola operatywna | |||
| A-3 | Przetestowanie funkcji | |||
| A-4 | Smarowanie wysięgnika | |||
| A-5 | Konserwacja silnika | |||
| Wyk | onać po 100 godzinach: | |||
| A-6 | Konserwacja osi | |||
| Wykonać po 200 godzinach: | ||||
| A-7 | Konserwacja osi | |||
| Części zamienne do urządzeń blokujących | ||
|---|---|---|
| Display i tablica LMI | 56.0016.0132 | |
| Wyłącznik do aktywacji funkcji na joysticku | 07.0741.0225 | |
| Przycisk Zatrzymania Awaryjnego | 56.0016.0091 | |
| Mikrowyłącznik na siedzeniu | 07.0703.0484 | |
Specyfikacja Genie wymaga, aby ta procedura była wykonywana co8godzin lub codziennie, w zależności od tego, co nastąpi wcześniej.
Utrzymanie w odpowiednim stanie podręczników operatora i podręczników bezpieczeństwa jest podstawą do zagwarantowania bezpiecznego używania maszyny. Każda maszyna jest wyposażona w podręczniki, które muszą być przechowywane w schowku na dokumenty wewnątrz kabiny operatora. Nieczytelny podręcznik lub jego brak nie dostarcza instrukcji odnośnie bezpieczeństwa oraz instrukcji obsługi gwarantujących bezpieczny stan użytkowania.
Również utrzymanie w odpowiednim stanie naklejek oraz instrukcji jest obowiązkowe w celu zagwarantowania bezpiecznego używania maszyny. Naklejki sygnalizują operatorowi i pracownikom różne zagrożenia powiązane z użytkowaniem maszyny. Ponadto dostarczają użytkownikowi informacji na temat obsługi i konserwacji. Nieczytelna naklejka nie wskaże pracownikom procedury ani zagrożenia i może być przyczyną niebezpiecznych warunków użytkowania.
Uwaga: w celu wymiany podręczników lub naklejek, zgłosić się do autoryzowanego dystrybutora Genie lub Genie Industries.
Specyfikacja Genie wymaga, aby ta procedura była wykonywana co8 godzin lub codziennie, w zależności od tego, co nastąpi wcześniej.
Wykonanie wstępnej kontroli operacyjnej jest podstawą do zagwarantowania bezpiecznego funkcjonowania maszyny. Wstępna kontrola operacyjna i konserwacja rutynowa maszyny należą do kompetencji operatora. Wstępna kontrola operacyjna jest przeglądem wizualnym wykonywanym przez operatora przed każdą zmianą roboczą w celu ustalenia występowania usterek przed przystąpieniem do przetestowania funkcji. Wstępna kontrola operacyjna służy ponadto do ustalenia czy są konieczne interwencje konserwacji rutynowej.
Specyfikacja Genie wymaga, aby ta procedura była wykonywana co8godzin lub codziennie, w zależności od tego, co nastąpi wcześniej.
Przetestowanie funkcji jest podstawą do zagwarantowania bezpiecznego funkcjonowania maszyny. Przetestowanie funkcji zostało zaprojektowane do wykrywania ewentualnych usterek przed przystąpieniem do używania maszyny. Nigdy nie używać uszkodzonej maszyny. W przypadku występowania usterek, oznaczyći ustawić w stan nieczynności maszynę.
     
   
Specyfikacja Genie wymaga, aby ta procedura była wykonywana co 8 godzin lub codziennie, w zależności od tego, co nastąpi wcześniej.
Smarowanie wskazanych punktów jest podstawą do zagwarantowania odpowiednich osiągów oraz długiego czasu eksploatacji maszyny.
Używanie maszyny z niedostateczną ilością smaru lub bez niego może spowodować złe działanie maszyny, a jej ciągłe używanie w takim stanie może spowodować uszkodzenie komponentów.
| Kod artykułu Genie | 09.4693.0000 | 
     
   
Specyfikacja silnika wymaga, aby ta operacja była wykonana co 8 godzin lub codziennie, w zależności od tego, co nastąpi wcześniej.
Poziom oleju smarowego - sprawdzić/dolać Poziom płynu chłodzącego - sprawdzić/dolać Kontrola wizualna Filtr ssący powietrza/filtr suchy powietrza sprawdzić Wstępny filtr paliwa - sprawdzić/opróżnić z wody
Tylko dla Deutz TD 2.9 L4 - Etap IIIB Układ wydechowy z komponentami post-obróbki gazów spalinowych - sprawdzić brak ubytków
Wymagane procedury konserwacyjne i dodatkowe informacje
odnośnie silnika są podane w Podręczniku obsługi i konserwacji Deutz TD 2.9 L4 (kod artykułu Deutz 0312 3893).
| Podręcznik obsługi i ko | nserwacji Deutz TD 2.9 L4 | 
|---|---|
| Kod artykułu Genie | 57.4700.0006 | 
     
   
Specyfikacja osi wymaga, żeby ta procedura była wykonana po pierwszych 100 godzinach pracy.
Oleje smarowe różnicowe - sprawdzić/dolać Oleje smarowe złączek redukcyjnych planetarnych - sprawdzić/dolać
Wymagane procedury konserwacyjne i dodatkowe informacje odnośnie silnika są podane w Podręczniku konserwacji osi Comer S128 Podręczniku konserwacji osi Dana ASM-194
| Podręcznik konserwacji osi Comer | |
|---|---|
| Kod artykułu Genie (księgarnia instrukcji Genie) | 57.4700.0020 | 
| Podręcznik konserwacji osi I | Dana | 
| Kod artykułu Genie (księgarnia instrukcji Genie) | 57.4700.0026 | 
A-7 Konserwacia osi
     
   
Specyfikacja osi wymaga, żeby ta jednorazowa procedura była wykonana po pierwszych 200 godzinach pracy.
Oleje smarowe różnicowe - wymienić Oleje smarowe złączek redukcyjnych planetarnych - wymienić Korek magnetyczny - wyczyścić
Wymagane procedury konserwacyjne i dodatkowe informacje odnośnie osi są dostarczone w Podręczniku konserwacji osi Comer S128
| Podręcznik konserwacji osi Comer | ||
| Kod artykułu Genie (księgarnia instrukcji Genie) | 57.4700.0020 | |
| Podręcznik konserwacji osi Dana | ||
| Kod artykułu Genie (księgarnia instrukcji Genie) | 57.4700.0026 | |
Niniejsza maszyna jest wyposażona w różne akcesoria.
Używać wyłącznie homologowanych akcesoriów Genie określonych w niniejszym rozdziale.
Informacje odnośnie instalowania i wymiany akcesoriów są dostarczone w rozdziale "Instrukcje szybkozłączki".
Informacje odnośnie używania tego akcesorium są podane w specjalnym podręczniku operatora dla tego akcesorium, dostępnym na oficjalnej stronie Genie www.genielift.com/en/service-support/manuals
(kod artykułu 59.0802.3028)
Informacje odnośnie używania tego akcesorium są podane w specjalnym podręczniku operatora dla tego akcesorium, dostępnym na oficjalnej stronie Genie www.genielift.com/en/service-support/manuals
A Zagrożenia związane z podwieszonymi ładunkami Bezpieczeństwo strefy pracy Ogólne bezpieczeństwo
Nie podnosić podwieszonego ładunku bez uprzedniego zrozumienia zasad, norm i normatyw lokalnych, krajowych, federalnych i regionalnych związanych z postępowaniem w takich sytuacjach. Mogą być dodatkowo zastosowane inne przepisy, normy i normatywy. Może być wymagane dodatkowe przeszkolenie.
Jeżeli transport ładunku wymaga użycia podnośnika teleskopowego, muszą być zastosowane następujące środki ostrożności w celu zagwarantowania bezpieczeństwa operatora.
Przeczytać, zrozumieć i przestrzegać wszystkich pouczeń i instrukcji dostarczonych z homologowanym akcesorium do podwieszania ładunków.
Do przetransportowania podwieszonego ładunku należy używać wyłącznie akcesoriów odpowiednio zaprojektowanych, przetestowanych i homologowanych.
Tabele udźwigu podnośnika teleskopowego zostały określone dla ładunków, w których środek ciężkości jest statyczny. Gdy ładunek statyczny rusza się, środek ładunku może się zmienić. W konsekwencji należy zachować szczególną ostrożność podczas transportu, podnoszenia lub ustawiania ładunków w celu zmniejszenia do minimum potencjalnych przesunięć.
Nie podnosić podwieszonego ładunku jeżeli tabela udźwigu do stosowanego połączenia akcesorium/ podnośnik teleskopowy jest nieobecna lub nieczytelna.
     
   
     
   
Nie dopuszczać do swobodnei oscylacii ładunku Przywiazać zawsze ładunki w celu ograniczenia ich ruchów. Oprócz pracowników na ziemi, w celu zapewnienia stabilizacii zewnetrznej ładunku, można użyć dwóch punktów podnoszacvch ramy w przedniej części maszyny. Skrzvżować zawsze urzadzenia mocuiace. zabezpieczając je po przeciwnej stronie ładunku w celu ograniczenia ruchów do minimum. Raptowne
nachylenia, odjazdy, postoje i skręty mogą spowodować oscylację ładunku i stanowić zagrożenie jeżeli ładunek nie zostanie ustabilizowany zewnetrznie.
Utrzymać wysięgnik możliwie jak najbardziej wsunięty.
Nie podnosić podwieszonych ładunków, gdy prędkość wiatru może spowodować niebezpieczne sytuacje.
Wszystkie przesunięcia ładunku muszą być wykonane stopniowo z minimalną prędkością w celu uniknięcia oscylacji ładunku.
Utrzymać najcięższą część ładunku możliwie jak najbliżej akcesorium.
Nie ciągnąć ani nie popychać bocznie ładunku.
Podnosić ładunek w pionie; nigdy nie wykonywać forsowania poziomowego na ładunku w celu uniknięcia nadmiernej oscylacji.
Ciężar całej uprzęży (pasy, łańcuchy itp.) musi być traktowany jako część ciężaru ładunku.
Określić odpowiednie punkty podnoszenia, biorąc pod uwagę środek ciężkości i stabilność ładunku.
Nie próbować używać systemu wyważenia ramy podnośnika teleskopowego w celu skompensowania oscylacji ładunku lub w celu wyregulowania pozycji ładunku po jego podniesieniu.
Nie próbować przenosić stałych ładunków lub związanych.
Nie pozostawiać podnośnika teleskopowego bez nadzoru z podwieszonym ładunkiem.
Utrzymać wysięgnik i ładunek możliwie jak najniżej bez utrudnienia widoczności w kierunku jazdy.
Z podwieszonym ładunkiem, nie przekraczać prędkości ruchu pieszego (2 mph / 3,2 km/h).
Włączać, przesuwać, skręcać i zatrzymywać maszynę z zachowaniem ostrożności w celu niedopuszczenia do niestabilności lub oscylacji ładunku.
Nie używać sterowań do ustawiania ładunku podczas przemieszczania. Przed próbą ponownego ustawienia ładunku, zatrzymać delikatnie maszynę.
Nie próbować przejeżdżać przez powierzchnie nachylone ponieważ środek ładunku zbliżyłby się do osi wywrócenia, ograniczając w ten sposób stabilność.
Pokonywać wjazdy i zjazdy z zachowaniem maksymalnej ostrożności ponieważ środek ładunku zbliżyłby się do osi wywrócenia, ograniczając w ten sposób stabilność.
Nie parkować na nachylony terenie.
W przypadku konieczności wjazdu po pochyłym zboczu z czerpakiem wypełnionym materiałem, jechać zawsze z pojazdem na biegu do przodu i z ładunkiem w możliwie jak najniższej pozycji.
W przypadku konieczności zjazdu po pochyłym zboczu z czerpakiem wypełnionym materiałem, jechać zawsze z pojazdem na wstecznym biegu.
W przypadku konieczności wjazdu po pochyłym zboczu z pustym czerpakiem, jechać zawsze z pojazdem na wstecznym biegu.
W przypadku konieczności zjazdu po pochyłym zboczu z pustym czerpakiem, jechać zawsze z pojazdem na biegu do przodu.
Unikać oscylacji podwieszonych ładunków.
Nie ciągnąć ładunków gdy są one zaczepione.
Podwieszony ładunek ma swoją własną dynamikę, która może mieć nieoczekiwane efekty na stabilność maszyny, w związku z tym zachować ostrożność podczas wykonywania operacji.
Hak na płycie został zaprojektowany do utrzymania ładunku wskazanego obok.
Maksymalny ładunek użyteczny odpowiada udźwigowi nominalnego podnośnika, na którym jest zamontowany i jest wskazany w tabelach obciążenia dostarczonych wraz z urządzeniami.
Nie podnosić ani nie podwieszać pracowników
Nie używać ładowarki do podnoszenia ani przenoszenia osób.
Przed podniesieniem upewnić się czy nie występują przeszkody w pobliżu ładunku.
Gdy widoczność w pobliżu punktu ustawienia ładunku jest lub mogłaby być zakłócona, operator musi posłużyć się alternatywnymi lub dodatkowymi środkami w celu bezpiecznego podniesienia ładunku, jak na przykład, wykwalifikowany pracownik sygnalizacyjny.
Pracownicy sygnalizacyjni muszą mieć ze sobą stały kontakt (werbalny lub gestykulujący) oraz kontakt wizualny z operatorem w czasie trwania operacji.
Nie pozwalać pracownikowi sygnalizacyjnemu na przebywanie między podwieszonym ładunkiem a innym przedmiotem (na przykład podnośnik teleskopowy).
Przed wykonaniem jakiejkolwiek operacji konserwacyjnej na czerpaku mieszającym, dopilnować, żeby został położony na ziemię, zatrzymać maszynę, wyciągnąć klucz ze stacyjki i zamknąć na klucz kabinę kierowcy w celu niedopuszczenia nikogo do tablicy sterowniczej.
     
   
Nie podnosić ładunku we wskazanej strefie upadku.
W przypadku obecności osób pod ładunkiem lub w strefie upadku, nie włączać maszyny.
Nie podwieszać ładunków używając pasów lub łańcuchów zabezpieczonych na widłach lub łącznika wideł.
Nie podnosić ładunków o kilku poziomach.
W celu podniesienia ładunków o okrągłej formie (jak na przykład beczki z paliwem itp.), zabezpieczyć je pasami lub linami i postępować ze zmniejszoną prędkością.
Sprawdzić czy punkt wyładunku jest płaski i jest w stanie utrzymywać ładunek z zachowaniem bezpieczeństwa.
Przymocować odpowiednio akcesorium do podnośnika teleskopowego.
Wypoziomować ramę podnośnika teleskopowego.
Przywiązać ładunek w celu ograniczenia jego ruchów.
Podczas podnoszenia ładunku, poprosić o obecność pracownika sygnalizującego jeżeli widoczność w strefie pracy jest utrudniona.
Upewnić się czy pracownik sygnalizacyjny pozostaje w kontakcie wizualnym przez cały czas trwania operacji.
Z możliwie jak najbardziej złożonym wysięgnikiem, podnieść powoli i stopniowo wysięgnik i ładunek, dopilnowując, aby utrzymać ładunek i wysięgnik możliwie jak najniżej.
Upewnić się, aby ruchy wysięgnika i akcesorium były wykonane możliwie jak najwolniej w celu uniknięcia spowodowania oscylacji ładunku.
Dopilnować, aby przemieszczanie ładunku odbywało się na płaskiej nawierzchni i będącej w stanie utrzymać ciężar podnośnika teleskopowego oraz ładunku.
Utrzymywać wysięgnik i ładunek możliwie jak najniżej bez zakłócenia widoczności w kierunku przesuwu.
Podczas przesuwu, poprosić o obecność pracownika sygnalizującego jeżeli widoczność w kierunku przesuwu jest utrudniona.
Niebezpieczeństwo zgniecenia lub kolizji. Upewnić się czy pracownik sygnalizacyjny pozostaje w kontakcie wizualnym przez cały czas trwania operacji.
Wykonać regulacje ładunku tylko po całkowitym zatrzymaniu podnośnika teleskopowego.
Włączać, przesuwać, skręcać i zatrzymywać maszynę z zachowaniem ostrożności w celu niedopuszczenia do niestabilności lub oscylacji ładunku.
Nie przemieszczać się z prędkością przekraczającą prędkość ruchu pieszego (<2 mph / 3,2 km/h).
Podczas ustawiania ładunku, poprosić o obecność pracownika sygnalizacyjnego jeżeli widoczność w strefie pracy jest utrudniona.
Upewnić się czy pracownik sygnalizacyjny pozostaje w kontakcie wizualnym przez cały czas trwania operacji.
Zatrzymać kompletnie maszynę w pobliżu miejsca wyładunku.
Zaciągnąć hamulec postojowy i ustawić na luzie napęd.
Powoli i stopniowo ustawić ładunek w strefie wyładunku i obniżyć aż do bezpiecznego oparcia go na wspornikach.
Po ustawieniu ładunku kontynuować obniżanie wysięgnika do momentu aż będzie możliwe usunięcie uprzęży i łączników.
Zaleca się obecność pracownika sygnalizacyjnego w przypadku, gdy:
Operator nie ma kompletnej widoczności strefy pracy, to znaczy trasa przemieszczania lub strefa w pobliżu lub obok miejsca ustawienia ładunku.
Aparatura jest w ruchu, widoczność w stronę przesuwu jest zakłócona.
Z powodu krytyczności pod względem bezpieczeństwa placu budowy, operator lub osoba manewrująca przy ładunku tego wymagają.
Pracownicy sygnalizacyjni muszą mieć ze sobą stały kontakt (werbalny lub gestykulujący) oraz kontakt wizualny z operatorem w czasie trwania operacji.
Poniższa tabela sygnałów ręcznych może być używana jako odniesienie.
     
   
| Wysokość, w pozycji zamknięcia | 1,92 m | 
| Długość, w pozycji zamknięcia, aż do płyty z widłami | 3,84 m | 
| Szerokość, standardowe opony | 1,81 m | 
| Rozstaw osi | 2,36 m | 
| Wolna wysokość od ziemi, środek | 0,33 m | 
| Ciężar | 4 580 kg | 
| Maksymalna wysokość pracy wideł | 5,79 m | 
| Maksymalny poziomy zasięg wysięgnika | 3,35 m | 
| Zakres maksymalnej wysokości | 0,60 m | 
| Udźwig przy maksymalnej wysokości | 2 000 kg | 
| Udźwig przy maksymalnym rozłożeniu | 900 kg | 
| Maksymalna zdolność podnoszenia | 2 500 kg | 
| Maksymalna prędkość przesuwu | 23 km/h | 
| Wewnętrzny promień zwrotności zwrotność na 2 kołach | 5,4 m | 
| Wewnętrzny promień zwrotności zwrotność na 4 kołach | 4 m | 
| Pojemność zbiornika paliwa | 60 I | 
| Maksymalne nachylenie | 50% | 
| Poziom akustyczny sygnalizatora, deklarowany przez producenta | 112 dB | 
| Poziom akustyczny sygnalizatora biegu wstecznego, deklarowany przez producenta | 95 dB | 
| Średni poziom wibracji zrównoważony przekazywany na korpus | 0,44 m/s 2 | 
| Poziom ciśnienia akustycznego na stanowisku pracy operatora (obliczony według normy EN12053) - tylko dla Etapu 3B | 78 dB | 
| Gwarantowany poziom mocy akustycznej LwA (obliczony według Dyrektywy 2000/14/ WE) - tylko dla Etapu 3B | 101 dB | 
| Obciążenie na podłoże | |
| Maksymalne obciążenie opon | 3 500 kg | 
| Nacisk zajętego podłoża | 7,5 kPa | 
| Wysokość, w pozycji zamknięcia | 2,07 m | 
| Długość, w pozycji zamknięcia, aż do płyty z widłami | 4,66 m | 
| Szerokość, standardowe opony | 1,99 m | 
| Rozstaw osi | 2,66 m | 
| Wolna wysokość od ziemi, środek | 0,43 m | 
| Ciężar | 6 140 kg | 
| Maksymalna wysokość pracy wideł | 6,89 m | 
| Maksymalny poziomy zasięg wysięgnika | 3,99 m | 
| Zakres maksymalnej wysokości | 0,76 m | 
| Udźwig przy maksymalnej wysokości | 2 500 kg | 
| Udźwig przy maksymalnym rozłożeniu | 1 000 kg | 
| Maksymalna zdolność podnoszenia | 3 000 kg | 
| Maksymalna prędkość przesuwu | 30 km/h | 
| Wewnętrzny promień zwrotności zwrotność na 2 kołach | 7,1 m | 
| Wewnętrzny promień zwrotności zwrotność na 4 kołach | 4,4 m | 
| Pojemność zbiornika paliwa | 90 I | 
| Maksymalne nachylenie | 35% | 
| Poziom akustyczny sygnalizatora, deklarowany przez producenta | 112 dB | 
| Poziom akustyczny sygnalizatora biegu wstecznego, deklarowany przez producenta | 95 dB | 
| Średni poziom wibracji zrównoważony przekazywany na korpus | 0,40 m/s 2 | 
| Poziom ciśnienia akustycznego na stanowisku pracy operatora (obliczony według normy EN12053) - tylko dla Etapu 3B | 78 dB | 
| Gwarantowany poziom mocy akustycznej LwA (obliczony według Dyrektywy 2000/14/ WE) - tylko dla Etapu 3B | 104 dB | 
| Obciążenie na podłoże | |
| Maksymalne obciążenie opon | 2 285 kg | 
| Nacisk zajętego podłoża | 7,2 kPa | 
     
   
     
   
GTH-2506, pal kotwiący 2000 kg
     
   
GTH-2506, czerpak
     
   
     
   
GTH-3007, transport standardowy
     
   
GTH-3007, hak
     
   
     
   
GTH-3007, pal kotwiący 2000 kg
GTH-3007, pal kotwiący 900 kg
     
   
GTH-3007, czerpak
     
   
     
   
Przedstawienie graficzne wyników testowania w warunkach "Lorry Trailer"
Przedstawienie graficzne wyników testowania w warunkach "Lorry Trailer"
     
   
     
   
Manipulatory teleskopowe wyposażone w przyrządy ze środkiem grawitacji stałego ładunku (widły, czerpaki, chwytaki):
1,33 x Q
Odn. norma EN1459 Q = Udźwig nominalny
Manipulatory teleskopowe wyposażone w przyrządy ze środkiem grawitacji ładunku oscylacyjnego (hak, pal kotwiący, wciągarka):
1,33 x Q + 0,1 x Fb na gumie 1,25 x Q + 0,1 x Fb na stabilizatorach
Odn. norma EN13000
Q = Udźwig nominalny Fb = Ciężar zredukowanego ramienia (jednakowy w momencie wywracania) na szczycie ramienia.
TEREX Global GmbH oświadcza, że niżej opisana maszyna jest zgodna z rozporządzeniami nastepujacvch Dvrektvw: 1. Dvrektywa WE 2006/42/WE. Dvrektywa Maszynowa. Niżej opisana maszyna jest odpowiednia dla modeli podnośników teleskopowych Genie wymienionych w podręczniku użytkownika. Model/typ: Opis: Numer serviny: Data produkcji: Data produkcji: Producent. TEREX Global GmbH Bleicheplatz 2 8200 Schaffhausen Szwajcaria Przedstawiciel europeiski: Genie UK LTD The Maltings Wharf Road, Grantham, Lincolnshire NG31 6BH Ziednoczone Królestwo Upoważniony sygnatariusz: Mieisce wydania Data wydania:



































































































 Loading...
 Loading...