Page 1

FAS254J2A1 FAS254J2A 230 25000
WIRING DIAGRAM # - 309107701
OWNERS GUIDE # - 309000823
P.O. Box 212378
Augusta, GA 30917
Publication No.
000409
-EN/SERVICE /REP
345
©2000 White Consolidated Industries, Inc.
All rights reserved
FA254J2A1
Page 2

FAS254J2A1
CABINET FRONT AND WRAPPER
4/00 1
Page 3

FAS254J2A1
CABINET FRONT AND WRAPPER
POS. NO. PART NO. DESCRIPTION
1 309632704 Sleeve-Seal Assy Domestic
2 309632804 Grill & RR Rail ASM HDTC
7 309631104 Link-Vertical Louvers
8 309630804 Louver-Horizontal
9 309631004 Louver-Vertical HDTC
12 309631404 Filter-Molded BRCLN
17 309633205 FrontT ASM- HDTC
19 309633506 Plate-Dial
20 309307013 Knob-control
22 5303001775 Spacer,plate
25 309321401 Door-Vent Actuator HDTC
26 309330404 Handle-Vent Barcelona
29 3015312 Screw-front / chassis
43 309630904 Frame-Front HDTC
70 309330202 Vent-Detent HDTC
* 309633305 Louver assy-includes 7, 8 & 9
4/00 2
* = Non-illustrated Parts
Page 4

FAS254J2A1
CONTROL PARTS
4/00 3
Page 5

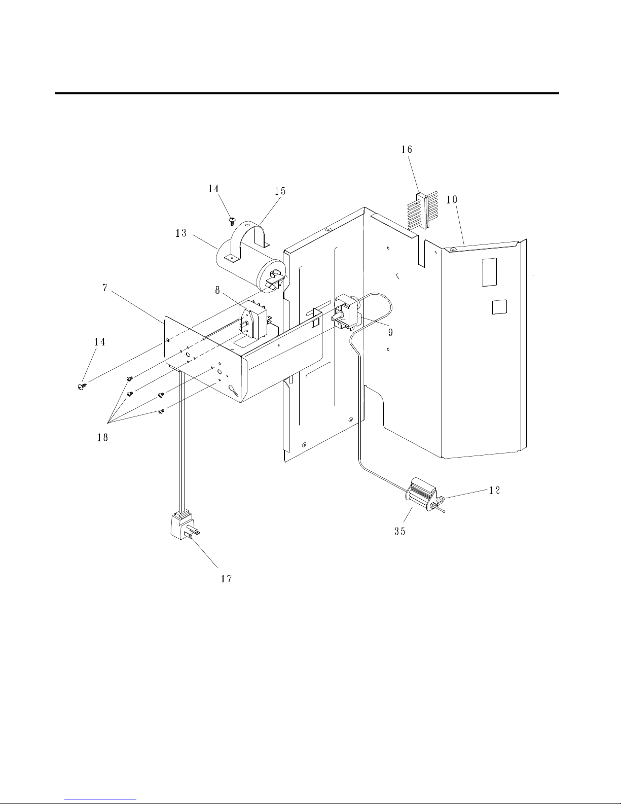
FAS254J2A1
CONTROL PARTS
POS. NO. PART NO. DESCRIPTION
7 309630401 Box-Control HDTA/TC
8# 5304410883 Switch-selector
9# 5304410884 Control-Air Temp 23AMP Rating
10 309623601 Bulkhead-Control Side HDTA/TC
12 309331801 Retaining Clip-Sens Bulb 1"CL
13# 5303316594 Capacitor, 370V, 35+7.5
14 5303015427 Screw, truss head, 8-18AB x 0.47
15 5303303077 Strap-capacitor
16# 5304408753 Harness-3S;HDTC; Bristol/12AWG
17# 309343114 Cord-Srv Type-D 12AWG
18 5303007754 Screw, .138-32 x 0.188
35 3200761 Spacer-control bulb
4/00 4
* = Non-illustrated Parts
Page 6

FAS254J2A1
AIR HANDLING PARTS
4/00 5
Page 7

FAS254J2A1
AIR HANDLING PARTS
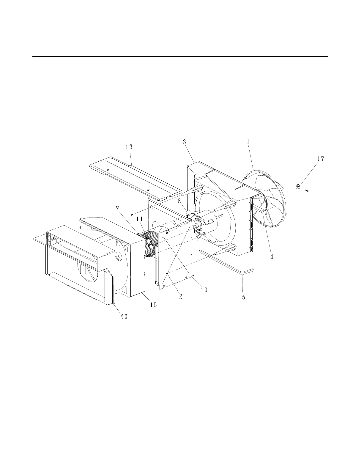
POS. NO. PART NO. DESCRIPTION
1# 5303321440 Fan Blade, with clamp
2 3202975 Screw,10-16 x 0.72 square drive
3 5303015305 Condenser shroud, 1pc
5 5303015311 Seal, housing-fan, lower
7 5303015427 Screw, truss head, 8-18AB x 0.47
8# 5304408298 Motor-Fan GE 3SP 230/60 48Fr
10 309623401 Bulkhead-Aire Side HDTA/TC
11 309633001 Blower Whl & Clamp Assy - Plastic
13 309630301 Cover-Top HDTA/TC
15 309630101 Scroll-Evap Cool Only HDTA/TC
18 5303007754 Screw,.138-32 x .188
20 309630201 Plate-Scroll HDTA/TC
4/00 6
* = Non-illustrated Parts
Page 8

FAS254J2A1
COMPRESSOR PARTS
4/00 7
Page 9

FAS254J2A1
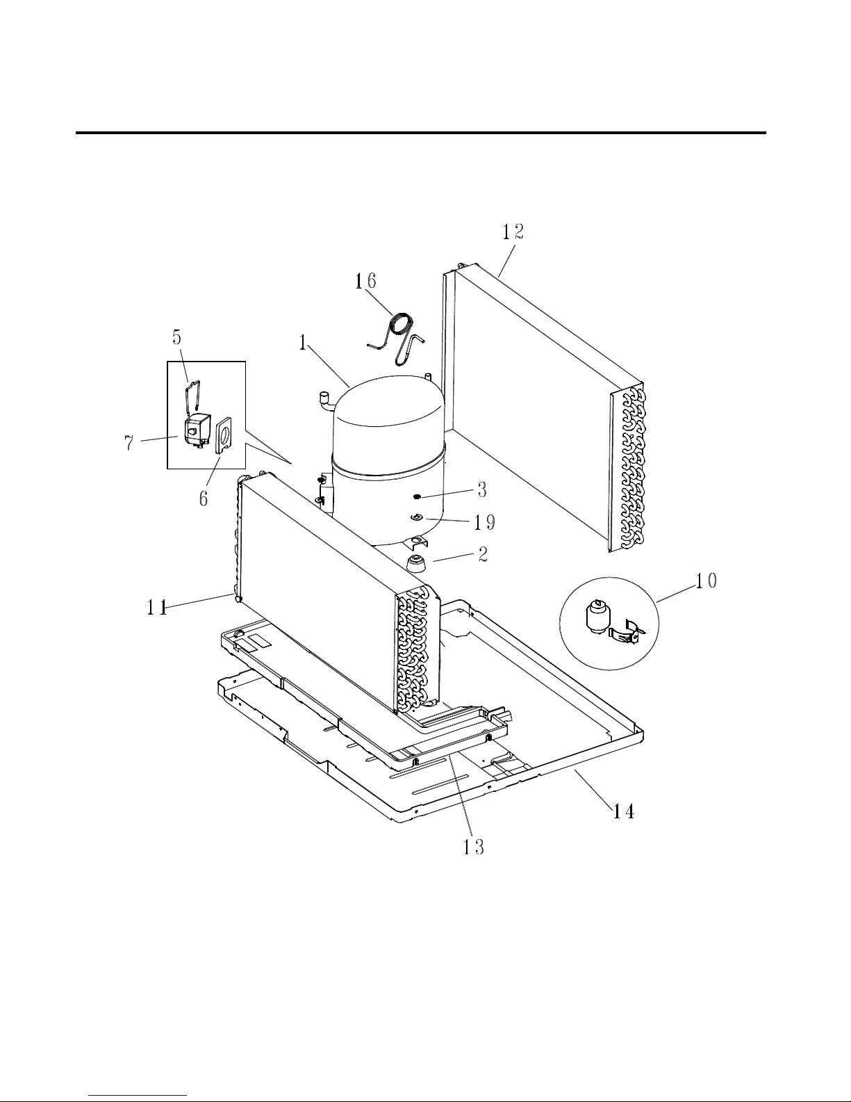
COMPRESSOR PARTS
POS. NO. PART NO. DESCRIPTION
1# 5304408299 Compressor
2 5303286606 Grommet-compressor,3
3 5308006948 Nut, compressor, 3
5 5303002069 Clamp-cover
6 5303002068 Gasket-cover
7 5303002067 Cover,terminal
11# 309634201 Evap-Assy 3Row 17FPI
12# 5303306719 Condenser
13 309623501 Tray-Evap
14 309632906 Base/Compressor-Stud Assy
19 5303002664 Washer,compressor
4/00 8
* = Non-illustrated Parts
Page 10

FAS254J2A1
WINDOW MOUNTING PARTS
POS. NO. PART NO. DESCRIPTION
1 5304407729 Seal-window
2 5303211056 Bracket
4 5304414928 Frame,LH
5 5304409250 Seal-top rail
6 5304414933 Retainer,accordian
7 5304414931 Support,RH
8 3001815 Bracket-support
9 3007756 Screw
10 3007759 Nut-bracket
11 5304414932 Support,LH
12 3017023 Nut, hex, 10-32, 2
13 5303281649 Screw,support
14 5304414929 Frame,RH
15 5304414930 Accordian
16 5304414116 Rail,top
17 3002803 Screw-wood
18 8012680 Screw
21 5303212504 Seal,bottom
24 3002801 Screw
* 309313303 Kit-Mounting-HDSO
* 5304409248 Hardware
* 5304409249 Seal-shipping screw holes
4/00 9
* = Non-illustrated Parts
Page 11

FAS254J2A1
WIRING DIAGRAM
4/00 10