Betriebsanweisung
| DEUTSCH | | | 4 |
|---|
Änderungen vorbehalten.
In accordance with
the LV-Directive 2006/95/EC, the Machinery Directive 2006/42/EC, the EMC Directive 2004/108/EC
Feeder of welding wire in combination with movable Welding Automats and stationary Welding heads, used with control box PEK
ESAB
Type designation etc. A2 Multitrac, A2 Tripletrac, A2 S-series, A6 Mastertrac, A6 Mastertrac Tandem, A6 S- series
Name, address, telephone No, telefax No:
ESAB AB, Welding Equipment Esabvägen, SE-695 81 LAXÅ, Sweden Phone: +46 584 81 000, Fax: +46 584 411 924
EN 60974-5, Arc welding equipment – Part 5: Wire feeders EN 12100-2, Safety of machinery – Part 2: Technical principles EN 60974-10, Arc welding equipment – Part 10: Electromagnetic compatibility (EMC) requirements
Additional information: Restrictive use, Class A equipment, intended for use in locations other than residential
By signing this document, the undersigned declares as manufacturer, or the manufacturer's authorised representative established within the EEA, that the equipment in question complies with the safety requirements stated above.
Date / Datum Laxå 2009-09-15
Signature / Underskri
Kent Eimbrodt Clarification
Position / Befattning Global Director Equipment and Automation
| 1 | SICH | IERHEIT | 5 |
|---|---|---|---|
| 2 | INTR | 8 | |
| 2.1 | Allgemein | 8 | |
| 2.2 | Schweißmethode | 8 | |
| 2.3 | Definitionen | 8 | |
| 2.4 | Horizontalschweißen | 8 | |
| 2.5 | Technische Daten | 9 | |
| 2.6 | Hauptbauteile A2TF K1 (UP) | 9 | |
| 2.7 | Beschreibung der Hauptbauteile | 10 | |
| 3 | INST | 11 | |
| 3.1 | Allgemein | 11 | |
| 3.2 | Montierung | 11 | |
| 3.3 | Einstellung des Bremsnabe | 11 | |
| 3.4 | Anschlüsse | 12 | |
| 4 | BET | RIEB | 13 |
| 4.1 | Allgemeines | 13 | |
| 4.2 | Laden des Schweißdrahts (A2TF K1) | 14 | |
| 4.3 | Auswechseln der Vorschubrolle (A2TF K1) | 14 | |
| 4.4 | Kontaktausrüstungen | 15 | |
| 4.5 | Einfüllen von Schweißpulver | 15 | |
| 4.6 | Verstellung des Schweißautomaten | 16 | |
| 5 | WAF | TUNG | 17 |
| 5.1 | Allgemein | 17 | |
| 5.2 | Täglich | 17 | |
| 5.3 | Regelmäßig | 17 | |
| 6 | FEHI | LERSUCHE | 18 |
| 6.1 | Allgemein | 18 | |
| 6.2 | MÖGLICHE FEHLER | 18 | |
| 7 | ERS | ATZTEILBESTELLUNG | 18 |
| M | ASSB | ILD | 19 |
| 71 | öp | 00 | |
| 20 | IRFH | 20 | |
| EF | ISAT | ZTEILLISTE | 21 |
Der Anwender einer ESAB-Schweißausrüstung ist für die Sicherheitsmaßnahmen verantwortlich, die für das Personal gelten, das mit der Anlage oder in deren Nähe arbeitet. Die Sicherheitsmaßnahmen sollen den Anforderungen entsprechen, die an der Schweißausrüstung gestellt werden. Der Inhalt dieser Empfehlung kann als eine Ergänzung der normalen Vorschriften für den Arbeitsplatz betrachtet werden.
Die Bedienung muss gemäß der Anleitung von Personal ausgeführt werden, das mit den Funktionen der Schweißausrüstung gut vertraut ist. Eine falsche Bedienung kann eine Gefahrensituation herbeiführen, die Personen- und Maschinenschäden verursachen kann.
Folgendes berücksichtigen:
Tragen Sie beim Wechsel des Drahts, der Vorschubwalzen und der Drahtspule keine Schutzhandschuhe.
BEIM LICHTBOGENSCHWEIßEN UND LICHTBOGENSCHNEIDEN KANN IHNEN UND ANDEREN SCHADEN ZUGEFÜGT WERDEN. DESHALB MÜSSEN SIE BEI DIESEN ARBEITEN BESONDERS VORSICHTIG SEIN. BEFOLGEN SIE DIE SICHERHEITSVORSCHRIFTEN IHRES ARBEITGEBERS, DIE SICH AUF DEN WARNUNGSTEXT DES HERSTELLERS BEZIEHEN.
Schweißfunken können ein Feuer entzünden. Daher ist dafür zu sorgen, daß sich am Schweißarbeitsplatz keine brennbaren Gegenstände befinden.
• Nur Fachleute mit der Behebung von Störungen beauftragen.
Schweißautomat A2 Tripletrac für das UP-Schweißen von Stumpf- und Kehlnähten.
Schweißautomat A2 Tripletrac sind zur Anwendung zusammen mit Bedienungseinheit PEK oder A2 Welding Control Unit ( PEI ) und der ESAB Schweißstromquelle LAF oder TAF vorgesehen.
UP light duty mit einer Kontaktvorrichtung Ø 20 mm, die eine Belastung von bis zu 800 A (100 %) aushält.
Die Ausrüstung kann in dieser Ausführung mit Vorschubrollen zum Schweißen mit Einfachdraht versehen werden. Für Fülldraht sind besondere gerändelte Vorschubrollen erhältlich, die einen sicheren Drahtvorschub ohne Drahtdeformationen infolge des hohen Vorschubdrucks gewährleistet.
UP-Schweißen: Die Schweißraupe wird beim Schweißen durch eine Decke von Schweißpulver geschützt.UP Licht dutw. Erlaubt niedrigere Strembelestung beim Schweißen sowie die
UP Light duty Erlaubt niedrigere Strombelastung beim Schweißen sowie die Anwendung kleinerer Drähte.
Die Schweißautomaten sind zum Waagerecht-Schweißen konstruiert.
| A2TF K1 (UP) | |
|---|---|
| Anschlußspannung | 42 V AC |
| Zulässige Belastung 100 % ED: | 800 A |
| Elektrodendimensionen: | |
|
Volldraht einfache Drahtelektrode
Fülldraht |
1,6-4,0 mm
1,6-4,0 mm |
| Max. Elektrodengeschwindigkeit | 9 m/min |
| Bremsmoment der Bremsnabe | 1,5 Nm |
| Betriebsgeschwindigkeit | 0,1-2,0 m/min |
| Min. Wenderadius beim Rundschweißen | 1500 mm |
| Min. Rohrdurchmesser beim inwendigen Verbindungsschweißen | 1100 mm |
| Max. Elektrodengewicht | 30 kg |
| Inhalt des Pulverbehälters (Darf nicht mit vorgewärmten Pulver gefüllt werden) | 6 I |
| Gewicht (exkl. Elektrode und Pulver) | 68 kg |
| Schutzform | IP10 |
| EMC klassifikation | Klasse A |
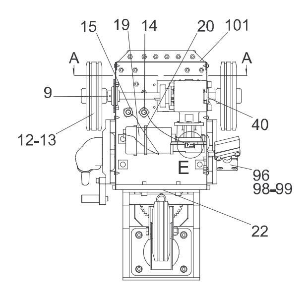
Für Beschreibung der Hauptbauteile, siehe Seite 10.
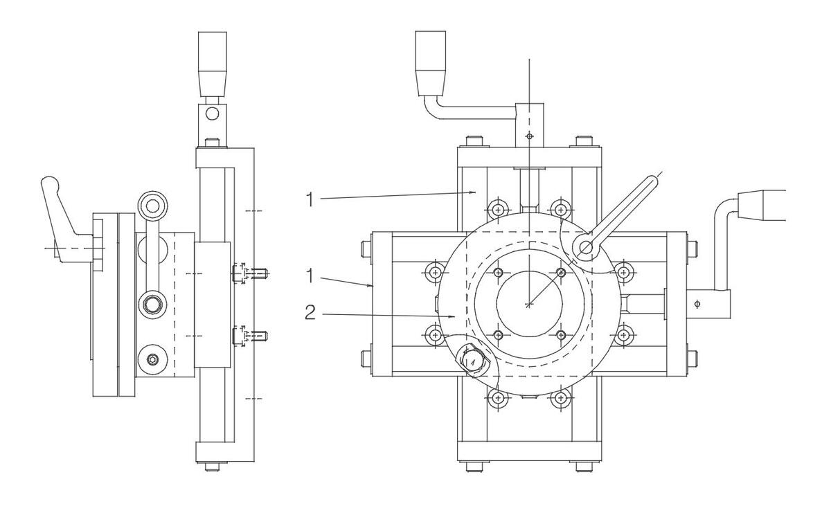
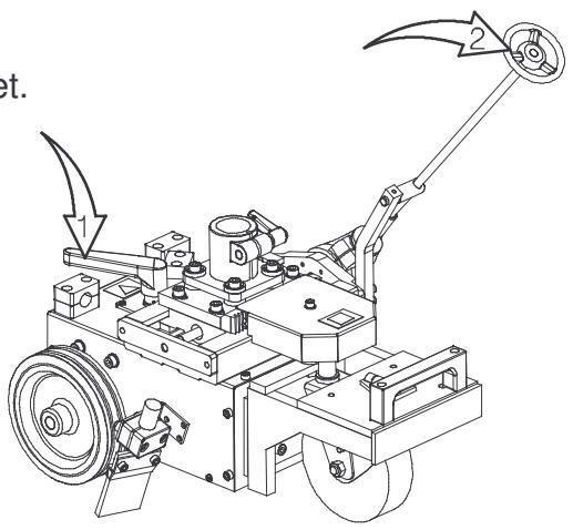
Der Fahrwagen ist mit Zweiradantrieb ausgerüstet.
Für manuelle Versetzung, den Fahrwagen mit Hilfe des Sicherungshebels (1) ausrücken.
Die Fahrrichtung mit Handrad (2) einstellen.
An den Träger sind u.a. Bedienungskasten, Drahtvorschubeinheit und Pulvertank anzubringen.
Die Drahtvorschubeinheit ist zum Vorschub des Schweißdrahts durch Kontaktrohr.
Die horizontale bzw. vertikale Position des Schweißkops ist mit Hilfe der Linearschlitten einzustellen. Die Winkelbewegung ist mit dem Rundschieber frei einstellbar.
Bringen Kontakt mit dem Schweißdraht für Stromübertragung beim Schweißen zustande.
Der Drahtvorschubmotor ist zum Vorschub des Drahts vorgesehen.
Der Zielstift ist zur Einstellung des Schweißkopes in der Schweißfuge vorgesehen.
Das Schweißpulver ist in den Pulverbehälter einzufüllen. Vom Behälter wird das Pulver über das Pulverrohr an das Werkstück weitergeführt.
Die Pulvermenge wird mit dem Ventil am Pulverbehälter geregelt.
Siehe "Einfüllen von Schweißpulver" auf seite 15.
PEK , siehe Bedienungsanweisung 0460 948 xxx, 0460 949 xxx, 0459 839 036.
A2 Welding Control Unit ( PEI ), siehe Bedienungsanweisung 0449 331 xxx.
Mit der Wasserwaage kontrollieren, dass die automatische Schweissmaschine horizontal steht.
Die Installation ist von einem Fachmann auszuführen
Bei rotierenden Teilen besteht Klemmgefahr. deshalb ist besondere Vorsicht geboten.
Die Drahttrommel (1) auf die Bremsnabe (2) montieren.
Um zu verhindern, daß die Drahttrommel von der Bremsnabe
ist die Bremsnabe mit Hilfe des roten Drehariffs zu sichern. siehe Anleitung neben der Bremsnabe.
Die Nabe ist bei Lieferung korrekt eingestellt. Falls eine Nachjustierung erforderlich ist, führen Sie folgende Schritte aus. Justieren Sie die Bremsnabe so, dass der Draht bei Ende des Vorschubs ein wenig durchhängt.
Durch Drehen der Federn im Uhrzeigersinn verringert sich das Bremsmoment.
Durch Drehen der Federn im entgegengesetzten Uhrzeigersinn erhöht sich das Bremsmoment.
ACHTUNG! Die Einstellung muss für beide Federn identisch sein.
Haben Sie die Sicherheitsanweisungen gelesen und verstanden? Vorher darf die Maschine nicht in Gebrauch genommen werden!
Allgemeine Sicherheitsvorschriften für die Handhabung dieser Ausrüstung finden Sie auf Seite 5. Die Vorschriften vor Anwendung der Ausrüstung bitte lesen!
Vor dem Schweißstart kontrollieren, ob der Rückleiter angeschlossen ist. Siehe Seite 12.
Schweißautomaten A2TF K1(UP) mit folgenden Einheiten verwenden:
Die Kontaktdüse ( 3 ) mit einem Schraubenschlüssel anziehen, damit guter Kontakt gewährleistet wird.
Achtung! Das Schweißpulver muß trocken sein.
Die Pulverdecke muß so hoch sein, daß ein Durchschlag des Lichtbogens nicht auftreten kann.
Achtung! Beim Heben der automatischen Schweissmaschine ist Loch ( 3 ) zu verwenden.
Sämtliche Garantien des Lieferanten werden ungültig, wenn der Kunde selbst während der Garantiezeit Eingriffe in die Maschine vornimmt um evtl. Fehler zu beseitigen.
Vor Wartung aller Art, kontrollieren, daß die Netzspannung ausgeschaltet ist.
Für Wartung der Bedieneinheit PEK , siehe die Bedienungsanleitung 0460 948 xxx, 0460 949 xxx, 0459 839 036.
Für Wartung der Bedieneinheit PEI , siehe die Bedienungsanleitung 0449 331 xxx.
| 1. Symptom | Strom- und Spannungswert zeigen erhebliche Abweichungen auf der Ziffernanzeige. |
|---|---|
| Ursache 1.1 |
Kontaktbacke bzw. Kontaktdüse sind verschlissen oder haben
falsche Größe. |
| Maßnahme | Kontaktbacken bzw. Kontaktdüsen auswechseln. |
| Ursache 1.2 | Druck der Drahtvorschubrollen ist unzureichend. |
| Maßnahme | Druck der Drahtvorschubrollen erhöhen. |
| 2. Symtom | Elektrodenvorschub ist ungleichmäßig. |
| Ursache 2.1 | Druck der Drahtvorschubrollen ist falsch eingestellt. |
| Maßnahme | Druck der Vorschubrollen ändern. |
| Ursache 2.2 | Falsche Größe der Vorschubrollen. |
| Maßnahme | Vorschubrollen auswechseln. |
| Ursache 2.3 | Rillen der Vorschubrollen verschlissen. |
| Maßnahme | Vorschubrollen auswechseln. |
| 3. Symptom | Schweißleitungen werden überhitzt. |
| Orsak 3.1 | Schlechte elektrische Anschlüsse. |
| Maßnahme | Alle elektr. Anschlüsse reinigen und festziehen. |
| Ursache 3.2 | Schweißleitungen sind unterdimensioniert. |
| Maßnahme | Größere Leitung oder parallele Leitungen verwenden. |
Ersatzteile werden durch Ihren nächsten ESAB-Vertreter bestellt, siehe letzte Seite dieses Dokuments. Bei der Bestellung von Ersatzteilen sind Maschinentyp, Seriennummer sowie Bezeichnung und Ersatzteilnummer It. Ersatzteilverzeichnis auf Seite 21 anzugeben.
Dies erleichtert die Kundendienstarbeit und gewährleistet eine korrekte Lieferung.
A2TF K1
| Recommended adjusting | |||
|---|---|---|---|
| Measure | Butt jonit | Fillet jonit | |
| А | 165 mm | 165 mm | |
| В | 668 mm | 668 mm | |
| С | 455 mm | 455 mm | |
Utility light, complete: 0449443880
A2TF K1
Edition 091113
| Ordering no. | Denomination | Notes |
|---|---|---|
| 0461 236 880 | Automatic welding machine | A2TF K1 Tripletrac |
| 0449 430 881 | Automatic welding machine | A2 Tripletrac with control box PEI |
|
ltem
no. |
Qty | Ordering no. | Denomination | Notes |
|---|---|---|---|---|
| 0461 236 880 | Automatic welding machine | A2TF K1 Tripletrac | ||
| 1 | 1 | 0449 400 882 | Carriage | |
| 2 | 1 | 0449 154 880 | Carrier | |
| 3 | 1 | 0449 152 880 | Slide travel kit | 90 mm |
| 4 | 1 | 0449 150 900 | Wire feed unit complete (right) | 38 rpm |
| 5 | 1 | 0460 504 880 | Control box | PEK, see separate manual |
| 6 | 1 | 0449 153 900 | Cable kit | 1,6 m |
| 6:1 | 1 | 0460 909 881 | Pulse tranducer cable | |
| 6:2 | 1 | 0461 249 881 | Motor cable | |
| 6:3 | 1 | 0461 239 880 | Arc welding cable | |
| 7 | 1 | 0449 425 001 | Plate |
|
ltem
no. |
Qty | Ordering no. | Denomination | Notes |
|---|---|---|---|---|
| 0449 430 881 | Automatic welding machine | A2 Tripletrac | ||
| 1 | 1 | 0449 400 880 | Carriage | |
| 2 | 1 | 0449 154 880 | Carrier | |
| 3 | 1 | 0449 152 880 | Slide travel kit | 90 mm |
| 4 | 1 | 0449 150 880 | Wire feed unit complete (right) | 38 rpm |
| 5 | 1 | 0449 330 880 | Control box | PEI, see separate manual |
| 6 | 1 | 0449 153 980 | Cable kit | 1,6 m |
| 6:2 | 1 | 0456 493 981 | Cable | |
| 6:3 | 1 | 0456 504 980 | Arc welding cable | |
| 7 | 1 | 0449 425 001 | Plate | |
| 16 | 1 | 0449 528 001 | Protection plate |
|
ltem
no. |
Qty | Ordering no. | Denomination | Notes |
|---|---|---|---|---|
| 0449 400 881 | Carriage | A2 Tripletrac PEI | ||
| 1 | 1 | 0449 418 881 | Cover | |
| 9 | 1 | 0333 087 005 | Y-flange unit | |
| 12 | 2 | 0415 857 002 | Rubber wheel | |
| 13 | 2 | 0211 102 962 | Roll pin | D 5x40 |
| 14 | 1 | 0321 220 001 | Grommet | |
| 17 | 1 | 0192 784 001 | Pin plug | 2-pole |
| 18 | 2 | 0192 784 101 | Pin | |
| 19 | 1 | 0191 998 103 | Attachment | |
| 21 | 1 | 0457 783 880 | Motor Cable | |
| 22 | 1 | 0449 403 001 | Plate | |
| 27 | 2 | 0413 366 320 | Clamp | |
| 29 | 2 | 0413 366 105 | Clamp | |
| 30 | 1 | 0413 366 112 | Clamp | |
| 31 | 1 | 0449 417 880 | Slide | |
| 36 | 1 | 0192 784 002 | Sleeve plug | 2-pole |
| 37 | 2 | 0192 784 102 | Сар | |
| 40 | 1 | 0800 185 001 | Bearing bushing | |
| 42 | 1 | 0449 427 001 | Plate | |
| 43 | 1 | 0449 089 880 | Drive unit | |
| 44 | 1 | 0449 098 880 | Shaft with eccentric | |
| 45 | 1 | 0449 099 001 | Shaft support | |
| 50 | 1 | 0333 630 001 | Locking arm adjustable | |
| 51 | 1 | 0211 102 940 | Roll pin | D 3x28 |
| 52 | 1 | 0215 701 019 | Grooved ring, | D25x1,2 |
| 53 | 1 | 0449 097 001 | Platta | |
| 54 | 1 | 0449 103 001 | Pressure screw | M16 |
| 55 | 1 | 0449 411 880 | Mounting plate compl. | |
| 57 | 1 | 0449 416 001 | Protective cover | |
| 58 | 1 | 0237 700 280 | Angle gear | |
| 59 | 1 | 0449 409 001 | Arm | |
| 60 | 1 | 0449 410 001 | Holder | |
| 61 | 1 | 0212 204 344 | Stop screw | M5x8 |
| 65 | 1 | 0449 402 001 | Wheel | |
| 66 | 1 | 0449 401 001 | Shaft | |
| 67 | 1 | 0449 404 880 | Frame compl. | |
| 68 | 1 | 0146 846 880 | Handle | |
| 69 | 1 | 0449 405 880 | Swiveling castor | |
| 74 | 1 | 0413 539 002 | Pillar rota clamp | |
| 75 | 1 | 0193 570 131 | Locking arm | |
| 78 | 1 | 0449 414 001 | Shaft | |
| 79 | 1 | 0449 412 001 | Gear wheel | |
| 80 | 1 | 0449 426 001 | Cross- type water leveler | |
| 84 | 4 | 0163 139 002 | Insulator | |
| 85 | 4 | 0162 414 002 | Insulating tube | l=17 mm |
| 87 | 1 | 0413 527 001 | Plate | 65×65 |
| 92 | 2 | 0211 102 921 | Roll pin | D 2x20 |
| 96 | 1 | 0449 423 001 | Angle |
|
ltem
no. |
Qty | Ordering no. | Denomination | Notes |
|---|---|---|---|---|
| 98 | 1 | 0449 432 001 | Brush shaft | |
| 99 | 1 | 0449 421 001 | Brush with bar | |
| 101 | 1 | 0449 526 001 | Casing plate |
|
ltem
no. |
Qty | Ordering no. | Denomination | Notes |
|---|---|---|---|---|
| 0449 400 882 | Carriage | A2 Tripletrac PEK | ||
| 1 | 1 | 0449 418 881 | Cover | |
| 9 | 1 | 0333 087 005 | Y-flange unit | |
| 12 | 2 | 0415 857 002 | Rubber wheel | |
| 13 | 2 | 0211 102 962 | Roll pin | D 5x40 |
| 14 | 1 | 0461 241 880 | Motor cable | L=1,9m |
| 15 | 1 | 0461 242 880 | Pulse transducer cable | L=2,1m |
| 19 | 1 | 0191 998 103 | Attachment | |
| 22 | 1 | 0449 403 001 | Plate | |
| 27 | 2 | 0413 366 320 | Clamp | |
| 29 | 2 | 0413 366 105 | Clamp | |
| 30 | 1 | 0413 366 112 | Clamp | |
| 31 | 1 | 0449 417 880 | Slide | |
| 40 | 1 | 0800 185 001 | Bearing bushing | |
| 42 | 1 | 0449 427 001 | Plate | |
| 43 | 1 | 0449 089 881 | Drive unit | |
| 44 | 1 | 0449 098 880 | Shaft with eccentric | |
| 45 | 1 | 0449 099 001 | Shaft support | |
| 50 | 1 | 0333 630 001 | Locking arm adjustable | |
| 51 | 1 | 0211 102 940 | Roll pin | D 3x28 |
| 52 | 1 | 0215 701 019 | Grooved ring, | D25x1,2 |
| 53 | 1 | 0449 097 001 | Plate | |
| 54 | 1 | 0449 103 001 | Pressure screw | M16 |
| 55 | 1 | 0449 411 880 | Mounting plate compl. | |
| 57 | 1 | 0449 416 001 | Protective cover | |
| 58 | 1 | 0237 700 280 | Angle gear | |
| 59 | 1 | 0449 409 001 | Arm | |
| 60 | 1 | 0449 410 001 | Holder | |
| 61 | 1 | 0212 204 344 | Stop screw | M5x8 |
| 65 | 1 | 0449 402 001 | Wheel | |
| 66 | 1 | 0449 401 001 | Shaft | |
| 67 | 1 | 0449 404 880 | Frame compl. | |
| 68 | 1 | 0146 846 880 | Handle | |
| 69 | 1 | 0449 405 880 | Swiveling castor | |
| 74 | 1 | 0413 539 002 | Pillar rota clamp | |
| 75 | 1 | 0193 570 131 | Locking arm | |
| 78 | 1 | 0449 414 001 | Shaft | |
| 79 | 1 | 0449 412 001 | Gear wheel | |
| 80 | 1 | 0449 426 001 | Cross- type water leveler | |
| 84 | 4 | 0163 139 002 | Insulator | | |
| 85 | 4 | 0162 414 002 | Insulating tube | l=17 mm |
| 87 | 1 | 0413 527 001 | Plate | 65x65 |
| 92 | 2 | 0211 102 921 | D 2x20 | |
| 96 | 0449 423 001 | |||
| 98 | 0449 432 001 | Brush shaft | ||
| 99 | 0449 421 001 | Brush with bar | ||
| 101 | 1 | 0449 526 001 | Casing plate |
|
ltem
no. |
Qty | Ordering no. | Denomination | Notes |
|---|---|---|---|---|
| 0449 154 880 | Carrier | |||
| 4 | 1 | 0413 671 001 | Chain attachment | |
| 5 | 1 | 0413 597 001 | Safety chain | |
| 11 | 6 | 0163 139 002 | Bushing | |
| 12 | 6 | 0162 414 002 | Insulating tube | |
| 14 | 1 | 0413 528 001 | Column | |
| 15 | 1 | 0413 540 001 | Clamp | |
| 16 | 1 | 0413 530 880 | Arm | |
| 17 | 1 | 0146 967 880 | Brake hub | |
| 18 | 1 | 0413 532 001 | Attachment | |
| 20 | 1 | 0413 317 002 | Handle | |
| 22 | 2 | 0156 442 002 | Clamp screw | R21 M8 |
| 24 | 1 | 0334 185 886 | Box girder beam complete | |
| 26 | 1 | 0413 525 001 | Insulating tube | |
| 27 | 1 | 0413 317 001 | Handle | |
| 30 | 2 | 0218 301 113 | Lifting eye bolt | |
| 31 | 2 | 0162 414 004 | Insulating tube |
B - E
|
ltem
no. |
Qty | Ordering no. | Denomination | Notes |
|---|---|---|---|---|
| 0449 152 880 | Slide travel kit | Manual | ||
| 1 | 2 | 0413 518 880 | Slide | 90 mm |
| 2 | 1 | 0413 506 880 | Circular slide |
| Item | Qty | Orderingno. | Denomination | Remarks |
|---|---|---|---|---|
| 0413 518 880 | Slide | |||
| 1 | 1 | 0413 519 001 | Slide profile | |
| 2 | 1 | 0413 524 001 | Bearing bushing | |
| 3 | 1 | 0413 521 001 | Runner | |
| 5 | 1 | 0413 522 001 | Lead screw | |
| 7 | 1 | 0334 537 002 | Crank | |
| 9 | 2 | 0413 523 001 | Axis | |
| 17 | 4 | 0190 240 107 | Bearing |
|
ltem
no. |
Qty | Ordering no. | Denomination | Notes |
|---|---|---|---|---|
| 0413 506 880 | Rotary slide | |||
| 1 | 1 | 0413 507 001 | Flange | |
| 2 | 1 | 0413 508 001 | Tensioning ring | |
| 3 | 1 | 0413 509 001 | Flange | |
| 7 | 2 | 0219 504 405 | Bellleville spring | T = 0.6 |
| 8 | 1 | 0193 571 105 | Locking piece | |
| 10 | 1 | 0193 570 123 | Locking lever |
|
ltem
no. |
Qty | Ordering no. | Denomination | Notes |
|---|---|---|---|---|
| 0449 150 880 | Wire feed unit complete (Right) | SAW | ||
| 1 | 1 | 0147 639 882 | Wire feed unit | |
| 2 | 1 | 0413 072 881 | Bearing housing | |
| 3 | 1 | 0215 701 210 | Wedge, flat | |
| 4 | 1 | 0413 517 001 | Bracket for motor | |
| 5 | 1 | 0458 225 001 | Motor with tacho | |
| 8 | 1 | 0218 810 183 | Insulated Hand wheel | |
| 12 | 1 | 0413 510 001 | Contact tube | D20, L = 260 mm |
| 13 | 1 | 0416 984 880 | Guide pin complete | |
| 14 | 1 | 0333 094 880 | Clamp for Flux tube | |
| 15 | 1 | 0332 948 001 | Flux tube | |
| 1 | 0145 221 881 | Concentric flux feeding funnel | ||
| 16 | 1 | 0332 994 883 | Flux container | |
| 17 | 1 | 0413 318 001 | Holder |
|
ltem
no. |
Qty | Ordering no. | Denomination | Notes |
|---|---|---|---|---|
| 0449 150 900 | Wire feed unit complete (Right) | SAW | ||
| 1 | 1 | 0147 639 882 | Wire feed unit | |
| 2 | 1 | 0413 072 881 | Bearing housing | |
| 3 | 1 | 0215 701 210 | Wedge, flat | |
| 4 | 1 | 0413 517 001 | Bracket for motor | |
| 5 | 1 | 0812 312 001 | Motor with pulse transducer | |
| 8 | 1 | 0218 810 183 | Insulated Hand wheel | |
| 12 | 1 | 0413 510 001 | Contact tube | D20, L = 260 mm |
| 13 | 1 | 0416 984 880 | Guide pin complete | |
| 14 | 1 | 0333 094 880 | Clamp for Flux tube | |
| 15 | 1 | 0332 948 001 | Flux tube | |
| 16 | 1 | 0332 994 883 | Flux container | |
| 17 | 1 | 0413 318 001 | Holder | |
| 55 | 1 | 0449 475 001 | Bar | |
| 61 | 1 | 0462 132 880 | Protecting cover | |
| 62 | 1 | 0449 528 001 | Protection plate |
| Item | Qty | Orderingno. | Denomination | Remarks |
|---|---|---|---|---|
| 0147 639 882 | Straightener (right mounted) | |||
| 1 | 1 | 0156 449 001 | Clamp | |
| 6 | 2 | 0212 900 001 | Spacer screw | |
| 7 | 4 | 0215 201 209 | O-ring | D11.3x2.4 |
| 8 | 2 | 0218 400 801 | Pressure roller arm | |
| 9 | 1 | 0218 810 181 | Handwheel | |
| 10 | 1 | 0218 810 182 | Handwheel | |
| 11 | 3 | 0332 408 001 | Stub shaft | |
| 13 | 3 | 0153 148 880 | Roller | |
| 14 | 1 | 0415 498 001 | Thrust roller carrier | |
| 15 | 2 | 0212 902 601 | Spacer screw | |
| 16 | 1 | 0415 499 001 | Thrust roller carrier | |
| 23 | 1 | 0334 571 880 | Contact clamp | |
| 30 | 1 | 0212 601 110 | Nut | M10 |
| Item | Qty | Orderingno. | Denomination | Notes |
|---|---|---|---|---|
| 0413 072 881 | Bearing housing with stub shaft | |||
| 1 | 1 | 0413 073 002 | Searing housing | |
| 2 | 2 | 0190 726 003 | Ball bearing | |
| 3 | 1 | 0334 575 001 | Stub shaft | |
| 4 | 1 | 0215 701 014 | Betaining ring | D17 |
| 5 | 3 | 0334 576 001 | Spacer |
| Item | Qty | Orderingno. | Denomination | Remarks |
|---|---|---|---|---|
| 0332 994 883 | Flux hopper complete | |||
| 1 | 1 | 0332 837 001 | Hopper for flux | |
| 6 | 1 | 0153 347 881 | Flux valve | |
| 7 | 1 | 00203 017 80 | Flux strainer | |
| 16 | 1 | 0443 383 002 | Flux hose | L= 500 |
Europe AUSTRIA ESAB Ges.m.b.H Vienna-Liesing Tel: +43 1 888 25 11 Fax: +43 1 888 25 11 85
BELGIUM S.A. ESAB N.V. Brussels Tel: +32 2 745 11 00 Fax: +32 2 745 11 28
THE CZECH REPUBLIC ESAB VAMBERK s.r.o. Vamberk Tel: +420 2 819 40 885 Fax: +420 2 819 40 120
DENMARK Aktieselskabet ESAB Herlev Tel: +45 36 30 01 11 Fax: +45 36 30 40 03
FINLAND ESAB Oy Helsinki Tel: +358 9 547 761 Fax: +358 9 547 77 71
FRANCE ESAB France S.A. Cergy Pontoise Tel: +33 1 30 75 55 00 Fax: +33 1 30 75 55 24
GERMANY ESAB GmbH Solingen Tel: +49 212 298 0 Fax: +49 212 298 218
GREAT BRITAIN ESAB Group (UK) Ltd Waltham Cross Tel: +44 1992 76 85 15 Fax: +44 1992 71 58 03
ESAB Automation Ltd Andover Tel: +44 1264 33 22 33 Fax: +44 1264 33 20 74
HUNGARY ESAB Kft Budapest Tel: +36 1 20 44 182 Fax: +36 1 20 44 186
ITALY ESAB Saldatura S.p.A. Mesero (Mi) Tel: +39 02 97 96 81 Fax: +39 02 97 28 91 81
THE NETHERLANDS ESAB Nederland B.V. Amersfoort Tel: +31 33 422 35 55 Fax: +31 33 422 35 44
NORWAY AS ESAB Larvik Tel: +47 33 12 10 00 Fax: +47 33 11 52 03
POLAND ESAB Sp.zo.o. Katowice Tel: +48 32 351 11 00 Fax: +48 32 351 11 20
PORTUGAL ESAB Lda Lisbon Tel: +351 8 310 960 Fax: +351 1 859 1277
SLOVAKIA ESAB Slovakia s.r.o. Bratislava Tel: +421 7 44 88 24 26 Fax: +421 7 44 88 87 41
SPAIN ESAB Ibérica S.A. Alcalá de Henares (MADRID) Tel: +34 91 878 3600 Fax: +34 91 802 3461
SWEDEN ESAB Sverige AB Gothenburg Tel: +46 31 50 95 00
Fax: +46 31 50 95 00 Fax: +46 31 50 92 22 ESAB international AB Gothenburg
Tel: +46 31 50 90 00 Fax: +46 31 50 93 60
SWITZERLAND ESAB AG Dietikon Tel: +41 1 741 25 25 Fax: +41 1 740 30 55
North and South America ARGENTINA CONARCO Buenos Aires Tel: +54 11 4 753 4039 Fax: +54 11 4 753 6313
BRAZIL ESAB S.A. Contagem-MG Tel: +55 31 2191 4333 Fax: +55 31 2191 4440
CANADA ESAB Group Canada Inc. Missisauga, Ontario Tel: +1 905 670 02 20 Fax: +1 905 670 48 79
MEXICO ESAB Mexico S.A. Monterrey Tel: +52 8 350 5959 Fax: +52 8 350 7554
ESAB Welding & Cutting Products Florence, SC Tel: +1 843 669 44 11 Fax: +1 843 664 57 48
ESAB ®
ESAB AB SE-695 81 LAXÅ SWEDEN Phone +46 584 81 000
www.esab.com
CHINA Shanghai ESAB A/P Shanghai Tel: +86 21 2326 3000 Fax: +86 21 6566 6622
INDIA ESAB India Ltd Calcutta Tel: +91 33 478 45 17 Fax: +91 33 468 18 80
INDONESIA P.T. ESABindo Pratama Jakarta Tel: +62 21 460 0188
JAPAN ESAB Japan Tokyo Tel: +81 45 670 7073 Fax: +81 45 670 7001
MALAYSIA ESAB (Malaysia) Snd Bhd USJ Tel: +603 8023 7835 Fax: +603 8023 0225
SINGAPORE ESAB Asia/Pacific Pte Ltd Singapore Tel: +65 6861 43 22 Fax: +65 6861 31 95
SOUTH KOREA ESAB SeAH Corporation Kyungnam Tel: +82 55 269 8170 Fax: +82 55 289 8864
UNITED ARAB EMIRATES ESAB Middle East FZE Dubai Tel: +971 4 887 21 11 Fax: +971 4 887 22 63
Representative offices
ESAB Representative Office Sofia Tel/Fax: +359 2 974 42 88
EGYPT ESAB Egypt Dokki-Cairo Tel: +20 2 390 96 69 Fax: +20 2 393 32 13
ROMANIA ESAB Representative Office Bucharest Tel/Fax: +40 1 322 36 74
RUSSIA LLC ESAB Moscow Tel: +7 095 543 9281 Fax: +7 095 543 9280
LLC ESAB St Petersburg Tel: +7 812 336 7080 Fax: +7 812 336 7060
Distributors
For addresses and phone numbers to our distributors in other countries, please visit our home page
www.esab.com






































Loading...