
.175 MHz
.12.5 VOLTS
.COMMON EMITTER
.P
OUT
100 W MIN. WITH 6.0 dB GAIN
=
SD1477
RF & MICROWAVE TRANSISTORS
VHF MOBILE APPLICATIONS
.500 6LF L (M111)
epoxy sealed
ORDER CODE
SD1477
PIN CONNECTION
BRANDING
SD1477
DESC RI PT ION
The SD1477 is a 12.5 V Class C epitaxial silicon
NPN planar transistor designed primarily for VHF
FM communications. This device utilizes diffused
emitter resistors towithstandextremelyhigh VSWR
under rated operating conditions, and is internally
input matched to optimize power gain and efficiency over the 136 - 175 MHz band.
ABSOLUTE MAXIMUM RATINGS (T
Symbol Parameter Value Uni t
V
CBO
V
CEO
V
CES
V
EBO
I
C
P
DISS
T
J
T
STG
THERMA L DA TA
R
TH(j-c)
Collector-Base Voltage 36 V
Collector-Emitter Voltage 18 V
Collector-Emitter Voltage 36 V
Emitter-Base Voltage 4.0 V
Device Current 20 A
Power Dissipation 270 W
Junction Temperature +200
Storage Temperature
Junction-Case Thermal Resistance 0.65 °C/W
case
= 25°C)
1. Collector 3. Emitter
2. Base 4. Emitter
65 to +150
−
°
C
°
C
November 1992
1/6

SD1477
ELECTRICAL SPECIFICATIO NS (T
case
= 25°C)
STATIC
Symbol Test Conditions
BV
BV
BV
BV
I
CES
h
CBO
CES
CEO
EBO
FE
IC= 50mA IE= 0mA 36 — — V
IC= 100mA VBE= 0V 36 — — V
IC= 100mA IB= 0mA 18 — — V
IE= 10mA IC= 0mA 4.0 — — V
VCE= 15V IE= 0mA — — 15 mA
VCE= 5V IC= 5A 10 — — —
DYNAMIC
Symbol Test C onditi ons
P
OUT
G
C
P
OB
f = 175 MHz PIN= 25 W VCC= 12.5 V 100 — — W
f = 175 MHz PIN= 25 W VCC= 12.5 V 6.0 — — dB
f = 1 MHz VCB= 12.5 V — 350 — pF
Value
Min. Typ. Max.
Value
Min. Typ. Max.
Unit
Unit
TYPICA L PERFO R MA NCE
POWER OUTPUT vs FREQUENCY
POWER OUTPUT vs POWER INPUT
2/6

IMPEDA NCE DATA
SD1477
TYPICAL INPUT IMPEDANCE
FREQ. ZIN(Ω)Z
175 MHz 1.5 − j 0.9 0.5 − j 1.0
TYPICAL COLLECTOR LOAD
IMPEDANCE
(Ω)
CL
3/6

SD1477
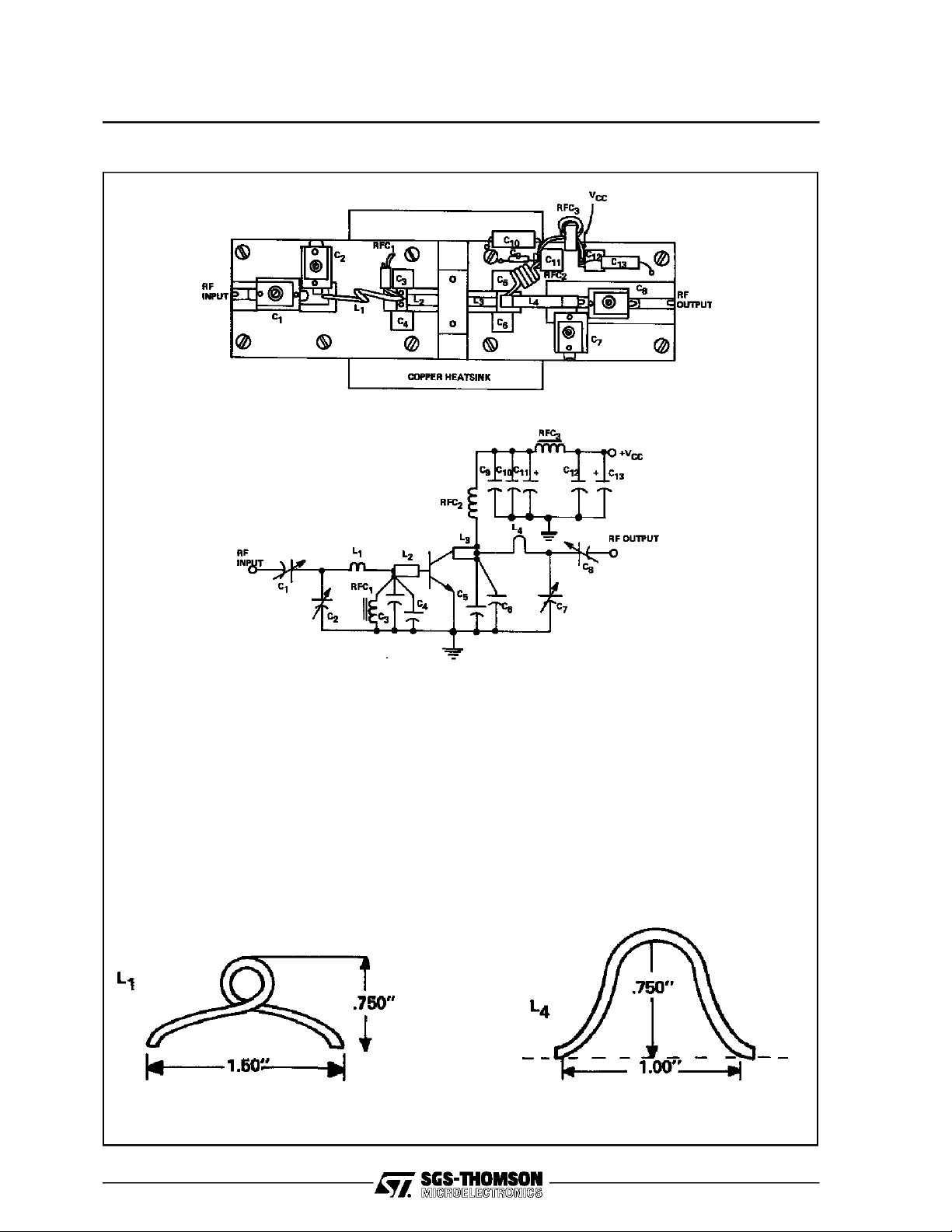
TEST CIRCUIT
C1, C2 : Arco 462 5 - 80pF
C3, C4 : Unelco 100pF, 350V
C5, C6 : Unelco 120pF, 350V
C7, C8 : Arco 463 9 - 180pF
C9, C12 : Unelco 1000pF, 350V
C10 : Erie .15µF, 200VRed Cap
C11 : 25µF, 25V Electrolytic
C13 : 10µF, 25V Electrolytic
L1 : 1 Turn, #12, 1/4” I.D.
L2, L3 : 1/2” 50Ω Stripline(.180” Wide)
L4 : 1/8” Thick Copper Strap 1/4” Wide
RFC1 : 1 1/2 Turns on Ferroxcube VK200/19-B
RFC2 : 4 Turn #16 Enamel, 3/8” I.D., 3/8” Long
RFC3 : 4 Turns #16 Enamel on T50-2 Torroid
Board
Material: 3M-K6098, 1/16” Thick
4/6

SD1477
Information furnished is believed to be accurate and reliable.However, SGS-THOMSON Microelectronicsassumes noresponsability forthe
consequences of useof suchinformation nor for any infringementofpatents or other rights of third partieswhich mayresults from its use. No
license isgranted by implicationor otherwise underany patent orpatentrights ofSGS-THOMSON Microelectronics. Specificationsmentioned
in this publication aresubjectto changewithout notice. This publication supersedes andreplacesall information previously supplied.
SGS-THOMSON Microelectronicsproducts arenotauthorized foruse ascritical componentsin lifesupport devicesorsystems withoutexpress
written approvalofSGS-THOMSONMicroelectonics.
1994 SGS-THOMSON Microelectronics- All RightsReserved
Australia - Brazil - France- Germany- HongKong - Italy- Japan - Korea - Malaysia - Malta - Morocco -The Netherlands-
Singapore - Spain - Sweden- Switzerland-Taiwan - Thailand - United Kingdom -U.S.A
SGS-THOMSON MicroelectronicsGROUP OF COMPANIES
6/6