
Overview
The LC82220 is a single-chip JPEG decoder designed for
wide range of digital video playback applications
including amusement systems, video games and PC JPEG
playback cards. The LC82220 is capable of decoding
JPEG bitstreams of SIF resolution with a picture rate of 30
frames/sec. The digital video output can be formatted for
NTSC, PAL, SECAM, or any other optional video
standard. The complete decoding function is realised with
the LC82220, a standard 8-bit or 16-bit microcontroller
and a bank of DRAM. A typical memory configuration is
a single 128 k × 16 or 256 k × 16 DRAM. The LC82220
also supports efficient video display functions such as
scroll and overlay.
Functions
• Support for JPEG format
• Real-time decoding of motion-JPEG with rate of 30
frames/sec
• Lowest solution cost for amusement, game, PC
systems
• Support for YUV 4:1:1 color format
• YUV or RGB digital video outputs compatible with
optional video format
• Programmable picture and display window format
• Support for trick display: scrolling, overlaying
• Standard 8/16-bit microcontroller interface with DMA
support for compressed data input
• Support SOI and EOI markers
• Direct connect to video DAC
• Direct connect to 2 M or 4 M DRAM as bit and frame
buffers
• Two Q-tables included
• High-speed processing by fixed Huffman tables
Package Dimensions
unit: mm
3182-QFP128E
CMOS LSI
62096HA (OT) No. 5422-1/6
Preliminaly
SANYO: QIP128E
[LC82220]
SANYO Electric Co.,Ltd. Semiconductor Bussiness Headquarters
TOKYO OFFICE Tokyo Bldg., 1-10, 1 Chome, Ueno, Taito-ku, TOKYO, 110 JAPAN
Motion JPEG Decoder LSI
LC82220
Ordering number : EN*5422

No. 5422-3/6
LC82220
Pin Functions
Pin No. Symbol I/O Function
1 V
DD
+5 V power supply
2 ZCTLINT O Control bus interrupt request (open drain output)
3 ZCTLCS I Control bus select
4 ZCTLRD I Control bus read or R/W select
5 ZCTLWR I Control bus write or Data strobe
6 ZCTLRDY O Control bus ready (tristate output)
7 TEST3 I Test pin
8 TEST4 I Test pin
9 CTLA5 I
10 CTLA4 I
11 CTLA3 I
Control bus address
12 CTLA2 I
13 CTLA1 I
14 CTLA0 I
15 CTLCPU I Control bus CPU type selection
16 V
DD
+5 V power supply
17 V
SS
Ground
18 CTLD7 I/O
19 CTLD6 I/O
20 CTLD5 I/O
21 CTLD4 I/O
Control bus data
22 CTLD3 I/O
23 CTLD2 I/O
24 CTLD1 I/O
25 CTLD0 I/O
26 TEST0 I Test pin
27 ZRESET I Hardware reset
28 CLKSEL0 I
Clock divisor setting
29 CLKSEL1 I
CLKSEL1:0 = 00: no divisor, 01: clock divided by 2, 10: clock divided by 3
30 CLK I System (decode) clock input (CMOS level input)
31 TEST1 I Test pin
32 V
DD
+5 V power supply
33 V
SS
Ground
34 ZCDCS/ZCDACK I Code bus select or Code bus DMA acknowledge
35 ZCDINT/ZCDREQ O Code bus interrupt or Code bus DMA request
36 ZCDWR I Code bus data write signal
37 ZCDRDY O Code bus ready (tristate output)
38 CCD15 I
39 CCD14 I
40 CCD13 I
41 CCD12 I
42 CCD11 I Code bus data
43 CCD10 I
44 CCD9 I
45 CCD8 I
46 CCD7 I
47 CCD6 I
48 V
SS
Ground
49 V
DD
+5 V power supply
50 CCD5 I
51 CCD4 I
52 CCD3 I Code bus data
53 CCD2 I
54 CCD1 I
55 CCD0 I
Continued on next page.

No. 5422-4/6
LC82220
Continued from preceding page.
Pin No. Symbol I/O Function
56 DB7 O
57 DB6 O
58 DB5 O
59 DB4 O
Pixel data bus B (V)
60 DB3 O
61 DB2 O
62 DB1 O
63 DB0 O
64 V
SS
Ground
65 V
DD
+5V power supply
66 ZBLANK O Blanking signal
67 ZPXEN I Pixel data enable signal
68 PXCLK I Pixel clock
69 ZVSYNC I Vertical synchronizing signal
70 ZHSYNC I Horizontal synchronizing signal
71 DG7 O
72 DG6 O
73 DG5 O
74 DG4 O
Pixel data bus G (U)
75 DG3 O
76 DG2 O
77 DG1 O
78 DG0 O
79 TEST2 I Test pin
80 V
DD
+5 V power supply
81 V
SS
Ground
82 DR7 O
83 DR6 O
84 DR5 O
85 DR4 O Pixel data bus R (Y)
86 DR3 O
87 DR2 O
88 DR1 O
89 DR0 O
90 V
SS
Ground
91 ZOE O Memory output enable
92 ZWEL O Memory write enable (L)
93 ZRAS O Row address strobe
94 ZCASL O Column address strobe (L)
95 ZWEH/ZCASH O Memory write enable (H)/column address strobe (H)
96 V
DD
+5 V power supply*
1
97 V
SS
Ground
98 MD15 I/O
99 MD14 I/O
100 MD13 I/O Frame memory interface data bus
101 MD12 I/O
102 MD11 I/O
103 MD10 I/O
104 V
DD
+5 V power supply
105 V
SS
Ground
106 MD9 I/O
107 MD8 I/O
108 MD7 I/O Frame memory interface data bus
109 MD6 I/O
110 MD5 I/O
111 MD4 I/O
Continued on next page.

No. 5422-5/6
LC82220
Continued from preceding page.
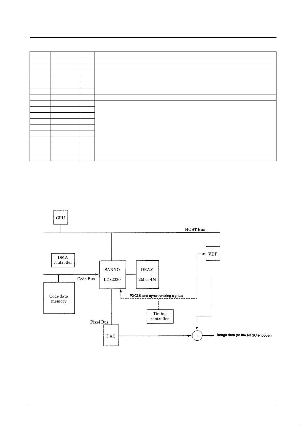
System Configuration Example
1. Separate code bus type
This is a system in which the code and system busses are separated. The coded data input does not load down the
system bus.
Pin No. Symbol I/O Function
112 V
SS
Ground
113 V
DD
+5 V power supply
114 MD3 I/O
115 MD2 I/O Frame memory interface data bus
116 MD1 I/O
117 MD0 I/O
118 V
SS
Ground
119 MA8 O
120 MA7 O
121 MA6 O
122 MA5 O
123 MA4 O Frame memory address signals
124 MA3 O
125 MA2 O
126 MA1 O
127 MA0 O
128 V
SS
Ground

No. 5422-6/6
LC82220
This catalog provides information as of December, 1997. Specifications and information herein are subject to
change without notice.
■ No products described or contained herein are intended for use in surgical implants, life-support systems, aerospace
equipment, nuclear power control systems, vehicles, disaster/crime-prevention equipment and the like, the failure of
which may directly or indirectly cause injury, death or property loss.
■ Anyone purchasing any products described or contained herein for an above-mentioned use shall:
➀ Accept full responsibility and indemnify and defend SANYO ELECTRIC CO., LTD., its affiliates, subsidiaries and
distributors and all their officers and employees, jointly and severally, against any and all claims and litigation and all
damages, cost and expenses associated with such use:
➁ Not impose any responsibility for any fault or negligence which may be cited in any such claim or litigation on
SANYO ELECTRIC CO., LTD., its affiliates, subsidiaries and distributors or any of their officers and employees
jointly or severally.
■ Information (including circuit diagrams and circuit parameters) herein is for example only; it is not guaranteed for
volume production. SANYO believes information herein is accurate and reliable, but no guarantees are made or implied
regarding its use or any infringements of intellectual property rights or other rights of third parties.
2. Shared code bus type
This is a system in which code bus and the system bus are connected. Coded data is written by the CPU, or
alternatively, data can be written using the DMA controller.