Page 1

Installation Instructions
Distinctive Series Cooktop
Models: DRT304S, DRT366S
Part No. 106522 Rev. C
THIS APPLIANCE HAS BEEN TESTED IN ACCORDANCE WITH THE LATEST
EDITION OF ANSI Z21.1 STANDARD FOR HOUSEHOLD GAS APPLIANCES.
Page 2

Important Safety Instructions .......................................... 1
Important Information About Safety Instructions .............. 1
General Safety Precautions ............................................. 2
Installation Requirements ................................................ 3
Electrical Requirements ................................................... 3
Gas Supply Requirements ............................................... 3
Product Dimensions ......................................................... 3
Cabinet and Countertop Layout ....................................... 4
Cabinet/Cutout Dimensions ............................................. 5
Installation Instructions .................................................... 7
Cooktop Installation.......................................................... 7
Gas Line Connection ....................................................... 8
Knob Installation............................................................... 8
Burner Component Installation ........................................ 9
Verifying Proper Operation ............................................. 10
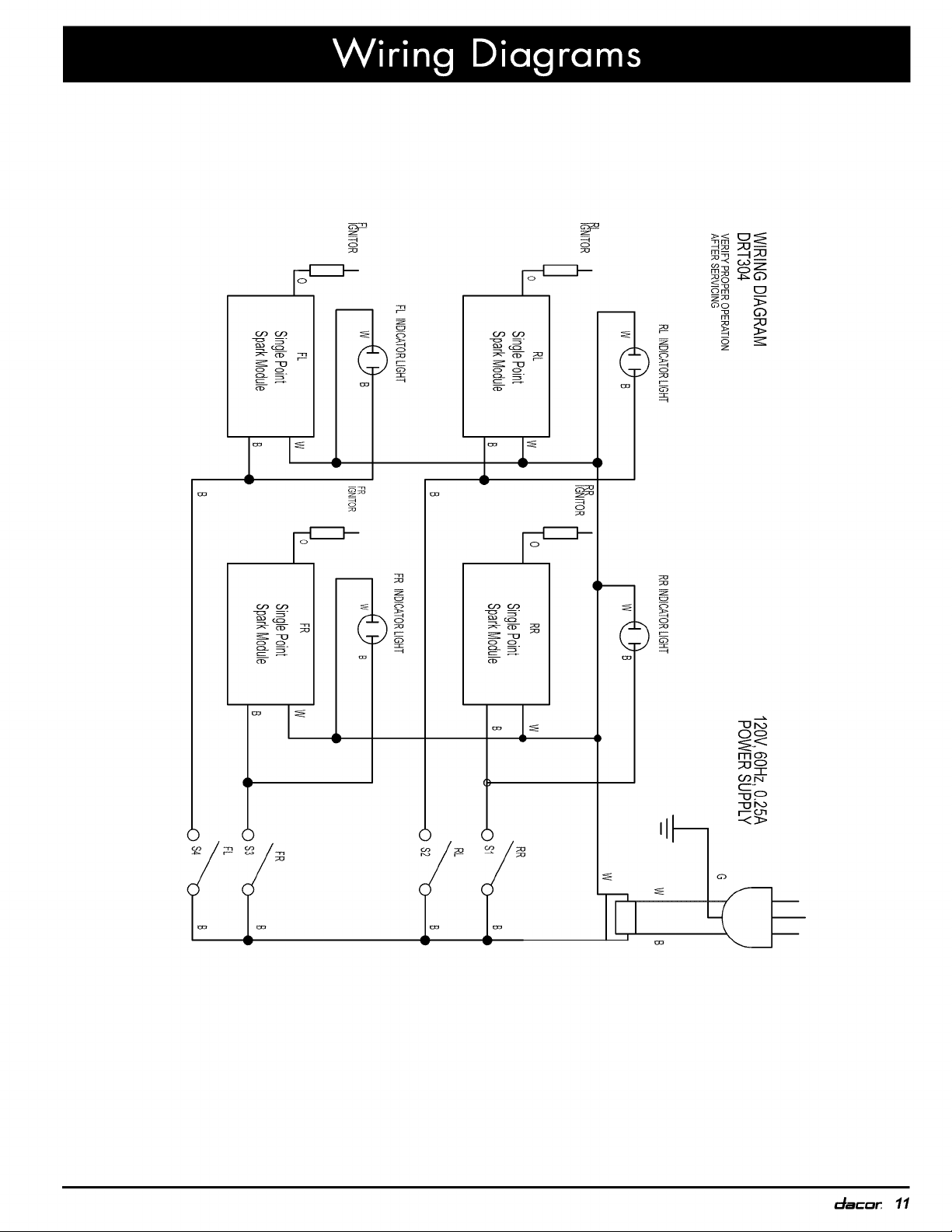
Wiring Diagrams .............................................................. 11
Important:
• Installer: In the interest of safety and to minimize problems, read these installation instructions completely and care-
fully before you begin the installation process. Leave these installation instructions with the customer.
• Customer: Keep these installation instructions for future reference and the local building inspector's use.
If You Need Help... Product Data Label
If you have questions or problems with installation, contact
your Dacor ®dealer or the Dacor Customer Service Team.
For repairs to Dacor appliances under warranty call the
Dacor Distinctive Service line. Whenever you call, have the
model and serial number of the appliance ready. The model
and serial number are printed on the appliance data plate.
Dacor Customer Service
Phone: (800) 793-0093 (U.S.A. and Canada)
Monday -- Friday 6:00 A.M.to 5:00 P.M.Pacific Time
Web site: www.Dacor.com
Dacor Distinctive Service (repairs under warranty only)
Phone: (877) 337-3226 (U.S.A. and Canada)
Monday -- Friday 6:00 A.M.to 4:00 P.M.Pacific Time
The product data label contains the model and serial
number information and the electrical and gas supply
requirements.
It is attached to the bottom of the chassis.
Model Identification
DRT366S/NG/H
SIZE (nominal width in inches)
GAS TYPE
NG = Natural Gas
LP = Liquid Petroleum
(Propane)
ALTITUDE
H = High Altitude Model, 4000 ft.(1219 m) and up
No character = Equipped for low altitude operation
Jl
All specifications are subject to change without notice. Dacor assumes no liability for changes to specifications.
© 2009 Dacor, all rights reserved.
Page 3

Important Information About
Safety Instructions
_] DANGER
The Important Safety Instructions and warnings in
this manual are not meant to cover all possible prob-
lems and conditions that can occur. Use common
sense and caution when installing, maintaining or oper-
ating this or any other appliance.
• Always contact the Dacor Customer Service Team
about problems and conditions that you don't under-
stand. See Customer Service Information.
, DO not use or light any appliance.
, Donot touch any electrical switch or use any electri-
cal devices, including the te ephonel in your buildingl
, From a neighbor's phone, immed ately call the gas
Supplier. Follow the gas supplier!s instructions.
yoUcannot c0ntact the gas supplier, Call the fire
department.
Safety Symbols and Labels
IMPORTANT: Do not st0re 0r use combustiblel flammable
or explosive vapors and liquids (such as gasoline)on or
Immediate hazards that WILL
I [_ DANGER
injury or death.
WARNING
Hazards or Unsafe practices that COULD result in severe
personal injury or death.
CAUTION
Hazards or unsafe practices that COULD result in minor
personal injury or property damagel ..................................................................
in the vicinity of this or any other appliance, A!so keep
items that could explode, such as aerosol cans, away
from the cooktop. Do not store flammable or exp!osive
materia!s in adjacent cabinets or areas (including above
and below the cooktop).
WARNING 'NEVER use this appliance as a space
heater to heat or Warm the rooml Doing so may result
in carbon monoxide poisoning and overheating of the
appliance.
[_ DANGER
WARNING
WARNING
WARNING
TO REDUCE THE RISK OF INJURY TO PERSONS IN
sheet or metal tray. then turn off the burner, BE
CAREFUL TO PREVENT BURNS. If the flames do
c DO NOT USE WATER including wet dish cloths or
towels, a vi01ent steam explosion may resUlL
d used fire extinguisher ONLYif:
haYed class ABC extinguisher' and you
already know how t0 operate iL
0 The fire is small and contained in the area where
it started
The fire department is being called:
You can fight the fire with your back t0an exit,
WARNING - NEVER cover any slots, holes or passages
on the cooktop and cooktop chassis. Doing so blocks
air flow through the cooktop and may cause carbon
monoxide poisoning. Aluminum foil linings may also trap
heat, causing a fire hazard. Keep all slots, holes and
passages clear of grease and grime.
CALIFORNIA PROPOSITION 65 WARNING
The burning of gas cooking fuel generates some
by-products that are on the list of substances which
are known by the State of California to cause cancer or
reproductive harm. California law requires businesses
to warn customers of potential exposure to such
substances. To minimize exposure to these substances
always operate this unit according to the use and care
manual, ensuring you provide good ventilation when
cooking with gas.
READ AND SAVE THESE INSTRUCTIONS
_mCD_ 1
Page 4

General Safety Precautions
To reduce the risk of fire, electric shock, serious injury or death when using your appliance, follow basic safety precau-
tions, including the following:
WARNING
• Read the accompanying use and care manual com-
pletely before operating this appliance.
• Keep packaging materials away from children.
Plastic sheets and bags can cause suffocation.
• If you receive a damaged product, immediately con-
tact your dealer or builder. Do not install or use a
damaqed appliance.
• This cooktop must be properly installed and ground-
ed by a qualified installer according to these instal-
lation instructions prior to use. The installer should
show the customer the location of the gas shut off
valve and the power cord so that they know where
and how to turn off the gas supply and disconnect
power to the cooktop. Proper installation is the
responsibility of the customer.
• Installations with less than 2 1/2" (64 mm) from the
rear of the cooktop to a combustible material must
use Dacor backguard model AEB3009, AEB3012.
(for model DRT304S) AEB3609, AEB3612 (for model
DRT366S) or non-combustible material. See the lat-
est version of ANSI Z223.1.
Do not use this appliance in combination with a sur-
face (countertop) ventilation system. Dacor strongly
recommends the installation of a range hood in con-
junction with this appliance.
• Do not install, repair or replace any part of the
cooktop unless specifically recommended in the liter-
ature accompanying it. A qualified service technician
should perform all other service. Do not tamper with
the controls. Do not operate the cooktop without the
knobs and trim rings in place.
• Before servicinq or installing this cooktop, make sure
that the gas supply is turned off at the gas supply
valve and that the power plug is disconnected from
the electrical outlet.
Disconnect the power plug from the electrical outlet
before cleaning. Clean this appliance only in the
manner specified in the use and care manual.
• Do not connect this cooktop to the gas supply with-
out the supplied gas pressure regulator installed.
• Only use the cooktop for cooking tasks expected of
a home appliance as outlined in the literature accom-
panying it. This cooktop is not intended for commer-
cial or laboratory use.
• DO NOT TOUCH THE SURFACES OF THE
COOKTOP OR THE SURROUNDING AREAS
DURING OR IMMEDIATELYAFTER USE.
WARNING
Donot climb on any part of the appliancel
' avoid a fire haZaidl do not hang flammable or
heat sensitive objects over the cooktopl
• Do not leave children alone or unattended in the
area around the cooktop. Do not allow children to
play With the controls or touch other parts of the
cooktop: Do not store items of interest to chi!dren
on top of or above the cooktop: Children CoU!dbe
burned or injured while climbing on the appliancel
' clean the c0okt0p thoroughly before oPerating it for
the first time, Make sure that all the cooktop parts
are dry before lighting a burner.
'i Keep flare mable itemsl such as papefi cardboa rd;
Plastic and cloth awaY from theburners and other
hot surfaces. D° not place such items on the
cooktop. Do not allow pot holders to touch hot sur-
faces or gas burners
; Do nOt wear lOOSeor hanging apparel while Using
the co0ktop. D0 not all0w clothing to com e into c0n-
tact with the co0ktop and surrounding areas during
and immediately after use. Do not use towels or
bulky cl0th as pot holdersl
, If the cooktop is near a window do not use long cur-
tains as Window treatmentl The curtains could blow
i, N0n,stick coatings;when heated, can be harmful to
birdsl Remove birds toa separatel well'Ventilated
room when operating the cooktopl
IMPORTANT- This appliance is equipped with a
three prong grounding p!ug for Your protection against
possible electric shock hazards,
Plug it on!y into a
grounded three-I:
outleti It is the res!
of the customer to make sure
the proper type of outlet is
installed:Do not under any
• Use a power cord that is frayed or damaged;
, Connect to an electrical outlet With a ground faUlt
interrupter (GFI)I
2 _mC_
Page 5

WARNING
Gas Supply Requirements
observe all g0verning c0des and ordinanCes during
planning and installation, Contact your local building
department for further information.
To prevent an electric shock hazard, the power sup-
ply must meet the specifications stated below.
The electrical and gas supply data on this page is for refer-
ence only. If the requirements below do not agree with the
product data label, use the data on the product data label.
Electrical Requirements
The electrical installation, including minimum supply
wire size and grounding, must be done in accordance
with National Electric Code ANSI/NFPA 70 and local
codes and ordinances. A copy of this standard may be
obtained from:
National Fire Protection Association
1 Batterymarch Park
Quincy, MA 02269-9101
The correct voltage, frequency and amperage must be
supplied to the electrical outlet according to the product
data label located on the bottom of the chassis.
• The electrical outlet must be installed by a licensed
electrician.
ELECTRIC CIRCUIT REQUIREMENTS
Circuit Required ' Total Connected Load
120 Vac 60Hz.,
15 Amp. (3 wire)
1.0 Amp. @ 120 Vac, 60 Hz.
Check your local building codes for the proper method
of installation. In the absence of local codes, this
appliance should be installed in accordance with the
National Fuel Gas Code ANSI Z223.1/NFPA 54. The
gas service must be installed by a qualified profes-
sional
Be certain that the cooktop being installed is correct for
the gas service being provided (natural gas or LP gas).
Also, if operating the cooktop at an altitude above 4000
ft. (1219 m) make sure it is equipped for high altitude
operation. See the inside cover for more information.
An external manual shut-off valve must be installed
between the gas inlet and the cooktop for the purpose
of turning on or shutting off gas to the appliance.
The factory provided regulator shipped with the appli-
ance must be installed in the gas line that runs from the
gas shut off valve to the cooktop gas inlet. Use only the
regulator provided. The regulator inlet accommodates
a 3/4" gas supply line and is also compatible with a
1/2" house gas supply. The inlet to the cooktop itself is
equipped with a 3/4" male NPT fitting.
GAS SUPPLY PRESSURE REQUIREMENTS*
_ Manifold" Minimum Gas
_as lype Pressure sUpply Pressure
Natural Gas 5" Water Column 6" Water Column
10" Water
Propane (LP) Column 11" Water Column
Maximum gas supply pressure for all models is 1/2 p.s.i.
Product Dimensions
COOKTOP WIDTH (A)
DRT304S 29 7/8" (759 mm)
DRT366S 35 7/8" (911 mm)
Trim:
28 1/8" (714 mm)
1/2"
I (13 mm)
25 7/8" (657 mm)
!
I
1 5/8" (41 mm) cooking surface _-_
height (grate level) above ,,q _-_,1
countertop ' ,L ,
h-
3/4" gas inlet, connects to regulator from --
bottom or rear of unit, end is recessed
2" (51 mm) from chassis bottom
Product tolerances: +1/16" (+1.6 mm) unless otherwise
noted.
Power cord _ t
32" long4" (102 mm)
SIDE VIEW
tiick
7 3/4"
(197 mm)
5/8" Min.
(16 ram)
I=ilmC'l_l_ 3
Page 6

Cabinet and Countertop Layout
WARNING
To av0id the risk Of fire or pers0nal njurY, al! I
and maximum specified c earances on this and the
fol ow ng pages must be maintained or exceeded
General Considerations
The minimum distance from the back of the cooktop
to a combustible rear wall is 2 1/2" (64 mm) minimum
(Figure 1).
Installation of a non-combustible material* (up to the
hood) or a backsplash is always recommended, and
mandatory if the distance to the back wall from the
cooktop is less than 2 1/2" (Figure 2). When installing
a backguard, use only Dacor model numbers AEB3009
or AEB3012 (for model DRT304S) AEB3609, AEB3612
(for model DRT366S).
* Consult local codes and ordinances for acceptable
non-combustible materials.
Combustible
rear wall %
2 112"(64 mm) Min. to
combustible rear walt
FIGURE 1
Combustible
rear wall %
Backguard mandatory if
gap from back of cooktop
to combustible wall is less
than 2 1/2"
4
)_
,
x.
N
\
N
\
N
\
\
\
N
\
\
\
N
\
N
\
\
\
\
\
\
\
\
To reduce the risk of personal injury and to reduce
accumulated smoke in the room, Dacor strongly recom-
mends installing a range hood. A hood should project
forward a minimum of five (5) inches beyond the face
of the cabinets.
The installation must allow access to the underside
of the cooktop for service and inspection purposes,
including the ability to turn off the cooktop gas supply
valve and electrical outlet.
All contact surfaces between the cooktop and the coun-
ter must be solid and level.
The countertop overhang on the sides of the cutout
shown on the following pages covers the recessed por-
tions of the cooktop behind the control panel and cre-
ates a seamless look for the installation.
IMPORTANT: When installing the cooktop into a lami-
nated or synthetic countertop, radius the corners of the
cutout to help avoid cracking. Consult the countertop
manufacturer's instructions for minimum corner radius,
reinforcement and heat protection requirements.
Gas and Electric Service Location
• The gas supply piping, gas shut-off valve and the elec-
trical outlet must be located so they do not interfere
with the cooktop when it is installed. If installing another
appliance in the cabinet below, allow for the routing of
gas and electrical service out the back of the unit.
• The shaded area on the facing page shows the rec-
ommended location of the gas inlet and the electrical
outlet. For replacement purposes, the location of the
existing utilities may be utilized provided they do not
interfere with the sides or rear of the cooktop. Check
local building codes for permissible utility locations.
• For best performance and to minimize gas pressure
loss, attach the gas supply regulator as close as pos-
sible to the cooktop gas inlet.
The installation must:
Allow for access to the gas shut-off valve and regulator
when the unit is installed.
Allow for access to the electrical outlet, when the
cooktop is in place so that the power cord may be eas-
ily disconnected if the unit needs service.
Allow the (32") power cord to reach the electrical outlet.
FIGURE 2
Carefully check the location where the cooktop is to be
installed. For best performance, the cooktop should be
installed away from drafts caused by doors, windows
and heating and air conditioning outlets. To reduce the
risk of personal injury from reaching over a hot appli-
ance, avoid cabinet installations directly above.
4 _mC_
Page 7

Cabinet/Cutout Dimensions Cabinet tolerances +1/16"-0 (+1.6 mm, 0) unless otherwise noted.
10" (254 mm) to
combustible side
_- wall Min. both sides --_
1 1/2" (38 mm)
typical countertop
thickness
_ 1/2" (13 mm)
J
overhang,
both sides
Cooktop platform
1" (25 mm) Min.
thickness
\
!
•
Cabinet/Countertop Dimensions - Front View
13" (330 mm)
max. 3
36" (914 mm)
typical
18" (457 mm)"
Min.1, 3
Top of
finished
counter
30" (762 mm)
Min. 1
Hood
Cutout for
utility access
DRT304S 30" (762 mm) 36" (914 mm)**
DRT366S 36" (914 mm) 42" (1067 mm)**
* Minimum ** Recommended
See note 2
NOTE: Models DRT304S and DRT366S
are not approved for installation with a
raised vent.
Cabinet/Countertop Dimensions -
ISO View
1Vertical to combustible surface from cooktop grate level;
if installing an overhead vent hood, also check the hood
specifications for minimum required clearances.
2 See Cabinet/Countertop Dimensions - Top View
3 Not applicable for cabinets more than a horizontal
distance of 10" (254mm) from the edge of the cooktop.
30" (762 mm)*
36" (914mm)*
Continued on following
pages...
_mCD_ 5
Page 8

Cabinet/Countertop Dimensions (cont.)
Cutout tolerances +1/16" -0 (+1.6 ram, O) unless otherwise noted.
Increase countertop and overhang
additional 2 1/2" (64 mm) Min. for
combustible rear wall above
countertop
, -\i
rear walt, rear of
mounting platform
Non-combustible /
/
Gas and electrical connections at
right rear section of chassis
\ !
I
Gas connection and power cord may be
routed through bottom or back of chassis
I
I / 10" (254 mm) min.
1/2" (13 mm)---_l
countertop
24 5/8" (_
(625 mm) -_-
11 7/16" <
(291 mm)
overhang
3/8" (13 mm)
countertop overhang
Gas/electrical utility cut-out in right rear corner of
mounting platform 8" W X 6" D (203 mm X 152 mm),
if gas and electrical are routed through bottom "--_
0
c
0
o
Hole 112"dia. (13 mm),
2 places, through platform
for hold down bolts
1" thick mounting platform Min.
ollo
B
Cabinet/Countertop Cutout Dimensions - Top View
I L to combustible wall
I above countertop,
both sides
112" (13 mm)
_- countertop
overhang
I o
I
1-- "1_'1---L--2"(51 mm)
1" (25 mm)
\
Cabinet face
below countertop
overhang
D
6 _mC_
Model' Width
DRT304S
(762 mm) (340 mm)
DRT366S
(914 mm) (422 mm)
30" 13 3/8"
36" 16 5/8"
Page 9

Unpack the Cooktop
Cooktop
Installation
WARNING
• If the gas and electric service provided does not
meet the product specifications, do not proceed with
the installation. Call the dealer, the gas supplier or a
licensed electrician.
• The cooktop is heavy. A mini mum of two people are
required to safely install it.
Unpack the parts box and verify that all required compo-
nents have been provided. If any item is missing or dam-
aged, please contact your dealer immediately. Do not install
a damaged or incomplete appliance. The customer must
report cosmetic issues within 30 days of installation.
• Knobs (see table below)
• Grates (see table below)
• Standard burner caps (see table below)
• Standard burner rings (see table below)
• SimmerSear TM inner burner caps (see table below)
• SimmerSear outer burner caps (see table below)
• SimmerSear burner rings (see table below)
• Hold down bolts/washers (2 sets)
• Regulator
• Dacor Stainless Steel Cleaner
• Literature kit
WARNING
install t only after the cooktop is mounted in its per-
manent posit onl
, Donot over4ighten the hold down bolts. Over tight-
ening the hold down bolts may result in improper
operation of the dual gas burners.
IMPORTANT
n0t use a hardening compOUnd or Caulk to
rmanently seal the cooktop into place: The cooktop
must be readily removable if service is requ!redl Removal
of sealant to service the unit will be performed at the
customer!s expense.
1. Lower the cooktop into the cutout while feeding the
electrical cord into the utility cutout. Center the cooktop
in the cutout.
2. Secure the cooktop to the countertop using the two (2)
provided hold-down bolts and washers provided. Do
not overtighten the bolts.
INCLUDED GRATES AND BURNER PARTS
Quantity Quantity
for Model
DRT304S DRT366S
Knobs, standards 3 4
Knobs, SimmerSear 1 2
10 inch grate none 1
12 inch grate none 2
14 inch grate 2 none
Standard burner cap, small 1 2
Standard burner ring, small 1 2
Standard burner cap, large 2 2
Standard burner ring, large 2 2
SimmerSear burner ring 1 2
SimmerSear
inner burner cap
SimmerSear
outer burner cap
1 2
1 2
_mCDK 7
Page 10

Knob Installation
,
Attach the SimmerSear burner knobs [] as shown
below. The SimmerSear knobs have a wider space
between the large flame icon and the simmer icon than
the standard burner knobs. Align the "D-shaped" open-
ing on the back of each knob with the end of the valve
shaft. Carefully push each knob on until it stops.
,
Attach the remaining knobs which operate the standard
burners I1_1.
Control Panel -
DRT304S
[]
SimmerSear Burner Knob Layout
[]
Standard Burner Knob Layout
Gas
• Verify that the gas supply meets specifications before
• Do not install or use the cooktop without the included
• Ensure that the arrow on the regulator points in the
• Do not apply excessive pressure when tightening gas
• Test the gas lines for leaks as instructed before use.
• The gas supply pressure for testing the regulator set-
• The cooktop and shut-off valve must be disconnected
• The cooktop must be isolated from the gas supply
• For LP gas installations, the LP gas tank must have
Line Connection
WARNING
connection. See page 3.
The maximum gas supply pressure to the regulator
must never exceed ½ pounds per square inch (psi) or
3.5 kPa.
gas regulator installed.
direction of the gas flow, towards the cooktop.
connections and fittings.
Do not use Teflon tape or plumber's putty on flexible
gas line connections.
Do not use a flame to check for leaks.
ting shall be at least 1 inch water column (249Pa)
above the specified manifold pressure. See page 3.
from the gas supply piping system during any pres-
sure testing exceeding ½ p.s.i. (3.5 kPa).
piping system by closing the shut-off valve to the
cooktop during any gas supply piping system pres-
sure testing equal to or less than ½ p.s.i. (3.5 kPa).
its own high-pressure regulator in addition to the
pressure regulator supplied with the cooktop.
Control Panel-
DRT366S
@ IMPORTANT I
Within the Commonwealth of Massachusettsl this I
appliance must be installed by a licensed plUmber or gas I
fitter. ....................... I
Attach the gas pressure regulator (included with the
cooktop) to the 3/4" (19 mm) male NPT gas inlet on
the cooktop. The inlet is located on the bottom, at the
right rear portion of the chassis. For tight installations,
the regulator may be installed upstream from the pipe
nipple, anywhere between the shut-off valve and the
cooktop. For best performance, minimize gas pressure
loss by attaching the regulator as close as possible to
the cooktop gas inlet.
,
Complete connection of the gas supply to the cooktop
by installing a minimum ½" flexible gas line (not includ-
ed) between the pressure regulator and the shut-off
valve.
,
Check for gas leaks:
¢ Turn all cooktop control valves to the OFF position.
¢ Turn on the gas supply valve and check all lines
and connections for leaks using a soap and water
solution or a gas leak detector.
¢ Turn the gas supply valve off.
8 _mC_
Page 11

Burner Component Installation
Remove the burner parts and grates from their shipping packages.
SimmerSear Burner Assembly
1. Install the SimmerSear burner ring(s) on top of the
SimmerSear burner base(s). Line up the indentations
on the bottom of the burner ring with the pins on the
top of the burner base.
2. Set the outer SimmerSear burner cap(s) on top of the
burner ring(s). Make sure the burner ring is centered on
top.
,
Set the inner SimmerSear burner cap(s) on the center
of the SimmerSear burner base(s). Line up the ridge on
the bottom of the cap with the pins on the center of the
burner base.
_ Ridge on bottom
STEP 3
of inner burner cap
uter burner cap
_Burner ring
Standard Burner Assembly
1. Install the standard burner rings on the standard burner
bases. There are two different sizes. Put the hole on
the edge of each ring over the igniter. Center the tabs
on the bottom of each ring in the hole in the center of
each base.
2. Install all the standard burner caps. The ridge on the
bottom of each cap must surround the top of each ring.
Grate Installation
Gently set the grates on top of the spill trays. Make sure
that the rubber feet are positioned in the dimples. On model
DRT366S, the center grate is smaller than the other two.
STEP 1
Pin on burner..._,
base _.
SimmerSear Burner Assembly
Ridge on bottom _:_----_ Hole in burner ring
of burner cap "_ _ _ goes over igniter
STEP 2 I'
ST;__<-_r
____Burn:_:e ring
Standard Burner Assembly
SimmerSear
burner
©
Standard
burner
Spill
tray
I
I
©
_mCD_ 9
Page 12

Verifying Proper Operation
WARNING
, Make sure that power to the e ectrical outlet is turned
Off at the circuit breaker or fuse box and that the gas
is turned off at the gas supply valve before proceed-
ingl
i The c0oktop must be propedy grounded at el! times
when electrical power is applied:
Prior to operating the cooktop, read the accompanying use
and care manual carefully.
,
Make sure all the
cooktop burner con-
trols are in the OFF
position.
,
Connect the power
cord to the electrical outlet.
,
Turn on power to the electrical outlet at the circuit
breaker or fuse box.
,
Gently push in and turn one burner control knob at a
time counterclockwise to the HIGH position. Verify that
the associated burner igniter sparks, then return the
knob to the OFF position. Repeat for all of the remain-
ing control knobs.
,
Turn on the gas supply valve.
6.
Perform the following ignition test for all of the burners:
OFF HIGH LOW
NOTE: If the cooktop does not operate properly, follow
these troubleshooting steps:
• Verify that power and gas are supplied to the cooktop.
• Check to make sure that the power plug is connected
to the electrical outlet and that power is turned on at
the circuit breaker or fuse box.
• Check to make sure that all burner parts are properly
seated.
• If the burner continues to spark after ignition without
stopping, have a licensed electrician check the electri-
cal outlet for proper grounding or reversed polarity.
• Repeat the burner ignition test.
If the appliance still does not work, contact Decor
Distinctive Service at (877) 337-3226. Do not attempt to
repair the appliance yourself. Be sure to have the model
and serial numbers available when you call. See the inside
cover for location. Decor is not responsible for the cost of
correcting problems caused by a faulty installation.
Installation Checklist
WARNING
To ensure a safe and proPer installation, the following
checklist should be c0mpleted by the installe[ to ensure
that no part of the installation has been overlooked:
Proper installation is the responsibility of the homeowner.
The importance of proper installation of your Decor
cooktop cannot be overemphasizedJ
• Push in and turn one of the control knobs counter- []
clockwise to the HIGH position. Only the igniter for
the selected burner will spark. It may take up to four
seconds for the gas to ignite, at which time the ignit-
er will stop sparking. If ignition does not occur within
four seconds, turn the knob to the OFF position, wait []
for at least five minutes to allow any gas to dissipate,
then repeat the test.
• Once the burner lights, the control knob can be rotat- []
ed counterclockwise from HIGH to LOW to adjust the
flame height progressively.
When the unit is
installed properly, the
flame will be steady. It
will also have a sharp,
blue inner cone that
will vary in length pro-
portional to the burner
size. The flame will be
reduced by the Smart
Flame TM feature under
the grate fingers to
Normal Flame
Appearance
increase grate life.
Is the electrical outlet for the cooktop grounded and
located according to these instructions and in accor-
dance with all applicable electrical codes? See pages 3
and 4.
Is the gas service for the cooktop located and installed
according to these instructions and in accordance with
all applicable codes? See pages 3 and 4.
Has the gas supply inlet pressure been measured to
ensure that it does not exceed the maximums stated in
these instructions? See page 3.
[]
Is the cooktop secured using the provided hold-down
bolts and washers? See page 8.
[]
Is the cooktop connected to the gas supply according
to these instructions and in accordance with all appli-
cable codes? Did the installer check the gas supply for
leaks? See page 9.
[]
Are all burner parts and grates properly installed
according to these instructions? See page 10.
[]
Has proper operation been verified?
10 c_acar
[]
Has the warranty been activated on-line or the warranty
card filled out completely and mailed?
Page 13

o_o_
T
c)
r--
_o
--4
co co
o_o_
_t
_m
_0
c)O :I_
m G-)
@
o
r--
--4
o
o___
oo
w
r
_w
c)
_o
oo oo
o_o_
°/_
_H
o
@
r
--4
OO
mo_
:70o
C-
-_o
ctacor 11
Page 14

"0 0
12 c_acar
r_
c9
<_ oc0
_z
wo
_o _
z_ 0,-09
- T
i
ca
o o
S
Page 15

4#
American Made*Family OwnedThe Life of the Kitchen?
Dacor • 600 Anton Blvd. Suite 1000 Costa Mesa, CA 92626 • Phone: (800) 793-0093 • Fax: (626)403-3130 • www.Dacor.com