
B-550 Bubble King™ QRG EN
2
The Bubble King™ (B-550) Quick Referen ce Guid e (QRG)
product’s connection, mounting, and operation information. Download the
User Manual from www.chauvetlighting.com for more details.
The information and specifications contained in this QRG
These Safety Notes include important safety information about installation,
• Always connect this product to a grounded circuit to avoid the risk of
electrocution.
• Always disconnect from the power source before cleaning this product.
•
Never disconnect this product from power cord by pulling or tugging on
the cord.
• If mounting this product overhead, always secure it to a fastening device
using a safety cable.
• Do not mount this product on a flammable surface.
• Do not drink the bubble fluid. If you do, call your local emergency
service (911 in the US) for help.
•
Do not add perfume, alcohol, gasoline, or other flammables to the fluid.
• Make sure the voltage of the outlet to whi ch you are connecting is w ithin the
range stated on the decal or rear panel of the product.
• This product is for indoor use only! (IP20) T o prevent risk of fire or shoc k,
do not expose this produc t to rain or m oisture.
• Always install this product in a location with adequate ventilation, at least
20 in (50 cm) from adjace nt surfaces.
• Be sure that no ventilati on slots on the uni t’s housing are blocke d.
• Do not obstruct the bubble wa nds or leave machine una ttended.
• Never connect this produc t to a dimmer .
• Never carry this product from the powe r cord or any m oving part.
• The maximum ambient temper ature i s 104 °F (40 °C). Do not operate this
product at higher temperatures.
• Do not overfill; spillage may occ ur. Always mount on a flat, level surfac e.
• Do not leave unused fl uid in the reservoir for an extende d period. The fluid
may thicken in the reserv oir.
• In the event of a serious oper ating problem , stop using the unit immediately.
• Never try to repair this product. Repair s perf ormed by unauthor ized
technicians can lead to damage or malfunction. Please contact the nearest
authorized technical assistance center.
• To eliminate wear and im prove its lifes pan, dur ing periods of non-use
completely disconnect from power via breaker or by unplugging it.
Outside the U.S., United Kingdom, Ireland, Mexico, or Belgium, contact
your distributor to request support or return a product. Visit
www.chauvetlighting.com for contact information.

B-550 Bubble King ™ QRG EN
3
• B-550 Bubble King™
• Hanging Bracket with
Mounting Hardware
• Power Cord
• Warranty Card
• Quick Reference Guide
The Bubble King™ features 3 double wands, a manual bubble button, and
an extremely high output for when you need bubbles for a large area.
Product Overview

B-550 Bubble King™ QRG EN
4
Before mounting this product, read the Safety Notes. Place bubbler on a flat,
level surface or use the mounting brackets provided. Ensure that the bubbles
are not shooting directly in anyone’s face or above heavy traffic areas, as
bubble fluid leaves a sli
ppery surface. The bubble machine must not have
more than a 5° angle of inclination.
This product has a voltage-specific power supply that can work with an input
voltage of 120 VAC, 60 Hz or 230 VAC, 50 Hz.
To eliminate wear and improve its lifespan, during periods of non-
completely disco nn ect from power via breaker or by unplugging it .
1. Disconnect the product from power.
2. Wedge the tip of a flat-head screwdriver into the slot of the fuse holder.
3. Pry the fuse holder out of the housing.
4. Remove the blown fuse from the holder.
5. Replace with a fuse of the exact same type and r ating.
6. Insert the fuse holder back in place and reconnect power.

B-550 Bubble King ™ QRG EN
5
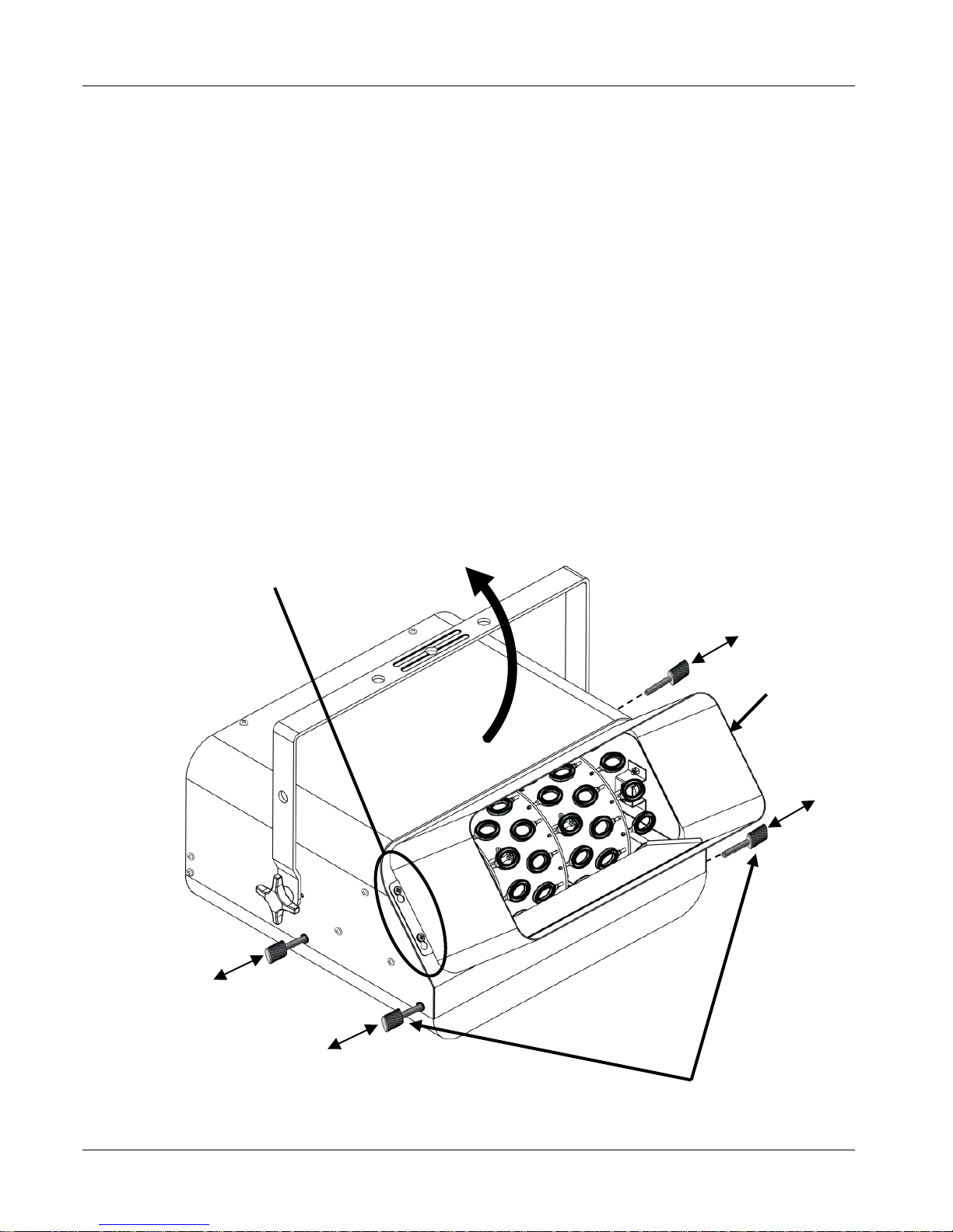
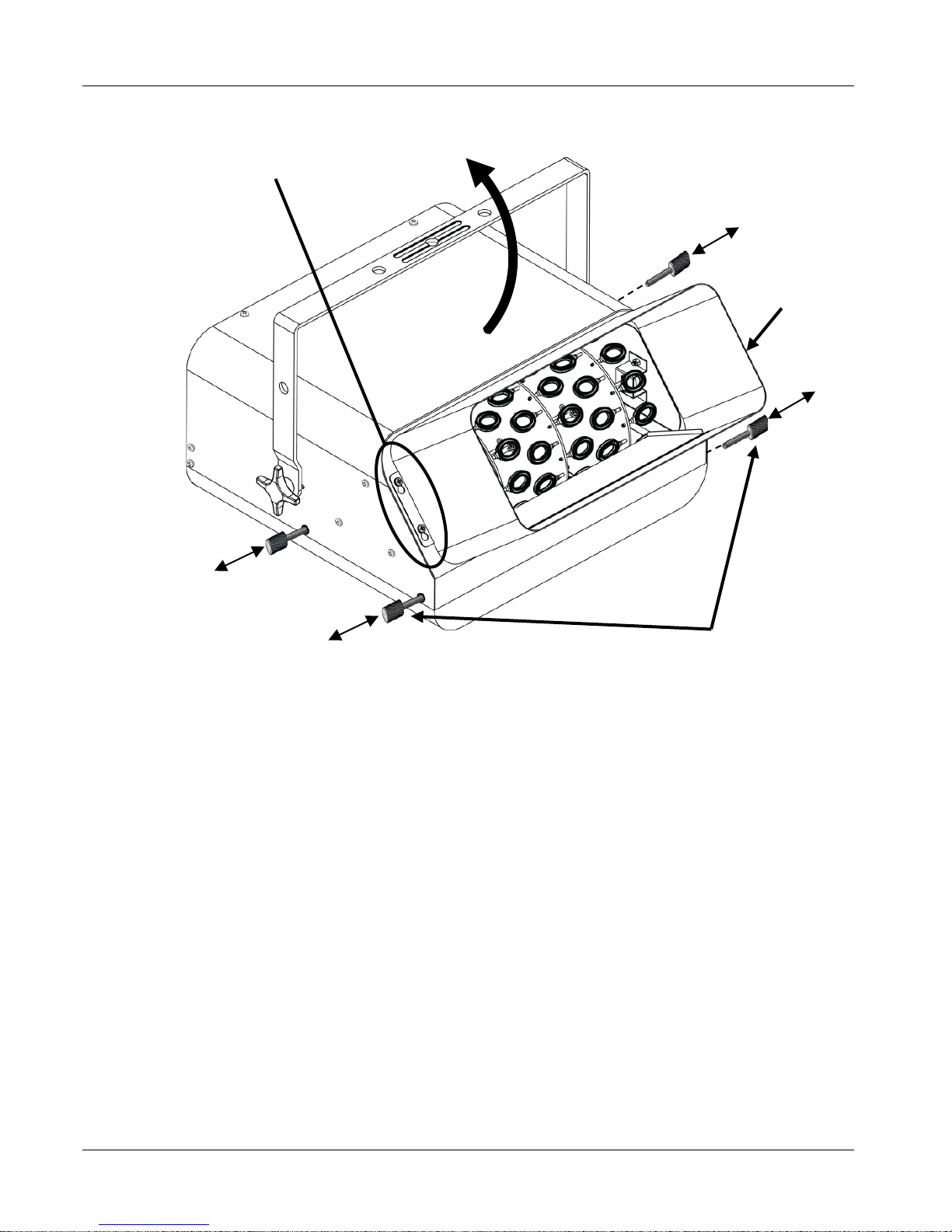
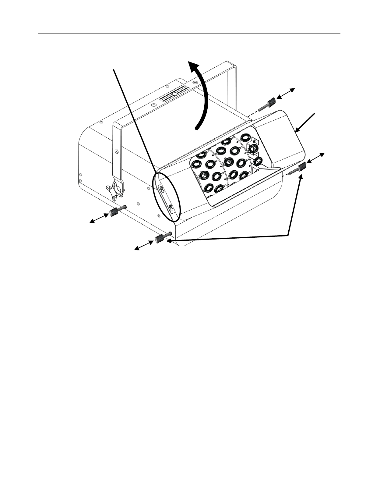
Install the sleeve to the front of the bubbler, using the 4 provided screws.
Fill/Replace
Bubble Fluid
1. Place the Bubbl e King™ on a level surface and loosen the 4 thumb screws on
either side of the unit for fluid tank access.
2. On
ce removed, lift th e cover.
3. Fill the tank with bubble fluid. DO NOT FILL
PAST TOP OF FLUID
RESERVOIR.
Note: We recommend using CHAUVET® bubble fluid (BJU) which has
been specially formulated for use with CHAUVET® Bubble King™
products. The tank capacity is 56 oz (1.7 l).
4. Lower the cover and tighten thumb screws.
1. Plug into a suitable wall outlet.
2. Turn on the Bubble King™.
Note: Do not leave unused fluid in the reservoir for an extended period.
The flui d may t hic ken i n the reserv oir. Remo ve all flui d bef ore pa cking or
shipping.

B-550 Bubble King ™ GRR ES
6
La Guía de Referencia Rápida (GRR) del Bubble
King™ solo contiene
información acerca de la conexión, el montaje y la operación del producto.
Descargue el manual de usuario de www.chauvetlighting.com
información más detallada.
La información y especificaciones contenidas en esta GRR están sujetas a
cambio sin previo aviso.
Notas de Seguridad
Estas notas de seguridad incluyen información de seguridad importante sobre
el montaje, uso y mantenimiento.
• Conecte siempre este producto a un circuito con toma de tierra para evitar el
riesgo de electrocución.
• Desconecte siempre de la fuente de alimentación antes de limpiar este producto.
• Nunca desconecte este producto del cable de alimentación agarrando o tirando
del cable.
• Si monta este producto en a lto, asegúrel o siempre a un dispositivo de seguridad
usando un cable de seguridad.
• No monte este producto sobre una superfic ie inflamable.
• No beba el líquido de burbujas. Si lo hace, contacte con su servicio de
emergencias local (112 en España) para obtener ayuda.
• No añada perfume, alcohol, gasolina u otro producto inflamable al líquido.
• Asegúrese de que la tensión del enchufe al que conecte está en el rango
establecido en el grabado o en el panel posterior de producto.
• ¡Este producto es para uso en interiores solamente! (IP20) Para evitar riesgos de
incendio o descarga, no exponga este producto a la lluvia o la humedad.
• Instale siempre este product o en una ubicac ión con ve ntilación adecuada, a l
menos a 20'' (50 cm) de superficies adyacentes.
• Asegúrese de que ninguna ranura de ventilación en la carcasa de la unidad queda
bloqueada.
• No obstruya las varillas de las burbujas ni deje la máquina sin vigilancia.
• Nunca conecte este producto a un atenuador.
• Nunca arrastre es te producto agarrando por el cable de alimentación o por
cualquier parte móvil.
• La máxima temperatura ambiente es de 104° F (40° C). No haga funcionar este
producto a temperaturas más altas.
• No lo llene en exceso; podrían producirse derrames. Monte siempre sobre una
superficie plana y nivelada.
• No deje líquido sin utilizar en el depósito durante mucho tiempo. El líquido
puede espesarse dentro del depósito.
• En caso de un problema grave de funcionamiento, deje de usar la unidad
inmediatamente.
• Nunca intente reparar este product o. L as r eparaci ones llevad as a cab o por
técnicos no autorizados pueden provocar averías o funcionamiento defectuoso.
Póngase en contacto con e l centro de asistencia técnica a utorizado más cer cano.
• Para evitar un desgaste innecesario y alargar su vida útil, desconecte
complemente el producto de la alimentación, mediante el interruptor o
dese nc hufá nd olo , dur a nte l os pe ri odos en los que no se use .

B-550 Bubble King ™ GRR ES
7
Fuera de EE.UU, Reino Unido, Irlanda, México o Bélgi ca, póngase en contacto
con su distribuidor para solicitar asistencia o devolver el producto. Visite
www.chauvetlighting.com para información de contacto.
• Soporte para Colgar con
Material de Mon taje
• Tarjeta de Garantía
• Guía de Referencia Rápida
El Bubble King™ incorpora 3 varillas dobles y un botón de burbujas
manual, ofreciendo una emisión excepcional cuando se necesitan b
para una zona extensa.
Visión G
Antes de montar este producto, lea las Notas de seguridad. Coloque la
máquina de burbujas sobre una superficie plana y nivelada o utilice los
soportes de montaje incluidos. Asegúrese de que las burbujas no son lanzadas
directamente a la cara d e alguien o sob re zonas de mucho tráfico, ya qu e
líquido de bur bujas deja una superfici e resbaladiza. La máquina de burbuj as
no debe tener más de 5° de ángulo de inclinación.
Este producto tiene una fuente de alimentación de tensión específica que
puede funcionar con una tensión de
entrada de 120 VCA, 60 Hz o 230 VCA,
Para evitar un desgaste innecesario y alargar su vida útil, desconecte
comple mente el produc to de la alime ntación, media nte el inter ruptor o
desenchufándolo, durante los peri odos en los que no se use.
Interruptor de
encendido/apagado

B-550 Bubble King™ GRR ES
8
1. Desconecte el producto de la alimentación.
Haga cuña con la punta de un destornillador plano en la ranura del
portafusibles.
3. Saque la tapa de seguridad de la carcasa.
4. Quite el fusible fundido de la sujeción en la parte frontal de la
seguridad y sustituya el fusible con otro del mismo tipo y categoría.
5. Vuelva a insert ar el portafusibles y conecte de nuevo la alimentación.
Instale la boca en el frontal de la máquina de burbujas con los 4 tornillos
suministrados.
Coloque el Bubble King™ en una superficie nivelada y afloje los 4
tornillos de mano d e cada lado de la unidad p ara acceder al depósito de
fluido.
2. Una vez quitados, levante la tapa.
3.
Llene el tanque de líquido de burbujas. NO LO LLENE MÁS ALLÁ
DEL BORDE DEL DEPÓSITO DE FLUIDO.
Nota: recomendamos utilizar el líquido de burbujas de
CHAUVET® (BJU), especialmente formulado para su uso con
productos Bubble King™ de CHAUVET®. La capacidad no
del depósito es de 56 oz ( 1,7 l).
4. Baje la tapa y apriete los tornillos de mano.
1. Enchufe en una toma de corriente adecuada.
2. Encienda el Bubble King™.
Nota: no deje líquido sin utilizar en el depósito durante mucho
tiempo. El líquido puede espesarse dentro del depósito. Quite todo el
fluido ante s de embalar o transportar .

B-550 Bubble King™ MR FR
9
Le Manu el d e Réfé ren ce (M R) du Bubble
King™ ne reprend que les informations
de connexion, montage et fonctionnement de l'appareil. Téléchargez le manuel
d'utilisation sur www.chauvetlighting.com pour de plus amples informations.
Les informations et caractéristiques contenues dans ce manuel sont sujettes à
Les consignes de sécurité reprennent d'importantes informations relatives à la
sécurité lors de l'installation, l'utilisation et la maintenance de cet appareil.
• Il est impératif de toujours connecter cet appareil à un circuit relié à la terre afin d'éviter
tout risque d'électrocution.
• Déconnectez toujours de l'alimentation principale avant de procéder à tout entretien.
• Ne débranchez jamais cet appareil en tirant sur le cordon.
•
Lorsque vous mon tez cet a ppareil en hauteur, utilisez toujours un câble de sé curité pou r
le sécuriser au dispositif de fixation.
• Ne montez jamais cet appareil sur une surface inflammable.
• N'ingérez pas le liquide à bulles. Si cela devait se produire, contactez immédiatement
votre service d'urgence (composez le 112 en Europe) pour assistance.
•
N'ajoutez au liquide ni parfum, ni alcool, ni essence ni tout autre produit inflammable.
• Veillez à ce que la tension de la prise à laquelle vous branchez l'appareil soit comprise
dans la plage indiquée sur l'étiquette ou l'arrière de l'appareil.
• Cet appareil doit être utilisé en intérieur uniquement ! (IP20). Afin d'éviter tout risque
d'incendie ou de décharge électrique, veillez à n'exposer cet appareil ni à la pluie ni à
l'humidité.
• Installez toujours cet appareil dans en endroit bien ventilé, à au moins 20 pouces
(50 cm) des surfaces adjacentes.
• Assurez-vous qu'aucune fente de ventilation sur le boîtier ne soit obstruée.
• Veillez à ne pas laisser la machine sans surveillance ni à obstruer les tuyaux de diffusion
par lesquels sortent les bulles.
• Ne connectez jamais cet appareil à un gradateur.
• Ne transportez jamais cet appareil par son cordon d'alimentat ion ou toute pièce mo bile.
• La température ambiante maximale supportée par cet appareil est de 104° F (40° C). Ne
le faites pas fonctionner à des températures plus élev ées.
• Ne remplissez pas le réservoir au-delà de sa capacité car cela pourrait entraîner de s
débordements. Montez toujours sur une surface plane et horizontale.
• Si vous pensez ne pas utili ser l'appareil pendant une période de temps importante,
pensez à vider le réservoir. Autrement le liquide pou rrait s'épaissir.
• En cas de sérieux problèmes de fonctionnement, arrêtez l'unité immédiatement.
• N'essayez jamais de réparer cet appareil. Toute réparation e ffectuée par un technicien
non agréé peut en traîner des dommages ou un mauvais fonctionnement de v otre un ité.
Mettez-vous en relation av ec le centre d'assistance technique autorisé le plus près de
chez vous.
• Durant les périodes de non-utilisation, pour éviter tout usure inutile et pour prolonger la
durée de vie, déconnectez-entièrement l'appareil en le d ébranchant de l'alimen tation
électrique ou en coupant le d isjoncteu r.
En dehors des États-Unis, du Royaume-Uni, de l’Irlande, du Mexique, et du
contactez votre fournisseur si vous avez besoin d'assistance ou de
retourner votre produit. Consultez le site www.chauvetlighting.com
pour trouver
nos coordonnées.

B-550 Bubble King™ MR FR
10
• Un B-550 Bubble King™
• Lyre de Suspension avec
Matériel de Mon tage
• Un Cordon d'Alimentation
• Une Fiche de Garantie
• Un Manuel de Référence
Le Bubble King™ est équipé de 3 double manettes, d'un bouton d'activation
manuelle des bulles et d'une sortie extrêmement large lorsque vous avez
besoin d'envoyer des bulles sur une grande zone.
Vue d'E
Avant de monter cet appareil, lisez et assimilez les remarques de sécurité.
Placez le diffuseu r de b u lles sur une surface plane et ho rizo n tale ou mont ez-
au moyen des lyres de suspension incluses. Assurez-
soient pas projetées vers les visages des membres du public ni au-
zones à fort trafic, le liquide rendant les surfaces glissantes
bulles ne doit pas être inclinée à plus de 5°.
Cet appareil est doté d'une alimentation à tension spécifique lui permettant de
fonctionner avec une tension d'entrée de 120 VCA, 60 Hz ou 230
Durant les périodes de non-utilisation, pour éviter tout usure inutile et
pour prolonger la durée de vie, déconnectez-
entièrement l'a ppareil en le
débranc hant de l'alimenta tion électrique ou en coupa nt le disjoncteur.
1. Débranchez l'appareil de l'alimentation.
Insérez et calez la pointe d'un tournevis à tête plate dans la fente du
porte-fusible.
3. En faisant levier , faites sortir d e son emplacemen t le couver cle du p orte-
fusible.
4. Retirez le fusible o bsolète du clip se trouvant à l'avant
sécurité et remplacez-le par un fusible équivalent.
5. Insérez à nouveau le porte-fusible puis rebranchez l'appareil.
Interrupteur marche/arrêt

FR B-550 Bubble King ™ MR
11
Installez la goulotte s ur l'avant du gé nérateur de bulles e n utilisant les 4 v is fournie s.
Remplissage /
remplacement du
Placez le Bubble King™ sur une surface plane et desserrez les 4 vis
molettes de chaque côté de l'appareil pour accéder au réservoir de liquide.
2. Levez ensuite le co uvercle.
3. Remplissez le réser voir avec du liquide à bu lles.
RESERVOIR AU DELA DU NIVEAU MAXIMUM DE LIQUIDE.
Remarque
: Nous recommandons l'utilisation du liquide à bulles BJU
de CHAUVET® qui a été s péciale ment élab oré pour l 'utilisati on avec
les appareils Bubble King™ de CHAUVET®. La capacité stan
du réservoir est de 1 ,7 l (56 oz).
4. Rabaissez le couvercle et resserrez les vis molettes.
1. Branchez sur une prise murale appropr iée.
2. Allumer le Bubble King™.
Remarque
: Ne pas laissez du liquide non utilisé dans le réservoir
pendant une période prolongée. Le liquide peut s'épaissir dans le
réservoir. Retirez tout le liquide avant l'emballage ou le transport.

B-550 Bubble King™ SAL DE
12
In der Schnellanleitung des Bubble King™ finden Sie nur Informationen zum
Anschließen, der Montage und dem Betrieb des Geräts. Laden Sie für
weiterführende Informationen unter www.chauvetlighting.com
Benutzerhandbuch herunter.
Haftungs-ausschluss
Die Informationen und Spezifikationen dieser Anleitung können ohne vorherige
Ankündigung geändert werden.
Sicherheits-hinweise
Diese Sicherheitshinweise enthalten wichtige Informationen über die Montage,
Verwendung und Wartung des Geräts.
• Schließen Sie dieses Gerät immer an die Masse an, um die Gefahr elektrischer Schläge
zu vermeiden.
• Trennen Sie das Gerät immer von der Stromquelle, bevor Sie es reinigen.
• Ziehen Sie beim Trennen des Geräts von de r Stromversorgung nie am Kabel.
• Sichern Sie bei der Montage des Geräts über Kopf dieses immer mit einem
ordnungsgemäßen Sicherhei tskabel.
• Befestigen Sie das Gerät nicht auf einer entflammbaren Oberfläche.
• Nicht das Seifenfluid trinken. Falls es doch oral eingenommen wurde, wählen Sie den
Notruf (112 in Deutschland), um Hilfe zu erhalten.
• Fügen Sie dem Fluid kein Parfüm, A lkohol, Kr aftstoff oder andere en tflammbare
• Die Spannung der Schukosteckdose, an die Sie das Gerät anschließen, muss sich
innerhalb des Spannungs bereiches befinden, de r auf dem Hinwei sschild ode r dem
rückwärtigen Bedienfeld des Geräts angegeben ist .
• Dieses Gerät darf nur im Innen bereich v erwendet werden. (IP20) Um d as R isiko von
Bränden oder elektr ischen Schl ägen zu ve rmeiden, d ürfen Sie das Ge rät nicht Rege n
oder Feuchtigkeit aussetzen.
• Installieren Sie das Gerät immer an e inem O rt mit ausreichender Belüftung und mit
einem Abstand von 50 cm zu den angrenzenden Oberflächen .
• Stellen Sie sicher, dass die L üftungsöffnungen im Gehäuse des Geräts nicht
verschlossen sind.
• Verstellen Sie nicht die Düsenausgänge des Geräts und lassen Sie es nicht
unbeaufsichtigt.
• Schließen Sie dieses Gerät niemals an einen Dimmer an.
• Tragen Sie das Gerät niemals am Netzkabe l oder e inem beweglichen Geräteteil.
• Die maximal zulässige Umgebungstemperatur beträgt 40°C. Nehmen Sie das Gerät
nicht bei höheren Temperaturen in Betrieb.
• Nicht zu voll füllen, da sonst Fluid austreten kann. Stellen Sie das Gerät auf einen
ebenen Untergrund.
• Lassen Sie nicht verbrauchtes Fluid bei längerem Nichtgebrauch nicht im Behälter. Das
Fluid kann im Flüssigkeitsbehälter eindicken.
• Bei ernsthaften Betriebsproblemen stoppen S ie um gehend die Ve rwendung des Ge räts.
• Versuchen Sie nie selbst, dieses Gerät zu reparieren. Reparaturen müssen von
entsprechend geschultem F achpersona l durchgeführ t werden, d a sonst Schäden oder
Fehlfunktionen auftreten können. Wenden Sie sich an den näch sten autorisierten
Technischen Support.
• Um unnötigen Verschleiß zu vermeiden und die Lebensdauer des Geräts zu verlängern,
trennen Sie während längerer Perioden de s Nichtge brauchs das Gerät v om Stromnet z –
entweder per Trennschalter oder durch Herausziehen des Steckers aus der Steckdose.

B-550 Bubble King ™ SAL DE
13
Kunden außerhalb der USA, GB, Irland, Mexiko oder Belgien wend en sich an
ihren Lieferanten, um den Kundendienst in Anspruch zu nehmen oder ein
Gerät zurückzuschicken. Kontaktinformationen finden Sie unter
www.chauvetlighting.com.
• B-550 Bubble King™
• Hängebügel mit
Befestigungsmaterial
• Netzkabel
• Garantiekarte
• Schnellanleitung
Der Bubble King™ verfügt über 3 Doppelwände, einer Taste für manuelle
Seifenblasenerzeugung und einen außergewöhnlich hohen Durchsatz für
Situationen, in denen große Bereiche mit Blasen versorgt werden sollen.
Produktüberblick

B-550 Bubble King™ SAL DE
14
Lesen Sie vor der Montage dieses Geräts die Sicherheitshinweise durch.
Gerät auf einen flachen, ebenen Untergrund stellen oder beiliegende
Befestigungsbügel verwenden. S tellen Sie si cher, dass die Seifenbl asen nicht
direkt auf die Gesichter von Personen oder über Bereiche mit einer großen
Personenanzahl gerichtet sind, da die Blasen einen rutschigen Untergrund
hinterlassen. Die Neigung des Geräts d arf nicht mehr als 5° betragen.
Dieses Gerät ist so konzipiert, dass er je nach Stellung des
Spannungsschalters mit einer Eingangsspannung von entweder
120 V AC~60Hz oder 230 V AC~50 Hz betrieben werden kann.
Um unnötig en Versc hleiß zu ve rmeide n und die Lebensdau er des Geräts
zu verlängern, trennen Sie während längerer Perioden des
Nichtgebrauchs da s Gerät vom Stro mnetz –
entweder per Tre nnschalter
oder durch Herauszi ehen des Steckers aus der Steckdose.
1. Trennen Sie das Gerät vom Stromnetz.
2. Klemmen Sie die S pitze eines F lachko pfschraub endrehers in den Sch litz
des Sicherungshalters.
3. Hebeln Sie die S icherheitsabdeckung vom Gehäuse weg ab.
4.
Entfernen Sie die durchgebrannte Sicherung von der Klemme am
Vorderteil der Sicherheitsabde
ckung, und ersetzen Sie diese durch eine
Sicherung des gleichen Typs und mit den gleichen Werten.
5. Stecken Sie den Sicherungshalter wieder zurück, u nd schließen Sie das
Gerät an das Stromnetz an.
Installieren Sie die Hülse mit den beiliegenden 4 Schrauben an der
Vorderseite d er Seifenlasenmaschine.
Stellen Sie den Bubble King™ auf einen ebenen Untergrund, und lösen
Sie die 4 Flügelschrauben an den Seiten des Geräts, um an den
Flüssigkeitsbehälter zu gelangen.
2. Nehmen Sie dann den Behälterdeckel ab.
3. Befüllen Sie den Behälter mit dem Fluid. Behälter NI
OBERE MARKIERUNG BEFÜLLEN.
Hinweis: Wir empfehlen die Verwendung der Seifenflüssigkeit
(BJU) von CHAUVET®, deren Zusammensetzung speziell auf die
Bubble King-Geräte von CHAUVET® abgestimmt ist.
Kapazität des Behälters beträgt 1,7 l (56 oz).
4.
Setzen Sie die Abdeckung wieder darauf, und ziehen Sie die Schrauben

B-550 Bubble King ™ SAL DE
15
1. Schließen Sie das Gerät an eine passende Wandsteckdose an.
2. Schalten Sie den Bubble King™ ein.
Hinweis: Lassen Sie nicht verbrauchtes Fluid bei längerem
nicht im Behälter. Das Fluid kann im
Flüssig keitsbehälter eindicken. E ntfernen Sie all e Flüssigkeit en, bevor
Sie das Gerät verpacken ode r verschi cken.

B-550 Bubble King™ GR PT
16
O Guia de Referência Rápida (GRR) do Bubble King™ apenas contém as
informações de ligação, montagem e funcionamento do produto. Transfira o
Manual de Utilizador de www.chauvetlighting.com
Exclusão de
Responsabilidade
As informações e especificações contidas neste GRR estão sujeitas a
alteração sem aviso prévio.
Estas Instruçõ es d e Segu ran ça in clu em in formaçõ es de s egu ran ça i mport ant es
sobre a instalação, utilização e manut enção.
• Ligue sempre este produto a um circuito ligado à terra para evitar o risco de
electrocussão.
• Desligue sempre o produto da fonte de alimentação antes de efectuar a limpeza.
• Nunca desligue este produto da alimentação ao puxar ou esticar o cabo de alimentação.
• Se montar este produto em suspensão, fixe -o sempre através de um dispositivo de
aperto utilizando um cabo de segurança.
• Não monte este produto sobre uma superfície inflamável.
• Não beba o líquido para bolhas. Se o fizer, telefone para o serviço de urgências (112 em
Portugal) para obter ajuda.
• Não adicione perfume, álcool, gasolina ou outros líquidos inflamáveis ao líquido.
• Certifique-se de que a tensão da tomada à qual irá ligar este produto deve estar no
intervalo indicado no autocolante ou painel posterior do produto.
• Este produto destina-se apenas a ser utilizado no interior! (IP20) Para evitar o risco de
incêndio ou choque e léctrico, n ão exponh a es te produto à chuv a nem hum idade .
• Instale sempre este produto num l ocal com ventilação adequada, a pelo menos 50 cm
(20 pol.) das superfícies adjacentes.
• Certifique-se de que não estão o bstruídas qu aisquer ranhuras de ventilação do co rpo da
unidade.
• Não obstrua as ventoinhas de bolhas nem deixe a máquina sem supervisão.
• Nunca ligue este produto a um regulador da intensidade da luz.
• Nunca transporte este produto segurando no cabo de alimentação ou em qualquer peça
móvel.
• A temperatura máxima ambiente é 40 °C (104 °F). Não utilize este produto em
ambientes com temperaturas superiores.
• Não encha em excesso, pois podem o correr de rrames. Monte sempre sobre uma
superfície plana e nivelada.
• Não deixe líquido não utilizado no reservatório durante um longo período de tempo. O
líquido pode tornar-se espesso no reservatório.
• Em caso de um problema de funcionamento grave, pare imediatamente a utilização do
produto.
• Nunca tente reparar este produto. As reparações efectuadas por técnicos não
autorizados podem provo car dano s ou avar ia. Cont acte o cent ro de assistên cia técn ica
autorizado mais próximo.
• Para eliminar desgaste desnecessário e aumentar a re spectiva vida útil, durante os
períodos de não u tilização dev e deslig ar o produto d a alimentação atrav és de um
disjuntor ou descone ctando-o.
Fora dos E.U.A., Reino Unido, Irlanda, México, ou Bélgica
, entre em
contacto com o seu distribuidor para solicitar assistência ou devolver um
produto. Aceda a www.chauvetlighting.com
para obter informações de

B-550 Bubble King ™ GR PT
17
• B-550 Bubble King™
• Suporte de Suspensão com
Equipamento de Montagem
• Cabo de Alimentação
• Cartão de Garantia
• Guia de Referência Rápida
O Bubble King™ possui 3 ventoinhas duplas, um botão de bolhas manual e
um débito extremamente elevado para quando necessitar de bo lhas para uma
grande área.
Descrição G
Antes de instalar este produto, leia as Instruções de Segurança. Coloque a
máquina de produzir bolhas sobre uma superfície plana e nivelada ou utilize
os suportes de montagem fornecidos. Certifique-
se de que as bo lhas não são
lançadas directamente para a cara das p
essoas ou sobre áreas muito
movimentadas, pois o líquido das bolhas deixa uma superfície escorregadia.
A máquina de bolhas não deve possuir um ângulo de inclinação superior a 5°.
Interruptor para o
ligar/desligar

B-550 Bubble King™ GR PT
18
Este produto possui uma fonte de alimentação com tensão
específica que
pode funcionar com uma tensão de entrada de 120 VCA, 60 Hz ou 230 VCA,
Para eliminar desgaste desne cessário e aumentar a respectiva vida útil,
durante os períodos de não utilização deve desligar o produto da
alimentação at ra vés de u m dis j unt or ou des c o nect a nd o-o.
1. Desligue o produto da alimentação.
Encaixe a pont a de uma chave de fen das de cabeça chata n a ranhura d o
suporte de fus íveis.
3. Retire a tampa de segu r ança do corpo.
4. Retire o fusível queimado do grampo
na parte frontal da tampa de
segurança e subst itua por um fusível co m o mesmo t ipo e classificação.
5. Volte a colocar o suporte de fusíveis e volte a l igar a alimentação.
Instale a manga na parte dianteira da máquina de produzir bolhas utilizando
os quatro parafusos fornecidos.
Coloque o Bubble King™ numa superfície nivelada e desaperte os
quatro parafusos de orelhas nos dois lados da unidade para acesso ao
depósito do líquido.
2. Uma vez retirados , levante a tampa.
3.
Encha o depósito com líquido para bolhas. NÃO ENCHA O
RESERVATÓRIO COM LÍQUIDO ACIMA DO NÍVEL SUPERIOR.
Nota: Recomendamos utilizar o líquido para bolhas (BJU) da
CHAUVET® que foi fo rmulad o especial mente para utilizaç ão co m
produtos Bubble King™ da CHAUVET®.
depósito é de 1,7 l. (56 oz).
4. Faça descer a tampa e aper te os parafusos de orelhas.
1. Ligue a uma tomada de parede adequada.
2. Ligue o Bubble King™.
Nota: Nã o deixe lí quido não ut ilizado no r eservatório durante u m
longo período de tempo. O líquido pode tornar-
se espesso no
reservatório. Retire todo o líquido antes de embalar ou

B-550 Bubble King ™ GR PT
19

B-550 Bubble King™ GR IT
20
La Guida Rapida Bubble King™ contiene soltanto le informazioni relative al
collegamento, al montaggio ed al funzionamento dell'unità. Per maggiori
dettagli, scaricare il Manuale Uten te dal sito www.chauvetlighting.com.
Le informazioni e le specifiche contenute in questa guida possono essere
modificate senza pr eavviso.
Note di Sicurezza
Le Note di Sicurezza includono informazioni importanti circa il montaggio,
• Per evitare il rischio di folgorazione, collegare sempre ad un circuito dotato di
messa a terra.
• Prima di effettuare la pulizia scollegare l'unità dell'alimentazione elettrica.
• Non scollegare mai questa apparecchiatura dall'alimentazione elettrica tirando o
strattonando il cavo.
• Quando si monta l'unità i n alt o, assicurarla a d un dispositivo di bloccaggio
utilizzando un cavo di sicurezza.
• Non installare questa unità su una superficie infiammabile.
• Non ingerire il liquido per le bolle. In caso di ingestione, contattare
immediatamente il pronto intervento (118 per Italia).
• Non aggiungere al liquido prof umo, alcool, benzina o a ltre sosta nze infiamma bili.
• Accertarsi che la tensione della presa a muro cui si collega l'apparecchiatura si trovi
entro il campo specificato sull'etichetta o sul pannello posteriore.
• Questa apparecchiatura deve essere utilizzata soltanto in interni (IP20)! Per evitare
il rischio di incendio o di folgorazione, non esporre l'apparecchiatura alla pioggia o
all'umidità.
• Montare sempre l'unità in posizione ben ventilata, ad almeno 50 cm. (20") da
qualsiasi superficie.
• Assicurarsi che nessuna apertura di ventilazione dell'unità sia ostruita.
• Non ostruire i fori dai quali escono le bolle e non lasciare la macchina incustodita.
• Non collegare mai ad un dimmer.
• Non trasportare mai l'unità tenendola dal cavo di alimentazione o qualsiasi parte
mobile.
• Massima temperatura ambiente ammessa: 40 °C (104 °F). Non utilizzare
l'apparecchiatura a temperature superiori.
• Non riempire oltre misura per evitare fuoriuscite di liquido. Posizionare sempre su
una superficie piana e livellata.
• Non lasciare liquido inutilizzato nel serbatoio per lunghi periodi. Potrebbe
addensarsi.
• In caso di gravi problemi di funzionamento sospendere immediatamente l'utilizzo.
• Non tentare di riparare questa unità. Riparazioni eseguite da personale non
autorizzato possono creare danni o malfunzionamenti. Contattare il più vicino
centro autorizzato di assistenza tecnica.
• Per evitare un consumo inutile ed aumentare la durata, durante i periodi di non
utilizzo disconnettere completamente il prodotto dall'alimentazione con
l'interruttore o scollegando il cav o.

B-550 Bubble King ™ GR IT
21
Per richiedere assistenza o restituire l'apparecchiatura,
Uniti, Regno Unito, Irlanda, Messico o Belgio,
contattare il distributore
locale. Per informazioni sui contatti, visitare il sito Web
• Staffa per Montaggio Sospeso
con Relativi Accessori
• Scheda di Garanzia
• Guida Rapida
Bubble King™ è caratterizzato da 3 doppie bacchette-anello, un pulsante
manuale ed alti ss ima resa per emissione di bolle su un'area molto ampia.
Prima di montare l'unità, leggere le Note di Sicurezza. P osizionare la macch ina
per le bolle su una superficie pi ana e livell ata o utilizzare l e staffe di montaggio
fornite. Fare attenzione a non dirigere il getto di bolle verso il viso di chiunque o
su superfici molto t raffi cate d al m omen
to che il liquido per le bolle può renderle
scivolose. La macchina per le bolle deve essere posizionata con un angolo di
inclinazione da l pia no or iz z ont a le non supe ri ore a 5°.
Questa apparecchiatura è dotata di alimentatore commutabile a 120 V CA /
60 Hz oppure 230 V CA / 50 Hz.
Per evitare un consumo inuti le ed aumentare la durata, dur ante i periodi
di non utilizzo disconnettere completamente il prodotto dall'alimentazione
con l'interruttore o scollegando il cavo.
1. Scollegare l'un ità dall'alimentazione elettrica.
Inserire la punta di un giravite a testa piatta nella fessura
dell'alloggiamento del fusibile.
3. Rimuovere dall'alloggiamento il cappellotto di sicurezza.
4.
Rimuovere il fusibile bruciato dalla clip sulla parte anteriore del
cappellotto di sicurezza e sostituirlo con uno identico.
5. Reinserire il po r tafusibile e ricol legare l'alimentazione elettrica.

B-550 Bubble King™ GR IT
22
Installare il manicotto sulla parte
anteriore della macchina per le bolle,
utilizzando le 4 viti fornite.
Riempimento /
sostituzione del
Posizionare Bubble King™ su una superficie piana ed allentare le viti
sulla parte an teriore dell'unità p er acced er e al serbatoio.
2. Dopo aver rimosso le viti, soll evare il coperchio.
3.
Rifornire il serbatoio con il liquido per le bolle. NON RIEMPIRE
OLTRE LA PARTE SUPERIORE DEL SERBATOIO.
Nota: si raccomanda di utilizzare fluido per bolle CHAUVET®
(BJU) formulato appositamente per utilizzo
CHAUVET® Bubble King™. La capaci tà standard del s erbatoio è
di 1.7 l (56 oz).
4. Abbassare il coper chio e serrare le viti.
1. Collegare ad una presa di corrente idonea.
2. Mettere in funzione Bubble King™.
Nota: non lasciare liquido
inutilizzato nel serbatoio per lunghi
periodi. Potrebbe addensarsi. Rimuovere tutto il fluido prima
dell'imballaggio o della spedizione.

B-550 Bubble King™ QRG PL
23
Bubble King™ Quick Reference Guide (QRG)
praktyczny przewodnik
zawiera jedynie informacje dotyczące połączenia produktu, montażu i obsługi
produktu. Szczegółowe informacje znajdują się w instrukcji obsługi na stronie
www.chauvetlighting.com.
Oświadczenie
Informacje i specyfikacje zawarte w niniejszym dokumencie QRG podlegają
zmianie bez powiadomienia.
Poniższe wskazówki bezpieczeństwa zawierają ważne informacje dotyczące
montażu, użycia i konserwacji
• Produkt należy podłączyć zawsze do uziemionego obwodu, aby uniknąć ryzyka
porażenia.
• Przed czyszczeniem lub wymianą bezpiecznika należy zawsze odłączyć produkt od
zasilania.
• Nie należy odłączać produkt od zasilania ciągnąc lub szarpiąc za przewód zasilający.
• Podczas montażu produktu na górze należy użyć kabla bezpieczeństwa.
• Nie należy dokonywać montażu produktu na powierzchni łatwopalnej.
• Nie należy pić fluidu. W razie połknięcia należy wezwać pogotowie.
• Nie dodawać do fluidu perfum, alkoholu lub benzyny czy innych materiałów
• Należy zawsze upewnić się czy napięcie wyjścia, do którego podłączony jest produkt
jest o wartości podanej na naklejce lub panelu tylnym produktu.
• Produkt jest przeznaczony jedynie do obsługi w pomieszczeniach zamkniętych! (IP20).
Aby uniknąć ryzyka pożaru lub porażenia nie należy wystawiać go na działanie deszczu
lub wilgoci.
• Należy zawsze montować produkt w miejscu z odpowiednią wentylacją przynajmniej
20 cali (50 cm) w odległości od przyległych powierzchni.
• Należ upewnić się czy żaden z otworów wentylacyjnych na obudowie produktu nie jest
zapchany.
• Nie należy zapychać kół czy pozostawiać urządzenia bez nadzoru.
• Nigdy nie należy podłączać produktu do ściemniacza.
• Należy wymienić bezpiecznik o tej samej wartości i rodzaju.
• Przenosząc produkt należy użyć jedynie uchwytów mocujących/ do zawieszania. Nie
przenosić produktu z wystającym przewodem zasilania lub częściami ruchomymi.
• Maksymalna temperatura otoczenia to 104° F (40° C). Nie należy używać produktu w
wyższych temperaturach.
• Nie przepełniać zbiornika ponieważ może dojść do rozlania fluidu. Zawsze umieszczać
na płaskiej i równej powierzchni.
• Nie należy zostawiać fluidu w zbiorniku da dłuższy okres czasu. Fluid może zgęstnieć.
• W przypadku poważnych problemów z obsługą produktu należy niezwłocznie
zaprzestać jego dalszego użytkowania.
• Nie próbować samemu naprawiać produktu. Naprawy wykonane przez
niewykfalifikowany personel mogą spowodować uszkodzenie lub złe funkcjonowanie
produktu. Proszę skontaktować się z najbliższym autoryzowanym centrum
serwisowym.
•
W celu wyeliminowania niepotrzebnego zużycia oraz wydłużenia trwałości urządzenia,
należy odłączyć je całkowicie od źródła zasilania poprzez prz
ełączenie bezpiecznika lub
wyciągnięcie wtyczki z gniazda zasilania w czasie, gdy urządzenie nie jest używane.

B-550 Bubble King™ QRG PL
24
Poza Stanami Zjednoczonymi, Zjednoczonym Królestwem,
w celu uzyskania pomocy lub zwrotu produktu
należy skontaktować się z dystrybutorem na terenie danego kraju. Dalsze
informacje kontaktowe na stronie www.chauvetlighting.com.
Obejma do podwieszeni a wraz
• Karta Gwarancyjna
• Praktyczny Przewodnik
Urządzenie Bubble King™ posiada 3 matryce, przycisk ręcznego
uruchamiania wytwarzania baniek oraz niezwykle dużą wydajno
umożliwiającą pokrycie nawet bardzo dużej przestrzeni.
Ogólny O
Przed montażem produktu należy zapoznać się ze wskazówkami
bezpieczeństwa. Umieścić wytwornicę do baniek na płaskiej i równej
powierzchni używając uchwytów mocujących. Należy upewnić się czy
bańki nie są skierowane bezpośrednio na twarz lub unoszą się nad
powierzchnią o dużym zagęszczeniu ruchu, ponieważ fluid pozostawia
śliski nalot na powierzchni. Wytwornica powinna mieć nie więcej niż 5º
kąta nachylenia.
Produkt zasilany napięciem o wartości wejściowej120 VAC, 60 Hz lub
W celu wyeliminowania niepotrzebnego zużycia oraz wydłużenia
trwałości urządzenia, należy odłączyć je całkowicie od źródła zasilania
poprzez przełączenie bezpiecznika lub wyciągnięcie wtyczki z gniazda
zasilania w czasie, gdy urządzenie nie jest używane.

PL B-550 Bubble King ™ QRG
25
1. Odłączyć produkt od zasilania.
2. Włożyć końcówkę śrubokręta z płaską końcówką do otworu zacisku
bezpiecznika.
3. Wyjąć pokrywę bezpieczeństwa z obudowy.
4. Usunąć spalony bezpiecznik z zacisku z przodu pokrywy bezpieczeństwa i
wymienić na nowy o dokładnie tym samym rodzaju i wartości.
5. Włożyć uchwyt bezpiecznika i ponownie włączyć zasilanie.
Za pomocą 4 załączonych śrub przykręcić rękaw do gumowej części
znajdującej się z przodu urządzenia.
Napełnianie/
wymiana płynu do
Umieścić Bubble King™ na równej powierzchni, a następnie poluzować 4
śruby znajdujące po obu stronach urządzenia w celu uzyskania dostępu do
zbiornika.
2. Po ich usunięciu można podnieść pokrywę.
3. Zbiornik napełnić płynem do wytwarzania baniek. NIE NALEŻY
NAPEŁNIAĆ ZBIORNIKA PONAD MAKSYMALNY POZIOM.
Uwaga: Zalecamy używanie płynu (BJU) firmy CHAUVET®, który
został opracowany specjalnie do wykorzystywania w produktach
Bubble King™ produkowanych przez CHAUVET®.
zbiornika wynos i 1,7 l.
4. Zamknąć pokrywę i dokręcić śruby.
1. Podłączyć do odpowiedniego gniazda zasilania.
2. Włączyć Bubble King™.
Uwaga: Nie należy zostawiać niewykorzystanego płynu w zbiorniku
przez dłuższy okres. Może to doprowadzić do jego zgęstnienia. Przed
przystąpieniem do pakowania oraz transportu należy opróżnić
zbiornik.

B-550 Bubble King™ QRG PL
26

B-550 Bubble King™ BH NL
27
550 Bubble King™ Beknopte Handleiding (BH) bevat de aansluiting
van het product, de montage en gebruiksinformatie. Download de User
Manual van www.chauvetlighting.com voor meer detail s.
De informatie en specificaties in deze BH kunnen zonder voorafgaande
kennisgeving worden gewijzigd.
Deze veiligheidsinstructies bevatten belangrijke informatie over de installatie,
het gebruik en het onderhoud.
• Slui t dit altijd aan op een geaard c ircuit om het risic o van elektrocut ie te
voorkomen.
• Haal de stekker altijd uit het st opcontact voordat u dit product reinigt.
• Ontkoppel het product nooit van het stopcontact door aan het snoer te
trekken.
• Als het product hangend wordt gemonteerd, zorg er dan altijd voor dat het
wordt bevest igd met een veili gheidskabel.
• Monteer dit produc t niet op een brandbare ondergrond.
• Drink de bellenb laasvloeistof ni et. Als u dit doet, bel dan uw lokale
hulpdienst en (112) voor hulp .
• Voeg geen parfum, alcohol, benzine of andere bra ndbare toe aan de vloei stof.
• De spanning van het stopcontact waarop u dit product aansluit moet binnen het
vermelde bereik op de sticker of achterkant van het product zijn.
• Het product is alleen voor gebruik binnenshuis! (IP20) Om risico op brand of
elektrisch e schokken te voorkomen, mag dit product niet aan regen of vocht
worden blootgesteld.
• Monteer dit product altijd op een plek met voldoende ventilatie, minstens 20 inch
(50 cm) van de aangrenzende oppervlakken.
• Zorg ervoor dat er geen ventilatie-openingen van de behuizing van het product
worden geblokkeerd.
• Blokkeer de uitgangen niet en laa t de machine nooit onbemand achter.
• Sluit dit product nooit aan op een dimmer of een regel w eerstand.
• Vervang de zekering met een van hetzel f de type en met dezelfde waarde.
• Draag dit pr o duct nooit aan het netsnoer of een be w egend dee l .
• Gebruik UITSLUITEND de ophang-/montagebeugel om dit product te dragen.
• De maximale omgevingstemperatuur bedraagt 104 °F (40 °C). Gebruik dit
product niet bij hogere temperaturen.
• Voeg niet tev eel vloeistof toe, het zou kunnen morsen. M onteer alt ijd op een
vlakke ondergrond.
• Laat ongebruikte vloeistof ni et voor een langere periode achter in het reservoir.
De vloeistof ka n indikken in het reservoir.
• Stop in het geval van ernstige operationele problemen onmiddellijk met het
gebruik.
• Probeer nooi t zelf dit product te repareren. Reparaties uitgevoerd door
ongetrainde mensen kunnen leiden tot schade of storingen. Neem dan contact op
met het dichtstbijzijnde erkende centrum voor technische bijstand.
• Sluit om onnodige slij tage te verhinderen en de levensduur te verlengen tijd ens
periodes van niet-gebruik het product via stroomonderbreker of de stekker

B-550 Bubble King BH NL
28
Van buiten de VS, Verenigd Koninkrijk, Ierland, Mexico, of België
kunt u
contact opnemen met de distributeur of om ondersteuning vragen dan wel
het product retourneren. Ga naar www.chauvetlighting.com
• Hangbeugel met
bevestigingsapparatuur
• Garantiekaart
• Beknopte Handleiding
Pak uw Bubble King™ uit en zorg ervoor dat u alle onderdelen in goede
staat hebt ontvangen. Als de doos of inhoud beschadigd lijkt, stel dan de
vervoerder onmiddellijk op de hoogte, niet Chauvet.
De Bubble King™ bevat 3 dubbele staffen, een handmatige bellenknop
en een extreem hoge opbrengst, voor als u bellen voor een groot gebied
nodig hebt.
Productoverzicht
Dit product heeft een spanning-specifieke voeding die werkt met een
ingangsspanning van 120 V, 60 Hz of 230 V, 50 Hz.
Sluit om onnodige slijtage te verhinderen en de levensduur te
verlengen tijdens periodes van niet-
stroomonderbreker of de stekker volledig van str oom af.
1. Ontkoppel het apparaat van de stroom.
Wig de punt van een platte schroevendraaier in de sleuf van de
zekeringhouder.
3. Druk de veiligheidsafdekking uit de behuizing.
4. Verwijder de doorgebrande zekering vanaf de
clip aan de voorkant
van de veiligheidsafdekking en vervang deze door een zekering van
5. Plaats de zekeringhouder terug en steek de st ekker er weer in.
Ontkoppel het product van de stroom voordat u de zekering vervangt.

B-550 Bubble King™ BH NL
29
Voordat u dit product monteert, lees eerst de veiligheidsvoorschriften. Plaats
bubbelaar op een vlakke ondergrond of gebruik de montagebeugels die zijn
geleverd. Zorg ervoor dat de bubbels niet direct in het gezicht van iemand
terechtkomen of boven drukke
verkeersgebieden, omdat de vloeistof tot een
gladde ondergrond kan leiden.
De bellenblaasmachin e mag niet meer d an een 5 °
Installeer de hu ls met de 4 meegeleverde schr oeven voor de bel lenblaasmachine.
Plaats de Bubble King™ op een vlakke ondergrond en maak de 4
duimschroeven aan elke zijde van de eenheid los, voor toegang tot de tank.
2. Til na verwijdering het deksel op.
3.
Vul de tank met bellenvloeistof. NIET VERDER VULLEN DAN DE
BOVENZIJDE VAN HET VLOEISTOFRESERVOIR.
Let op: We raden het gebruik van CHAUVET® bellenvloeistof (BJU)
aan, die s peciaal is same ngestel d voor ge brui k met CHAUVE T® Bubbl e
King™-producten. De tankcapaciteit is 1,7 l.
4. Laat de kap zakken en maak de duimschroeven vast.

B-550 Bubble King BH NL
30
1. Aansluiten op een geschikt stopcontact.
2. Zet de Bubble King™ aan.
Let op: L aat nooi t vo or la ng ere t ij d ong e br ui kte vl oeis t of in het rese rv oi r
achter. D e vloeist of kan in h
et reservoir dikker w orden. Verwijder vóór
verpakking of verze nding alle vloeistof.

B-550 Bubble King™ QRG RU
31
Краткое руководство (QRG) Bubble King™ содержит информацию о
подключении устройства. Загрузите Руководство пользователя на сайте
www.chauvetlighting.com.
Отказ от
ответственности
Информация и спецификации, приведенные в этом руководстве, могут
меняться без уведомления.
Замечания по
безопасности
Настоящие Замечания по безопасности содержат важную информацию о
безопасности при монтаже, эксплуатации и техническом обслуживании.
• Подключайте это устройство только к заземленному контуру, чтобы
избежать риска поражения электрическим током.
• Всегда отключайте устройство от источника питания перед его очисткой.
• Никогда не отключайте это устройство от питания за шнур питания.
• При монтаже этого устройства сверху всегда закрепляйте продукт на
крепежном устройстве с помощью предохранительного троса.
• Не устанавливайте этот продукт на воспламеняющейся поверхности.
• Не принимайте жидкость для мыльных пузырей внутрь. При
попадании ее внутрь следует обратиться в скорую помощь (в США –
по номеру 911).
• Не добавляйте в жидкость духи, алкоголь, бензин или другие
воспламеняющиеся вещества.
• Напряжение розетки, к которой подключается устройство, должно
находиться в диапазоне, указанном на наклейке на задней панели
устройства.
• Данное устройство предназначено только для использования в
помещениях! (IP 20) Чтобы уменьшить риск возгорания и поражения
электрическим током, не подвергайте устройство воздействию дождя
или влаги.
• Монтаж устройства должен выполняться только при наличии
достаточной вентиляции на расстоянии не менее 20 дюймов (50 см) от
соседних поверхностей.
• Убедитесь, что на корпусе устройства нет заблокированных отверстий.
• Не заграждайте палочки для пузырей и не оставляйте генератор
пузырей без присмотра.
• Никогда не подключайте это устройство к регулятору яркости.
• Никогда не перемещайте это устройство за шнур питания или другую
подвижную часть.

B-550 Bubble King™ QRG RU
32
• Максимальная температура окружающей среды составляет 104° F
(40° C). Не допускайте работы этого устройства при высокой
температуре.
• Не допускайте переполнения, возможны розливы. Всегда выполняйте
монтаж на плоской и ровной поверхности.
• Не оставляйте неиспользованную жидкость в баке на длительное
время. В баке жидкость может загустевать.
• В случае серьезного нарушения в работе устройства немедленно
прекратите его использование.
• Ни в коем случае не пытайтесь самостоятельно выполнять ремонт этого
устройства. Ремонт, выполненный неуполномоченными техниками,
может привести к повреждениям или сбоям устройства. Обратитесь в
ближайший авторизованный центр технической поддержки.
• Во избежание ненужного износа и для продления срока службы
неиспользуемое устройство следует полностью отключить от питания с
помощью выключателя или путем извлечения вилки из розетки.
За пределами США, Великобритании, Ирландии и Мексики по
вопросам поддержки или возврата устройства обращайтесь к своему
дистрибьютору. Контактная информация приведена на сайте
www.chauvetlighting.com.

RU B-550 Bubble King ™ QRG
33
• B-550 Bubble King™
• Подвесной кронштейн с
монтажной арматурой
• гарантийная карта
• Краткое руководство
Устройство Bubble King™, оснащенное 3 двойными палочками для
создания пузырьков и кнопкой ручного режима, обладает чрезвычайно
высокой производительностью – отличный выбор, когда вам нужно
много пузырьков на большой площади.
Обзор устройства
Вход питания
Переключатель вкл/выкл питания

B-550 Bubble King™ QRG RU
34
Перед монтажом этого устройства прочитайте Замечания по
безопасности. Разместите генератор мыльных пузырей на плоской и
ровной поверхности или воспользуйтесь монтажными кронштейнами.
Проследите за тем, чтобы пузыри не выстреливали прямо в лица людей
или на области оживленного движения, поскольку жидкость для
пузырей делает поверхность скользкой. Генератор мыльных пузырей
не должен иметь угол наклона более 5°.
Это устройство имеет конкретное напряжение питания и может
работать с входным напряжением 120 В пер. т, 60 Гц или 230 В пер. т,
50 Гц.
Во избежание ненужного износа и для продления срока службы
неиспользуемое устройство следует полностью отключить от
питания с помощью выключателя или путем извлечения вилки из
розетки.
1. Отключите устройство от питания.
2. Вставьте кончик отвертки с плоской головкой в отверстие
держателя предохранителя.
3. Извлеките предохранительный колпачок из корпуса.
4. Извлеките перегоревший предохранитель из зажима спереди
предохранительного колпачка и замените его на предохранитель
того же типа и номинала.
5. Повторно вставьте держатель предохранителя и снова подключите

RU B-550 Bubble King ™ QRG
35
Установите втулку спереди устройства с помощью 4
винтов, входящих в
комплект поставки.
Заливка/ замена
жидкости для
1. Разместите Bubble King™ на ровной поверхности и ослабьте 4
винта с накатанной головкой на любой из сторон устройства для
доступа к баку для жидкости.
2. После их снятия поднимите крышку.
3. Заполните бак жидкостью для пузырьков. НЕ ПЕРЕЛИВАЙТЕ ЕЕ
ВЫШЕ ВЕРХНЕЙ ОТМЕТКИ БАКА.
Примечание: Рекомендуем использовать жидкость для
пузырьков CHAUVET® (BJU), разработанную специально для
использования с устройствами CHAUVET® Bubble King
Емкость бака – 56 унц. (1,7 л).
4. Опустите крышку и затяните винты с накатанной головкой.
1. Вставьте шнур в подходящую настенную розетку.
2. Включите устройство Bubble King™.
Примечание: Не оставляйте неиспользованную жидкость в
баке на длительное время. В баке жидкость может загустевать.
Перед упаковкой или транспортировкой устройства удалите из
него всю жидкость.

B-550 Bubble King™ QRG Multi-Language
36
WORLD HEADQUARTERS - Chauvet
Address:5200 NW 108th Avenue
Sunrise, FL 33351
Voice: (954) 577-4455
Fax: (954) 929-5560
Toll free:(800) 762-1084
Voice: (954) 577-4455 (Press 4)
Fax: (954) 756-8015
Email: tech@chauvetlighting.com
World Wide Web
UNITED KINGDOM AND IRELAND - Chauvet Europe Ltd.
A d d r ess :Unit 1C
Brook hill Road Indust rial Estate
Pinxton, Nottingham, UK
NG16 6NT
Voice: +44 (0)1773 511115
Email: uktech@chauvetlighting.com
World Wide Web
www.chauvetlighting.co.uk
Address:Av . Santa Ana 30
Parque Industrial Lerma
Lerma, Mexico C.P. 52000
Voice: +52 (728) 285-5000
Email: servicio@chauvet.com.mx
World Wide Web www.chauvet.com.mx
CHAUVET EUROPE - Chauvet Europe BVBA
Address: Stokstraat 18
9770 Kruishoutem
Belgium
Email: Eutech@chauvetlighting.eu
Outside the U.S., United Kingdom, I reland, Mexico, or Belgium, contact the dealer
their instructions to request support or to return a product. Visit
our website for contact details.
Bubble King™ (B-550)
QRG – Rev. 7 ML9
© Copyright 2015 Chauvet
All rights reserved.