Page 1

CP12542LTA (1994) Page 1 of 22
CHASSIS
Page 2

CP12542LTA (1994) Page 2 of 22
CHASSIS
Ref # Part Number Qty Description
1 140341 SUB= 145501
2 140356 SUB= 145009
3 17490612 SCREW
6 140290X016 SUB= 145208X016
7 17490612 SCREW
8 2751R CLIP T
9 140637X011 DASH SILKSCRN 1
10 5479J PLUG BUTTON T
11 122795X PANEL DASH LH
12 121794X COVER ACCESS
13 124031X SUB= 155934X010
14 17490608 SCREW LT
15 74180512 SCREW
16 73510500 NUT
17 133956X520 HOOD/GRILLE.ASM.
18 126938X SUB= 532126938
19 133954 LENS SERVICE KIT
20 132257 SUB= 918132257
21 19091216 WASHER PM
22 108067X PAL NUT LT
24 74780616 BOLT
25 19131312 WASHER
26 73800600 NUT
30 109872X520 FENDER.PNT.LT
31 136619 BRKT FENDER
32 17490612 SCREW
33 105465X417 SUB= 145244X417
34 105464X417 SUB= 145243X417
35 72110606 BOLT
36 73800600 NUT
38 139886 BRACKET ASM LH
39 139887 BRACKET ASM RH
51 19131216 WASHER
53 72140608 SUB= 72110608
58 11050600 LOCKWASHER
Page 3

CP12542LTA (1994) Page 3 of 22
DECALS
Page 4

CP12542LTA (1994) Page 4 of 22
DECALS
Ref # Part Number Qty Description
1 138955 DECAL.DASH.INST.
6 133796 DECAL
7 4900J DECAL T
9 131425 CHASSIS DECAL
10 135013 NLA
12 144442 DECAL.HD.RH.CPARK
13 135594 NLA
14 144443 DECAL.HD.LH.CPARK
16 140837 DECAL BRAK PARK
17 136830 DECAL.V.BELT
138311 DECAL HANDLE LIFT
140718 MANUAL OPERATORS
144338 MANUAL.P.CP12542
C42 GRASS CATCHER
LSB42 SNOW THROWER
LBD48 SNOW BLADE
LC05 WHEEL WTS.
GWN42 GAUGE WHEEL, NARROW 42"
LA018 TIRE CHAINS
Page 5

CP12542LTA (1994) Page 5 of 22
DRIVE
Page 6

CP12542LTA (1994) Page 6 of 22
DRIVE
Ref # Part Number Qty Description
1 142603 SUB= 160664
2 110422X SUB= 146682
3 123666X PULLEY TRANS
4 12000028 SUB= 2267J
5 121520X STRAP TORQUE
6 17490512 SCREW
7 130802 SUB= 162240
8 131679 SHIFT ROD
9 19151216 WASHER
10 76020416 PIN COTTER 1/8
11 105701X WASH-SHFT PLT LT
12 19091210 WASHER LT
13 71040412 SUB= 74550412
14 10040400 LOCKWASHER
15 74780544 BOLT HEX
16 73680500 SUB= 73690500
17 121520X STRAP TORQUE
18 74780616 BOLT
19 73800600 NUT
20 17490512 SCREW
21 106933X KNOB T (1/2-HOLE)
22 130804 BRAKE ROD
23 73800600 NUT
24 73350600 NUT
25 106888X SPRING ROD LT
26 19131316 WASHER
27 76020412 COTTER PIN
28 140448 ROD PARK BRAKE
29 71673 PLUNGER CAP T
30 130807 TRANSAXLE MTG BKT
31 127275X "KEEPER,BELT LH T"
32 74760612 SUB= 74780612
33 73800500 NUT
34 122424X SUB= 149001
35 120183X NYLON BEARING
36 19211616 WASHER LT
37 1572H SUB= 2882J
38 123674X PULLEY.IDLER.FLAT
39 74760644 BOLT
40 4470J SPACER T
41 109070X BELT KEEPER LT
42 19131312 WASHER
43 73800600 NUT
44 105706X "LY, BEARING"
45 110812X WASHER LT
46 12000039 KLIP RING
47 127783 SUB= 139245
48 123789X ARM IDLER
49 123205X RETAIN BELT
50 74760624 SUB= 74930624
51 73680600 SUB= 73690600
52 19131316 WASHER
53 105710X "LINK, CLUTCH T"
54 76020412 COTTER PIN
55 105709X "SPRING, RETURN LT"
56 76020412 COTTER PIN
57 130801 SUB= 138255
58 127274X "KEEPER,BELT RH T"
Page 7

CP12542LTA (1994) Page 7 of 22
DRIVE
Ref # Part Number Qty Description
59 140312 KEEPER BELT CNTSP
60 19131312 WASHER
61 17490612 SCREW
62 8883R PEDAL COVER T
63 140186 PULLEY.ENGINE
64 71170764 BOLT
65 10040700 LOCKWASHER
66 129921 KEEPER.BELT.ENG.L
67 74760616 BOLT
68 19131312 WASHER
69 73680600 SUB= 73690600
70 134683 KEEPER BELT ENG
71 74760616 BOLT
72 19132012 WASHER
73 73680600 SUB= 73690600
74 109502X SPACER LT
75 121749X WASHER
76 12000001 E-RING LT
77 123583X SQUARE KEY
78 121748X WASHER
95 17490612 SCREW
100 19111216 WASHER M
Page 8

CP12542LTA (1994) Page 8 of 22
ELECTRICAL
Page 9

CP12542LTA (1994) Page 9 of 22
ELECTRICAL
Ref # Part Number Qty Description
1 121265X SUB= 123899X
2 74760412 BOLT LT
3 19091016 WASHER
4 10040400 LOCKWASHER
5 121264X "CAP,BATTERY "
6 73220400 SUB= 50675
7 109238X TUBE T
8 129965 SUB= 156417
9 109596X HOSE CLAMP T
19 10090400 SUB= 10040400
20 73350400 NUT
21 136850 "HARNESS,LIGHT SOC"
22 4152J HEADLAMP BULB
23 11150400 LOCKWASHER
24 4799J "CABLE T, BATTERY"
25 132202 SUB= 146147
26 108824X FUSE HYT
28 4207J CABLE T
29 121305X SWITCH SEAT
30 140399 SUB= 163088
31 140400 SUB= 145774
32 141226 COVER KEY SWITCH
33 140401 KEY MLD GEN DELTA
34 110712X SWITCH LT
35 108236X BRACKET LT
36 17021008 SCREW
37 104445X SWITCH-INTER. GT
38 140336 BRACKET SWITCH IN
39 109553X SWITCH INTERLOCKT
40 140414 HARNESS IGN DASH
41 71110408 BOLT HXHD FIN
42 131563 SUB= 154336
43 138406 SUB= 146154
44 73640400 NUT HXKEP 1/4X20
70 140413 HARNESS ENG DUAL
Page 10

CP12542LTA (1994) Page 10 of 22
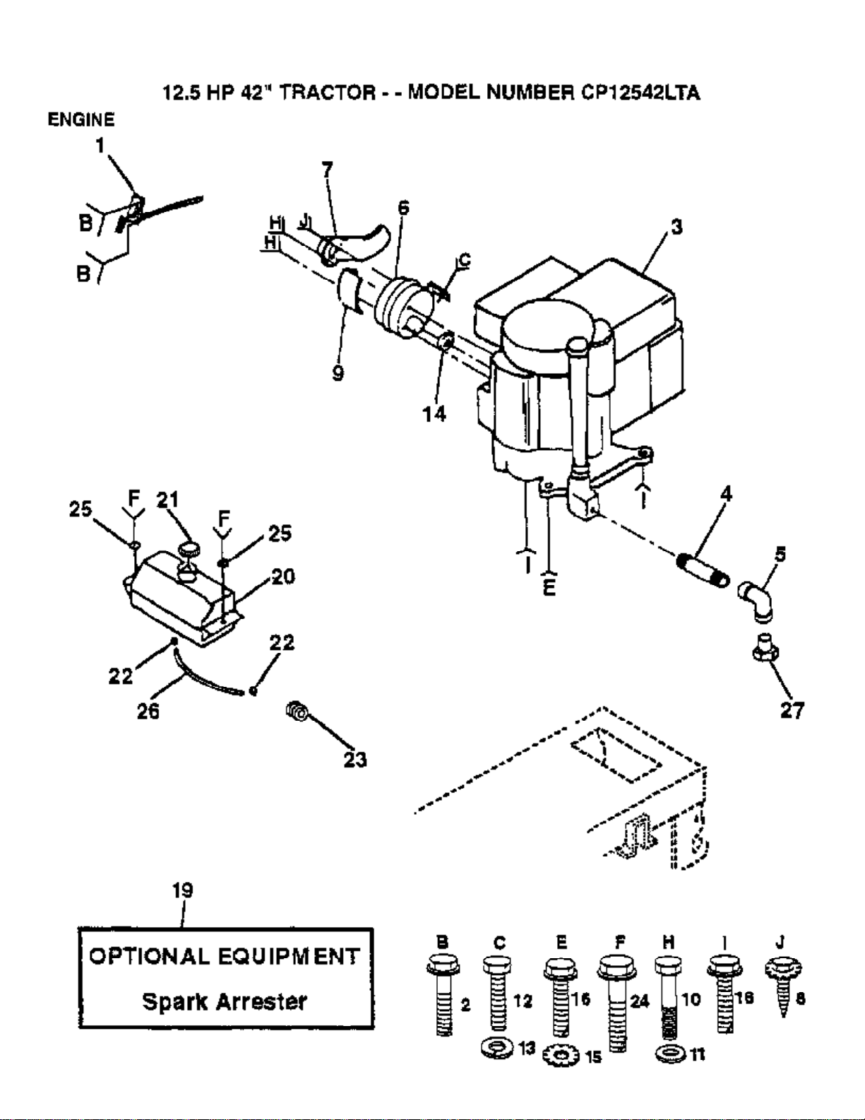
ENGINE
Page 11

CP12542LTA (1994) Page 11 of 22
ENGINE
Ref # Part Number Qty Description
1 132771 THROTTLE CONTROL
2 17720410 SCREW LT
3 137551 ENG. B&S12.5 HP
4 13280324 PIPE NIPPLE
5 13200300 ELBOW
6 10273M MUFFLER EXHUST
7 108767X DEFLECTOR MUFFLER
8 17030808 SUB= 17030814
9 101159L SHIELD HEAT LTV
10 74780556 "BOLT,HEX"
11 19111012 WASHER T
12 74780408 BOLT
13 10040400 LOCKWASHER
14 125593X SUB= 272293
15 11050600 LOCKWASHER
16 17490620 SCREW
19 137180 SUB= 532137180
20 109202X TANK.FUEL.LT.
21 140527 CAP ASM FUEL
22 123487X HOSE CLAMP
23 124028X SUB= 532124028
24 17490412 SCREW HEX CRT
25 19091416 WASHER
26 137040 LINE FUEL
27 CHECK WITH SUPPLIER
Page 12

CP12542LTA (1994) Page 12 of 22
MOWER DECK
Page 13

CP12542LTA (1994) Page 13 of 22
MOWER DECK
Ref # Part Number Qty Description
1 140081 SUB= 144393
2 72140506 BOLT
3 138017 BRKT ASM SWAY BAR
4 138440 BRKT DECK SW BAR
4A 132827 BOLT SHD 5/16-18
5 4939M SUB= 85902
6 130832 SUB= 130833
7 73800500 NUT
8 850857 BLADE BOLT
9 10030600 SUB= 10040600
10 140296 WASHER.HARD.BLADE
11 134149 "BLADE.42"" MULCHER"
12 129895 BEARING.BALL
13 137645 SUB= 137646
14 128774 HSG ASM MANDREL
15 110485X BEARING
16 140329 STRIPPER RND MWR
17 72110610 BOLT RDHD 3/8-16
18 72140505 BOLT
19 73800500 NUT
20 136888 SUB= 918136888
21 73800500 NUT
22 134753 STIFFENER BRKT
23 131267 DEFLECTOR BRKT
24 105304X CAP-SLEEVE LT
25 123713X SPRING TORSION
26 110452X NUT PUSH M
27 130968 DEFLECTOR.SHIELD
28 19111016 WASHER
29 131491 HINGE ROD
30 138776 SUB= 157722
31 129963 WASHER
32 129861 SUB= 153535
33 137266 SUB= 139729
34 72110614 BOLT
35 133835 XMAS TREE FASTNER
36 131494 FLAT IDLER PULLEY
37 19131316 WASHER
40 73800600 NUT
41 133551 PIVOT ROD
43 140083 ROD CLUTCH W/NIBS
44 140088 GUARD MAND LH BLK
45 4497H RETAINER M
46 137729 SCREW.1/4-20X5/8
48 133944 HARD SMALL WASHER
49 133940 SUB= 151785
50 131340 SHOULDER BOLT
51 69180 LOCKNUT
52 139888 BOLT.SHLD.5/16-18
53 131845 BRAKE PAD ARM ASM
54 133943 HARDENED WASHER
55 140084 SUB= 151785
56 122052X SPACER RETAINER
57 140090 KEEPER BELT LH 42
58 140086 SPRING TORSN BRAK
59 141043 GUARD IDLER TUV
67 106932X KNOB T(3/8 HOLE)
68 140067 BELT-V MWR 82.625
Page 14

CP12542LTA (1994) Page 14 of 22
MOWER DECK
Ref # Part Number Qty Description
71 142427 ROD CLUTCH 38/42
72 131870 RETURN SPRING
73 127847 CLUTCH ARM SECOND
74 121748X WASHER
75 12000029 RING
76 128903 SHOULDER BOLT
77 127845 SPRING KEEPER
78 140334 SUB= 154810
79 127498 BUSHING
80 128759 SUB= 918128759
81 73350600 NUT
82 142028 TRUNION ADJ
130794 MANDREL ASM
140475 SUB= 145411
Page 15

CP12542LTA (1994) Page 15 of 22
MOWER LIFT
Page 16

CP12542LTA (1994) Page 16 of 22
MOWER LIFT
Ref # Part Number Qty Description
1 136973 WIRE ASM
2 122507X SUB= 145117
3 105767X PIN-GROOVE LT
4 12000002 SUB= 2225J
5 19211621 WASHER
6 120183X NYLON BEARING
7 109413X GRIP
8 124526X SUB= 125925X
10 122512X SUB= 532122512
11 139865 SUB= 918139865
12 139866 SUB= 151140
13 4939M SUB= 85902
15 127218 LINK.FRONT
16 73350800 NUT
17 130171 TRUNION
18 73800800 NUT.LK.W/WSH.1/2.
19 139868 ARM SUSP REAR
20 3146R RETAINER.SPRING
31 140302 BEARING PVT LH
32 73810600 NUT.LOCK.3/8-24
Page 17

CP12542LTA (1994) Page 17 of 22
SEAT
Page 18

CP12542LTA (1994) Page 18 of 22
SEAT
Ref # Part Number Qty Description
1 127427 SUB= 140119
2 140551 BRACKET PVT SEAT
3 74760616 BOLT
4 19131610 WASHER PM
5 140407 CLIP PUSH - IN
6 73800600 NUT
7 124181X SPRING COMPRESSIO
8 17490616 SCREW GTV
9 19131614 WASHER
10 140552 SUB= 155925
12 121246X BRKT SWITCH
13 121248X BUSHING
14 72050411 SUB= 872050411
15 134300 SPLIT SPACER
16 121250X SPRING
17 123976X SUB= 73900400
21 139888 BOLT.SHLD.5/16-18
22 73800500 NUT
23 74780814 BOLT
24 19171912 WASHER
25 127018X "BOLT,SHOULDER"
26 10040800 LOCKWASHER
Page 19

CP12542LTA (1994) Page 19 of 22
STEERING
Page 20

CP12542LTA (1994) Page 20 of 22
STEERING
Ref # Part Number Qty Description
1 133741 SUB= 150547
2 142033 AXLE ASM FRONT
3 135227 SPINDLE LH
4 135228 SPINDLE RH
5 6266H WASHER .T
6 121748X WASHER
7 19272016 WASHER
8 12000029 RING
9 3366R COL. SRTG. BEAR.
10 130468 SUB= 532130468
11 10040600 LOCKWASHER
12 73610600 SUB= 7810H
13 110438X BEARING
14 74011056 BOLT HEX 5/8-11
15 73901000 "NUT-LOC,FLANGE LT"
16 132624 AXLE PIN
17 132614 SHAFT ASM
18 57079 THRUST WASHER
19 124035X SUPPORT.SHAFT
20 126684X SUB= 532126684
21 10040400 LOCKWASHER
22 71070410 "SCREW,SPECIAL"
23 127501 SUB= 918127501
24 109816X NYLINER T
25 124036X "BRKT,STEERING"
26 12000029 RING
27 136874 GEAR SECTOR
28 6266H WASHER .T
29 17490612 SCREW
30 10040600 LOCKWASHER
31 73610600 SUB= 7810H
32 130465 TIE ROD
33 126847X BUSHING.DRAGLINK
34 19131416 WASHER
35 76020412 COTTER PIN
36 132196 SUB= 155106
37 17431008 SUB= 98000165
38 133742 ST WHL INSERT CAP
39 19133808 WASHER T
40 7810H GRIPCO NUT
41 104820X ADAPTER-WHEEL LT
42 124418X "TUBE, STR SHAFT"
43 121749X WASHER
44 121748X WASHER
45 12000029 RING
46 121232X CAP
47 6855M ZERK M
Page 21

CP12542LTA (1994) Page 21 of 22
WHEELS & TIRES
Page 22

CP12542LTA (1994) Page 22 of 22
WHEELS & TIRES
Ref # Part Number Qty Description
1 59192 VALVE CAP
2 65139 VALVE STEM LT
3 106222X SUB= 122073X
4 59904 TUBE.5.3/4.5/6
5 106732X417 "RIM,FRT T"
6 278H FITTING LT
7 9040H "FLANGE, BEARING"
8 106108X417 "RIM 8"""
9 106268X SUB= 122074X
10 7152J TUBE.18X9.5-8
11 104757X HUB CAP